Medea - Poêle Cola - Notice d'utilisation et mode d'emploi gratuit
Retrouvez gratuitement la notice de l'appareil Medea Cola au format PDF.
| Caractéristiques techniques | Poêle Medea, matériau en fonte, diamètre de 28 cm, compatible tous feux, y compris induction. |
|---|---|
| Utilisation | Idéale pour la cuisson de viandes, légumes et plats mijotés. Préchauffage recommandé avant utilisation. |
| Maintenance et réparation | Nettoyage à l'eau chaude sans détergent, essuyer avec un chiffon sec. Ne pas laisser tremper. Vérifier régulièrement l'état de l'émail. |
| Sécurité | Manipuler avec des gants de protection, surface chaude. Ne pas utiliser d'ustensiles en métal pour éviter les rayures. |
| Informations générales | Garantie de 2 ans, poids de 2,5 kg, couleur noire. Ne pas utiliser au four à micro-ondes. |
FOIRE AUX QUESTIONS - Medea Cola
Questions des utilisateurs sur Medea Cola
0 question sur cet appareil. Repondez a celles que vous connaissez ou posez la votre.
Poser une nouvelle question sur cet appareil
Téléchargez la notice de votre Poêle au format PDF gratuitement ! Retrouvez votre notice Medea - Cola et reprennez votre appareil électronique en main. Sur cette page sont publiés tous les documents nécessaires à l'utilisation de votre appareil Medea de la marque Cola.
MODE D'EMPLOI Medea Cola
Stufa a pellet mod - Pellet stove model - Poèle à granulés mod. Pelletofen Modell - Estufa de pellets mod.
MEDEA - MEDEA LUX


Lire attentivement les instructions avant d'installer, d'utiliser et d'entretenir le poèle. Le manuel fait partie intégrante de l'appareil.
La société COLA garantit ses produits selon les normes actuellément en vigueur, à l'exception des parties qui sont soumises à une usure normale. Pour les conditions de garantie, s'adresser à l'importateur ou au représentant autorisé qui pourrait accorder une extension de la durée contractuelle constructeur sous sa propre responsabilité. La garantie déchoit automatiquement et de plein droit pour tous les dommages, ruptures ou incidents causés par l'inobservation ou l'inapplication des instructions continues le present manuel.
DE 82-106
Standard CEI EN 55014-2 :
1.1. Introduction
1.2. Comment utiliser ce manuel
1.3. Regles de sécurité
1.4.Description technique
1.5. Combustible et usage prévu
1.6. Accessoires fournis
1.7.Normes de reference
1.8. Plaque d'identification
1.9. Mise hors service du poèle
1.10. Demande d'intervention et de pieces détachées
2. TRANSPORT ET INSTALLATION
2.1. Emballage, manutention, expulsion et transport
2.2. Lieu d'installation, mise en place et sécurité anti-incendie
2.3. Prise d'air
2.4. Evacuation des fumées de combustion
2.4.1. Types d'installations
2.5. Contrôle de la position du brasier et du déflecteur
2.6. Branchement électriche
2.7. Schéma électrique
2.8. Première intervention
3. SECURITE
3.1. Distance de sécurité par rapport aux matériaux combustibles
3.2. Sécurité pour l'évacuation des fumées
3.3. Sécurité en cas de surpression dans la chambre de combustion
3.4. Surchauffe-thermostat de sécurité température réservoir granulés
3.5. Sécurité contre le retour de flamme sur le canal d'alimentation en granulés
3.6. Dispositif électrique de protection contre les surtensions
3.7. Sécurité en cas de coupure de courant
3.8. Dysfunctionnement du ventilateur d'extraction des fumées
4. UTILISATION DU POÉLE
4.1. Introduction
4.2. Tableau de commande
4.3. Mise en marche
4.4. Fonctionnement
4.5. Extinction du poèle
4.6. Menu
4.6.1 menu 01 - réglage des ventilateurs
4.6.2 menu 02 - réglage de l'horloge
4.6.3 menu 03 - point de consigne chrono
4.6.4 menu 04 -CHOIX de la langue
4.6.5 menu 05 - mode veille (stand-by)
4.6.6 menu 06 - alarme sonore (buzzer)
4.6.7 menu 07 - charge mntial
4.6.8 menu 08 - état du poèle
4.6.9 menu 09 - réglages du technicien
4.6.10 menu 10 - réglages de l'installateur
4.6.11 menu 11 - mode ECO
4.7 Telecommande
4.7.1 Remplacement de la pile
4.8 Thermostat externe
4.9 Période d'inactivité (fin de saison)
5 NETTOYAGE DU POÉLE
5.1 Nettoyage du brasier
5.2 Nettoyage du cendrier
5.3 Nettoyage de la vitre et des fentes d'aération
5.4 Nettoyage de l'extracteur de fumée et de la chambre de combustion
5.5 Nettoyage du débitmètre
5.6 Nettoyage des ceramiques (modèle en ceramique)
5.7 Nettoyage du conduit de raccordement - conduit de fumée
6. ENTRETIEN
6.1. Introduction
6.2. Dépose de l'habillage MEDEA
6.3. Dépose de l'habillage MEDEA LUX
6.4. Composants internes du poèle
6.5. Composants électriques
7. RECHERCHE DES PANNES
7.1. Gestion des alarmes
8. ANNEXES
8.1. Informations relatives au marquage CE
9. INSTALLATEUR
9.1. Menu réglages installateur
1 RECOMMANDATIONS GÉNÉRALES
1.1 Introduction
Cher Client!
Nous vous remercions de la confiance que vous nous avez accorded en achetant ce produit. Nous vous invitons à dire et à suivre attentivement les conseils fournis par ce manuel d'installation, d'utilisation et d'entretien pour exploiter au moins les qualités de cet apparéil.
Tous les documents concernant les certifications ou les déclarations de l'appareil, notamment la déclaration CE de conformité et la déclaration des performances, peuvent être consultés sur le site web de la marque commerciale d'appartenance.
1.2 Comment utiliser ce manuel
La société COLA s.r.l. se reserve d'apporter des modifications techniques ou esthétiques à ses produits à n'importer quels moment et sans préavis.
Les opérations d'installation, d'utilisation et d'entretien du poèle doivent satisfaire les exigences de ce manuel, des normes européennes, nationales et locales.
Toutes les configurations, les dessins, les mesures et les schémas sont fournis à titre d'exemple.
Ce manuel constitue une partie intégrante et essentielle du produit; si l'appareil doit être vendu ou transféré à un autre propriété ou s'il doit être installé à un autre endroit, s'assurer que le manuel accompagne l'appareil afin qu'il puisse être consulté ultérieurement à tout moment.
En cas de perte ou de dépréciation de ce manuel, demander une copie de celui-ci au centre d'assistance technique autorisé afin qu'il reste toujours avec l'appareil.
| ! | Ce symbole indique la présence d'un message important auquel prêter une attention particulière car la non observation des instructions peut entraîner de sérieux dommages au poèle et aux personnes |
| Une information nécessitant une attention particulière est mise en évidence par un texte écrit en «caractères gras». |
1.3 Régles de sécurité
Lire attentivement ce manuel avant l'installation, l'utilisation et l'entretien du poèle
Pour l'installation, le branchement électrique, la mise à l'essai et l'entretien, vous adresser à un technicien qualifié et/ou agréé.
Raccorder le poèle au conduit de fumée à l'aide d'un terminal qui puisse être inspecté ; le raccordement à plusieurs apparèils peut se faire uniquement dans le respect des normes locales et autorisé par l'organisme de contrôle du conduit de fumée.
Raccorder le poele, de I'extérieur à la bouche d'aspiration, à l'aide d'un tuyau ou d'une prise d'air.
- Raccorder le poèle à une prise de courant homologué de 230 V-50 Hz.
Vérifier que l'installation électrique et les prises soient en mesure de supporter l'absorption maximum de l'appareil figurant sur l'étiquette et sur le manuel.
Avant de proceder aux operations d'entretien, débrancher le poèle et attendre qu'il soit froid.
- Ne pas utiliser de liquides ou substance inflammables pour allumer le poèle ou raviver la flamme : l'embrasement des granulés se fait automatiquement lorsque le poèle est allumé.
Le poèle doit être alimenté exclusively par des granulés dont les caractéristiques sont décrites dans ce manuel.
- Le poèle à granulés ne doit pas être utilisé comme incinérateur.
- Ne jamais obstruer les bouches d'entrée de l'air comburant et de sortie des fumées.
Il est absolument interdit de manipuler des substances facilement inflammbles ou explosives a proximite du poele pendant son fonctionnement.
- Ne pas déposer ou modifier la grille de protection du réservoir à granulés et, d'une manière générale, les/dispositifs de sécurité.
- Eviter le fonctionnement du poèle avec la porte du foyer ouverte et/ou la vitre en mauvais état ou brisée.
- Pendant le fonctionnement, la chaleur dégagée par la combustion des granulés surchauffe les surfaces extérieures du poèle telles que la porte du foyer, la poignée et le tuyau d'évacuation des fumées. Éviter donc d'entrer en contact avec ces parties sans porter des protections adéquates.
Toujours tenir a une distance de securié suffisante tous les objets sensibles à la chaleur et/ou inflammables.
- Nettoyer régulierement le foyer à chaque allumage ou chargement de granulés.
- Faire nettoyer regulierement le conduit et les deflecteurs de fumee à l'intérieur de la chambre de combustion par un technicien qualifie.
- Éviter la formation de fumée ou d'imbrûés pendant l'allumage et/ou le fonctionnement normal, l'accumulation excessive de granulés imbrûés dans le brasier doit être retiree manuellement avant tout allumage.
- Informer les enfants et les visiteurs des dangers décrits ci-dessus.
En cas d'anomalie de fonctionnement, le poèle peut etre rallumé seulement apres avoir rétabli la cause de l'inconvénient.
- Toute modification ou adaptation non prévue et/ou tout remplacement non autorisé de pieces non originales du poèle peut représenter un danger pour les personnes et dégage le constructeur de toute responsabilité civile et pénale.
- N'utiliser que des pieces de rechange d'origine.

La société Cola s.r.l. décline toute responsabilité pour les inconvénients, les ruptures ou les accidents causés par l'inobservation ou l'inapplication des indications contenues dans ce manuel.
Le poèle fonctionne exclusivement à granulés et propage une chaleur saine et rassurante dans la pièce. Les systèmes de contrôle automatiques dont il est pourvu assurent un rendement thermique optimal et une combustion complete. Des systèmes de sécurité garantissant des conditions de sécurité pour l'utilisateur et la fiabilité des composants du poèle.
Si le poèle est installé conformément aux textes réglementaires et régles de l'art en vigueur, il fonctionnera dans n'importe quelles conditions climatiques extérieures, mêmes critiques (vent fort, gel, etc.), car les systèmes de sécurité dont il est équipé arrêtent son fonctionnement (extinction).
Le poèle à bois mod. MEDEA - MEDEA LUX, d'une puissance nominale de 11 kW, peut chauffer un volume total de 251 m3, en considérant le coefficient de besoin en énergie de l'édifice équivalent à 35 W/m3, ce dernier pouvant varier en fonction de l'isolement, du type et de la zone climatique qui sont les facteurs importants pour lechiox correct de l'appareil.
| Type Type | Apparils de chauffage domestique, sans eau, nourris de granulés de bois Residential space heating appliance without water fired by wood pellets | |
| Marque de commerce Trademark | COLA | |
| Modèle - Code Model - Code | MEDEA - MEDEA LUX | |
| Carburant ** Fuel | Granules de bois / Wood pellet UNI EN14961-2 classe A1 | |
| Distance min des matériaux inflammables: Arrière - Droite / Gauche - Étagne Minimum distance from combustible materials Rear-Right/left side-floor | mm | 200 - 300 - 0 |
| Puisance thermique introduct * Heating input | kW | 12,03 - 3,3 |
| Puisance thermique utile * Water heating output | kW | 11,01 - 3,1 |
| Puisance thermique de production H2O Potenza termica all'acqua | kW | / |
| Puisance thermique pour réchauffer l'air Potenza termica all'aria | kW | / |
| Rendement thermique * Efficiency | % | 91,47 - 95,35 |
| Consummation horarie */** Fuel consumption | kg/h | 2,49 - 0,68 |
| Emissions CO à 13% O2* Emission CO at reference 13% | % | 0,014 - 0,02 |
| mg/m3 | 172,7 - 265,1 | |
| Emissions CnHm à 13% O2* Emission CnHm at reference 13% O2 | mg/m3 | 5,0 - 4,2 |
| Emissions NOx à 13% O2* Emission NOx at reference 13% O2 | mg/m3 | 123,0 - 115 |
| Emissions de poussières PP à 13% O2* Emission dust PP at reference 13% O2 | mg/m3 | 18,0 - 10,7 |
| Totale des émissions de particules PPBT à 13% O2* Total dust emission PPBT at ref. 13% O2 | mg/m3 | 19,8 - 13,2 |
| Température max de l'eau reglable Set max temp. | °C | 80 |
| Pression max acqua d'utilisation Max working pressure | bar | 3 |
| Capacité de la chamme de combustion Heating chambre capacity | I | 25 |
| Capacité du réseau à granulès Pellet stove capacity | kg | 48 |
| Perte de charge sur le coté ΔT 10K Water resistance ΔT 10K | % | / |
| Perte de charge sur le coté ΔT 20K Water resistance ΔT 20K | % | / |
| Température de fumée * Fume outlet temperature | °C | 154,7 - 63,3 |
| Débit gaz de combustion * Flue gas flow | g/s | 6,9 - 3,4 |
| Tirage fumée min-max Draught min-max | Pa (mbar) | 10 - 14 |
| 0,10 - 0,14 | ||
| Tuyau d'évacuation des fumées Fume outlet pipe | mm | 80 |
| Alimentazion électrique Electrical power | 230V - 50Hz - 2A | |
| Consommation électrique Rated input power | W | Allumage / Start 420 - P.nom 140 |
| Dimensions H x L x P Dimensions H x L x P | mm | 1075 x 564 x 537 |
| Poids Weight | kg | MEDEA 109-MEDEA LUX 112 |
- à puissance nominale et de faible puissance / Nominal output and Reduced output
** La consommation de granules peut varier selon le type de pellet utilise / Pellet consumption can vary according to the type of pellets used.



Dimensions du poèle à granulés MEDEA

Legende :
A - Grilles de passage d'air
B - Connexion du cable électrique
C - Aspiration d'air comburant diam. 50 mm
D - Raccordement tuyau d'évacuation des fumées, diam. 80 mm
E - Couvercle de réservoir à granulés


Legende :
A - Grilles de passage d'air
B - Connexion du cable électrique
C - Aspiration d'air comburant diam. 50 mm
D - Raccordement tuyau d'évacuation des fumées, diam. 80 mm
E - Couvercle de réservoir à granulés


Dimensions du poèle à granulés MEDEA LUX
Poignée d'ouverture-fermeture portede foyer;
- Ouverture : sens hora
Fermeture : sens anti-horaire
Pour ouvrir la porte insérer la poignée fournie et tourner en sens horsaire

1.5 Combustible et usage prévu
Les poèles à granulés fonctionnent exclusivement avec des granulés (pastilles) d'essences de bois différentes, conformément à la norme DIN plus 51731 ou UNI CEN/TS 14961 ou Ö-Norm M 7135, ayant les caractéristiques suivantes :
Pouvoir calorifique : min. 4,8 kWh/kg (4180 kcal/kg)
Densité: 680-720 kg/m3
Humidité : max. 10% de son poids
Diametre: 6 + 0,5 ~mm
Taux de cendres : max. 1,5% de son poids
Longueur: min. 6 mm-max. 30 mm
Composition : 100% bois non traité de l'industrie du bois ou post-consommation sans adjonction de substances liantes et sans écorce conforme aux normes en vigueur
Conditionnement : dans des sacs en matériel compatible avec l'environnement ou biodégradable ou en papier
Le réservoir à granulés se trouve à l'arrière du poèle. Le couvercle du réservoir est placé dans la partie supérieure du poèle et le chargement se fait manuellement uniquement poèle éteint en faisant attention à ne pas faire sortir le sac de granulés.
L'utilisation de granulés de bois ayant des caractéristiques différentes de celles des granulés utilisés pour le test lors du premier allumage implique un nouvel ajustement des paramètres de chargement des granulés dans le poèle. Noter que cette intervention n'est pas couverte par la garantie.
- Les granulés doivent être stockés dans un lieu sec et protégé contre l'humidité.

- En vue d'un fonctionnement efficace et régulier du poète, il n'est pas possible de charger manuellement les granulés ou d'autres combustibles dans le foyer.
- Éviter le chargement de combustibles non conformes dans le réservoir.
- Éviter le chargement de corps étrangers, tels que réciPIents, boites, sachets, metaux etc., dans le
réservoir.
- L'utilisation de granulés de qualité médiocre et non conforme déteriore et compromet le bon fonctionnement du poèle, ce qui entraîne l'annulation de la garantie et dégage le constructeur de toute responsabilité.
1.6 Accessoires fournis
La fourniture comprend :
cable d'alimentation electrique ;
manuel d'installation, utilisation et entretien ;
cle d'ouverture - de fermeture porte de foyer ;
telecommande.
1.7 Normes de reference
Norme UNI 10683:2012 :
Norme UNI EN14785:2006 :
elle fixe les exigences essentielles concernant l'installation des générateurs de chaleur à bois ou à d'autres biocombustibles
elle fixe les exigences essentielles relatives à la conception, à la fabrication, à la sécurité, aux performances (rendement et émissions), aux instructions et aux
marquages, ainsi qu'aux méthodes d'essai correspondantes pour les essais de type d'appareils fonctionnant aux granulés de bois ;
Norme CEI EN 60335-1 : Appareils électrodomestiques et analogues - Sécurité - Partie 1 ;
Norme CEI EN 60335-2-102 : Appareils électrodomestiques et analogues - Sécurité - Partie 2 ;
Norme CEI EN 55014-1: Compatibilité electromagnétique - Exigences pour les appareils
électrodomestiques, outillages électriques et apparils analogues - Partie 1 : Émission ;
Norme CEI EN 55014-2 : Compatabilité électromagnétique - Exigences pour les appareils
électrodomestiques, outillages électriques et apparéils analogues - Partie 2 : Immunité ; Norme famille de produits ;
Norme CEI EN 61000-3-2 : Limites pour les émissions de courant harmonique (courant appelé par les appareils
inéférieur ou égal à 16 A par phase) ;
Norme CEI EN 61000-3-3 : Limitation des variations de tension, des fluctuations de tension et du papillotement
Dans les réseaux publics d'alimentationasse tension, pour les matériels ayant un courant assigné inférieur ou égal à 16 A par phase et non soumis à un raccordement conditionnel ;
Norme CEI EN 62233 : Méthodes de mesure des champs électromagnétiques des appareils
électrodomestiques et similaires en relation avec l'exposition humaine.
Normes DIN plus 51731 - UNI CEN/TS 14961 - Ö-Norm M 7135 : Normes relatives aux specifications et à la
classification des granulés de bois.
1.8 Plaque d'identification
La plaque d'identification est fixée sur le dessous de couvercle du réservoir à granulés ou à l'arrière du poèle. Sur la plaque d'identification sont portées toutes les caractéristiques du poèle, y compris les coordonnées du fabricant, le numero de série (ou de fabrication), le marquage CE, le laboratoire d'essai et le numero de référence de la déclaration des performances.
1.9 Mise hors service du poèle
A partir du moment où le poèle n'est définitivement plus utilisé, débrancher l'alimentation électrique et vider complètement le réservoir à granulés. Pour procéder à l'évacuation du poèle, il est nécessaire de prévoir un emballage solide et adapté. Il faut ensuite contacter les organismes locaux afin de connaître les règles et normes en vigueur pour l'évacuation du matériel, ou restituer au revival du nouveau produit similaire, l'appareil usageé.
1.10 Instructions en cas de nécessité d'intervention et de piece détachée
Pour toute commande d'intervention et/ou de pieces détachées, contacter son revendeur, le revendeur de zone ou le centre d'assistance agrée le plus proche, en précisant toujours : modele du poèle, numéro de série, date d'achat, liste des pieces de rechange, les anomalies de fonctionnement constatées.

-
Les interventions sur les composants doivent etre effectuees par un personnel agree et/ou qualifie.
-
Avant de procéder aux opérations, s'assurer que toutes les connexions électriques sont débranchées
et que le poèle est froid.
- N'utiliser que des pieces de rechange d'origine.
2 TRANSPORT ET INSTALLATION
Le poèle peut être soulevé à l'aide d'un chariot élévateur en introduisant les fourches d'une longueur adéquate aux endroits prévus à cet effet sur la palette en bois. S'assurer que la capacité des apparciels utilisés pour le levage et le transport est suffisante pour supporter le poids du poèle indiqué sur la plaque d'identification et dans ce manuel.
Éviter de passer dans des zones où la chute de la charge pourrait représenter un danger.
Ouvrir l'emballage, restirer le poèle de la palette et le poser à l'endetroit choisi en veillant à sa conformité avec la commande. Il est recommendé de poser delicatement le poèle au sol pour éviter tout chocol eventuel, et de l'insteller dans la zone prévue ; s'assurer également que le plancher est assez solide pour supporter le poids du poèle ; dans le cas contraire, consulter un technicien spécialisé.L'élimination ou le recyclage de l'emballage est à la charge de l'utilisateur final en conformité avec la réglementation locale en vigueur.
2.2 Lieu d'installation, mise en place et sécurité anti-incendie
La pièce dans laquelle le poèle est installé doit être suffisamment aérée pour assurer une bonne évacuation en cas de fuite eventuelle de fumée de combustion.
L'appareil peut fonctionner dans une habitation ayant une température minimum de 0^ .
Pour éviter tout risque d'incendie, protéger les structures autour du poële de la chaleur. Une plaque de sol en acier ou en verre trempe doit être prévue pour protéger les parquets ou autres planchers en matière inflammable (moquette, linoléum, etc.) et doit respecter les distances réglementaires autour du poële.
Si le conduit de fumée doit traverser des plafonds ou des poutres de bois ou de tout autre matière combustible, celui-ci doit être dûment isolé selon la réglementation encadrant l'installation du poèle à granulés. La distance
minimale de sécurité devant le poèle pour les objets inflammables est 1,5 m. Les distances minimales de sécurité par rapport aux matériaux combustibles doivent correspondre à l'écart au feu indiqué dans le tableau ci-après :


Chaque installation doit prévoir un espace technique facilement accessible pour effectuer les opérations d'entretien périodiques. Le poèle est doté de 4 pieds régiables pour faciliter sa mise en place sur des sols irréguliers. Pour régler la hauteur du pied, incliner le poèle et tourner le pied jusqu'à obtenir la juste hauteur.
Le poèle est fourni avec une sonde d'ambiance fixée par un collier sur la paroi arrêté du poële. Nous conseillons son déplacement afin d'améliorer lecture de la température ambiente. La longueur du cable de la sonde, permet de la déplacer et de la positionner plus haut. Pour optimiser la lecture de la température ambiente, nous conseillons l'installation d'un thermostat ou apparéil d'ambiance - cf. paragraphe 4.8.

Il est interdit d'installer le poèle dans les chambres à coucher, les salles de bain et, d'une manière générale, dans des locaux où est déjà installé un autre apparil de chauffage sans une amende d'air indépendante.
En cas d'installation du poèle sur un parquet (moquette ou linoléum), prévoir une plaque de sol conformément aux prescriptions du DTU en vigueur.
Il est toujours conseillé d'installer des équipements anti-incendie appropriés.
Il est interdit d'installer le poèle dans des ambiances explosives.
2.3 Prise d'air
Le raccordement d'aspiration ou la prise d'air du poele se trouve à l'arrière de celui-ci et a une section circulaire de 50 mm de diamètre.
La quantité d'air qui doit afflower dans le local d'installation du poèle doit être au moins égale au début d'air nécessaire à la combustion; par conséquent, l'air de combustion nécessaire à garantir le fonctionnement régulier de l'appareil doit être prélevé :
dans la piece ou le local, a condition qu'il y ait une prise d'air ayant une surface minimum de 100~cm^2 a proximé du poèle et communiquant avec l'extérieur, protégée par une grille extérieure;
directement à l'extérieur par tuyau d'un diamètre interieur minimum de 50 mm et d'une longueur maximale de 1,5 m muni d'un terminal de protection anti-vent (coude oriente vers le bas).
Le flux d'air peut provenir aussi d'un local adjacent à celui d'installation pour autant que cette amende puisse se faire librement à travers des ouvertures permanentes communiquant avec l'extérieur ; ce local ne peut pas etre destiné a etre utilise comme garage ni comme magasin de materiaux combustibles ou pour des activités comportant des risques d'incendie.
2.4 Evacuation des fumées de combustion
Les fumées peuvent être evacuées par un conduit de fumée traditionnel ou par un conduit extérieur isolé ou à double paroi. Les conduits de raccordement doivent garantir un tirage minimum de 10 Pa de manière à pouvoir assurer l'évacuation des fumées en cas de coupure de courant momentanée.

- Il est recommandé à l'installateur de vérifier l'efficacité et l'état de la cheminée, ainsi que la conformité
à la réglementation locale, nationale et européen en vigueur. -
Utiliser impératifement des tuyaux ou conduits et raccords certifiés avec des joints adéquats qui garantissant l'étanchéité.
-
En cas d'incendie, eteindre le poèle, appeler immediatement les pompiers et éviter toutes tentatives
repétées d'extinction du poèle.
-Nettoyer au moins une fois par an le conduit de fumée et le conduit de raccordement.
2.4.1 Types d'installations
Voici quelques définitions et régles d'installation d'un conduit de fumée selon la norme italienne UNI10683 :
CONDUIT DE CHEMINEE: conduit vertical destiné à collecter et à évacuer à une certaine hauteur du sol les produits de combustion provenant d'un seul apparéil et, dans les cas autorisés, de plusieurs apparéils.
Prescriptions techniques du CONDUIT DE CHEMINEE: - il doit etre étanche, isolé et calorifugé en fonction de l'usage auquel il est destiné ;
- il doit être le plus droit possible avec des dévoiements dont l'angle de ceux-ci avec la verticale doit être < 45^
- respecter une distance de sécurité minimale ("écart de feu") avec les matériaux combustibles de la construction par interposition d'une lame d'air ou doublage avec des matériaux isolants;
- il doit avoir de préférence une section interne circulaire, uniforme sur toute sa hauteur, libre et indépendante ;
- il doit si possible Compter une chambre de visite pour collecter les matieres solides (suies) et les condensats eventuels, située à l'embouchure du conduit de raccordement ou carneau.

CARNEAU ou CONDUIT DE RACCORDEMENT : conduit ou élément de
raccordement entre l'appareil et le conduit de fumée, pour l'évacuation des produits de combustion.
Prescriptions techniques du CARNEAU : - il ne doit pas traverser des locaux où l'installation d'appareils de combustion est interdite ;
- l'usage de conduits métalliques flexibles ou en fibrociment est interdit ;
- l'utilisation d' éléments à contre-pente est interdite ;
- le(s) tronçon(s) horizontal(aux) du conduit doit(doivent) avoir une pente minimale de 3% vers le haut ;
- la longueur du tronçon ne doit pas dépasser 3 m minimum ;
- le nombre de dévoiements admis, sans raccord en T, ne doit pas être supérieur à 3 ;
- en cas de dévoiement >90^ , prévoir le montage de 2 coudes maximum d'une allure horizontally ne dépassant pas 2m ;
- le conduit de raccordement doit avoir une section uniforme sur toute la longueur et permettre de recupérer la suite.
SOUCHE DE CHEMINEE (appelee aussi SORTIE DE TOIT) : élément place au sommet du conduit de fumée ou de cheminée (sa partie extérieure) servant à evacuer dans l'atmosphère les produits de combustion.
Prescriptions techniques de la SOUCHE DE CHEMINEE
- elle doit avoir une section équivalente à celle du conduit de fumée ;
- elle doit avoir une section utile non inférieure au double de la section interieure du conduit de fumée ;
- elle doit empêcher la pénetration de la pluie, de la neige et/ou d'autres corps étrangers dans le conduit de fumée et garantir en toutes conditions climatiques l'évacuation des produits de combustions (les fumées) ;
- elle doit pouvoir assurer une dilution adequate des produits et etre positionnee en dehors de la zone de reflux ;
- elle ne doit pas composer de moyens mécaniques d'aspiration.

L'évacuation directe des produits de combustion doit être prévue en toiture et reste interdite vers des espaces clos même si à ciel ouvert.
2.5 Contrôle de la position du brasier et du déflecteur
Avant d'allumer le poèle, contrôle que le brasier soit correctement encastré sur son support. Contrôler également que le déflecteur de fumées supérieur soit encastré dans son logement. Une position incorrecte du déflecteur entraine des anomalies de fonctionnement et un noircissement excessif de la vitre.

Lors de chaque allumage de l'appareil, contrôler la position correcte du brasier sur son support.
2.6 Branchement électrique
Brancher le cable d'alimentation electrique d'une part à la prise arrêté du poèle et, d'autre part, à une prise electrique murale.
La tension de l'installation doit correspondre à cette indiquée sur la plaque d'identification du poèle et dans le paragraphe des données techniques de ce manuel.
Pendant la période d'inutilisation du poèle, il est préférible de débrancher son cable d'alimentation.

- S'assurer que l'installation électrique est réalisé avec une connexion de mise à la terre du poèle et un
l'interrupteur différentiel conformément aux textes reglementaires et regles de l'art en vigueur. - Le cable d'alimentation ne doit jamais entre en contact avec le conduit d'évacuation des fumées du poèle.
2.7 Schéma électrique

2.8 Première intervention
Il est toujours conseilé d'installer des équipements anti-incendie appropriés.
En cas d'incendie :
-
Débrancher immédiatement le cable d'alimentation du poèle.
-
Éteindre le feu avec des extincteurs conformes à la réglementation en vigueur.
- Appeler immédiatement les sapeurs-pompiers.
- Ne pas utiliser de jets d'eau pour éteindre le feu.
3 SECURITE
3.1 Distance de sécurité par rapport aux matériaux combustibles
Installer l'appareil à une distance de sécurité minimale par rapport à tout matériel inflammable, afin d'éviter tout risque d'incendie conformément aux indications générées sur la fiche technique du manuel et sur la plaque de l'appareil.
Faire attention au type de sol : en cas de matériaux délicats et inflammables, il est recommendé d'utiliser des plaques de sol en acier ou en verre trempe comme base d'appui (voir chapitre 2 Transport et Installation). En presence d'objets considérés comme particulièrement délicats, tels que meubles, ridesaux, divans, installer le poèle à une distance plus éloignée de ceux-ci.
3.2 Sécurité pour l'évacuation des fumées
Normalement, la chambre de combustion fonctionne en dépression et garantit l'étanchéité contre toute fuite de gaz dans l'environnement. En cas de valeur de dépression insuffisante ou de conduit de fumée obstrué, le vacuostat de sécurité détecte le manque de dépression à l'intérieur de la chambre de combustion, ou le débitmètre décèle l'absence de flux d'air comburant, et arrêté le fonctionnement du moteur de rotation de la vis sans fin par l'intémediaire de l'unité. Le message ' AL8 MANQUE DÉPRESSION ' ou ' AL9 TIRAGE INSUFF ' s'affichera alors sur le tableau de commande.
3.3 Sécurité en cas de surpression dans la chambre de combustion
En cas de supression inattendue des fumées de combustion à l'intérieur de la chamble et des conduits d'évacuation, les fumées seront évacuées à travers des soupapes de sutureté installées au-dessus de l'échangeur de chaleur. Durant le fonctionnement normal, ces soupapes restent fermées sous leur propre poids et sous l'effet de la dépression de la chamble de combustion de sorte à garantir l'étanchéité contre l'évacuation eventuelle des fumées.

Contrôler régulierrement que le dispositif est fermé, qu'il est en bon état et qu'il fonctionne correctement.
3.4 Surchauffe- thermostat de sécurité température réservoir granulés

Une sonde de température sur la paroi avantasse du réservoir, au-dessus du convoyeur des granulés, reliée à un thermostat de sécurité bloque automatiquement l'arrivée des granulés en cas de surchauffe >85^ . Dans ce cas, l'extracteur et/ou les ventilateurs continuent à fonctionner pour refroidir plusrapidement l'appareil. L'anomalie est affichée sur le tableau de commande par le message 'AL 7 SECURITE-THERMIQUE'. En cas d'intervention, procédér comme suit:
Laisser refroidir le poèle pendant au moins 45 minutes.
Réarmer le thermostat en appuyant le bouton proche de l'interrupteur derrière le poèle, en dévissant au préalable le couvercle de protection (figure ci-contre).Rallumer le poèle normalement.
3.5 Sécurité contre le retour de flamme sur le canal d'alimentation en granulés
Les solutions pour empêcher le retard de flamme sont :
dépression dans la chambre de combustion, voir 3.2
La forme en siphon du canal d'alimentation des granulés.
La sécurité sur la température du réservoir, voir § 3.4.
3.6 Dispositif électriche protection contre les surtensions
L'appareil est protégé contre les surtensions par un(des) fusible(s) de 2 A sur l'alimentation de l'interrupteur générale du poèle situé à l'arrière de celui-ci.
3.7 Sécurité en cas de coupure de courant
En cas de micro-coupures de courant, l'appareil se rallume automatiquement.
Une coupure de courant momentanée ne limite pas le niveau de sécurité du poèle et la température du réservoir n'atteint pas des valeurs tropées ( < 85^ ),car la quantité de granulés dans le brasier est réduite.
Cette anomalie peut entrainer une légere fuite de fumées dans la piece, mais ne comporte aucun risque.

Il est interdit d'intervenir sur les dispositifs de sécurité.
3.8 Dysfonctionnement du ventilateur d'extraction des fumées
Si pour une raison quelconque le ventilateur d'extraction des fumées s'arrête de fonctionner, l'électronique de commande bloque instantanément l'alimentation des granulés et affiche le message 'AL4 ASPIRAT-DEFAILLANT'.
4 UTILISATION DU POÉLE
4.1 Introduction
Le poèle à granulés offre l'avantage de combiner la chaleur de la flamme du bois et la commodité de la gestion automatique de la température, avec la possibilité de programmer hebdomadairement l'allumage et d'extinction. Observer les consignes suivantes pour utiliser le poèle en toute sécurité :
des odeurs desagreables peuvent se degager a la premiere mise en service. Cela est normal. Le cas échéant, bien aérer la piece ou le local, surtout durant la première période de fonctionnement;
- le réserve doit être rempli exclusivement avec des granulés ; durant cette opération, éviter que le sac n'entre en contact avec les surfaces chaudes du poèle ;
ne verser dans le réserveir que le type de combustible conforme aux prescriptions (granulés de bois) ;
ne pas utiliser l'appareil comme incinérateur de déchets ;
- la porte du foyer doit toujours être fermée quand le poèle est allumé ;
les garnitures de la porte du foyer doivent etre controlées regulierement pour eviter toute infiltration d'air ;
- le brasier doit toujours être propre pour garantir un bon fonctionnement et un rendement thermique efficace : le nettover à chaque ravitallement ;
ne pas surchauffer le poele la première fois mais attendre qu'ilatteigne la tempereature de service progressivement;
- le poèle peut émettre de légers craquements en phase d'allumage, durant le fonctionnement et à l'extinction à cause des dilatations thermiques.
4.2 Tableau de commande
Le poèle répond à des commandes partant d'un tableau doté de quatre touches et d'un afficheur LCD. Le tableau permet d'allumer et d'éteindre le poèle, de le régler durant le fonctionnement et de définir les programmes de gestion et d'entretien.
Le tableau de commandes et les principales fonctions des touches sont décrits ci-après :

4.3 Mise en marche
Avant de mettre le poèle en marche, vérifier les points suivants :
- s'assurer d'avoir lu et compris le contenu du manuel;
le réservoir doit contenir des granulés ; - la chambre de combustion doit être propre ;
- le brasier doit être vide, propre, neprésenter aucun résidu de combustion et doit être installé correctement dans le support ;
s'assurer que la porte du foyer et du cendrier se ferme hermetiquement ;

-
Lors de la première mise en marche, détacher du foyer et de la vitre tous les composants qui pouraient brûler (instructions/étiquette).
-
ÀpRES une longue période d'inactivité, nettoyer à fond la chambre de combustion et éliminer évientuèlement les granulés restés au fond du réservoir car s'ils sont humides, ils ne sont plus aptes à la combustion.
Mettre le poèle en marche en appuyant quelques secondes sur la touche P4. L'afficheur LCD visualise « START ».
Cette phase est automatique et est entierement confie à un système électronique, sans aucune possibilité d'intervenir sur les paramètres.
Le poèle exécuté la séquence de mise en marche selon les modalités définies par les paramétres de sorte à arriver aux conditions de service. Si la température des fumées n'a pas atteint la valeur minimale admise au bout d'un certain-delai, le poèle entre en état d'alarme.

- Il est interdirit d'utiliser des liquides inflammables pour l'allumage.
- En cas d'allumages manqués plusieurs fois de suite, faire appel au SAV.
4.4 Fonctionnement
Si le poèle se met en marche correctement, il passé ensuite en mode FONCTIONNEMENT. Il est possible de regler la puissance de chauffe en appuyant sur la touche P2 puis sur P1 et P2 de la valeur maxi 5 à la valeur mini 1.
Le poèle régule automatiquement la ventilation de l'air chaud en fonction de la puissance programmée.
Il est également possible de régler la température ambiente. Appuyer sur la touche P1 et utiliser P1 et P2 pour définir le POINT DE CONSIGNE, de la valeur maxi 40^ à la valeur mini 7^ .

- Il est recommandé de contrôler le niveau des granulés dans le réservoir, afin d'éviter que la flamme ne s'éteigne pour cause de manque de granulés.
- S'assurer que l'appareil est eteint pour effectuer le chargement des granulés.
- S'assurer que le couvercle du réservoir à granulés est toujours fermé ; ne l'ouvrir que pour replir le réservoir.
- Conserver les sacs de granulés à l'écart du poèle (1,5 m minimum).
Lorsque la température atteint le POINT DE CONSIGNE, le symbole correspondant s'allume sur l'afficheur.
Si le mode VEILLE est validé, le poèle s'éteint au bout de quelques minutes. Il se remettra en marche des que la température ambiente sera redescendue de quelques degrés sous la valeur programmée (2 °C par défaut).
Si le mode VEILLE n'est pas validé ou si la température des fumées atteint la valeur maximale programmée, l'afficheur LCD visualise le message MODULER et le poèle lance la procédure de modulation de la flamme sans que l'utilisateur n'intervienne.
Si la température augmente ultérieurement et dépasse la limite fixée, l'alarme HOT FUMÉES se déclenché et le poèle lance la procédure d'extinction.
En condition normale durant le fonctionnement, la fonction NETTOYAGE BRASIER se déclène à des intervalles réguliers. Elle dure quelques secondes.
4.5 Extinction
Éteindre le poèle en marche en appuyant quelques secondes sur la touche P4. La vis sans fin s'arrête immédiatement et la vitesse de l'extracteur des fumées augmente de façon déterminante jusqu'à ce que s'affiche le message NETTOYAGE FINAL. Les moteurs d'aspiration des fumées et de ventilation de l'air restent allumés jusqu'à ce que la température du poèle descendé à une valeur soutenable.
Une fois l'opération terminée, l'afficheur visualise ETEINT.
Il n'est pas possible de remettre le poèle en marche durant la phase d'extinction, tant que la température des fumées n'est pas descendue sous une valeur et pour une durée définies. Si l'utilisateur appuie sur la touche de mise en marche, l'afficheur visualise ATTENTE REFROID.
4.6 Menu
Appuyer sur la touche P3 pour acceder au menu. Ce menu compte une sous-menus qui permettent d'acceder aux configurations de contrôle électronique.
Pour dérouler les sous-menus, appuyer sur les touches P1 et P2; pour y acceder, appuyer sur la touche P3; pour les quitter, appuyer sur la touche P4.
4.6.1 Menu 01 - réglage des ventilateurs
Pour régler manuellement le flux d'air chaud, il est possible de selectionner la vitesse enChoosingant une valeur entre 1 et 5. Pour dispose de la vitesse automatique des ventilateurs en fonction de la puissance choisisie, désir la valeur A.
4.6.2 Menu 02 - réglage de l'horloge
Avant de metre le poèle en marche, régler l'heure et la date afin de disposer de repères pour les programmations du chronothermostat.
La commande électronique est dotée d'une pile au lithium mod. CR2032 de 3 Volt qui assure à l'horloge embarquée une autonomie propre ; si l'horloge ne conserve pas l'heure lorsque le poèle est étant ou affiche une série de zéros au rallumage, procédéur au remplacement en faisant appel à un centre d'assistance agréé.
Pour régler l'heure, acceder au menu en appuyant sur P3 et utiliser les touches P1 et P2. Pour régler les minutes, le jour, le mois et l'année, appuyer à nouveau sur P3.
4.6.3 Menu 03 - activation du chrono
Permet de valider toutes les fonctions du chrono. Pour valider le chrono, acceder au premier sous-menu VALIDER CHRONO et le programmeur sur ON à l'aide des touches P1 ou P2. Le symbole correspondant s'allume sur l'afficheur et la programmation est validée. Les commandes manuelles du tableau et de la télécommande gardent la priorité sur la programmation.
Acceder au deuxieme sous-menu PROGRAM JOUR pour valider ou désactiver le chrono quotidien à l'aide des touches P1 et P2. Appuyer ensuite sur la touche P3 pour programmer jusqu'à deux phases de fonctionnement délimités par les horaires définis.
Acceder au troisieme sous-menu PROGRAM SEMAINE pour valider, désactiver et définir les fonctions du chrono hebdomadaire. Suivre les mêmes modalités qu'au paragraphe précédent. Il est possible de programmer jusqu'à quatre phases de fonctionnement délimitees par les heures et les jours définis.

Proceder à la programmation avec précaution, en évitant de superposer les heures de validation et/ou de désactivation d'un même jour sur différents programmes.
Acceder au quatrième sous-menu PROGRAM WEEK-END pour valider, désactiver et définir les fonctions du chrono pour le week-end. Suivre les mêmes modalités qu'au paragraphe précédent. Il est possible de programmermer jusqu'à deux phases de fonctionnement déliminées par les heures définis.

Pour éviter de mettre en marche ou d'éteindre le poèle par inadvertance, ne valider qu'un programme à la fois.
Acceder au cinquieme sous-menu pour quitter le menu chrono et acceder au menu principal.
4.6.4 Menu 04 -CHOIX de la langue
Possibilité deCHOISIR une langue parmi celles disponibles.
4.6.5 Menu 05 - mode veille (stand-by)
En mettant le mode VEILLE sur ON, le symbole correspondant s'allume sur l'afficheur et le poèle s'eteint automatiquement des que la température ambiente atteint la valeur du POINT DE CONSIGNE pendant une durée donnée.
Il se remettra en marche automatiquement des que la tempere ambiente sera redescendue de quelques degrés sous la valeur programmée (2 °C par défaut).
Si le mode VEILLE est sur OFF, il n'est pas validé et le poèle fonctionne en mode modulation. Par conséquent, lorsque la température dépasse la valeur du POINT DE CONSIGNE, le poèle fournira la puissance minimum.
4.6.6 Menu 06 - alarmse sonore (buzzer)
Cette seLECTION permet de valider ou de désactiver la signalisation sonore du poèle en cas d'alarme.
4.6.7 Menu 07 - charge mment initial
Permet de procéder au préchargement de granulés pour une durée définie. Cette fonction est disponible uniquement si le poèle est étant et froid et s'utilise si la vis sans fin de chargement est complètement libre. Appuyer sur le bouton P1 pour démarrer le chargement et sur le bouton P4 pour l'interrompre.
4.6.8 Menu 08 - état du poèle
Ce menu est réservé aux techniciens du centre d'assistance COLA agree.
4.6.9 Menu 09 - réglages du technician
Ce menu est réservé aux techniciens du centre d'assistance COLA agréé.

La modification des paramètres techniques du menu 09 est réservée au personnel autorisé et compétent ; toute modification non autorisée peut engendrer des dommages importants et dégage la société COLA de toute responsabilité.
4.6.10 Menu 10 - réglages de l'installateur
Ce menu est réservé aux techniciens du centre d'assistance COLA agréé.
4.6.11 Menu 11 - mode ECO
En mettant le mode ECO sur ON, le poèle fonctionneforcément en modulation, a savoir à la puissance minimum et avec la ventilation au minimum. L'afficheur visualise l'indication POINT DE CONSIGNE ECO et le symbole correspondant s'allume.
4.7 Telecommande
La télécommande est un dispositif qui transmet à travers une diode infrarouge. Il est donc nécessaire de la pointer vers l'unité de réception faisant partie du tableau de commandes.
La télécommande permet de proceder aux opérations suivantes :

4.7.1 Remplacement de la pile
La télécommande est alimentee par une pile type CR2025 de 3 Volt installee dans la partie inferieure du dispositif.
Pour la poser ou la remplaçer, procéder de la façon suivante :
-Aqir sur le levier indiqued;
- Dégager le logement de la pile et remplaçer cette dernière (modèle CR2025 3 Volt) en respectant la polarité ;
- Replacer le logement coulissant ;
- Vérifier que tout fonctionne correctement.

- Conserver la télécommande à l'ecart de toute source de chaleur directe ou de l'eau.
- Remplacer la pile de la télécommande conformément aux normes locales ;

4.8 Thermostat extérieur
L'appareil en version standard contrôle la températe ambiente à travers une sonde numérique qui permet de régler la puissance en fonction de la températe programmée.
Pour pouvoir utiliser un thermostat supplémentaire, s'adresser à un technicien autorisé et respecter les consignes suivantes :
- éteindre le poèle en intervenant sur l'interrupteur général (si disponible) et débrancher le cordon d'alimentation :
- démonter l'habillage pour acceder à la carte mère ;
faire reference au schema electrique pour brancher les deux cables du thermostat sur les bornes TERM de la carte (prévoir un thermostat « normalement ouvert »); - remonter le tout et vérifier que tout fonctionne correctement
Proceder ensuite à la configuration suivante :
thermostat extérieur : définir un POINT DE CONSIGNE température de 7^
chronothermostat extérieur : définir un POINT DE CONSIGNE température de 7^ , désactiver la fonction chrono dans le menu 03 et configurer la fonction VEILLE sur ON. La chaudière s'eteindra lorsqu'elle aura atteint la température de consigne (SET), elle ne se mettra pas en mode modulation.
Dans ce cas, il est conseilé d'utiliser la fonction de programmation hora du poèle et uniquement la fonction de réglage (SET) de la température du chronothermostat extérieur.
Il sera possible d'opter pour la VEILLE sur ON ou sur OFF uniquement à travers cette combinaison, obtenant respectivement la modulation ou l'extinction lorsque la chaudière atteint la température de consigne et l'extinction et l'allumage en fonction de la programmation hora.
Lorsque le thermostat extérieur fait enclencher le poèle, le symbole correspondant s'allume sur l'afficheur.
4.9 Période d'inactivité (fin de saison)
Si le poèle est destiné à rester inutilisé pour de longues périodes, et/ou à la fin de chaque saison, il est conseilé de procéder comme suit
- vider complètement le réservoir à granulés ;
- couper l'alimentation électrique du poèle ;
- nettoyer parfaitement et, si nécessaire, remplacer les parties eventuellement endommagées par un professionnel qualifié ;
- protégé le poèle contre la poussière avec une bache ou housse ou tout autre dispositif d'une efficacité au moins équivalente ;
- stocker le poèle dans un endroit sec et à l'abri des intempérières.
5 NETTOYAGE DU POÉLE
Il est important de nettoyer le poèle pour éviter le noircissement de la vitre de foyer, la mauvaise combustion, le dépôt de cendres et d'imbrûés dans le foyer et la réduction de l'efficacité thermique.
La porte du foyer doit toujours être fermée quand le poèle est allumé.
Les joints des portes de foyer et du cendrier doivent être contrôlées régulièrement pour éviter toute infiltration d'air; en effet, la chambre de combustion et le canal d'évacuation des granulés fonctionnent en dépression, tandis que les fumées sont evacuées en légers re pression. Les opérations de nettoyage courant doivent être normalement
effectues par le client, en suivant les indications du manuel. L'entretien extraordinaire est, par contre, effectue par le centre d'assistance agrée au moins une fois par an.

- Les opérations de nettoyage de toutes les parties doivent être faites poèle froid et débranché ;
- Éliminer les déchets du nettoyage conformément à la réglementation locale en vigueur ;
- Il est interdirit d'allumer le poèle s'il est depourvu de son habillage ;
- Eviter la formation de fumée ou d'imbrûés pendant l'allumage et/ou le fonctionnement normal.
Voici le tableau récapitatif des interventions de contrôle et/ou d'entretien utiles pour le fonctionnement correct du poèle.
| Organes ou parties /PériodeOpération | 1 journettoyagecourant | 2-3 joursnettoyagecourant | 1 moisnettoyagecourant | 2 - 3 moisnettoyagecourant | 1 annettoyage extraordinaire:effectué par le centred'assistance |
| Brasier | ■ | ||||
| Cendrier | ■ | ||||
| Vitre | ■ | ||||
| Échangeur fumées-deflecteur | ■ | ■ | |||
| Collecteur -extracteur defumées | ■ | ■ | |||
| Joint de porte-vitre | ■ | ||||
| Conduit de fumée-conduitde raccordement | ■ |
5.1 Nettoyage du brasier
Enlever le brasier et eliminer les résidus de cende qui se sont déposés dans la chambre de combustion et dans le support de brasier. Il est conseillé d'utiliser un aspirateur approprié. Cette opération doit être effectuee tous les jours, surtout en presence de depots d'imbrules, pour permettre a l'air de combustion de passer a travers les orifices du creuset de sorte a garantir une combustion efficace.

Brasier encrassé

Brasier propre

Support de brasier

Le brasier doit parfaitement plaquer sur tout le périmètre de son support sans laisser aucun interstice pour le passage d'air.
5.2 Nettoyage du cendrier
Le cendrier amovible est situé directement sous l'ensemble brasier et support de brasier. Pour le nettoyage, ouvrir la porte de foyer et aspirer la cendre et tout autre résidu de combustion avec un aspirateur approprié.
À la fin du nettoyage, fermer la porte. Le décendrage doit se faire tous les 2-3 jours en fonction de l'utilisation du poèle.
5.3 Nettoyage de la vitre et des fentes d'airation
Nettoyer la vitre à l'aide d'un chiffon humide et d'un détergent non abrasif.
Des fentes ont ete pratiques entre la vitre, la parclose et la porte de foyer dans la partie inferieure et superieure pour permetre a l'air de circuler sur la surface interieure de la vitre. Il est important de debarrasser les fentes de la poussiere et des cendres en les nettoyant regulierement. Effectuer donc periodiquement un nettoyage interieur sur tout le perrimetre de la vitre.
5.4 Nettoyage de l'extracteur de fumées et de la chambre de combustion
Nettoyer au moins une fois par an la chambre de combustion après avoir enlevé le couvercle, en eliminant tous les résidus de combustion des chicanes interieures et du parcours de fumées. Pour cela, enlever le couvercle et la façade supérieur du poèle. Déposer l'échangeur en fonte en desserrant les vis de fixation, puis proceder au nettoyage des chicanes et de la,chambre de combustion.
COLA
Il est d'autre part important de nettoyer l'extracteur de fumées qui se trouve sous la chambre et qui est accessible en enlevant l'orifice d'inspection situé sur la partie avant inferiure de la chambre.
Tous les 3-4 mois, nettoyer les parois internes de la chambre de combustion avec des outils (pinceaux) appropriés et replacer eventuèlement le "matelas" de vermiculite car considéré comme un consommable.
Le poèle signale toutes les 1800 heures de fonctionnement, à travers un message 'ÉCHEANCE ENTRETIEN', la nécessité d'effectuer un entretien extraordinaire (qui n'est pas couvert par la garantie) par un professionnel qu'il qu'en cas, est évalué.

Tous chocs ou forçages éventuels peuvent endommager l'extracteur des fumées et rendre son fonctionnement bruyant. Par conséquent, faire effectuer cette opération par un professionnel qualifié.
5.5 Nettoyage du débitmètre
A l'interieur du tuyau d'aspiration est installe un débitmère (mesureur du début d'air combustant) qui nécessite tous les 3-4 mois d'un nettoyage des parois internes à l'aide d'un outillage approprié (jet d'air compré ou pinceaux appropriés).
5.6 Nettoyage des céramiques (modèles avec habillage céramique)
Les carreaux céramiques COLA sont fabriqués de manière artisanale et peuvent à ce titreprésenter de petites imperfections superficielles, telles que micro-piquères ou variations chromatiques. Il est conseilé de les nettoyer avec un chiffon doux et sec ; l'utilisation de certains déterments pourraitmettre davantage en évidence les imperfections.
5.7 Nettoyage du conduit de raccordement - conduit de fumée
Le conduit de raccordement doit etre nettoy e au moins une fois par an ou toutes les fois que cela est necessaire en fonction de l'utilisation du poele et du type d'installation.
Le nettoyage comprend l'aspiration et I'élimination de résidus de combustion dans tous les tronçons verticaux et horizontaux, ainsi que dans les coudes, de l'appareil au conduit de fumée.
Il est également conseilé de nettoyer le conduit de fumée une fois par an, afin de garantir une parfaite évacuation des fumées.

Pour toutes les opérations d'entretien ou de nettoyage de fin de saison, la société COLA recommende de faire appel à un centre d'assistance agrée qui vérifiera par la même occasion l'état d'usure des composants internes du poèle.
6 ENTRETIEN
6.1 Introduction
Les interventions sur les composants du poèle doivent être effectuées par un professionneliel qualifié, en s'adressant au centre d'assistance le plus proche.

Avant toute intervention, s'assurer d'avoir débranché le cordon d'alimentation électrique et que le poèle est froid.
6.2 Dépose de l'habillage MEDEA

Legende:
1 - Majolique supérieur avec l'appui
2 - Panneau frontal inférieur en acier peint
3 - Majolique inférieur avec support
4 - Majolique létal avec support
5 - Panneaux lateraux
6 - Panneau arrête
7 - Protection moteur
8 - Dessus avant en acier peint
9 -Grille en acier peint Upper
6.3 Dépose de l'habillage MEDEA LUX
COLA

Legende :
1 - Majolique supérieur avec l'appui
2 - Grille de haut en majolique
3 - Majolique inférieur avec support
4 - Majolique létal avec support
5 - Panneaux lateraux
6 - Panneau arrête
7 - Protection moteur
8-Haute-grill majolique
6.4 Composants internes du poèle

Legende:
1 - Chambre de combustion
2 - Supports droit-gauge
3 - Échangeur en fonte
4 - Parois laterales vermiculite
5 - Déflecteur supérieur vermiculite
6 - Paroi postérieure vermiculite
Éclaté de la chambre de combustion et departies reliées ref. poèle MEDEA - MEDEALUX
Eclatés de :
1 - Groupe brasier
2 - Groupe extracteur des fumées
3 - Groupe vis sans fin



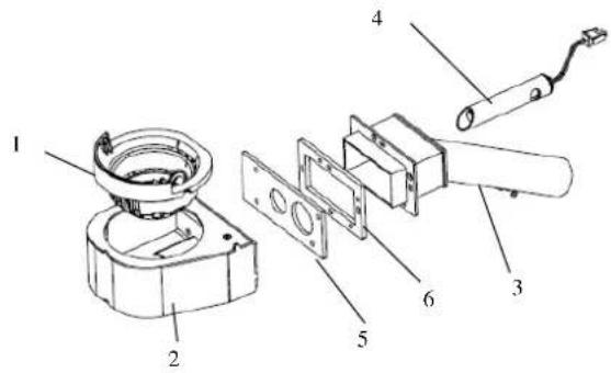
6.5 Composants électriques
Legende:
1 - Brasier
2 - Support de brasier
3 - Tuyau d'aspiration d'air comburant
4 - Résistance électrique
5 - Joint arrêté de support de brasier
6 - Joint avant du groupe aspiration
Legende :
1 - Volute extracteur de fumées
2 - Joint thermique
3 - Moteur extracteur de fumées
4 - Tuyau d'évacuation des fumées
Legende:
1 - Joint de réservoir-convoyeur
2 - Flamque d'arrêt motoréducteur
3-Motoréducteur
4 - Vis sans fin
5 - Joint pour goulotte
6-Goulotte de granulés
7 - Joint de chambre-convoyeur
8 - Convoyeur de granulés

Legende:
1-Cartelectronique
2 - Vacuostat de contrôle et sécurité
3 - Thermostat de sécurité
4 - Interrupteur ON-OFF avec fusions
5-Port série
6 - Sonde de température ambiente
7 - Sonde de température des fumées
8 - Débitmètre
9 - Ventilateur tangentiel droit
10 - Ventilateur tangentiel gauche
11 - Ventilateur tangentiel postérieur
12 - Tableau de commande mod.N032
7 RECHERCHE DES PANNES
7.1 Gestion des alarmes
Les alarmes sont signalées à la fois visuèlement à l'écran (message) et par un signal sonore (si activé).
En cas d'alarme, la procedure d'extinction s'enclenché automatiquement. Annuler la signalisation en appuyant sur la touche P4 et attendre que le poèle attaigne l'etat OFF. Éliminer la cause qui a déclenché l'alarme et remetre le poèle en marche selon la procédure normale expliquée dans ce manuel.
Les alarmes visualisées sur le tableau de commande avec leurs causes et leurs solutions sont les suivantes :
| ALARMES - MESSAGES | |||
| Signalisation | Anomalie | Causes probables | Solutions |
| AL 1 COUPURE DE COURANT | Cette alarme se déclenché en cas de coupure de courant durant le fonctionnement | Le courant électrique du local dans lequel le poèle est installé a été coupé | -Mettre le poèle sur OFF en appuyant sur le bouton P4 puis répéter la procédure de mise en marche-Toute autre opération de réarmement est réservée à un centre d'assistance |
| AL 2 SONDE DE FUMÉE | Cette alarme se déclenché en cas de panne de la sonde de détction de la température des fumées | - La sonde est en panne- La sonde est débranchée de la carte | Les opérations de réarmement sont réservées à un centre d'assistance |
| AL 3 FUMÉES BRULANTES | Cette alarme se déclenché lorsque la sonde de fumée déetecte une température des fumées elevée | - Poèle en état de surchauffe à cause d'une utilisation excessivement prolongée- Le ventilateur tangentiel est défectueux ou est débranché- Trop de granulés dans le réservoir | - Attendre que le poèle ait refroidi et répéter la procédure de mise en marche-Toute autre opération de réarmement est réservée à un centre d'assistance |
| AL 4 ASPIRAT-DéFAILLANT | Cette alarme se déclenché lorsque le ventilateur d'aspiration est en panne | - Le ventilateur des fumées est bloqué- Le capteur de contrôle de la vitesse est en panne- Le ventilateur des fumées n'est pas alimenté | Les opérations de réarmement sont réservées à un centre d'assistance |
| AL 5 LE POÊLE NE S'ALLUME PAS | Les granulés ne brûlent pas en phase d'allumage | - Le réservoir à granulés est vide- La résistance électrique est défectueuse, sale ou n'est pas dans la bonne position.- Réglage du chargement des granulés incorrect. | - S'assurer que le réservoir contient des granulés.- Répéter la procédure de mise en marche-Toute autre opération de réarmement est réservée à un centre d'assistance |
| AL 6 ABSENCE DE GRANULÉS | La flamme s'éteint durant le fonctionnement | - Le réservoir à granulés s'est vide- Le motoréducteur de chargement des granulés est défectueux ou n'est pas alimenté | - S'assurer que le réservoir contient des granulés- Répéter la procédure de mise en marche-Toute autre opération de réarmement est réservée à un centre d'assistance |
| AL 7 SECURITÉ THERMIQUE | Cette alarme se déclenché en cas d'intervention du thermostat de sûreté de la température du canal de la vis sans fin. | - Poèle en état de surchauffe à cause d'une utilisation excessivement prolongée- Brasier colmaté par un trop-plain de cendra accumulée | Débloquer le thermostat de sûreté en agissant sur le bouton de réarmement et répéter la procédure de mise en marche |
| AL 8 ABSENCE DÉPRESSION | En phase de fonctionnement, le poèle déetecte une pression inférieure au seuil de configuration du vacuostat | - La chamme de combustion est sale- Le conduit des fumées est bouché- La porte du foyer n'est pas fermée- Les clapets anti-explosion sont ouverts-coincés- Le vacuostat est défectueux | - S'assurer que le conduit des fumées et la chamme de combustion sont propres et que la porte et le clapet anti-explosion sont hermétiquement fermés.- Répéter la procédure de mise en marche-Toute autre opération de réarmement est réservée à un centre d'assistance |
| AL 9 TIRAGE INSUFF | Le flux d'air combustant est descendu au-dessus du seuil fixé | - La chambre de combustion est sale - Le conduit des fumées est bouché - La porte du foyer n'est pas fermée - Les clapets anti-explosion sont ouverts-coincés - Le débitmètre est sale ou défectueux | - S'assurer que le conduit des fumées, la,chambre de combustion et le débitmètre sont propres et que la porte et les clapets anti-explosion sont hermétiquement fermés. Répéter la procédure de mise en marche - Tout autre opération de réarmement est réservée à un centre d'assistance |
| AL b ERREUR TRIAC COC | Cette alarme se déclenché lorsque le motoréducteur fonctionne de manière ininterrompue | - Paramètres saisis incorrects - La carte mère est défectueuse | Les opérations de réarmement sont réservées à un centre d'assistance |
| ATTENTE REFROID | Cette alarme se déclenché en rallumant le poèle immédiatement après l'avoir étent | Le poèle est encore trop chaud pour pouvoir commencer un phase de mise en marche | Attendre que le poèle ait refroidi et répéter la procédure de mise en marche |
| PANNE DU DÉBITM | Le débitmètre est débranché. Le contrôle n'indique pas la quantité d'air combustant mais n'éteint pas le poèle | Le cable de raccordement du débitmètre a été détaché | Le poèle fonctionné normalement et la sécurité est assurée par les autres dispositifs. Il est conseilé de demander rapidement conseil à un centre d'assistance agréé |
| ÉCHEANCE ENTRETIEN | Cette alarme se déclenché lorsque le poèle a dépassé la date de révision calculée sur la base des heures de fonctionnement | Le poèle doit faire l'objet d'une opération d'entretien extraordinaire | Le poèle continue à fonctionner normalement. Il est conseilé de demander rapidement conseil à un centre d'assistance agréé |
La société COLA s.r.l. se reserve d'apporter des modifications techniques ou esthétiques à ses produits à n'importe quel moment et sans préavis.
Toutes les configurations, les dessins, les mesures et les schémas sont fournis à titre d'exemple.

GRUPPO FERROLI
COLA s.r.l. - Viale del Lavoro 7/9 - 37040 Arcole (VR) Italy - Tel. 045.7635780 - 045.6144043
Cod. Fisc. - P.IVA e Iscr. Reg. Impr. 02990180230 - Capitale Sociale Euro 52.000,00 i.v. R.E.A. VR-301021 - Socio Unico
Fax Amministrazione 045.6100317 - Fax Commerciale 045.7639032 - Fax Assistenza 045.7639030 - Fax Logistica 045.6144048
email: info@anselmocola.com - on line: www.colastufe.com
- à puissance nominale et de faible puissance / Nominal output and Reduced output
** La consommation de granulés peut varier selon le type de pellet utilisé / Pellet consumption can vary according to the type of pellets used.

F
COLAS.r.l.-Viale del Lavoro 7/9-37040 Arcole (VR) Italy-Tel.045.7635780-045.6144043
Cod. Fisc. PIVA e Iscr. Reg. Impr. 02990180230 - Capitale Sociale Euro 52.000.00 l.v. R.E.A. VR-301021 -
Fax Aministration 045.6100317 - Fax Commerical 045.7639032 - Fax Assistn2a 045.7639030 - Fax Log
- à puissance nominale et de faible puissance / Nominal output and Reduced output
La consommation de granules peut varier selon le type de pellet utilise / Pellet consumption can vary according to the type of pellets used.
9 INSTALLATEUR
9.1 Menu reglages installer
Les instructions décrites ci-après sont réservées aux techniciens qualifiés possédant les compétences spécifiques nécessaires pour intervenir sur les apparèils de chauffage fabriqués par la société COLA.

Noter que toute variation intempestive et/ou incorrecte peut provoquer de graves dommages aux apparciels, aux personnes et à l'environnement.
Le cas échéant, la société Cola s.r.l. est dégagée de toute responsabilité.
Pour acceder au menu RÉGLAGES INSTALLATEUR, appuyer sur le bouton P3 - MENU et, à l'aide des touches de défilement, afficher l'option RÉGLAGES INSTALLATEUR, puis appuyer à nouveau sur le bouton P3 - MENU. Toujours à l'aide des touches de défilement, faire apparaitre la clé d'accès 10 et appuyer à nouveau sur le bouton P3 - MENU.
Pour afficher les différents paramètres, utiliser les touches de défilament ; pour acceder aux différents paramètres, appuyer sur le bouton P3 - MENU ; pour modifier les différents paramètres, utiliser les touches de défilament et pour sortir de la séquence, appuyer sur la touche ESC.
Voutrouverez ici les paramètres de réglage indiqués ci-dessous.
| Code paramètre | Description |
| 10-01 | Permet d'augmenter ou de diminuer la durée de OFF de la vis sans fin pour toutes les puissances. |
| 10-02 | Permet d'augmenter ou de diminuer la vitesse de l'extracteur de fumée pour toutes les puissances d'une valeur de 5 % pour chaque unité. |
| 10-03 Validation verrouillage des touches. | |
| 10-04 | Delta ON/OFF du réglage de la température de la sonde de régulation (voir paragraphe 10-07) |
| 10-05 | Retard de l'extinction du poège. Valable uniquement dans le cas de veille (Stand-by) sur ON. |
| 10-06 Permet de valider l'autocalibration. | |
| 10-07 | Permet de désirir qu'elle sonde utiliser pour ajuster le réglage du poège : - SONDE LOCALE : sonde embarquée et connectée à la carte mère. - SONDE DÉPORTÉE : sonde située sur l'afficheur graphique distant. |
2.7 Esquema électrique

Notice Facile