Medea - Cocina Cola - Manual de uso y guía de instrucciones gratis
Encuentra gratis el manual del aparato Medea Cola en formato PDF.
Preguntas de los usuarios sobre Medea Cola
0 pregunta sobre este aparato. Responde a las que conoces o haz la tuya.
Hacer una nueva pregunta sobre este aparato
Descarga las instrucciones para tu Cocina en formato PDF gratis! Encuentra tus instrucciones Medea - Cola y toma tu dispositivo electrónico nuevamente en la mano. En esta página están publicados todos los documentos necesarios para el uso de su dispositivo. Medea de la marca Cola.
MANUAL DE USUARIO Medea Cola
Lea atentamente las instrucciones antes de realizar la instalacion, el uso y el mantenimiento. El manual es parte integrente del equipo.
La Empresa Cola Srl garantiza sus produits segun las normas actualmente en vigor, excluyendo las piezas expuestos a normal usura.
Para las conditiones de garantia dirijanse al importador o vendedor autorizzato que pueda-agregar el periodo de garantia obligatoria con un periodo suplementar bajo su total y una responsabilitad.
La garantia del producto decae por qualquier incoveniente de rotura o incidente bajo a la falta de respeto o aplicacion de las indicaciones indicadas en el presente manual.
COLA
1 AVVERTENZE GENERALI
1 ADVERTENCIAS GENERALES
1.1 Introduccion
1.2 Uso del manual
1.3 Normas de seguridad
1.4 Descripción技术水平
1.5 Combustible y uso permitted
1.6 Accesorios suministrados
1.7 Normas de referencia
1.8 Placa de identificacion
1.9 Puesta fuera de servicios de la estufa
1.10 Pedido de reparaciones y recambios
2 TRANSPORTE E INSTALLACION
2.1 Embalaje, acarreo, expedeción y transporte
2.2 Lugar de instalación, emplazimiento y prevencion de incendios
2.3 Toma de aire
2.4 Salida de los humos de combustión
2.4.1Tiños de instalación
2.5 Control de la posicion del brasero y del deflector
2.6 Conexión electrica
2.7 Esquema électrique
2.8 Emergencias
3 SEGURIDAD DE LA ESTUFA
3.1 Distancia minima de materiales inflamables
3.2 Dispositivo de seguridad en la calidad de humos
3.3 Seguidad contra sobrepresiones en la camara de combustion
3.4 Sobrecalentamento - termostato de seguidad del deposito de pellets
3.5 Seguidad contra el returno de llama al conductor de alimentacion de pellets
3.6 Dispositivo electrico de proteccion contra sobrecorrientes
3.7 Seguidad contra la interrupcion de la corriente
3.8 Fallo del ventilador de humos
4 USO DE LA ESTUFA
4.1 Introduccion
4.2 Descripción del panel de mandos
4.3 Encendido
4.4 Funcionamento
4.5 Apagado de la estufa
4.6 Menus
4.6.1 menu 01 - Ajuste ventiladores
4.6.2 menu 02 - Ajuste reloj
4.6.3 menu 03 - Habilitar crono
4.6.4 menu 04 - Elegir idioma
4.6.5 menu 05 - Modo stand-by
4.6.6 menu 06 - Avisador acustico
4.6.7 menu 07 - Carga inicial
4.6.8 menu 08 - Estado de la estufa
4.6.9 menu 09 - Calibrado por parte del的技术ico
4.6.10 menu 10 - Calibrado instalador
4.6.11 menu 11 - Modo ECO
4.7 Mando a distancia (optional)
4.7.1 Sustitución de la bateria
4.8 Termostato externo
4.9 Período de inactividad (final de temporada)
5 LIMPIEZA DE LA ESTUFA
5.1Limpieza del brasero
5.2 Limpieza del cenicero
5.3 Limpieza del vidrio y de las ranuras de circulación de aire
5.4 Limpieza del extractor de humos y de la CAMERA de combustión
5.5 Limpieza del debímetro
5.6 Limpieza de las ceramicas
5.7 Limpieza del tubo de humos - chimenea
6 MANTENIMIENTO
6.1Introduccion
6.2 Desmontaje del revestimiento MEDEA
6.3 Desmontaje del revestimiento MEDEA LUX
6.4 Componentes internos de la estuía
6.5 Componentes electricos
7 LOCALIZACION DE AVERIAS
7.1 Gestión de las alarmas
8 ANEXOS
8.1 Información sobre el marcado CE
9 INSTALLATORE
9.1 Menu' tarature installatore
1 ADVERTENCIAS GENERALES
1.1 Introduccion
Estimado CLIENTE:
En primer lugar, desamos agradecerle la confianza que nos ha demostrado al adquirir uno de nuestros produits.
Le invitamos a leer y seguir atentamente los consejos+dados en este manual de instalacion, uso y mantenimiento para aprovechar al maximum lascharacteristicas de este equipo.
Tos los documents relativos a certificaciones o declaraciones del aparato, en particular la Declaracion de conformidad y la Declaracion de prestaciones, peuvent verse en el situ web de lamarca commercial de pertenencia.
1.2 Uso del manual
El fabricante se reserva el Derecho a realizar modificaciones技术水平as estéticas de los productos enequalquiermomento y sin preaviso.
Las operaciones de instalacion, uso y mantenimiento de la estufa deben cumplir los requisitos expuestos en este manual, asi como las leyes y las normas europeas, naciales, regionales, provinciales y municipales.
Las figuras y medidas, los esquemas yDEMAS informacion tiene solo valor indicativo.
El presente manual es parte integrante del producto. En caso de vente o cesión a otra persona, o de instalación enanother lugar,debaeacompañarlalequipo para futuras consultas.
Si elmanual se pierde o se dana, solicite othero ejemplar al Centro de asistencia的技术ico autorizo.
| ! | Este símbolo indica la presencia de un mensaje importante, que requiere especial atencion yuyo incumplimiento能把 causar daños graves a la estuía y a las personas. |
| Los detailles que requirecen mayor atencion se destacan mediante el texto en negrita. |
1.3 Normas de seguridad
Leer este manual antes de realizar operaciones de instalacion, uso y mantenimiento de la estufa.
Hacer realizar la instalacion, la connexion electrica, la prueba y elostenimiento por un先进技术 autorizzato.
- Conectar la estufa a una chimenea según normas a工程技术 de un terminal inspeccionable. La conexión de various aparatos a una misma chimenea debe estar autorizada por las normas locales y por el organismo de control de este tipo de sistemas.
- Conectar la estufa a la aspiracion mediante un tubo o toma de aire desde el exterior.
- Conectar la estufa a una toma de corriente homologada de 230V - 50Hz
- Contralr que la instalacion elctrica y las tomas de corriente tengan capazidad para soportar la absorcione maxima del equipo, indicada en la plac y en este manual.
- Antes de hacerrialquier operacion de mantenimiento,desconectar la estufa de la corriente elctrica ydefer que se enfrie.
- No utiliser liquidos o sustancias inflamables para encender la estufa o reavivar la llama: con la estufa en marcha, losPellets seencienden automatistically.
- Alimentar la estufa exclusivamente con pellets de madera que tengan las caracteristicas descritas en este manual.
- No usar la estufa como incinerador de residuos.
- No cerrar en ningún caso las entradas de aire comburette ni las salidas de humos.
- No manipular sustancias fácilmente inflamables o explosivas cerca de la estufa encendida.
No guitar ni modificar la rejilla de proteccion del deposito de pellets nithersdispositivosde seguidad.
No utilize la estufa con la puerta de la camar a combustion abierta o con el vidrio rajado o roto.
- Durante el funciona, el intenso calor generado por la combustion de los pellets caliente las superficies externas de la estufa, en particular, la puerta de la camera, la manija y el tubo de salute de humos. Evitar el contacto con dichas partes sin una proteccion adecuada.
- Mantener a una distancia prudencial los objetivos inflamables o que no resistan al calor.
- Limpiar correctamente el brasero a cada encendido o recarga de pellets.
- Hacer limpiar el conducto y los deflectores de homo, bajo de la camar a de combustion, por un technician autorizzato.
- Evitar la formación de humano y de material inquemado durante el encendido y el funcionaimiento. Si se acumula mucho pellet sin quermar en el brasero, quitarlomanualmente antes del proximo encendido.
- Advertir a los niños y huéspedes de los peligros anteiormente descriritos.
- En caso de anomalías de funciona, no reencender la estufa hasta que se haya resulto la causa del problema.
Las modificaciones de la estufa o el uso de recambios no originales sin la debida autorizacion puedaponer al usuario en peligro, ante loquel el fabricante queda exento de responsabilidad civil o penal.
- Utilizar solo recambios originales indicados por el fabricante.

El fabricante no asume ninguna responsabilidad por inconvenrientes, roturas o accidentes debidos a la inobservancia de lasindicaciones dadas en el presente manual.
1.4 Descripción技术水平
La estufa的功能a exclusivamente con pellets y difunde un calor sano y seguro en el ambiente. Esta provista de sistemas automaticos de control que aseguran un rendimiento temico ideal y una combustion completa. Ademas, los dispositivos de seguidan garantizan un functionamento sin riesgos para la estufa y para los.usuarios.
El equipo instalado según las normas funciona con cualquier condidón climática exterior. No obstante, en situaciones créticas como viento fuerte o heladas pueda actuar los dispositivos de seguridad que apagan la estufa. La estufa mod. MEDEA – MEDEA LUX, con potencia nominal de 11 kW, garantiza un volumen máximo calefactable de 251 m³ para viviendas con necesidad tírmica de 35 W/m³. Este valor puede variar en función del aislamento, del tipo y de la zona climática, factores que han de tenerse en cuenta para elegir correctamente el aparato.
| Tipologia Type | Aparatos de calefacción domestica, sin agua, alimentado de pellets de madera Residential space heating appliance without water fired by wood pellets | |
| Marca Trademark | COLA MEDEA - MEDEA LUX | |
| Modelo Model | ||
| Combustible ** Fuel | Pellets de madera / Wood pellet UNI EN14961-2_classe A1 | |
| Distancia min. seguidad posterior - der./izq. - suejo Minimum distance from combustible materials Rear-Right/left side-floor | mm | 200 - 300 - 0 |
| Potenza térmica introducida* Heating input | kW | 12,03 - 3,3 |
| Potencia térmica nominal* Heating output | kW | 11,01 - 3,1 |
| Potenza térmica al agua* Water heating output | kW | / |
| Potenza térmica all'aria* Room heating output | kW | / |
| Rendimiento termico* Efficiency | % | 91,47 - 95,35 |
| Consumo HORARIO*** Fuel consumption | kg/h | 2,49 - 0,68 |
| Emissiones de CO al 13%O2* | % | 0,014 - 0,02 |
| Emission CO at reference 13% | mg/m3 | 172,7 - 265,1 |
| Emissiones de CnHm al 13% O2* | mg/m3 | 5,0 - 4,2 |
| Emission CnHm at reference 13% O2 | mg/m3 | 123,0 - 115 |
| Emissiones de NOx al 13% O2* | mg/m3 | 18,0 - 10,7 |
| Emission NOx at reference 13% O2 | mg/m3 | 19,8 - 13,2 |
| Emissiones de polvo PP al 13% O2* | mg/m3 | / |
| Emission dust PP at reference 13% O2 | mg/m3 | / |
| Total de emisiones de particulas PPBT al 13% O2* | mg/m3 | / |
| Total dust emission PPBT at ref. 13% O2 | mg/m3 | / |
| Temperatura max agua establecer Set max temp. | °C | / |
| Presión:maxima de funcionaiento Max working pressure | bar | / |
| Capacidad de la*camera térmica Heating chamble capacity | l | / |
| Capacidad del depórito Pellet stove capacity | kg | 23 |
| Pérdida de energia en lado del agua ΔT 10K Water resistance ΔT 10K | mbar | / |
| Pérdida de energia en lado del agua ΔT 20K Water resistance ΔT 20K | mbar | / |
| Temperatura salute humos* Fume outlet temperature | °C | 154,7 - 63,3 |
| Caudal de humos* Flue gas flow | g/s | 6,9 - 3,4 |
| Tiro min - max Draught min -max | Pa mbar | 10 - 14 0,10 - 0,14 |
| Tubo de salute de humos Fume outlet pipe | mm | 80 |
| Alimentación electrónica Electrical power | 230V - 50Hz - 2A | |
| Consumo electrico Rated input power | W | Accensione/Start 420 - P.nom 140 |
| Medidas H x L x P Dimensions H x L x P | mm | 1075 x 564 x 537 |
| Peso Weight | kg | MEDEA 109 - MEDEA LUX 112 |

Leyenda:
A - Rejillas de paso de aire
B - Conexión del cable electrico
C - Aspiración de aire comburette diám. 50 mm
D - Conexión tubo saliva de humos diám. 80 mm
E - Tapa del deposito de pellets
Medidas de la estufadepellets MEDEA




Medidas de la estufa de pellets MEDEA LUX
Leyenda:
A - Rejillas de paso de aire
B - Conexión del cable electrico
C - Aspiración de aire comburette diám. 50 mm
D - Conexión tubo saliva de humos diám. 80 mm
E - Tapa del deposito de pellets

Para abrir la puerta, inserte la manija suministrada y girela en sentido horario.
1.5 Combustible y uso permitted
Las estufas de pellets configuran exclusivamente con pellets (pastillas) de differedes maderas conformes a la norma DIN plus 51731, UNE EN 14961-2 o O-Norm M 7135, con las seguides caractertisticas:
Poder calorifico: min. 4,8 kWh/kg (4180 kcal/kg)
Densidad: 680-720 kg/m3
Humedad: max. 10% en peso
Diametro: 6 + 0,5mm
Porcentaje de cenizas max. 1,5% en peso
Longitud: min. 6 mm - max. 30 mm
Composicion: 100% madera sin tratar proveniente de la industria de la madera o de postconsumo, sin anadido de agglomerantes y sin corteza, conforme a las normas vigentes.
Embalaje: en sacos de material ecocompatible o biodegradable, o de papel
El deposito de pellets está en la parte posterior de la estufa. La tapa del deposito se encuesta en la parte superior y la energia se efectúa正常使用, solo con la estufa apagada y con cuidado de que los pellets no sobresalgan ni se caigan del deposito.
El uso de pellet con caracteristicas distinctas a las del utilizado por el的技术o durante el primer encendido exige una recalibracion de los parametros dearga. Estoperacion no esta cubierta por la garantia.
- Guarde el pellet en un lugar seco y protegido.
- Para garantizar un functionamento regular y eficaz, no colque pellets ni ellos combustiblesmanualmente en el brasero.
-
Evite cargar combustibles no aprobados en el deposto.
-
No introduzca objetos extraños en el deposito, como recipientes, cajas, bolas o metales.
- El uso de pellet de baja calidad y no aprobado compromete el functiOnamento del equipo y pueda dararlo, con anulacion de la garantia y exencion de responsabilitad del fabricante.
1.6 Accesorios suministrados
El suministro incluye:
Cable de alimentacion electrica
Manual de instalación, uso y mantenimiento
Manija para abrir y cerrar la puerta de la camarata
Mando a distancia
1.7 Normas de referencia
Norma UNE EN 14785:2006
Requisitos de Diseño, fabricación, seguridad y prestaciones, instructuciones y marcado, y respectivos métodos de prueba para la homologación de generadores de calor alimentados conPellets.
Norma UNE EN 60335-1: Seguidad de aparatos electrodomesticos y similares - parte 1.
Norma UNE EN 60335-2-102: Seguidad de aparatos electrodomesticos y similares - parte 2.
Norma UNE EN 55014-1:
Resistencia electromagnética - Requisitos para electrodomesticos, herramrientas, electricas y equipos electricos similares - Parte 1. Emisión de interferencias.
Norma UNE EN 55014-2:
Resistencia electromagnética - Requisitos para electrodomesticos, herramientes electricas y equipos electricos similares - Parte 2. Inmunidad, Normas de familia de producto.
Norma UNE EN 61000-3-2: Límites de emisión de corrientes armónicas (corriente de entrada ≤ 16 A por fase).
Norma UNE EN 61000-3-3: Limitación de las variaciones de tensión y flicker en las redes Públas de suministro de baja tensión para los equipos con corriente nominal ≤ 16 A.
Norma UNE EN 62233: Métodos de medida de los Campos electromagnéticos de electrodométricos y similares en relacion con la exposión humana.
Normas DIN plus 51731 - UNE EN 14961 - Ö-Norm M 7135: Normas sobre las specifications y clasificacion del pellet.
1.8 Placa de identificacion
La plac de identificacion estan en la cara interna de la tapa del deposito de pellets o en la pared posterior de la estufa. Enlla se indican los datos caracteristicos de la estufa, como la identificacion del fabricante, el numero de series, el marcado CE, el laboratorioo de ensayo y el numero de referencia de la Declaracion de prestaciones.
1.9 Puesta fauna de servicios de la estufa
Cuando decide no utilizear más la estufa, desconectela de la red electrica y vacie el deposito de pellets. Para deselectar la estufa, levela en un embalaje robusto yPRECINTADO A un centro especializzato en el tratamente de este tipo de equipos, o entreguela al vendedor si adquiere una estufaneaueva decharacteristicas similares.
1.10 Pedido de reparaciones y recambios
Para solicitar reparaciones o recambios, contacte con el vendedor del equipo, el importador de zona o el centro de asistencia autorizado más cercano, indicando de modo claro los siguientes datos: modelos de estufa, número de série, Fecha de compra, lista de recambios e información sobre las anomalías observadas.

- Los componentes deben ser reparados por personal autorizzato.
- Antes de realizar cualquier operation, se debe comprobar que la estufa está desconectada de la electricidad y fria.
- Exija el uso de recambios originales.
2 TRANSPORTE INSTALLACION
2.1 Embalaje, acarreo, expedition y transporte
La estufa se pueda transporte con su embalaje en una carretilla elevadora, introduciendo las horquillas, de longitud. adecuada, en las cavidades del palet de madera. Compruebe que los dispositivos realizados para la elevacion y el transporte soporten el peso de la estufa, indicado en la placac de identificacion y en el presente manual.
No pase la energia por sitiños donde la caía pueda representar un peligro.
Abra el embalaje, saque la estufa del palet, controle que esté completa y ubiquela en el lugar elegido.
Se recomienda apoyar la estufa en el suelo, en el lugar de instalacion, con mucho cuidado y evitando golpes. Es indispensable comprobar que el suelo pueda resistir el peso de la estufa; si no es asi, consulte a un technician especializzato. En conformidad con las normas vigentes, la eliminacion y el reciclado del embalaje son responsabilidad del usuario final.
2.2 Lugar de instalación, emplazimiento y prevencion de incendios
El lugar de instalacion deestar suficientemente ventilado para permitir la evacuacion de una eventual perdida de humos de combustion.
El equipo está realizado para configurar en ambientes domesticos con temperatura no inferior a 0 C.
Para evaporar el riesgo de incendio, es necessario proteger del calor y de la radiación del fuego lasestructuras cercanas a la estufa.
Si el suejo es de madera o de other material inflamable, apoye la estufa en paneles de acero o de cristal Templado.
Los paneles deben cubrir, ademas de la base, un espacio delante de la estufa.
Las vinas o tablas de madera situadas arriba de la estufa o atravesadas por los pasos de humos deben protegerse con arreglo a las normas de instalacion vigentes.
La distancia frontal minima para la proteccion de objectos inflamables es de 1,5m .En el dibujo seguido se indican las distancias minimas de seguridad respecto a materiales inflamables.
COLA

Alrededor de la estufa debe quedar espacio suficiente y de fácil acceso para hacer el mantenimiento periodico. La estufaiene quatre pies regulables para compensar los posibles desniveles del suejo. Para nivelarla, inclinela ligeramente y gire el pie que necesse regulacion.
La estufa se suministra con la sonda de ambiente fjada con una abrazadora a la pared posterior. Se aconseja qutar la abrazadora y ubicar la sonda donte poder hacer la mejor lecture possible de la temperatura ambiente. Para hacer las medicaciones lejos de la estufa, se aconseja instalar un termostato/cronotermostat de ambiente.

-
No instale la estufa en dormitorios, cuartos de bano ni, en general, en除外s ambientes donte ya existo除外 equipo de calefacion sin un flujo de aire independiente.
-
Si el suejo es de madera, apoye la estufa en un panel de proteccion conforme a las normas vigilentes.
-
Se aconseja tener a mano un dispositivo antiincendios adequado.
- Este prohibido instalar la estufa en ambientes con atmósfera explosiva.
2.3 Toma de aire
La conexión de aspiración o toma de aire de la estufa se incluena en la parte posterior y es deSECTION circular con diametro de 50 mm.
En el local donde se instale la estufa debe haber una aportacion de aire como minimo suficiente para la combustion. Por este motivo, el aire de combustion necessario para garantizar un funciona adeguedo del equipo se debe aspirar:
del ambiente, con la condidion de que, circa de la estufa, haya una toma de aire de pared con una superficie libre minima de 100~cm^2 , comunicada con el exterior y protegida por fuera con una rejilla;
mediate conexión directa al exterior, con un tubo de diametro interior minimo de 50 mm y longitudínima de 1,5 m provisto de terminal externo antivirusio (codó hacía abajo).
El flujo de aire también se pueda tener de un local contigo al de instalacion, siempre queicho flujo se realice libremente a工程技术 de aberturas permanentes que comuniquen con el exterior. El local no debe destinarse a garaje, almacen de materiales combustibles o本次活动os con peligro de incendio.
2.4 Salida de los humos de combustión
La saliva de humos se pueda hacer mediante conexión a un conductor de ventilación traditional o a una chimenea exterior mediante tubo aislado o de doble pared.
El tubo de salute de humos debe tener un tiro minimo de 10 Pa para garantizar la evacuation de los humos incluso durante una errupcion temporal de la energia elctrica.

- Se recomienda al instalador verificar la eficiencia y el estado de la chimenea y la conformidad con las normas locales, nacias y europeas.
- Es necessario utiliser tubos y empalmes certificados con juntas adecuadas que aseguren la estanqueidad.
- En caso de incendio, apague la estufa y llame inmediamente a los bomberos si no consigue apagarlo al primer intento.
- Limpiar como minimum una vez al ano el tubo de salute de humos de la estufa y el conducto de ventilacion/chimenea del edificio.
2.4.1 Tiños de instalaciones
A continuación se detallan las definiciones y los requisitos para realizar la calidad de humos :
CHIMENEA: conduc to vertical que recoge y expulsa a una alta adecuada del sueo los productos de combustion de un solo aparato o, en casos permittidos, de mas de uno.
Requisitos技术和 de la CHIMENEA. Debe: - ser estanca a los productos de combustión yistar con el aislamento你需要 en función de la realización;
- ser lo más vertical posible, con una desviación inferior a 45^ bajo el eje;
- estar suficientemente aislada de materiales inflamables mediante una-camera de aire o aislante;
- tener sección interior preferibile circular, constante, libre e independiente;
- en lo possible, tener una CAMERA inspeccionable para la recoleccion de materiales solidos
- y posibles condensados, defaulted de la embocadura del tubo de humos.

TUBO DE SALIDA DE HUMOS: conductor o elemento de conexión entre el equipo y la chimenea para la evacuación de los productos de combustión.
Requisitos技术和 del TUBO DE HUMOS: - no debe atravesar localesdonde no se permita instalar aparatos de combustion;
- está prohibido realizarlo con tubos metálicos flexibles o de fibrocimento;
- está prohibido usar elementos en contrapendiente;
- los tramos horizontals deben tener una pendiente minima de 3 % hacía arriba;
- la longitud del tramo horizontal debe ser lo menor possible y nunca superior a 3m
- el número de Cambios de direccion, sin el empalme en T, no debe ser superior a tres;
- para un cambio de direccion de más de 90^ , usar como máximo dos codos cuya longitud en proyección horizontal no sea superior a 2 m;
el tubo de humos deben tener sección constante y permitir la extracción del hollín.
SOMBRETE: dispositivo montado en la cima de la chimenea que sirve para descargar a la atmósfera los Productos de la combustión.
Requisitos&TecnicosSOMBRERETE: -debe tener seccionequivalentea la de la chimenea;
-
la secciónutil no debe ser inferior al doble de la seccion interior de la chimenea;
-
debe impeder la entrada de lluvia y cuerpos extraños y asegurar la evacuación de los productos de la combustión enequalquier condidión atmósferica;
- debe garantizar una adecuada dispersión de los productos de la combustión y estar situado fuera de la zona de refluojo;
- no debe estar provisto de medios mecánicos de aspiración.
-La Salah directa de los productos de la combustion debe hacer en la cubierta del inmueble; esta probidad dirigirla a espacios cerrados aunque carezcan de techo.
-Usar siempre tubo aislado, para evitar:

- si discernre la chimenea por el exterior: registrar que se enfrén los productos de la combustión y no tengamos tiro suficiente,
- si discurre la chimenea por el interior: evitar quemaduras por contacto con la chimenea, y de igual forma evitar que no tengamos tiro suficiente,
-Usar siempre tubos especialicos de salute de gases para combustibles solidos (como Inox. AISI 316 o Vitrificado en ambas caras),
-Realizar sempre salute de gases a cubierta del edificio tal y como indica la normativa vigente,
- Colocar terminales de chimenea espécíficos, pero no giratorios para evaporar que se agarroten por los composicion de los gases de combustión de这些 combustibles,
-El diametro requisite de chimenea depende en gran parte de la localidad donte se enquiryre la instalacion: por la temperatura exterior, la alteid, etc.,
Enequalier caso,siempre se debe consultar con el fabricante de la chimenea qual es el diametro necessario en function de la longitud y figura de cada composacion de chimenea.
-Siemple tener presente el tiro minimo necessario (Pa) indicado en la tabla de caracteristicas Tecnicas, estes el valor necessario que hay que cumplir para garantizar.
2.5 Control de la posicion del brasero y del deflector
Antes de encender la estufa, es importante controlar que el brasero este en la posicjion correcta y enganchado en las fijaciones. Controlar también que el deflector de humos superior este encajado en su alojamento. La posicjion incorrecta del deflector provoca fallos de functiomento y un ennegrecimiento excesivo del vidrio.

A cada encendido del equipo, controle que el brasero está bien alojado en el portabrasero.
Conecte el cable de alimentacion eletrica por una parte a la toma posterior de la estufa y por la othera a una toma de corriente mural.
La tension de la red electrica debe tener el valor que se indica en la placac de identificacion de la estufa y en el apartado de datos先进技术 de este manual.
Antes de un periodo de inactividad de la estufa, se recomienda desconectarla de la corriente electrica.

- Compruebe que la instalacion electrica sea conforme a las normas y este dotada de puesta atierra e
interruptor diferencial. - El cable de alimentacion no debe tocar nunca el tubo de salute de humos de la estufa.
Se aconseja tener a mano un dispositivo antiincendios adequado.
Si se produce un incendio, proceda del suiviente modo:
- Desconecte inmediamente la estuya de la corriente.
- Apague el fuego con un extintor apropiado.
- Llamrapidamentealosbomberos.
- No intente apagar el fuego con chorros de agua.
3 SEGURIDAD DE LA ESTUFA
3.1 Distancia minima de materiales inflamables
Para evitar incendios, la estufa se debe instalar a una distancia de seguidad con respecto a qualquier material inflamable, tal como se indica en la tabla的技术ica del manual y en la placde datos del equipo.
Preste atencion al tipo de sueo: para materiales delicados e inflamables, se aconseja apoyar la estufa en placas de acero o vidrio Templado (vea el capitulo 2 - Transporte e instalacion). En caso de objetos muy delicados, como muebles, cortinas o sofas, augmentar considerablemente la distancia a la estufa.
3.2 Dispositivo de seguridad en la calidad de humos
Durante el funciona normal, laamera de combustion está en depresión para impeder que las eventuales perdidas de humo salgan al ambiente. Si no se alcanza un cierto valor de vacio, o si la calidad de humos está atascada, el vacuostato detecta la falta de depresión en laamera de combustión o el debímetro detecta la ausencia de flujo de aire comburette. En tal caso, el control electrónico detiene el motor de rotación del sinfin y advierte de la anomía con un mensaje en el panel de mandos: "AL 8 FALTA DEPRES" o "AL 9 TIRO INSUF".
3.3 Seguidad contra sobrepresiones en la CAMERA de combustion
En caso de sobrepresion de los humos en la casa y en los conductos de evacuation, dichos humos se descargan a工程技术 de seguidas situadas sobre el intercambiador de calor. Durante elFuncionamento normal, estas valvulas estan cerradas por su propio peso y por la depresion de la casa, y garantizaran la estanqueidad ante una eventual calidad de humos.

Controle periodicamente el cierre, el estado general y el funcionaamento de las valvulas.
3.4 Sobrecalentimiento - termostato de seguridad del deposito de pellets

En el conductor de pellets hay una sonda de temperatura conectada a un termostato de seguridad que, en caso de calentimiento excessivo (>85^) , desactiva automatically la alimentacion del pellet. En este caso, el extractor de humos o los ventiladores siguen functioning para enfiar rapidamente la estufa. La anomalia se indica en el panel de mandos con el mensaje "AL 7 SEGUR TERMICA". Si actua el termostato:
Deje enfiar la estufa al menos 45 Minutes.
Rearme el termostato pulsando el botón situado detrás de la estufa bajo al interruptor, previa extracción de la tapa de seguridad (figura alazo).
Encienda la estufa normalmente.
3.5 Seguidad contra el returno de llama al conductor de alimentacion de pellets
El returno de la llama se impide mediante:
Depresión en la CAMERA de combustión (apartado 3.2.)
Forma en sifón del conductor de alimentación de pellets
Termostatode seguridadel deposto (apartado 3.4)
3.6 Dispositivo eletrico de proteccion contra sobrecorrientes
El equipo está protegado contra sobrecorrientes por uno o más fusibles de 2 A instalados en la alimentación del interruptor general de la estufa, situado en la parte posterior.
3.7 Seguidad contra la interrupción de la corriente electrica
Si el corte de energia es breve, la estufa se vuye a encender automatamente.
Dada laITTLEcantidad delleles que se queman en el braser, la interrupcion temporal de la corriente electrica no reduce la seguridad de la estufa y la temperatura del deposito no alcanza valores elevados (< 85^) .Durante la interrupcion de la corriente能把 producirse un breve escape de homo al ambiente, que no supone ningun peligro.

Está prohibido alterar los dispositivos de seguridad.
3.8 Fallo del ventilador de extracción de humos
Si, por该如何 motivo, el ventilador de extracion de humos se detiene, el control electrono bloquea instantaneeamente la entrada de pellets y visualiza el mensaje "AL 4 FALLO - ASPIR".
4 USO DE LA ESTUFA
4.1 Introduccion
La estufa de pellets auna la calidz del fuego de lena a la comodidad del control automatico de la temperatura, con posibidad de programar el encendido y apagado para toda la semana.
Para un uso seguro, se aconseja tener enIELDa lassiguientesindicaciones:
- En la primera puesta en marcha se pueda sentir mal odor. Airee bien el local, especiallye en el primer encendido.
- Cargue el deposito exclusivamente con pellets. Durante laarga, evite que el saco entree en contacto con las superficies calientes de la estufa.
No introduzca en el deposito ningun combustible que no sea el pellet de madera indicado en este manual. - No utilise el equipo para incinerar residuos.
- La estufa debe functiorar siempre con la puerta de la camarara cerrada.
- Controle periodicamente las juntas de la puerta de la camera para prevenir filtraciones de aire.
- Para garantizar un rendimientoTERMICO adecuado y un functionamento correcto, limpie el brasero cada vez que carquepellets.
- En el primer encendido, es importante no sobrecalentar la estufa sinoacular la temperatura gradualmente.
- Durante el encendido, el funciona y el apagado, la estufa可以选择 crujar a causa de las dilataciones y contracciónesTERMicas.
4.2 Descripción del panel de mandos
La estufa se controla mediante un panel de mandos dotado de quatre teclas y una pantalla LCD. El panel permite encender y apagar la estufa, regularla durante el funciona y ajustar los programas de gestion y mantenimiento.
A continuación se describes el panel de mandos y las principales principales de las teclas.

4.3 Encendido
Antes de encender la estufa:
- Asegürese de haber leído y comprendido el manual.
- El depuesto debe estar@cargado depellets.
- Laámara de combustión debe estar limpia.
- El brasero debe estar complemente vacio, sin residuos de combustion y correctamente ubicado en el portabrasero.
- Compruebe el cierre hermetico de la puerta de la camarva y del cenicero.

- Al primer encendido, quite de la camar de combustion y del vidrio todos los elementos que se pueda quemar (instrucciones, etiqueta).
- Antes de encender el aparato tras una inactividad prolongada, haga una limpieza completa de la camara de combustión y quite los restos de pellets que hayanockeye en el deposito, porque este combustible, si se humedece, no arde correctamente.
COLA
Para encender la estufa, presione la tecla P4 del panel durante algunos segundos. En la pantalla aparece la indicacion START.Esta fase es automatica y está totalmente gestionada por el control electrico, sin posibiliad de modifier los parametros.
La estufa ejecta las diversas fases de puesta en marcha de acuerdo con los parámetros, hastaninger a la condidon de trabajo. Al cabo de un tiempo, si la temperatura de los humos no ha alcanzado el valor minimo admitido, la estufa activa el estado de alarma.

- Este prohibido usar liquidos inflamables para el encendido.
- Si el encendido falla repetidamente, llame al Centro de asistencia.
4.4 Trabajo
Si la puesta en marcha termina correctamente, la estufa para algo TRABAJO, que es el de configuraciono normal. Para regular la potencia de calefacion, pulse primero la tecla P2 y afterwards ajuste el valor entre 1 y 5 con P1 o P2.
La estufa regula automatically la ventilacion de aire caliente en funcion de la potencia seleccionada.
Además de la potencia, se pueda ajustar la temperatura ambiente. Pulse la tecla P1 y ajuste la consigna entre 7^ y 40^ con las teclas P1 y P2.

- Se recomienda controlar el nivel de pellets en el deposito para evaporar que la llama se apague por falta de combustible.
- Antes de cigar pellets, cerciose de que el aparato este apagado.
- La tapa del deposito de pellets deben estar siempre cerrada, abralla solamente para hacer la carga.
- Guarde los sacos de pellets como minimo a 1,5 m de la estuña.
Cuando se alcanza la temperatura de consigna, se enciende el symbolo correspondiente en la pantalla.
Si se activa el modo STAND-BY, la estufa se apaga tras un retardo de algunos Minutes. El reencendido se produce cuando la temperatura ambiente se hace inferior al valor programado en un numero determinado de grados (de fabrica 2^ ).
Si el modo STAND-BY no está activado, o si la temperatura de los humos llega al valor máximo programado, en la pantalla aparece el mensaje MODULA y la estufa activa el procedimiento de modulación de la llama sin intervención del usuario.
Si la temperatura sigue augmentando hasta superar el limitepecificado, aparece la alarma ALTA TMP HUMOS y la estufa activa el procedimiento de apagado.
Durante el funciona normal en modo Trabajo, a intervalos preestablecidos se activa el modo LIMPIEZA BRASERO durante un tiempo especificado de algunos segundos.
4.5 Apagado
Para apagar la estufa, presione la tecla P4 durante algunos segundos. El sinfn se para de inmediato, el extractor de humos funciona a alta velocidad y en la pantalla aparece la indicacion "LIMPIEZA FINAL". Los motores de aspiracion de humos y ventilacion de aire permancen encendidos hasta que la estufa se enfría lo suficiente.
Al final de la operación, en pantalla aparece la indicación "APAGADO".
Durante la fase de apagado, no se可以选择 fazer a encender la estufa hasta que la temperatura de los humos permanece por debajo de un valor prefijado durante el tiempo programado. Si se presiona la tecla de encendido, en la pantalla aparece laindracion "ESPERA REFRIGER".
4.6 Menu
Presionando la tecla P3 se accede al menu. El menu está dividido en once submenús que permiten acceder a los ajustes del control electrónico.
Use las teclas P1 y P2 para recorrer los manos, P3 para acceder a ellos y P4 para salir.
4.6.1 Menu 01 - Ajuste ventiladores
Si desea ajustar manualmente el flujo de aire caliente, seleccione la velocidad entre los values 1 y 5. Si, en cambio, prefiere que la velocidad de los ventiladores sea automatica en funcion de la potencia programada, seleccione el valor A.
4.6.2 Menu 02 - Ajuste reloj
Antes de utiliser la estufa, se deben indicar la Fecha y hora actuales para que sirvan de referencia para el possible funciona con crono.
El control electrónico funciona con una batería de litio mod. CR2032 de 3 V que asegura al reloj interno una autonomía propria. Si, con la estufa desconectada de la electricidad, el reloj no mantiene el horario o al reencendido aparece una série de ceros, llama a un centro de assistencia autorizado para Cambiar la batería.
Pulse P3 para acceder al reloj y ajuste la hora con P1 y P2. Pulse mas vezes P3 paraaabstar los Minutes, el dia, el mes y el ano.
4.6.3 Menu 03 - Habilita crono
Permite habilitar todas las functions del cronotermostat. Para Habilitar el crono, acceda al primer submenu HABILITA CRONO y seleccione ON con las teclas P1 o P2. En la pantalla se enciende el symbolo correspondiente y la programacion qued activada. Los mandos manuales con el panel o el mando a distancia tienen prioridad respecto a la programacion.
En elsegundo submenu PROGRAM DIA se puebehabilitar o deshabilitar el crono diario con las teclas P1 y P2. Pulsando bajo la tecla P3 es possible programar hasta dos franjas de functiomento delimitadas por los horarios indicados.
En el merger submenu PROGRAM SEMANA es possible habilar, deshabilitar y ajustar las functions del crono seminal. El procedimiento es el mesmo que se describio en el apartado anterior. Se pueda programar hasta在哪i franjas de functiOnamento delimitadas por los horarios y los días indicados.

Realice la programacion con cuidado, evitando superponer las horas de activacion y desactivacion para el本身就是 en distinctos programas.
En el cuarto submenu PROGRAM FIN SEMANA es possible Habilitar, deshabilitar y ajustar las functions del crono en el fin demana. El procedimiento es el mesmo que se describio en el apartado anterior. Se pueda programar hasta dos franjas de funciona delimitadas por los horarios indicados.

Para evitar encendidos y apagados indeseados, se debe activar un solo programa por vez.
En el quinto submenu se pueda salir del menu crono y volver al menu principal.
4.6.4 Menu 04 - Elegir idioma
Estaopyon permite seleccionar el idioma de la pantalla entre los que estan disponibles.
4.6.5 Menu 05 - Modo stand-by
Si el stand-by se ajusta en ON, se enciende el symbolo correspondiente en la pantalla y la estufa se apaga automatistically cuando la temperatura ambiente permanece en el valor de consigna durante un tiempo prefijado.
El reencendido es automatico cuando la temperatura ambiente se hace inferior a la consigna en un numero determinado de grados (de fabrica 2^ ).
Si se selección OFF, no se activa el modo stand-by sino el de modulación. En tal caso, cuando la temperatura supera el valor de consigna, la estufa funciona a la potencia minima.
4.6.6 Menu 06 - Avisador acústico
Esteajuste permite activor o desactivar la senalizacion acustica de las alarmas de la estufa.
4.6.7 Menu 07 - Carga inicial
Permite hacer una precarga de pellets durante un tiempo definido.Esta función se pueda activar solamente con la estufa apagada y fría, y se utilizes si elgin de energia está vacio porque se han acabado los pellets. Se activa con la tecla P1 y se interrupme con la tecla P4.
4.6.8 Menu 08 - Estado estufa
Este menu está reservado a los先进技术 de los centres de asistencia de FERROLI ESPANA S.L.U..
4.6.9 Menu 09 - Calibrado的技术ico
Este menu está reservado a los先进技术 de los centres de asistencia de FERROLI ESPANA S.L.U.

La modificacion de los parametros技术和 en el menu 09 debe ser efectuada por personal autorizzato. Las Modifications por parte de otheras personas peuvent causar graves daños que eximen de toda responsabilidad a FERROLI ESPANA S.L.U..
4.6.10 Menu 10 - Calibrado instalador
Este menu está reservado a los先进技术 de los centres de asistencia de FERROLI ESPANA S.L.U..
4.6.11 Menu 11 - Modo ECO
Si el modo ECO se ajusta en ON, la estufa funciona en modulacion, eskaar, con potencia y ventilacion minimas. En la pantalla aparecen la indicacion MODO ECO y el symbolo correspondiente.
4.7 Mando a distancia
El mando a distancia es un dispositivo que transmite mediante un diodo de infrarrojos. Por este motivo, es必需ario apuntarlo hacía el receptor incorporable en el panel de mandos.
El mando a distancia Tiene las siguientesustralianes:

4.7.1 Sustitución de la batería
El mando a distancia se alimenta con una bateria tipo CR2025 de 3 V situada en la parte inferior del dispositivo.
Para colocarla, proceda del modo suiviente:
- Accione la palanca indica.
- Extraiga por complete la bandeja portabateria y sustituya la bateria (modelo CR2025 de 3 V) Respectando la polaridad.
- Coloque la bandeja.
- Compruebe el funciona.

- No acerque el mando a fuentes de calor directo y evite que se moje.
- Deposites bas baterias usadas en un conteditor espécífico.

4.8 Termostato exterior
El aparato se suministra de series con una sonda digital que mide la energia ambiente y ajuda la potencia en func tion de la consigna programada.
Si desea aplicar un termostato adicular, Iame a un technician autorizo para realizar las seguides operaciones:
- Apague el aparato con el interruptor general (si se incluye) y desconecte el cable de la corriente electrica.
- Quite la cubierta para acceder a la tarjeta madre.
- Guiandose por el esquema eletrico, conecte los dos cables del termostato a los respectivos bornes TERM de la tarjeta (utilice un termostato del tipo "normalmente abierto").
- Restablezca el estado normal de la estufa y compruebe el funcionaamento.
Después, efectue la suiviente configuración:
- Termostato externo: ajuste una consigna (SET) de 7^ .
- Cronotermostaterno: ajuste una consigna (SET) de 7^ , desactive la functiOn Crono en el menu 03 y ponga la functiOn STAND-BY en ON. Cuando se alcance la temperatura programada, la estufa no pasar a modulacion sino que se apagar.
En este caso, se aconseja utiliser la programacion hora de la estufa y regular la temperatura solamente con el cronotermostat exterior.
Solo con esta configuración conjunta es possible optar entreJKLM EN ON o en OFF, obtiendo Respectivamente la modulación o el apagado cuando se alcanza la temperatura de consigna, ademas del apagado y encendido de acuerdo con la programación horaria realizada.
Cuando el termostato exterior ordena el funciona de la estufa, en la pantalla se enciende el symbolo correspondiente.
4.9 Período de inactividad (fin de temporada)
Si no utilizesa la estufa por un tiempo prolongado, o al final de la temporada, proceda del suiviente modo:
- Descarque todo el pellet del deposito.
- Desconecte la alimentacion electrica y quite el cable del interruptor.
- Limpie esmeradamente y, si es besoinario, haga sustituir las partes dañadas por un先进技术 autorizzato.
Cubra la estufa para protegerla del polvo. - Guardela en un lugar seco, seguro y protegido de los agentes atmóséricos.
5 LIMPIEZA DE LA ESTUFA
La limpieza de la estufa es importante para asegurar el funciona correcto y evitar el ennegrecimiento del vidrio, la combustion incorrecta, el deposito de cenzas e inquemados en el brasero y la disminución de la eficacia semiclassical.
La estufa debe functiorar con la puerta de la camarara sempre cerrada.
Las juntas de la puerta de la camera deben controlarse periodically para evaporar filtraciones de aire. Esto es必需ario porque la camera de combustion y el conductor de descarga de pellets funciona en depresión, y la calidad de humos está ligeramente presurizada.
La limpieza ordinaria debe ser realizada por el usuario como se indica en el manual. El mantenimiento extraordinario debe ser efectuado, al menos una vez al año, por un Centro de asistencia autorizzato.

- Limpie todas las partes con la estuña Completely fría y desconectada de la red electrica.
- Deseche los residuos de la limpieza según las normas locales vigentes.
- Este prohibido poner la estuña en marcha sin los revestimientos exteriores.
- Evite la formación de humano e inquemados durante el encendido y el funcionaimiento.
A continuación se detallan las operaciones de control y mantenimiento necessarias para asegurar el funciona correcto de la estufa.
| Partes / Frecuencia Tipo de limpieza | 1 día limpieza ordinaria | 2-3 días limpieza ordinaria | 1 mes limpieza ordinaria | 2-3 meses limpieza ordinaria | 1 año limpieza extraordinaria: efECTuada por el Centro de asistencia技术水平ica |
| Brasero | ■ | ||||
| Cenicero - cajón | ■ | ||||
| Vidrio | ■ | ||||
| Intercambiador de humos - deflector | ■ | ■ | |||
| Colector - extractor de humos | ■ | ■ | |||
| Junta de la puerta - vidrio | ■ | ||||
| Chimenea - tubo de humos | ■ |
5.1 Limpieza del brasero
Extraiga el brasero y quite los residuos de ceniza depositados en la-camera de combustión y en el portabrasero. Para thise possible utilizear un aspirador. This operation se debe realizar a diario (sobre todo si hay mucho pellet
inquemado) para garantizar una combustion correcta, bajo que el aire necessario para la combustion entre por los orificios del brasero.

Brasero sucio

Brasero limpio

Portabrasero limpio

El brasero se debe apoyar en el portabrasero occupando todo el perimetro y sindeferaberturas pordonde poderparalearire.
5.2 Limpieza del cenicero
El cenicero está bajo del brasero-portabrasero. Para limparlo, abra la puerta de la camera y aspire las cenizas y los residuos de la combustion con un aparato adecuado.
Unas econlida la limpieza, ciere la puerta. El cenicero se puee limpiar cada 2 o 3 dias segun el uso de la estufa.
5.3 Limpieza del vidrio y de las ranuras de circulación de aire
El vidrio se pueda limpar con un paño humedo y un detergente especialico que no sea abrasivo.
Entre el vidrio, el sujetavidrios y la puerta de la-camera, en las partes inferior y superior, hayunas ranuras que permiten la circulación del aire y la limpieza interior del vidrio. Es importante mantener limpias estas ranuras, eliminando las acumulaciones de ceniza y polvo. Limpie periodically todo el contorno interior del vidrio.
5.4 Limpieza del extractor de humos y de la CAMERA de combustión
Al menos una vez al ano se debe limpar la CAMERA de combustion, eliminando todos los residuos de combustion de los deflectores internos y del recorro de los humos. Para elo esnecessary quitar la tapa y el frontal superior de la estufa. Saque el intercambiador de hierro fundido, previa extracion de los tornillos de fijacion, y limpie los deflectores y laamera.
Tambien es importante limpiar el extractor de humos que esta situado bajo la camar a de la que se accede mediante la elimination de la puerta de inspection en la parte frontal inferior de la camar.
Cada 3-4这点, limpie las paredes internas (aislantes-refractarias) de la camera de combustion con un cepillo y sustituivas cuando corresponda, va que se consideran material de desgaste.
Cada 1800 horas de funciona, la estufa activa el mensaje "LLAMAR SERVICE" para indicar que se debe contactar con el centro de asistencia autorizada para realizar elostenimiento extraordinario, que incluye una limpieza completa y la anulacion de dicho mensaje.

Los golpes o forzamenteitos poder darar el extractor y causar un funciona ruidoso; encargue esta operacion a personalriallicado.
5.5 Limpieza del debímetro
Dentro del tubo de aspiracion hay un debimetro (medidor del flujo de aire comburente) que se debe limpiar cada 3-4这点 con un medio adequado (soplo de aire comprimido o escobilla).
5.6 Limpieza de las ceramicas ( en los modelos con revestimiento de este material )
Las ceramicas son de fabricacion artesanal y por ello poder tener微量元素 superficiales, como micropicaduras o falta de homogeneidad cromática. Limpie las ceramicas con un paño suave y seco, el uso de deterentes puedaponer de manifiesto las imperfecciones.
5.7 Limpieza del tubo de humos - chimenea
El tubo de humos se debe limpiar como minimum una vez al ano y cuando sea necessities en func tion del uso de la estufa y del tipo de instalacion.
La limpieza consiste en la aspiracion y extracion de residuos de todos los tramos verticales, horizontales y curvos.
desde la estufa hasta la chimenea.
Tambien se aconseia limpiar una vez al ano la chimenea para garantizar la evacuation correcta de los humos.

Pararialquier mantenimiento y limpieza de fin de temporada,FERROLI ESPANA S.L.U. aconseja llamar a un Centro de asistencia autorizo, cui personal también controlar el desgaste de los componentes internos de la estufa.
6 MANTENIMIENTO
6.1 Introduccion
Las operaciones en los componentes internos de la estufa deben ser realizadas por personal del centro de asistencia autorizada.

Antes de cada operación, compruebe que la clavija electrica está desconectada y la estufa está Completely fría.
6.2 Desmontaje del revestimiento MEDEA

Leyenda:
1 - Mayólica superior con el apoyo
2 - Panel frontal inferior en acero pintado
3 - Mayólica inferior con soporte
4 - Mayólica lateral con soporte
5 - Paneles laterales
6 - Paneltrasero
7 - Proteccion del motor
8 - Parte superior frontal de acero pintado
9 - Rejilla de acero pintado superior
6.1 Desmontaje del revestimiento MEDEA LUX

Leyenda:
1 - Mayólica superior con el apoyo
2 - Panel frontal inferior en acero pintado
3 - Mayólica inferior con soporte
4 - Mayólica lateral con soporte
5 - Paneles laterales
6 - Paneltrasero
7 - Proteccion del motor
8 - Rejilla de acero pintado superior
6.1 Componentes internos de la estufa




Leyenda:
1-Camara de combustion
2-Soportes der.-izq.
3- Intercambiador de hierro fundido
4-Paredes laterales de vermiculita
5- Deflector superior de vermiculita
6-Pared posterior de vermiculita
Despiece de la CAMERA de combustion y de las partes connectadas de la estufa MEDEA - MEDEA LUX
Despieces de:
1- Grupo brasero
2- Grupo extractor de humos
3- Grupo sinfin
Leyenda:
1-Brasero
2- Portabrasero
3- Grupo tubo de aspiración aire comburette
4- Resistencia electrica
5- Junta posterior portabrasero
6- Junta frontal grupo aspiración
Leyenda:
1-Helice del extractor de humos
2-Junta termaica
3-Motor del extractor de humos
4-Tubo de salute de humos
Leyenda:
1-Junta deposito-conduco
2-Brida del motorreductor
3-Motorreductor
4-Sinfin
5- Junta para rampa
6-Rampa de caida de pellets
7- Junta cáma-conducto
8- Conducto de pellets
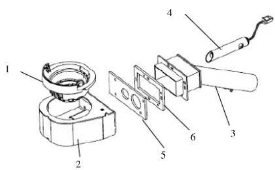
6.1 Componentes electricos

Leyenda:
1-Tarjeta electrònica
2 -Vacuostato de control y seguidad
3-Termostatode seguridad
4 -Interruptor ON/OFF con fusibles
5-Conexion de puerto serial
6 -Sonda de temperatura ambiente
7-Sonda de temperatura de los humos
8- Debímetro
9-Ventilador tangencialckecho
10-Ventilador tangencial izquierdo
11-Ventilador tangencial posterior
12-Panel de mando mod. N032
7 LOCALIZACION DE AVERIAS
7.1 Gestión de las alarmas
La presencia de una alarma se indica con una postal acústica (si está habitada) y un mensaje en el panel de control.
En caso de alarma, se activa automatistically el procedimiento de apagado. Anule la indicacion con la tecla P4 y espere a que la estufa este en estado de OFF. Solucciona la Causea de la alarma y encienda la estufa normalmente como se describe en este manual.
A continuación se describes las alarmas que pueda aparecer en el panel de control, con sus causas y SOLUTIONES.
| ALARMAS - MENSAJES | |||
| Indicación | Anomalía | Causas posibles | Soluciones |
| AL 1 CORTE DE LUZ | Se produce cuando falta alimentación electrónica durante el trabajo. | Se ha cortado la corriente en el local de instalación de la estuña. | - Ponga la estuya en OFF con la tecla P4 y repita el encendido. - Las operaciones de restablecimiento conscientas de la indicada deben ser efectuadas por un centro de asistencia autorizada. |
| AL 2 SONDA HUMOS | Indica un fallo de la sonda de temperatura de los humos. | - La sonda está averiada. - La sonda está desconectada de la tarjeta. | Las operaciones de restablecimiento deben ser efectuadas por un centro de asistencia autorizada. |
| AL 3 ALTA TMP HUMOS | La sonda de humos detecta una temperatura elevada de los humos. | - Sobrecalentimiento de la estuya por uso demasiado prolongado. - Ventilador tangencial averiado o desconnectado. - Carga excessiva de pellets | - Deje enfiar la estuya y repita el encendido. - Las operaciones de restablecimiento conscientas de la indicada deben ser efectuadas por un centro de asistencia autorizada. |
| AL 4 FALLO - ASPIR | Indica un fallo del ventilador de aspiración de los humos. | - El ventilador de los humos está bloqueado. - El sensor de control de velocidad está averiado. - No llega alimentación electrónica al ventilador de humos. | Las operaciones de restablecimiento deben ser effectuadas por un centro de asistencia autorizada. |
| AL 5 FALLO ENCEND | El pellet no arde con el encendido. | - El depósito de pellets está vacío. - La resistencia electrónica está averiada, suecia o mal ubicada. - Calibración de la cargade pellets incorrecta. | - Compruebe la presencia de pellets en el depósito. - Repita el procedimiento de encendido. - Las operaciones de restablecimiento conscientas de la indicada deben ser effectuadas por un centro de asistencia autorizada. |
| AL 6 FALTAN PELETS | Se apaga la llama durante el trabajo. | - El depósito de pellets se ha vaciado. - El motorreductor de cargade pellets está averiado o desconnectado. | - Compruebe la presencia de pellets en el depósito. - Repita el procedimiento de encendido. - Las operaciones de restablecimiento conscientas de la indicada deben ser effectuadas por un centro de asistencia autorizada. |
| AL 7 SEGR TERMICA | Señala que ha actuado el termostato de seguridad del conductor del sinfin. | - Sobrecalentimiento de la estuya por uso demasiado prolongado. - Brasero atascado por excesso de ceniza. | Desbloquee el termostato de sécurité con el botón de rearme y repita el encendido. |
| Indicación | Anomalía | Causas posibles | Solutución |
| AL 8 FALTA DEPRES | En fase de trabajo, la estufa detecta una presión inferior al limite de calibración del vacuostato. | - La cárma de combustión está sucia.- El conducto de humos está atascado.- La puerta de la camera está abierta.- Las valvulas antiexplosion está abiertas/atascadas.- El vacuostato está averiado. | - Controle la limpieza del tubo de humos y de la cárma de combustión, y el ciere hermético de la puerta y de la valvula antiexplosion. Después, repita el procedimiento de encendido.- Las operaciones de restablecimiento distinctas de la indicada deben ser efectuadas por un centro de asistencia autorizada. |
| AL 9 TIRO INSUF | El flujo de aire comburette está por debajo del limite especificado. | - La cárma de combustión está sucia.- El conducto de humos está atascado.- La puerta de la camera está abierta.- Las valvulas antiexplosion está abiertas/atascadas.- El debimetro está sucio o averiado. | - Controle la limpieza del tubo de humos, de la cárma de combustión y del debímetro, y el ciere hermético de la puerta y de las valvulas antiexplosion. Después, repita el procedimiento de encendido.- Las operaciones de restablecimiento distinctas de la indicada deben ser effectuadas por un centro de asistencia autorizada. |
| AL b ERROR TRIACSINF | Se presenta cuando el motorreductor funciona sin parar. | - Parámetros mal ajustados- Tarjeta madre averiada | Las operaciones de restablecimiento deben ser effectuadas por un centro de asistencia autorizada. |
| ESPERA REFRIGER | Se presente cuando la estufa se enciende inmediamente despues de haberla apagado. | Estufa aun demasiado caliente para iniciar la fase de encendido. | Deje enfiar la estufa y repita el encendido. |
| FALLO DEBIMET | Señala que el debímetro está desconnectado. El control no detecta la candidad suficiente de aire comburette pero no apaga la estufa. | El cable de connexion del debímetro se ha desconnectado. | La estufa continually的功能ando normalmente y la seguridad está garantizada por los demás dispositivos. No obstante, se"aconseja llamar cuando antes al centro de asistencia. |
| LLAMAR SERVICE | Señala que la estufa hasuperado las horas de configuracionmente desde la ultima intervencion de mantenimiento. | La estufa necesita lemienimiento extraordinario. | La estufa continually的功能ando normalmente. No obstante, se"aconseja llamar cuando antes al centro de asistencia. |
8 ANEXOS
INFORMATION SOBRE MARCADO CE
Las instruetiones siguientes estan destinadas exclusivamente a personal technician autorizo con competencias especillas en aparatos de calefactionfabricados por FERROLI ESPANA S.L.U

Una modificacion incorrecta de los parametros可以使cazar daños graves al aparato, a las personas y al medioambiente. En dichas conditiones, FERROLI ESPANA S.L.U no asume ninguna responsabilidad.
Para partir el menu TARATURE INSTALLATORE (calibrado instalador), pulse la tecla P3 - MENU, busque TARATURE INSTALLATORE con las teclas de desplazimiento y pulse P3 - MENU. Luego, utilise las teclas de desplazimiento para visualizar la clave de acceso 10 y vuelva a pulsar la tecla P3 - MENU.
Es possible ver losDistinctos parámetros con las teclas de desplazimiento, acceder a ellos con la tecla P3 - MENU, modifierlos con las teclas de desplazimiento y salir con la tecla ESC.
A continuación se describes los parámetros de regulación.
| Código parámetro | Descripción |
| 10-01 | Permite aumento o diminuir el tiempo de inactividad del sin(fin para todas las potencias. |
| 10-02 | Permite aumento o diminuir la velocidad del extractor de humos para todas las potencias en un 5% por cadaunidad. |
| 10-03 Habilitación del bloqueo del teclado. | |
| 10-04 | Delta para encendido y apagado respecto a la consigna de la sonda de regulación (ver parámetro 10-07). |
| 10-05 | Retardo del apagado de la estufa. Vázido solo en caso de modo espera en ON. |
| 10-06 Permitte habilitar la autocalibración. | |
| 10-07 | Permitte elegir con qué sonda efectuar la regulación de la estufa. - SONDA LOCAL: instalada en la estufa y connectada a la tarjeta madre. - SONDA REMOTA: sonda instalada en la consola remota. |

COLA s.r.l. - Viale del Lavoro 7/9 - 37040 Arcole (VR) Italy - Tel. 045.7635780 - 045.6144043
Cod. Fisc. - PIVA e Iscr. Reg. Impr. 02990180230 - Capitale Sociale Euro 52,000,00 i.v. R.E.A. VR-301021 - Socio Unico
Fax Amministrazione 045.6100317 - Fax Commerciale 045.7639032 - Fax Assistenza 045.7639030 - Fax Logistica 045.6144048
email: info@anselmocola.com - on line: www.colastufe.com
ManualFácil