A3320FT - Four ETNA - Notice d'utilisation et mode d'emploi gratuit
Retrouvez gratuitement la notice de l'appareil A3320FT ETNA au format PDF.
| Caractéristiques | Détails |
|---|---|
| Type de four | Four encastrable |
| Capacité | 65 litres |
| Puissance | 2400 W |
| Modes de cuisson | Chaleur tournante, grill, cuisson traditionnelle |
| Température maximale | 250 °C |
| Énergie | Classe énergétique A |
| Dimensions (L x P x H) | 59.5 x 56.7 x 59.5 cm |
| Poids | 30 kg |
| Système de nettoyage | Nettoyage par catalyse |
| Sécurité | Verrouillage de la porte, isolation thermique |
| Accessoires inclus | Grille, plat à rôtir |
| Garantie | 2 ans |
FOIRE AUX QUESTIONS - A3320FT ETNA
Téléchargez la notice de votre Four au format PDF gratuitement ! Retrouvez votre notice A3320FT - ETNA et reprennez votre appareil électronique en main. Sur cette page sont publiés tous les documents nécessaires à l'utilisation de votre appareil A3320FT de la marque ETNA.
MODE D'EMPLOI A3320FT ETNA
Lire attentivement les instructions contenues dans cette brochure; elles fournissent importantes indications sur la sécurité d'installation, d'emploi et d'entretien, ainsi que quelques conseils pour la meilleure utilisation possible du four. Conserver cette brochure avec soin pour toute consultation ultérieure. Àpès avoir enlevé l'emballage, contrôle l'intégrité de l'appareil.
Les éléments de l'emballage (feuilles en plastique, polystyrene expansé, etc.) peuvent constituer des sources de danger et ne doivent donc pas été laissés à la portée des enfants.
IMPORTANT: ne pas utiliser la poignée de la porte du four pour effectuer des opérations de mouvement, y compris l'opération nécessaire pour enlever l'appareil de l'emballage.
ATTENTION
De par sa nature, le four se rechauffe, en particulier au niveau de la porte en verre. Il est donc nécessaire d'empêcher que les enfants poussent s'en approcher quand il fonctionne, en particulier quand on utilise le grill.
AVENTISSEMENT POUR L'ENVIRONNEMENT
Emballage à éliminer

Ne pas jeter l'emballage de votre apparéil aux ordures, mais sélectionner les différents matériaux (par ex. tôle, carton, polystyrene) selon les prescriptions locales pour l'élimination des déchets.
La premiere fois que I'on allume le four, il peut se produire une fumee acre provoquee par le premier rechauffement du collant des panneaux d'isolation enveloppant le four. Il ne s'agit que d'un phenomene absolument normal et, au cas ou cela se produirait, attendre que la fumee cette avant d'enfourner les alimentes. Ne pas cuire les alimentes sur la base du four.
IMPORTANT
Cet appeareil ne doit servir que pour I'emploi pour lequel il a ete expressement projete, pour la cuisson des alimentes.
Tout autre emploi (par exemple chauffage ambient) doit etre considere comme imprope et donc dangereux.
Le constructeur ne peut s'assumer aucune responsabilité en cas de dommages dérivants d'emploi impropres, incorrents et peu raisonnables.
L'emploi de tout apparéil électriche exige que soient observées quelques règles fondamentales, en particulier:
- toute opération d'entretien ou de nettoyage doit être effectue avec l'appareil débranché du réseau électrique.
- ne pas tirer le fil d'alimentation pour débrancher la prise de courant;
- ne pas toucher l'appareil avec les pieds ou les mains humides ou mouillés;
- ne pas utiliser l'appareil pieds nus;
- ne pas permettre aux enfants ou aux handicapés d'utiliser l'appareil sans sourveillance;
- en cas d'utilisation néligente en proximé des charrières de la porte de four, il existe le danger de se blesser les mains;
- en cas de panne et/ou de mauvais fonctionnement de l'appareil, I'eteindre et ne pas le démonter.
Pour toute réparation éventuelle, s'adresser à un centre d'assistance technique autorisé et exiger l'utilisation de pieces de rechange originales.
Le non-respect de ce qui precede peut comprometer la sécurité de l'appareil.
CHARACTERISTIQUES
Les fours sont prevus pour fonctionner avec du courant alternatif monophase de 230V 50Hz. Avant toute installation de l'appareil, on conseil toutes de contrcler tous ces données sur la plaque signaletique appliquee dans la partie exterieure arriere.

Ct 89/109.
INSTALLATION
L'installation doit etre effectuee suivant les instructions par du personnel professionnellement qualifie.
Une installation incorre cate peut provoquer des dommages aux personnes, animaux ou choses, vis-à-vis desquels le constructeur ne peut asumer aucune responsabilité.
INSERTION DE L'APPAREIL
Enfiler l'appareil dans le logement du meuble (suspendu ou en colonne). L'ancrage se fait par 4 vis a travers les trous de I'encadrement, visibles en ouvrant la porte.


Pour permettre une meilleure aeration du meuble, les fours doivent etre encastrés conformement aux mesures et distances indiquees dans la figure 1-2 page 2.
Pour garantir une bonne aération, éliminer la paroi arrêté, en plus le plan d'appui doit avoir une ouverture arriere d'au moins 70 mm.
N.B.: pour les jours à combiner à des plaques de cuisson, il est indispensable de respecter les instructions contenues dans la brochure jointe à l'appareil à combiner.
IMPORTANT
Pour garantir le bon fonctionnement de l'appareil à encastrer, le meuble doit avoir les caractéristiques appropriées. Les panneaux du meuble contigue au four doivent être en matière résistant à la chaleur. En particulier dans le cas de meubes en bois plaquè, les colles doivent pouvoir résister à une température de 120^ ; les matières plastiques ou collantes ne résistant pas à cette température provoquent des déformations ou des décollages. Conformément aux normes de sécurité, une fois l'appareil encastré, aucune contact ne doit être possible avec les parties électriques. Toutes les parties qui assurent la protection doivent être fixées de façon à ne pas pouvoir être enlevées sans outil.


Fig. 5
BRANCHEMENT A L'ALIMENTATION
L'APPAREIL DOIT ETRE RACCORDE SELON LES NORMES ACTUELLEMENT EN VIGUEUR ET SEULEMENT PAR UN INSTALLATEUR ELECTRIQUE AUTORISER.
Vérifier si le début électrique de l'installation et des prises de courant est ajusté à la puissance maximum de l'appareil indiquée sur la plaquette.
Brancher la fiche dans une prise de courant équipée d'un troisième contact correspondant à la prise de terre qui doit être connectée d'une façon efficente. Pour les modèles dépourvus de fiche, monter sur le fil une fiche normalisée capable de supporter la charge indiquée sur la plaquette. Le conducteur de mise à la terre est identifié par les couleurs jaune et verte.
En cas d'incompatibilité entre la prise et la fiche de l'appareil, faire replacer la prise par une autre d'un type approprié par du personnel professionnellement qualifié. Ce dernier devra en particulier s assurer que la section des fils de la prise est adaptée à la puissance absorbée par l'appareil.
On peut également effectuer le branchement au réseau en interpolant entre l'appareil et le réseau un interrupteur omnipolaire avec une distance minimum entre les plots de 3mm , dimensionné en fonction de la charge et conforme aux normes en viqueur.
Le fil de terre jaune et vert ne doit pas être interrompu par l'interrupteur. La prise et l'interrupteur omnipolaire utilisés pour le branchement doivent étantri facilement accessibles une fois l'appareil electrolyt-ménager installé.
Important: en cours d'installation,mettre le fil d'alimentation en position de facon qu'en aucun point sa température ne dépasse de 50^ la température ambiente. La sécurité electrique de cet appeareil n'est assurer que s'il est correctement branché a une installation de mise à la terre efficace, comme prévu par les normes de sécurité electrique en viqueur.
Important: Le constructeur ne peut être retenu responsable de tout dommage resultant du manque de mise à la terre de l'installation.

ENTRETIEN DU FOUR
AVANT DE PROCEDURE A L'ENTRETIEN DU FOUR, DEBRANCHER TOUJOURS LA FICHE DE LA PRISE DE COURANT OU DEBRANCHER LE COURANT DE LA LIGNE D'ALIMENTATION A TRAVERS L'INTERRUPTEUR GENERAL DE L'INSTALLATION ELECTRIQUE.
| COMMUTATEUR | THERMOSTAT | N.B.: pour effectuer toute fonction, placer toujours le bouton du thermostat en correspondance d'une température désirée. Le four est pourvu de: • une résistance inférieure; • une résistance supérieure, pour aider le chauffage ou pour griller à l'infrarouge, selon le type de cuisson. |
| ● | Position O | |
| ○ | 50 ÷ max | Une fois tourné le bouton sur la position la lampe reste allumée pendant toutes les opérations qui suivent. Convention naturelle Branchement de la résistance inférieure et supérieure du four. Il s'agit de la cuisson traditionnelle, excellente pour rôtar les gigots, le gibier, idéale pour les biscuits, les pommes au four et pour que les alimentés deviennent très croquants. On obtient de bons résultats pour les cuissons sur un niveau avec réglage de la température de 50 à max°C. |
| ○ | 50 ÷ max | Branchement de la résistance inférieure de four. Cette fonction est indiquée pour cuire du bas, rechauffer les alimentés ou stérisifer les pots en verre. En plus elle est indiquée pour ces alimentés qui nécessitant une cuisson longue et lente, par exemple les alimentés en casserole. Cette fonction peut être utilisée entre 50 et max°C. |
| ○ | 50 ÷ max | Branchement de la résistance supérieure du four. Avec la grille sur le deuxième niveau du haut, cette fonction sert pour rechauffer les alimentés déjà cuits, ou avec la grille sur le premier niveau en bas, cette fonction sert pour la décongélation de pain, pizza ou pâtes en général. Cette fonction peut être utilisée entre 50 et max°C. |
| ○ | 50 ÷ 200 | Branchement de la résistance du grill total (moteur tournebroche selon les modèles, voir Fig.11). Cette fonction sert pour les cuissons à la broche, pour griller et gratiner. |
| BOUTON COMMUTATEUR BOUTON THERMOSTAT | N.B.: pour effectuer toute fonction, placer toujours le bouton du thermostat en correspondance d'une température désirée. Le four est pourvu de: • une résistance inférieure; une résistance supérieure, pour aider le chauffage ou pour griller à l'infrarouge, selon le type de cuisson. • une ventilateur. | |
| ● | Position O | |
| 50÷MAX | Une fois tourné le bouton sur la position ☐la lampe reste allumée pendant toutes les opérations qui suivent. Convention naturelle Branchement de la résistance inférieure et supérieure du four. Il s'agit de la cuisson traditionnelle, excellente pour rôtir les gigots, le gibier, ideale pour les biscuits, les pommes au four et pour que les alimentés deviennent très croquants. On obtient de bons résultats pour les cuissons sur un niveau avec réglage de la température de 50 à max°C. | |
| 50÷200 | Chauffage par le bas et par le haut ventilateur Avec cette fonction, le four est à la fois chauffé par le haut et par le bas et le ventilateur est activé. Cette fonction est utilisée pour cuire plusieurs tartes ou cakes à un seul niveau et pour cuire de petits gâteaux ou des pâtisseries à plusieurs niveaux. | |
| 50÷200 | Résistance inférieure ventilée L'air, réchauffé par la résistance inférieure, est aspiéré par le ventilateur et poussé sur les alimentés à la température désirée entre 50 et 200°C. Cette fonction peut être utilisée pour stérisifer les alimentés. | |
| 50÷200 | Résistance supérieure ventilée L'air, chauffé par la résistance supérieure, est aspiéré par le ventilateur et poussé sur les alimentés à la température désirée entre 50 et 200°C. | |
| 50÷200 | Branchement du grin Par cette position, la résistance du grin à l'infrarouge est insérée. Àpermet de griller ou gratiner les plats traditionnels. | |
FOUR MULTIFONCTION A3311/A3320
| BOUTON COMMUTATEUR | BOUTON THERMOSTAT | N.B.: pour effectuer toute fonction, placer toujours le bouton du thermostat en correspondence d'une température désirée. Le four est pourvu de: · une résistance inférieure; · une résistance supérieure, pour aider le chauffage ou pour griller à l'infrarouge, selon le type de cuisson. · une résistance circulaire qui entoure le ventilateur. |
| ● | Position O | |
| ● | Une fois tourné le bouton sur la position la lampe reste allumée pendant toutes les opérations qui suivent. | |
| ● | 50÷MAX | Branchement de la résistance supérieure du four. Avec la grille sur le deuxième niveau du haut, cette fonction sert pour réchauffer les-alimentsdéjà cuits, ou avec la grille sur le premier niveau en bas, cette fonction sert pour la décongélation de pain, pizza ou pâtes en général. Cette fonction peut être utilisée entre 50 et MAX°C. |
| ● | 50÷MAX | Branchement de la résistance inférieure de four. Cette fonction est indiquée pour cuire du bas, réchauffer les-aliments ou stérisilier les pots en verre. En plus elle est indiquée pour ces-aliments qui nécessitant une cuisson longue et lente, par exemple les-aliments en casserole. Cette fonction peut être utilisée entre 50 et MAX°C. |
| ● | 50÷MAX | Convention naturelle Branchement de la résistance inférieure et supérieure du four. Il s'agit de la cuisson traditionnelle, excellente pour rôtir les gigots, le gibier, idéale pour les biscuits, les pommes au four et pour que les alimentés deviennent très croquants. On obtient de bons résultats pour les cuissons sur un niveau avec réglage de la température de 50 à MAX°C. |
| ● | 50÷200 | Chauffage par le bas et par le haut ventilateur Avec cette fonction, le four est à la fois chauffé par le haut et par le bas et le ventilateur est activé. Cette fonction est utilisée pour cuire plusieurs tartes ou cakes à un seul niveau et pour cuire de petits gâteaux ou des pâtisseries à plusieurs niveaux. |
| ● | 50÷MAX | Cuisson par air pulsé Par cette fonction la résistance circulaire et le ventilateur sont insérés. L'air chaud, réglable entre 50 et MAX°C, est poussé uniformement sur tous les étages du four. Ceci consente une cuisson idéale de plusieurs mets ensemble (viande, poisson, etc.) sans mélanger les différents odeurs et saveurs. Cuisson délicate indiquée pour Génoises, gâteaux de Savoie, pâtes feuilletées, etc. |
| ● | 50÷200 | Résistance inférieure ventilée L'air, réchauffé par la résistance inférieure, est aspiéré par le ventilateur et poussa sur les alimentés à la température désirée entre 50 et 200°C. Cette fonction peut être utilisée pour stérisilier les alimentés. |
| ● | 50÷200 | Grill total ventilée L'air, chauffé par la résistance du grill, est aspiéré par le ventilateur et poussa sur les alimentés à la température désirée entre 50 et 200°C. Le grill ventilé remplace remarquablyment le tournebroche et il assure des résultats excellents avec volailles, saucisses, viandes rouges, même en quantité considérable. |
| ● | 50÷200 | Branchement de la résistance du grill total (moteur tournebroche selon les modèles, voir Fig.11). Cette fonction sert pour les cuissons à la broche, pour griller et gratiner. |
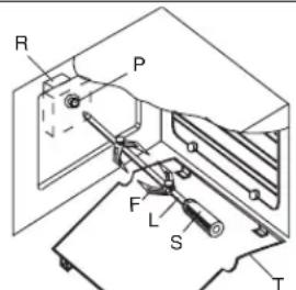
Utilisation du tournebroche
Dans les modèles "FOUR CONVENTIONEL" il est possible d'utiliser le tournebroche, s'il est combiné avec le fonctionnement du grill.
Après avoir enfilé l'aliments dans la broche S, la bloquer à l'aide des deux fourches F. Proceder donc de la façon suivante:
-
Introduire l'extrémité de la broche dans le moteur M placé dans la partie arrêté du fou (fig.11).
-
Placer le support dans la gorge circulaire de la broche T.
- Dévisser et enlever la poignée A.
- Glisser la lèche-frite avec un peu d'eau dans le four, et la placer dans le gradin, le plus bas.
- Tourner le bouton sur la position pourmettre en fonction le moteur.
- Fermer la porte du four.
- Une fois terminée la cuisson, visser la poignée sur la broche et enlever tout du four.
Utiliser eventuellement un gant de protection pour ne pas se bruler.

Fig. 11
Le tableau suivant offre, à titre indicatif, quelques conseils pour améliorer la ciusson:
NOTES ET CONSEILS UTILES POUR LA CUISSON
| INCONVENIENTS CAUSES SOLUTIONS | ||
| Partie supérieureASFICHEAIEVANCTDus -Utiliser la position coninférieure trop claire -Utiliser des moules profonds | auteur venant du bas - Utiliser la position confonds | vention naturelle- Abaisser la températe- Placer le gâteau sur un rayon plus bas |
| Partie inférieureASFICHEAIEVANCTDus -Utiliser de chaspére trop claire -Utiliser des moules basal | auteur venant du bas - Utiliser la position confonds | vention naturelle- Abaisser la températe- Placer le gâteau sur un rayon plus haut |
| Partie externtrop cuite et partie Températe trop élevée - Abaisser la températe etinterne insuffisamment cuite le temps de cuisson | augmenter | |
| Partie externtrop sèche quoiquTempérate trop BASSE -Augmenter la températe etabaisser 'ayant la coloration juste le temps de cuisson |
Convention naturelle
Faire chauffer le four pendant 10 à 15 minutes, hui er la vande avec un peu d'huile, la placer sur la l'ee-frite et metre tout rapidement au four.
-Grill
Faire chauffer le grill pendant 5 minutes (jusqu'ce que la résistance prenne une couleur rouge vif), préparer la viande, nature ou huiée et aromatisée, sur la grille puis la placer sur le rayon le plus pres du grill; enfilier immidiatement en dessous de la grille la lèche-frite avec un peu d'eau pour recuperer les jus de cuisson. Le grill peut aussi servir à gratiner et à dorer les alimentés après une cuisson normale.
CUISSON AVEC VENTILATEUR
- Décongélation
Les alimentes a decongeler poses sur une assiette et encore enveloppés dans leur protection (feuille de polythene, d'aluminium, etc.) sont placés sur la grille au centre du four. La porte du four doit être fermée.
- Four ventilé
ll n'est pas necessaire de faire chauffer le four, sauf pour les cuissons tres brves et pour les alimentes humides (ex. tartes aux fruits) pour eviter la condensation. On peut effectuer des cuissons multiples en plaçant les alimentes de meme nature ou de differentes natures sur 2 rayons ou plus, sans melanger les saveurs et les odeurs.
ll
Les températures de cuisson sont inférieures à celles du four à convention naturelle (de 20 à 30^ pour la pâtisserie et de 30 à 40^ pour la viande), tandis que les temps sont un peu plus longs ( 50^ - 10 minutes).
- Grill
Le chauffage préalable est superflu. La cuisson peut se faire à porte close et les alimentés doivent être placés par rapport au grill en fonction des résultats que l'on désire notamment:
-
plus pres pour les alimentés rissolés en surface et saignants
-
plus loin pour les aliments bien cuits à l'intérieur.
La lèche-frite pour la récapération des jus doit être placée sur le premier rayon en partant du bas.
DIVERS
La viande hachée et sans os cuit plus rapidement; le degré de cuisson peut être contrôle en appuyant sur la viande avec une fourchette: si elle ne cède pas, elle est cuite à point. Avant d'enlever la viande, attendre au moins 15 minutes pour donner au jus le temps de se stabiliser. Si la viande doit être lardée ou enveloppée dans du bacon ou du jambon, ne pas la cuire à une température trop élevé pour éviter de trop salir le four.
La pate brisee doit cuire dans le moule pendant 2/3 du temps avant d'etre garnie. La pereode d'achevement de la cuisson depend du type de garniture (fruit, confiture).
La pate battue ne doit pas etre excessivement fluide, ce qui pourrait prolonger inutillement le temps de cuisson.
Ne pas poser les casseroles directement sur le fond du four, la chaleur venant du bas ne pouvant pas sortir risquerait de provoquer la rupture ou le fendillement de l'email.
TEMPS ET TEMPERATURES APPROXIMATIFS DE CUISSON AU FOUR STATIQUE
| Q.tés Plats à cuisiner Température Niveau d'introduction Temps de cuisson | ||||
| PATISSERIE | ||||
| Pâtes molles: Fougace 175 1 Niveau 40-50Généoise 170 1 Niveau 30 | ||||
| Pâte brisée: Tarte aux fruits | 180-190 | 1 Niveau | 20-30 | |
| Pâte à levure: Gâteau mousseline | 160 | 1 Niveau | 40-45 | |
| Gâteau de Savoie | 160 1 Niveau | 40-45 | ||
| Gâteau au chocolat | 160 1 Niveau | 25-35 | ||
| Gâteau au blanc d'oeufs Meringues | 100 1 Niveau 90 | |||
| Pâte feuilletée: Vol au vent | 200 | 1 Niveau | 20 | |
| Bouchées | 200 1 Niveau | 20 | ||
| VIANDES: | ||||
| 1,5 kg. | Roast-beef | 190 1 Niveau | 90 | |
| 1 kg. | Rôti de veau | 150-160 | 1 Niveau | 120-150 |
| 2 kg. | Ragoût de veau | 170-190 | 1 Niveau | 60-90 |
| 1,5 kg. | Rôti d'agneau | 150-160 | 1 Niveau | 60-75 |
| 1,5 kg. | Rôti de chevreau | 150-160 | 1 Niveau | 50-60 |
| 1,5 kg. | Gigot de chevreuil | 200 1 Niveau | 90 | |
| 1,5 kg. | Gigot de sanglier | 190 | 1 Niveau | 120 |
| VOLLLAILLE: | ||||
| Pigneous rôtis | 150-160 | 1 Niveau 45 | ||
| 2 kg. | Dinde | 150 1 Niveau | 180-240 | |
| 4 kg. | Oie | 160 1 Niveau | 240-270 | |
| 2,5 kg. | Canard | 175 1 Niveau | 90-150 | |
| 1,5 kg. | Poulet | 170 1 Niveau | 60-80 | |
| 2,5 kg. | Chapon | 170 1 Niveau | 120-150 | |
| POISSON: | ||||
| Truite | 200 1 Niveau | 15-25 | ||
| 1 kg. | Morue | 190 1 Niveau | 50 | |
| DIVERS: | ||||
| Lasagne | 200 1 Niveau | 40 | ||
| Soufflés | 180-200 | 1 Niveau 20 | ||
| Choux | 200 1 Niveau | 20 | ||
| Pizza | 200 1 Niveau | 20 | ||
TEMPS ET TEMPERATURES APPROXIMATIFS DE CUISSON AU FOUR VENTILE
| Q.tés Plats | à cusiner Température Niveau d'introduction Temps de cuisson | grille à partir du bas en minutes | ||
| PATISSERIE | ||||
| Pâté molles: Fougace 175 2 Niveau 45 | ||||
| Généoise 170 2 Niveau 35 | ||||
| Gâteau 170 2 Niveau 40 | ||||
| Pâté brisée: Tarte aux pommes 200 2 Niveau 35 | ||||
| Tarte | 200 3 Niveau | 30 | ||
| Pâté à levure: Fougace | 170 2 Niveau | 35 | ||
| Savarin et natione | 170 2 Niveau | 40 | ||
| Biscuits | 180 2 Niveau | 25 | ||
| Gâteau au blanc d'oeuls: Meringues | 110 | 1 e 2 Niveau | 35 | |
| Pâté feuilletée | Petits vol au vent | 200 | 2 Niveau | |
| VIANDES | ||||
| Viance de porc: | ||||
| 1 kg. | Rôti | 220 2 Niveau | 90 | |
| 1 kg. | Côtotlet à l'écarlate | 200 1 Niveau | 60 | |
| 1 kg. | Filet | 200 1 Niveau | 60 | |
| 1,5 kg. | Gigot | 200 1 Niveau | 90 | |
| 1 kg. | Rouleau de vande hachée | 180 2 Niveau | 85 | |
| 1,5 kg. | Saucisse | 170 1 Niveau | 45 | |
| Viance de boeuf: | ||||
| 1 kg. | Pieds | 220 1 Niveau | 95 | |
| 1 kg. | Filet | 220 1 Niveau | 75 | |
| 1 kg. | Roast-beef | 240 2 Niveau | 45 | |
| 1 kg. | Pommes de terre rôties | 230 1 Niveau | 45 | |
| Viance de veau: | ||||
| 1 kg. | Gigot | 200 1 Niveau | 95 | |
| 1 kg. | Rôti | 180 2 Niveau | 90 | |
| 2 kg. | Jarret | 180 1 Niveau | 100 | |
| 1 kg. | Poitrine | 180 1 Niveau | 60 | |
| Viance d'agneau: | ||||
| 1 kg. | Gigot | 200 2 Niveau | 95 | |
| 1 kg. | Palette | 175 1 Niveau | 70 | |
| Viance de monton: | ||||
| 1 kg. | Palette | 180 1 Niveau | 85 | |
| 1,5 kg. | Gigot | 200 1 Niveau | 90 | |
| 1,5 kg. | Poitrine | 180 1 Niveau | 70 | |
| Gibier: | ||||
| 1 kg. | Faisan rôti | 200 1 Niveau | 70 | |
| 2 kg. | Lévre rôti | 175 1 Niveau | 75 | |
| Lapin | 175 1 Niveau | 75 | ||
| Vollaille: | ||||
| 1,5 kg. | Blanc de dinde | 180 2 Niveau | 70 | |
| 1 kg. | Pintade | 180 2 Niveau | 65 | |
| 2 kg. | Canard | 180 1 Niveau | 90 | |
| 1 kg. | Poulet | 175 2 Niveau | 75 | |
| 1 kg. | Poulet grillé | 200 1 Niveau | 75 | |
| POISSON | ||||
| 1,5 kg. | Dentex | 180 1 Niveau | 45 | |
| 1 kg. | Sole gratinée | 200 1 Niveau | 25 | |
| DIVERS | ||||
| Lasagne | 200 2 Niveau | 40 | ||
| Cannelloni | 200 2 Niveau | 40 | ||
| Pizza | 200 | 1 et 2 Niveau | 45 | |
| Flan au marasquin | 175 1 Niveau | 45 | ||
| Choux | 175 2 Niveau | 20 | ||
| Soufflés | 175 1 Niveau | 35 | ||
| Pommes au four | 180 | 1 Niveau | 60 | |
PROGRAMMATEUR FIN CUISSON

Pour un fonctionnement manuel, toumer le bouton dans le sens contraire des aiguilles d'une montre en correspondance du symbole ; pour programmer la durée de la cuisson, tourner dans le sens des aiguilles d'une montre et fixer le temps de cuisson avec le bouton (max.120 minutes). Une fois le temps écoulé, le four s'arrête automatiquement.
HORLOGE «LED»
\section*{Caracteristiques}
Horloge 24 heures avec programmation automatique et compte-minutes.
Fonctions
Durée de cuisson, fin cuisson, position manuelle, horloge, compte-minutes, temps régibles jusqu'à 23 heures et 59 minutes.
Affichage des fonctions
Affichage lumineux à 4 chiffres de 7 segments pour indiquer l'heure et les temps de cuisson.
Durée de cuisson et fonction manuelle = symbole de la casserole
Fonction automatique = AUTO
Compte-minutes = symbole de la cloche
Une fonction est selectionnée lorsque le symbole correspondant est affché.
Programmation
La programmation s'effectue en appuyant sur le bouton de la fonction désirée.
Après avoir relâché ce bouton, il est suffisant de programmer le temps avec + et - entre 5 secondes.


Boutons + et -
En appuyant sur les boutons + et - le temps augmente ou diminuè à une vitesse variable selon la durée de la pression sur le bouton.
Réglage de l'heure
Pour regler l'heure desiree, appuyer en meme temps sur deux boutons quelconques (durée de cuisson, fin cuisson, compte-minutes). Par cette operation, tous programmes precedents sont elimines, les contacts sont debranches, et le symbole AUTO clignote.
Fonctionnement en manuel
En appuyant sur le bouton de manuel, les contacts du relais se branchent, le symbole AUTO s'estint, le symbole de casserole apparait. Le fonctionnement manuel a lieu seulement à la fin de la programmation automatique ou après que celle-ci a eteeliminee.
Fonctionnement automatique
En appuyant sur le bouton de durée ou de fin ciusson, le programmateur se commute automatiquement de la fonction manuelle à la fonction automatique.
Fonctionnement semi-automatique avec durée de cuisson
Appuyer sur le bouton de durée de cuisson et programmer le temps désire avec + ou -. Le symbole AUTO et de durée de cuisson apparaissent en permanence. Le relais se branche immédiatement. Quand le temps de fin de cuisson correspond à l'heure, le relais et le symbole de durée de cuisson se débranchent, la sonnerie retentit, et le symbole AUTO clignote.
Fonctionnement semi-automatique avec fin de cuisson
Appuyer sur le bouton de fin cisson. L'houre apparait sur l'affichage lumineux. Selectionner le temps de fin cisson desirede avec le bouton+. Les symboles AUTO et durée de cisson apparaissent en permanence. Les contacts du relais se débranchent.
Quand le temps de fin cuisson correspond à l'heure, le relais et le symbole de durée de cuisson se débranchent. Une fois le temps de cuisson écoué, le symbole AUTO clignote, la sonnerie retentit, le symbole de durée de cuisson et le relais s'éteignent.
Fonctionnement automatique avec durée et fin de cuisson
Appuyer sur le bouton de durée et selectionner la durée de cisson désirée avec ^+ ou-. Les symboles AUTO et durée apparaisent en permanence. Le relais se branche. Appuyer sur le bouton de fin de cisson. Le temps de fin cisson le plus proche apparait sur l'affichage lumineux. Selectionner le temps de fin cisson désire à travers le bouton +. Le relais et le symbole de durée se débranchent. Le symbole s'allume de nouveau quand l'heure correspond au temps de début de cisson. Une fois le temps de cisson écoué, le symbole AUTO clignote. La sonnerie retentit et le symbole de durée et le relais s'éteignent.
Compte-minutes
Appuyer sur le bouton compte-minutes et selectionner le temps de cissson desirede avec le bouton ^+ ou-.
Pendant le fonctionnement du compte-minute le symbole de la cloche apparait. À la fin du temps choisi, la sonnerie retentit et le symbole de la cloche s'éteint.
Signalacoustique
Le signal acoustique se met en marche à la fin d'une programmation ou de la fonction compte-minutes et il a une durée de 15 minutes. Pour l'arrêter, appuyer sur un bouton quelconque des fonctions.
Début programme et contrôle
Les programmes démarrent à peu près 4 secondes après leur programmation.
Il est possible de vérifier à tout moment le programme en cours en appuyant sur le bouton concerné.
Erreur de programmation
Il y a un erreur de programmation si l'heure indiquée par l'horloge est comprise entre l'heure de début cuisson et l'heure de fin cuisson. L'erreur de programmation peut être corrige, en changeant la durée ou le temps de fin cuisson. Quand il y a un erreur de programmation les reliais se débranchent.
Élimination d'un programme
On peut eliminer un programme en appuyant sur le bouton de durée cuisson et puis sur le bouton - afin que l'indication 00 00 apparaisse sur l'affichage lumineux. À la fin d'un programme, ce-ci s'éliminera automatiquement.
Moules et vaiselle
Dans le four, vous ne pouvez utiliser que des éléments résistant à la chaleur et capables de supporter une température de 300^ ; mouses en métal, feuilles d'aluminium, verre spécial "four", céramique, vitr-céramique et poteries résistant à la chaleur du four.
Le type d'accessoires culinaires utilisés peut influencer le résultat final: par exemple, des mouses de couleur foncée permettent de donner une coloration brune plus prononcée et plus rapide aux gâteaux que les mouses de couleur claire.
Le differentes niveaux du four
Les differents niveaux du four sont repris dans l'illustration A. La première latte represente la position la plus basse et la 5eme latte la position plus haute.



Les accessoires du four
Selon le modele,voire four peut etre equipe des accesoires suivants:
Le grill: (illustration B)
Vouz pouvez y placer des gâteaux et des plats devant aller au four qui se trouvent dans un moule ou dans un plat à four. Parfois, il est également possible de placer de la viande à griller directement sur le grill.
Plat à bac verseur: (illustration C)
Ce plat est utilise pour la cuisson de la viande, du gibier, de la voilaille ou du poisson. Le plat a boc verseur peut également etre utilisé en cas de cuisson ou de grillade pour servir à recuperer la graisse qui pourrait couler.
ENTRETIEN ET NETTOYAGE
Avont de proceder au nettoyage, attendre que l'appareil refroidisse; puis debrancher la prise de courant ou actionner l'interrupteur general de l'installation.
Laver les parties émailées, peintes ou chromées avec de l'eau tiède et du savon ou du détersif liquide non corrosif.
Pour les parties en inox, utiliser de l'alcool ou les solution prévues pour cela disponibles dans le commerce.
Pour les panneaux ou les profiles en aluminium, utilise du coton ou des chiffons imbibés d'huile de vaseline ou d'huile vegétale. Nettoyer puis faire un passage avec de l'acool. Pendant le nettoyage, ne jamais utilise de matériaux abrasifs, de détosifs corrosifs, d'eau de javel ou d'accides.
Ne pas laisser de substances acides ou corrosives (jus de citron, vinaigre, etc.) sur les parois émaillées, peintes ou en inox.
Démontage de la porte du four (fig.21)
Pour facilitier le nettoyage intensif du four, démonter la porte en suivant les instructions: placer le crochet A (fig.21) dans le secteur charmière B. Placer la porte en position semiouverte et tirer vers soi des deux mains jusqu'à ce qu'elle se détache de la fixation.
Pour remonter la porte, opérer en sens inverse ennant soin d'introduire correctement les deux secteurs C.
Démontage de la porte du four ( point d'appui fixé fig. 21B/B1).
Pour facilititer les grandes opérations de nettoyage du four, il convient de démonter la porte en suivant les instructions ci-après:
Ouivre la porte en grand; exercer une légère pression vers le bas (fig.21 B) de sorte que les crochets "A" de la charnière aillent se positionner à l'intérieur de l'entaille "B" (fig.21 B1).
Tirer la porte vers soi avec les deux mains jusqu'à ce qu'elle se détache du four.
Pour remonter la porteproceder dans l'ordre inverse.
Panneaux (fig.23)
Le cadre supportant les grilles est bloqué par trois pivots; il suffit de le comprimer un peu vers le bas pour l'extraire.
Lamp du four (fig.24)
La lampe utilisée dans le four est d'un type spécial résistant aux haute temperatures.
Pour la replacer, opérer de la façon suivante: débrancher le four ou couper l'électricité avec l'interrupteur général de l'installation électrique, démonter le verre de protection (A) et replacer la lampe brulée avec une autre du même type, puis remonter le verre de protection.
Important: si l'on avait decide de ne plus utiliser le four, il est recommendé de le rendre inopérant en coupant le fil d'alimentation après l'avoir débranché de la prise de courant. Il est recommendé de rendre inoffensives les parties de l'appareil pouvant constituer un danger, spécialement pour les enfants qui pourrait se servir de l'appareil électrique hors d'utilage pour jouer.



Fig. 21



Notice Facile