A3320FT - Oven ETNA - Gratis gebruiksaanwijzing en handleiding
Vind de handleiding van het apparaat gratis A3320FT ETNA in PDF-formaat.
| Producttype | Inbouwoven |
| Merk | Etna |
| Model | A3320FT |
| Elektrische voeding | 230 V ~ 50 Hz |
| Maximaal vermogen | Zie typeplaatje |
| Kooktype | Statisch en hetelucht |
| Bakfuncties | Natuurlijke convectie, hetelucht, grill, heteluchtgrill, ontdooien, draaispit |
| Temperatuurbereik | 50 °C tot max (statisch), 50 °C tot 200 °C (hetelucht) |
| Timer | 24-uurs klok met automatische programmering, duur en einde van de bereiding, minutenwekker |
| Binnenverlichting | Speciale hogetemperatuurlamp |
| Meegeleverde accessoires | Rost, braadslee, draaispit (afhankelijk van model) |
| Bakniveaus | 5 niveaus |
| Demonteerbare deur | Ja, voor reiniging |
| Reiniging | Lauw water en zeep, geen schuurmiddelen gebruiken |
| Kinderveiligheid | Toezicht nodig, hete deur |
| Installatie | Door gekwalificeerde vakman, ventilatieafstanden in acht nemen |
| Elektrische aansluiting | Geaard stopcontact of omnipolaire schakelaar |
Veelgestelde vragen - A3320FT ETNA
Gebruikersvragen over A3320FT ETNA
0 vraag over dit apparaat. Beantwoord die u kent of stel uw eigen vraag.
Stel een nieuwe vraag over dit apparaat
Download de handleiding voor uw Oven in PDF-formaat gratis! Vind uw handleiding A3320FT - ETNA en neem uw elektronisch apparaat weer in handen. Op deze pagina staan alle documenten die nodig zijn voor het gebruik van uw apparaat. A3320FT van het merk ETNA.
GEBRUIKSAANWIJZING A3320FT ETNA
Voor de keuken van uw leven
GEBRUKSAANWIJZING INBOUWOVENS
Lees alle instructies in dit boekje aandachtig. Het boekje bevat belangrijke informatie over het veilig installereren, gebruiken en onderhonden van het apparaat, evenals nuttige tips om het Beste uit uw oven te halen. Bewaar dit boekje op een veilige plaats om het in de toekomst te konnen raadplegen. Controleer, nadat u de verpakking verwijderd heeft, of het apparaat Niet beschadigd is.
Houd de verpakkingsmaterialen (plastic bekleding, polystyreneenschuim) buiten bereik van kinderen. BELANGRIJK: gelebruik de overdeurhendel Niet om het apparaat te verplaatsen ofuit de verpakking te halen.
Gooi de verpakking van uw apparaat Niet in de vuilnisbak, maar scheid de verschillende materialen (bijv. folie, karton, polystyreen) volgens deplaatselijke regels voor
LET OP
Ovens worden per definitie heet, vooral de glazen deur.
Zorg erkaarom alkijd voor dat kinderen Niet in de buurt komen van de oven wanner deze aanstaat en vooral wanner de grill worden gebruikt.
Wanner u de oven voor de eerste keer aanzet, kan er scherpriekende rook ontstaan. Dit worden veroorzaakt doordat de kleefstof op de isolatiepanelen rondom de oven verhit worden. Het is normala dat dit gebeurt. Wacht in dit geval totdat de rook is verdwenen voedsal in de oven zet. Grill of bak nooit op de ovenplaat.
BELANGRIJK
Dit apparaat mag uitsluitend worden gebrukt voor het bereiden van voedsel.
leder ander gebruk van het apparaat (zoals het verwarmen van een ruimte) is ongeschikt en daardoor gevaarlijk.
De fabrikant is Niet aansprakelijk voor schade die ontstaat door onjuist en onredelijk gebruik van het apparaat.
De volgende basisregels dienen in acht te worden genomen bij het gebruik van elektrische apparatuur:
- haal de stekker van het apparaat uit het stopcontact voordat u het apparaat reinigt of onderhoudt.
- trek nooit aan het snoer wanner u de stekker uit het stopcontact wilt halen.
- raak een apparaat nooit aan wonneer uw handen of voeten nat of vochtig zich.
- bedien een apparaat nooit wanner ublootsvoets bent.
- Iaat kinderen of gehandicapten het apparaat nooit zonder toezicht gebruiken.
- in geval van onachtzaam gebruik van de ovendeurscharnieren kut u uw handen bezeren.
- wonneer het apparaat kapotgaat en/of Niet goed werkct het apparaat uitschakelen en er verder nicht aanzitten.
Reparaties dienen uitsluitend door een erkende reparateur uitgevoerd te worden. Zorg ervoor dat uitsluitend originele reserveonderdelen worden gebruikt.
Wanner het bovenstaande advies nicht worden opgevolgd kan de veiligheid van het apparaat worden aangetast.
SPECIFICATIE
De oens zijn ontworpen voor gebruik met een eenfasige wisselstroom van 230V 50 Hz. Wij raden u echter aan om, voordat u het apparaat installeert, deze specifieats op het etiket op de achterzijde van het apparaat aktijd te controeren.

De onderdelen van dit apparaat die in contact komen met voedingsmiddelen zijn conform de bepalingen van de EEG-richtlijn 89/109. Bovendien is dit apparaat conform de Europese richtlijnen 89/336/CEE, 73/23/CEE en volgende veranderingen.
HET APPARAAT INSTALLEREN
De installmentie dient volgens de instructies uitgevoerd te worden door een vakkundige. De fabrikant kan op geen enkele manier aansprakelijk worden gesteld voor schade aan personen, dieren of zaken die te wijten is aan een onjuiste installmentie.
Plaats het apparaat in zijn omgeving (onder een werkblad of op een ander apparaat) door schroeven teplaatsen in de 4 gaten die in het frame van de oven te zien zich wonneer de overendur openstaat.


Fig. 3
Voor de meest efficiente luchtcirculatie dient de oven gemonteerd te worden volgens de afmetingen die getoond worden in fig. 1-2 op pagina 2.
Hetachinepeel van de kast dient verwijderd te worden, zodat de lucht vrij kan circuleren. Het paneel waarop de oven wordt gemonteerd dient aan de achterkant een tussenruimte van ten minste 70~mm te bevatten.
N.B.: aangezien ovens op kookplaten worden afgestemd, is hetoodzakelijk om de instructies op te volgen in het boekje dat geleverd worden bij het andere apparatusat.
BELANGRIJK
Een inbouwoven kan alleen goed werken wanner de kast van het juiste type is.
De panelen van de aangrenzende meubels dienen hittebestendig te zijn. Vooral wonneer de aangrenzende meubels gemaakt zijn van fineerhout, dienen de kleefstoffen bestand te zijn tegen een temperatuur van 120^ . Plastic materialen of kleefstoffen die nicht bestand zijn tegen deze temperatuur zullen verwormen of loslaten.
Wanner het apparaat gemonteerd is mag het, gezien de veiligheidsvoorschriften, Niet mogelijk+zijn om contact te maken met de elektrische onderdelen. Alle beschemende onderdelen dienen zodanig te zich bevestigdat zij slechts met behulp van gereedschap verwijderd kannen worden.



TYPE EN DOORSNEDE TOEVOERKABEL
| 230V~ | ||
| H05RR-F Ø 3 x 1,5 mm | 2 | |
AANSLUITING OP HET ELEKTRICITEITSNET
Controleer of het nominale vermogen van de elektriciteitsaansluiting en de stopcontacten geschikt is voor het maximumvermogen van het apparaat zoals aangegeven is op het specifieplaatje. Steek de stekker in een stopcontact dat voorzien is van een derde contact dat corresponeert met de aardverbinding. Deze dient juist aangesloten te zich. Wanner het apparaat Niet met een stekker wordt geleverd, monteer dan een voorgeschreven stekker op het snoer die het vermogen dat op het specifieplaatje vermeld wordt aankan. De massadraad is geel/groen. Wanner de stekker die op het apparaat is gemonteerd en het stopcontact incompatibel,zij, laat een vakkundige dan het juiste type stekker monteren. Deze persoon dient er ook voor te zorgen dat de ditke van het snoer geschikt is voor het vermogen dat door het apparaat wordt geabsorbeerd. De aansluiting op het elektriciteitsnet kan ook plaatsvinden door een eenfasige schakelaar met een minimale tussenruimte+tussen de contacten van 3 mm te monteren, evenredig met de belasting en conform de geldende voorschriften. De geel/groene massadraad mag Niet bestuurd worden door de schakelaar.
De stekker of de eenfasige schakelaar die gebruikt worden voor de elektriciteitsaansluiting dient gemakkelijk bereikbaar te zich, wanner het apparaat eenmaal op zich plaat staat.
Belangrijk: plaats het elektriciteitssnoer zo dat dit nooit wordt bloatgesteld aan een temperatuur die hoger is dan 50^ boven de omgevingsttemperatuur. De elektrische veiligheid van het apparaat kan alleen worden gegarandeerd wonneer het apparaat juist is aangesloten op een efficien geaarde elektrische voedingsbron, Zoals vermeld worden in de voorschriften voor elektrische veiligheid.
Belangrijk: de fabrikant kan nicht aansprakelijk worden gesteld voor enige schade aan personen of zaken die te wijten is aan het ontbreken van een aardverbinding.
ONDERHOUD VAN DE OVEN
HAAL ALTIJD DE STEKKER UIT HET STOPCONTACT OF SCHAKEL DE STROOM VAN DE ELEKTRICITEITSLEIDING UIT MET BEHULP VAN DE HOOFDSCHAKELAAR VOORDAT U ONDERHOUDSWERKZAAMHEDEN AAN DE OVEN UITVOERT.
LET OP: Uw formuis kan met extra beveiligingsvoorziening om het contact met de overendur mee te voorkomen, worden uitergust. Dit hulpstuk worden aanbevolen als erkleine kinderen+zij en kanrechtstreeks bij ons bedrijf worden besteld onder vermeling van: KIT deurbeveiliging model:(zie typeplaatje on het apparaat).
De montage-instructies worden samen met de Kit geleverd.
CONVECTIONE OVENS
| KEUZEKNOP THERMOSTAAT | C max 50 200 150 100 | N.B.: Alle functies starten nadat de oventemperatuur met behulp van de thermostaatknop is ingesteld. De oven is uitgerust met: • een verwarmingselement beneden • een verwarmingselement boven, dat, afhankelijk van de vereidingswijze, gebruikt kan worden om te grillen of te bakken. |
| ● | Uitstand O | |
| 50 ÷ MAX | Wonneer u de bedieningsknop in stand drait zal het lampje branden tijdens de volgende handelingen. Natuurlijke convectie De verwarmingselementen beneden en boven werkden allebei. Dit is de traditionele vereidingswijze, zeer geschikt voor het braden van vlees en ideaal voor koekjes, gesofte appels en knapperig voedsel. U bereikt uiststekende resultaten runaway u een richel gebruikt waar bij de temperatuur worden ingesteld:tussen 50 en MAX °C. | |
| 50 ÷ MAX | Onderste verwarmingselement Deze functie is toenal geschikt voor het bereiden vanaf het begin, het opwarmen van voedsel en het steriliseren van glazen potten. De functie is ook geschikt voor voedsel dat lang en langzaam要去 garen, zoals overschotels. Deze functie kan gebruikt worden tussen 50 en MAX °C. | |
| 50 ÷ MAX | Bovenste verwarmingselement Deze functie is geschikt voor het opwarmen vanoorbereid voedsel wanner het rooster op de tweede richel van boven wordt geplaatst. De functie is geschikt voor het ontdooien van gebak wanner het rooster op de eerste richel van onder wordt geplaatst. Deze functie kan gebruikt worden tussen 50 en MAX °C. | |
| 50 ÷ 200 | Totaal grill verwarmingselement endraaispitmotor alaar gelang het model, zich fig. 11). Deze functie is geschikt voor braden aan het spit, grillen en gratineren. | |
MULTIFUNCTIONELEV T3305/A3306
| KEUZEKNOP THERMOSTAAT | C max 50 200 150 100 | N.B.: Alle functies starten nadat de oventemperatuur met behulp van de thermostaatknop is ingesteld. De oven is uitgerust met: ·een verwarmingselement beneden ·een verwarmingselement boven, dat, afhankelijk van de bereidingswijze, gebrukt kan worden om te grillen of te bakken. ·een ventilator. |
| ● | Uitstand O | |
| 50 ÷ MAX | Wonneer u de bedieningsknop in stand draten zal het lampje branden tijdens de volgende handelingen. Natuurlijke convectie De verwarmingselementen beneden en boven werken allebei. Dit is de traditionele bereidingswijze, zeer geschikt voor het braden van vlees en ideaal voor koekjes, gesofte appels en knapperig voedsel. U bereikt uitstekende resultaten runaway u een richel gebruikt waarbij de temperatuur worden ingesteldussen 50 en MAX °C. | |
| 50 ÷ 200 | Onder- en bovenwarmte met ventilator Op deze functie treden gelijktijdig onder- en bovenwarmte en de ventilator in weking. Deze functie worden gebruikt voor het bakken van meerdere taarten of cakes op eeniveau en voor het bakken van koekjes en gebakjes op meerdere niveau's. | |
| 50 ÷ 200 | Onderste verwarmingselement + ventilator De lucht, die verwarmd worden door het onderste verwarmingselement, worden door de ventilator gecirculeerd, waardoor de warmteussen 50 en 200 °C verspreid kan worden. Deze functie kan worden gezrukt voor het steriliseren van glazen potten. | |
| 50 ÷ 200 | Boven vewarmingselement + ventilator De lucht die verwarmd worden door het verwarmingselement van boven verwarmingselement worden door de ventilator gecirculeerd, waardoor de warmteussen 50 en 200 °C verspreid kan worden. | |
| 50 ÷ 200 | Totaal grill Deze functie is geschikt voor het grillen en gratiner van traditioneel voedsel. | |
| KEUZEKNOP | THERMOSTAAT | N.B.: Alle functies starten nadat de oventemperatuur met behulp van de thermostaatknop is ingesteld. De oven is uitgerust met: • een verwarmingselement beneden • een verwarmingselement boven, dat, afhankelijk van de vereidingswijze, gebruikt kan worden om te grillen of te bakken. • een ventilator. • een enerlair verwarmingselement dot de ventilator omringt |
| ● | Position O | |
| ● | Wonneer u de bedieningsknop in stand draait zal het lampje branden tijdens de volgende handelingen. | |
| ● | 50÷MAX | Bovenste verwarmingselement. Deze functie is geschikt voor het opwarmen van Voorbereid voedsel wonneer het rooster op de tweede richel van boven wordt geplaatst. De functie is geschikt voor het ontdooien van gebak wonneer het rooster op de eerste richel van onder wordt geplaatst. Deze functie kan gebruikt wordenussen 50 en MAX °C. |
| ● | 50÷MAX | Onderste verwarmingselement Deze functie is toenal geschikt voor het bereiden vanaf het begin, het opwarmen van voedsel en het steriliseren van glazen potten. De functie is ook geschikt voor voedsel dat lang en langzaam moet garen, zoals overschotels. Deze functie kan gebruikt wordenussen 50 en MAX °C. |
| ● | 50÷MAX | Natuurlijke convectie De verwarmingselementen beneden en boven werken allebei. Dit is de traditionele vereidingswijze,zerer geschikt voor het braden van vlees en ideaal voor koekjes, gesofte appels en knapperig voedsel. U bereikt uiststkende resultaten wonneer u een richel gebruikt waar bij de temperatuur worden ingesteldussen 50 en MAX °C. |
| ● | 50÷200 | Onder- en bovenwarmte met ventilator Op deze functie treden gelijktijdig onder- en bovenwarmte en de ventilator in weking. Deze functie wordt gebruikt voor het bakken van meerdere taarten of cakes op een niveau en voor het bakken van koekjes en gebakjes op meerdere nivea's. |
| ● | 50÷MAX | Ventilatoroven De ventilator en het circulaire verwarmingselement werken allebei. De hare lucht, die ingesteld kan wordenussen 50 en MAX °C, wordt gelijkmatig verspreid in de oven. Dit is ideaal om verschillende soorten voedsel (vlees, vis) tegelijkertijd te bereiden, zonder dat de smaak en de geur worden beinvloed. Deze functie is geschikt voor因其 gebak. |
| ● | 50÷200 | Onderste verwarmingselement + ventilator De lucht, die verwarmd wordt door het onderste verwarmingselement, wordt door de ventilator gecirculeerd, waardoor de warmteussen 50 en 200 °C verspreid kan worden. Deze functie kan wordengebruikt voor het steriliseren van glazen potten. |
| ● | 50÷200 | Totaal grill met ventilator De lucht, die verwarmd wordt door het verwarmingselement van de grill, wordt door de ventilator gecirculeerd, waardoor de warmteussen 50 en 200 °C verspreid kan worden. De grill met ventilator vomt een perfecte verranging voor het draaispit. U kunt tevens uiststkende resultaten bereiken met groote hoeveelheden gezogelte, worst en rood vlees. |
| ● | 50÷200 | Totaal grill verwarmingselement en (draaispitmotor alaar gelang het model, zich fig. 11). Deze functie is geschikt voor braden aan het spit, grillen en gratineren. |
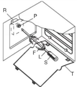
Het draaispit gebruiken
Bij de modellen "CONVECTIONE OVEN" kan het draaispit worden gebruikt in combinatie met de grill.
Nadat u het voedsel op het spit S hebft geplaatst zet u het vast met de twee vorken F. Daarna gaat u als volgt te werk:
- Plaats de spitsteun zoals afgebeeld in (fig. 11)
- Plaats het einde van het spit in motor M aan de achterkant van de oven (fig. 11)
- Plaats de steun in de Ronde groef in het spit.
- Schroef hendel A los en verwijder deze.
- Plaats het ovenblad met een beetje water op de onderste richel van de oven.
- Zet de knop in stand om de motor te starten.
- Deur sluiten
- Wonneer de bereidingsstijd verstreken is de hendel op het spit vastschroeven en alles uit de oven verwijderen. Gebruik zo nodig een ovenhandschoen om brandwonden te voorkomen.

Fig. 11
NUTTIGEWENKEN VOOR DE BEREIDING
In de onderstaande tabel vindt u eenantal nuttgte tips voor de bereiding:
| FOUTEN OORZAKEN OPLOSSINGEN | ||
| De korst aan de bovenkant is te donker Niet genoeg warmte vanaf de - Gebruik de stand en het onderkant is telicht onderkant - Gebruik diepere cakeblikken | natuurlijke convectie - Verlaag de temperatuur - Plaats de cake op een lagere richel | |
| De onderkant is donker en de korst Te veel warmte vanaf - Gebruik de stand tatsächlijke aan de bovenkant is telicht de onderkant - Gebruik lagere bakblikken | convectie - Verlaag de temperatuur | |
| De buitenkant is te gaar en de binnenkant is nicht gaar genoeg | Te hove temperatuur | - Plaats de cake op een hogere richel |
| De buitenkant heeft een goede kleur, maar is te droog | Te hove temperatuur | - Verlaag de temperatuur en verleng de bereidingsstijd |
- Natuurlijke convectie
Verwarm de oven 10-15 minuten voor. Vet het vlees in met een weinig olie,plaats het op de afdruiplaat en zet alles snel in de oven.
-Grillen
Verwarm de grill onceveer 5 minuten voor (totdat het verwarmingselement rood is).
Bereid het ongekruide of gekruide vlees voor enplaats het op de grillpan. Plaats deze op de richel aan de bovenkant. Plaats de afdruiplaat met een beetje water hieronder om het braadvocht op te vangen.
De grill kan na de normale bereiding voor gratineren en bruineren worden gebruikt.
BAKKEN MET VENTILATOR
- Ontdooien
Wanner u voedsel wilt ontdooien, legt u dit met aluminium of polyethyleen verpakking op een bord.
Plaats het geheel op het rooster in het midden van de oven.
Sluit de deur.
- Ventilatoroyen
De oven hoeft ni te worden Voorverwarmd, behalve voor zeer korte bereidingstijden of voor voedsel dat een aanzienlijke hoeveelheid vocht bevat (bivv. vruchtentaart), om condensatie te voorkomen.
In geval van het bereiden van porties kunt u voedsel met ongeveer bezelfde vereidingstemperaturen (zelfs wonneer de tijden verschillen) op twee of meer richels plaatsen, zonder dat de smaken en geuren vermengd worden.
Het is möglichk om voedsel in de oven teplaaten of uit de oven te halen zonder dat hierbij warmteverlies wordt veroorzaakt door het openen van de deur. De warmte worden snel hersteld door middel van de ventilator.
De bereidingstemperaturen zichlager dan bij een convectionele oven (20 tot 30^ voor gebak en 30 tot 40^ voor vlees), terwijl de tijden langer zijn (50^-10 minutes).
- Grill met ventilator
Voorverwarmen is Niet nodig. Het bakken vindt plaats met gesloten door. De afstand tussen de grill en het voedsel hangt af van het vereiste resultaat:
-
dichter bij voor ongaar vlees dat bruin aan de oppervlakte is
-
verder weg voor voedsel dat binnenin volkommen gaar is.
De afdruiiplaat dient op de eerste richel van onderen te worden geplaatst met een weinig water, om de vleessappen op te vangen.
ALLERLEI
Gemarineerd vlees en vlees zonder bot is erder gaar dan ander vlees. U kunt controeren in hoeverre het vlees gaar is door er met een vork in te priken: wanner het nicht meegeeft is het vlees goed gaar.
Wacht ten minste 15 minuten voordat u het vlees snijdt, om het vleessap te konnen lately bezijken.
Alts het vlees gelardeerd of met spek bedekt is mag het Niet bij te hoge temperaturen bereid worden, om spatten te voorkomen.
T aartdeeg dient gesturende 2/3 van de vereidingsstjz zonder vulling gebakken te worden, waarna het deeg gevuld kan worden. De resterende vereidingsstjid is afhankelijk van de garnering (fruit, jam). Zacht deeg mag ne tveeibaar+zijn, aangezien hierdoor de vereidingstjld langer wordt. Plaats pannen niet direct op de ovenplaat, aangezien die warmte die van onder komt dan nicht kan ontsnappen. Hierdoor kan de emaillaag barsten of breknt.
INDICATIEVE TIJDEN EN TEMPERATUREN VOOR HET BAKKEN MET EEN CONVECTIONE OVEN
| Hoveeelheid | Oventemperatuur Rich Bereidingsstijd in °C vanaf de bodem in minutes | ||
| GERECHT | |||
| Zacht deeg: Cake 175 le richel 40-50 | |||
| Biscuitgebak 170 le richel 30 | |||
| Zandkoek: V ruchtentaart 180-190 le richel 20-30 | |||
| Zuurdeeg: Paradise cake 160 le richel 40-45 | |||
| Margareth cake 160 le richel 40-45 | |||
| Chocoladecake 160 le richel 25-35 | |||
| Schuim Meringue | 100 le richel 90 | ||
| Bladerdeeg: V ol-au-vent | 200 le richel 20 | ||
| Bladerdeeg | 200 le richel 20 | ||
| VLEES | |||
| 1½ kg. | Roast-Beef | 190 le richel 90 | |
| 1 kg. | Kalfsgebraad 150-160 le richel | 120-150 | |
| 2 kg. | Kalfs stoofvlees | 170-190 le richel 60-90 | |
| 1½ kg. | Lamsgebraad | 150-160 le richel 60-75 | |
| 1½ kg. | Ramsgebraad | 150-160 le richel 50-60 | |
| 1½ kg. | Bil van Gembs | 200 le richel 90 | |
| 1½ kg. | Bil van everzwijn | 190 le richel | 120 |
| GEVOGELTE: | |||
| Gebraden duif | 150-160 le richel 45 | ||
| 2 kg. | Kalkoen | 150 le richel | 180-240 |
| 4 kg. | Gans | 160 le richel | 240-270 |
| 2½ kg. | Eend | 175 le richel | 90-150 |
| 1½ kg. | Kip | 170 le richel 60-80 | |
| 2½ kg. | Haan | 170 le richel | 120-150 |
| VIS: | |||
| Forel | 200 le richel 15-25 | ||
| 1 kg. | Kabeljauw | 190 le richel 50 | |
| ALLERLEI: | |||
| Lasagne | 200 le richel 40 | ||
| Souffle | 180-200 le richel 20 | ||
| Roomsoes (beignets) | 200 le richel 20 | ||
| Pizza | 200 le richel 20 |
| Hoeveelheid | Oventemperatuur Richel Bereidingsstijd | in °C vanaf de | bodem in minuten | |
| GERECHTZacht deeg: Cake 175 2e richel 45Biscuitgebak 170 2e richel 35Taart 170 2e richel 40Zandkoek: Appeltaart 200 2e richel 35Taart 200 3e richel 30Zuurdeeg: Cake 170 2e richel 35Tulband 170 2e richel 40Koekjes 180 2e richel 25Schuim: Meringue | 110richel 20 | 1e en 2e richel | 35 | |
| VLEESVarkensvlees: | ||||
| 1 kg. | GebraadLapje vlees | 220 2e richel | 90 | |
| 1 kg. | 200 1e richel | 60 | ||
| 1 kg. | FiletBout | 200 1e richel | 60 | |
| 1 1/2 kg. | 200 1e richel | 90 | ||
| 1 kg. | RolladeWorst | 180 2e richel | 85 | |
| 1 1/2 kg. | 170 1e richel | 45 | ||
| Rundvlees: | ||||
| 1 kg. | Spit | 220 1e richel | 95 | |
| 1 kg. | Filet | 220 1e richel | 75 | |
| 1 kg. | Rosbief | 240 2e richel | 45 | |
| Gepofte aardappelen 230 1e richel 45 | ||||
| Kailsvlees: | ||||
| 1 kg. | Bout | 200 1e richel | 95 | |
| 1 kg. | Gebraad | 180 2e richel | 90 | |
| 2 kg. | Kluif | 180 1e richel | 100 | |
| 1 kg. | Borst 180 1e richel 60 | |||
| Lamsvlees: | ||||
| 1 kg. | Bout | 200 2e richel | 95 | |
| 1 kg. | Schouder 175 1e richel 70 | |||
| Schapenvlees: | ||||
| 1 kg. | Schouder | 180 1e richel | 85 | |
| 1 1/2 kg. | Bout | 200 1e richel | 90 | |
| 1 1/2 kg. | Borst 180 1e richel 70 | |||
| Wild: | ||||
| 1 kg. | Gebraden fazant | 200 1e richel | 70 | |
| 2 kg. | Gebraden haas | 175 1e richel | 75 | |
| Konijn | 175 1e richel | 75 | ||
| Gevogelte: | ||||
| 1 1/2 kg. | Kalkoen 180 2e richel 70 | |||
| 1 kg. | Parelhoen 180 2e richel 65 | |||
| 2 kg. | Eend 180 1e richel 90 | |||
| 1 kg. | Kip | 175 2e richel | 75 | |
| 1 kg. | Gepeperdekip | 200 1e richel | 75 | |
| VIS: | ||||
| 1 1/2 kg. | Dentex | 180 1e richel | 45 | |
| 1 kg. | Gegratineerde tong | 200 1e richel | 25 | |
| ALLERLEI: | ||||
| Lasagne | 200 2e richel | 40 | ||
| Cannelloni | 200 2e richel | 40 | ||
| Pizza | 200 | 1e en 2e richel | 45 | |
| Maraschino-pudding | 175 1e richel | 45 | ||
| Roomsoes | 175 2e richel | 20 | ||
| Souffle | 175 1e richel | 35 | ||
| Gepofte appels | 180 1e richel | 60 |

Om de programmeerknop handmatig te bedieren draait u de knop gegen de wijzers van de klok inaar. Stel de bereidingsstijd in door de knop in de richting van de wijzers van de klok te draaien. Kies de bereidingsstijd met de waar voor bestemde knop (max. 120 minutes). De oven schakelt automatisch uit wanner de bereidingsstijd verstreken is.
Klok "Led"
Voorzieningen
24 ukr klok met automatisch programma en minutenteller.
Functies
Bereidingsstijd, einde bereidingsstijd, handmatige stand, klok, minutenteller, tijdenuron worden ingesteld tot 23 aur 59 minuten.
Display
4 cijfers, 7 segmenten display voor bereidingstijden en tijd.
Bereidingsstijd en handmatige functie = steelpansymbool
Automatische functie = AUTO
Minutenteller = kloksymbool
De symbolen lichten op wanner de betreffende functie worden gekozen.
Instellen
Om in te stellen drukt u op de gewenste functie, laut u deleze weeer los en stelt u binnen 5 seconden de tijd in met behulp van de + en - knappen.

+en -knoppen
Met de + en - knoppen kurz u de tijd verlengen of verkorten met een snelheid die ervan afhangt hoe lang u de knop indrukt.
De tijd instellen
Druk op twee knoppen (bereidingsstijd, eindtijd, minutenteller) tegelijkertijd en op de + of - knop om de gewenste tijd in te stellen. Hierdoor worden eerder ingestelde programma's gewist. De contacten worden uitgeschakeld en het AUTO-symbol bool knippert.
Handbediening
Wonneer u op de knop voor handbediening drukt worden de relaiscontacten ingeschakeld, wordt het AUTO-symboluitgeschakeld enlicht het steelpansymbol op. De handbediening kan alleen worden ingeschakeld nadat het automatische programma is afgelopen of opgeheven.
Druk op de knop van de bereidingsstijd of van de eindtijd om automatisch van de handmatige aan de automatische functie te schakelen.
Halfautomatische bediening met ingestelde bereidingsstijd
Druk op de knop van de vereidingstijd en stel de gewensteijd in met + of - Het AUTO-symbool en het symbool van de vereidingsstijd lichten voortdurend op. Het relais worden direct ingeschakeld. Wanneer het einie van de vereidingsstijd overeenkomt met de juisteijd worden het relais en het symbool van de vereidingsstijl uitgeschakeld, gaat het geluidssignaal af en knippert het AUTO-symbool.
Halfautomatische bediening met ingestelde eindtijd
Druk op de knop van de eindtijd. De juiste tijd verschijnt op het display. Stel het einde van de vereidingsstijd in met behulp van de + knop. Het AUTO-symbool en het symbool van de vereidingsstijd lichten voordurdend op. De relaiscontacten worden ingeschakeld. Wanner het einde van de vereidingsstijd overeenkomt met de juiste tijd worden het relais en het symbool van de vereidingsstijd uitgeschakeld. Wanner de vereidingsstijd verstreken is knippert het AUTO-symbool, gaat het geluidssignaal af en worden het relais en de knop van de vereidingsstijd uitgeschakeld.
Automatische bediening met ingestelde bereidingsstijd en eindtijd
Druk op de knop van de vereidingsstijd en kies de vereidingsstijd met behulp van de + of - knop. Het AUTO-symbool en het symbool van de vereidingsstijd lichten voordurend op. Het relais worden ingeschakeld. Wanner u op de knop van het einde van de vereidingsstijd drukt verschijnt de volgende eintijd van de vereidig op het display. Stel het einde van de vereidingsstijd in met behulp van de + knop. Het relais en het symbool van de vereidingsstijd worden uitgeschakeld. Het symboollicht opniewu op wanner de juiste tijd overeenkomt met de begintijd van de vereiding. Wanner de vereidingsstijd is verstreken knippert het AUTO-symbool, gaat het geluidssignaal af en worden het symbool van de vereidingsstijd en het relaisuitgeschakeld.
Minutenteller
Druk op de knop van de minutenteller en stel de bereidingstijd in met behulp van de + of - knop.
Het kloksymboolicht op wanner de minutenteller werkt. Wanner de ingestelde tijd is verstreken gaat het geluidssignaal af en wordt het kloksymbooluitgeschakeld.
Geluidssignaal
Het geluidssignaal gaat af aan het einde van een programma of de functie van de minutenteller en duurt 15 minuten. Om het signaal te stoppen drukt u op een van de functieknoppen.
Startprogramma en controle
Het programma start 4 seconden nadat het is ingesteld. Het programma kan op ieder moment gecontroleerd worden door op de betreffende knop te drukken.
Instelfout
Een instelfout wordt gemaakt als de tijd van de klok bennen de begin- en eindhoven van de bereiding valt. Om de instelfout te corrigeren verandert u de bereidingstijd of de eindhoven van de bereiding. De relais worden uitgeschakeld wonneer er een instelfout wordt gemaakt.
Een instelling annuleren
Om een instelling te annuleren drukt u op de knop van de bereidingstijd en drukt u verwolgens op de - knop totdat 00 00 verschijnt op het display. Een ingesteld programma worden automatisch geannuleerd na de voltooiing.
Bakvormen en serviesgoed
In de oven mag u alleen warmte bestendig keukengerei gebruiken, dat minimaal 300^ Kan verdragen; metalen bakvormen, aluminiumfolie, ovenvast glas, keramiek, glaskeramiek en ovenvast aardewerk.
De aard van het gebruekte keukengerei kan het eindresultaat beinvloeden; zo geven bv. donker gekleurde bavoren een snellere en betere bruinkleuring van gebak danlicht gekleurde bakvormen.
Ovenniveau's
De verschillende ovenniveau's zijn in figuur A aangegeven. De 1^e richel is de laagste stand, de 5^e richel de hoogste.



Ovenaccessoires
Afhankelijk van he type kan uw oven uitergerust zich met de volgende accessoires:
Rooster: (fig. B)
Hierop worden gebak en ovengerechten gezet die in een bakvorm of een ovenschotel worden bereid. Ook kan voedsel, bv. vlees bij het grilleren, direct op ht rooster worden geplaatst.
Bakplaat: (fig. C)
Deze plaat wordt gbruikt voor het bakken van koekjes, soesjes, pizza's en alla andere soorten gerechten die zonder bakvorm worden gebakken. Voor een goede warmte verdeling dient de bakplaat met de ongelijke zijde waar achteren gericht, in de oven te worden geplaatst.
REINIGEN EN ONDERHOUD
Wacht totdat het apparaat is afgekoeld voordat u het gaat reinigen.
Haal de stekker van het apparaat uit het stopcontact of schakel de hoofdschakelaar uit. Reinig de gelmailleerde, verchroomde en geschilderde onderdelen met warm water en zoep of een Niet-corrosief vloeijaar reinigingsmiddel.
Reinig roestvrijstalen onderdelen met brandspiritus van een geschikte oplossing.
Reinig aluminium onderdelen of randen met watten of een lap met valseine olie op basis van zaden. Reinigen en verrolgens afnemen met brandspiritus. Gebruik nooit
schuirmiddelen, corrosieve reinigingsmiddelen, bleekmiddelen of zuur om de oven te reinigen.
Laat geen corrosieve of zure substanties (citroensap, azijn, etc) acheer op gelmailleerde, geschildderde of roestvrijstalen onderdelen.
De ovendeur verwijderen (Fig. 21)
Om het reinigen te vergemakkelijnen kutn u de ovendeur als volgt verwijderen:plaats haak A (fig. 21) in scharniergleuf B. Zet de deur halopen en trek de deur met beiden handen maar u toe, totdat deze losraakt. Om de deur terug te plaatsen voert u dezelfde handled in omgekeerde volgorde uit. Let.daar bij op dat u de twee sectors C op juiste wijze terugplaatst.
Ovendeur verwijderen (vast draaipunt fig. 21B/B1)
Grondige reiniging van de oven wordt eenvoudiger als u de deur verwijdert, dit doet u op de volgende manier:
Zet de deur helemaal open en duw hem voorzichtig aan beneden (figuur 21B)
zodat de haken "A" van het scharnier in de opening "B" vallen (figuur 21B1). Trek met beiden handen de deur maar u toe totdat hij lokomt.
Om de deur terug te plaatsen de bovenstaande procedure in omgekeerde volgorde herhalen.
Panelen (Fig. 23)
Druk de haken ieets maar beneden om het frame te verwijderen.
Ovenlicht (Fig. 24)
De ovenlamp is een special soort gloeilamp die bestand is gegen hoge temperaturen. U kunt deze als volgt verwangen: haal de stekker van de oven uit het stopcontact of schakel de hoofdschakelaar uit. Verwijder het beschemende glas (A) en verrang de opgebrande lamp door een lamp van hetzelfde type. Plaats het beschemende glas terug.
Belangrijk: wanneer u besluit om de oven Niet meer te gebruiken, dient u deze onbruikbaar te maken door het elektriciteitsnoer door te knippen nadat u dit uit het stopcontact hebt gehaald. In onbruik geraakte apparatuur kan gevaarlijk zich wanneer kinderen ermee spelen. Om die reden is het aan te raden de oven veilig te maken.



Wacht totdat het apparaat is afgekoeld voordat u het gaat reinigen.
Haal de stekker van het apparaat uit het stopcontact of schakel de hoofdschakelaar uit. Reinig de gelmailleerde, verchroomde en geschilderde onderdelen met warm water en zoep of een Niet-corrosief vloeijaar reinigingsmiddel.
Reinig roestvrijstalen onderdelen met brandspiritus van een geschikte oplossing.
Reinig aluminium onderdelen of randen met watten of een lap met vaseline of olie op basis van zaden. Reinigen en verrolgens afnemen met brandspitus. Gebruik nooit schuirmiddelen, corrosieve reinigingsmiddelen, bleekmiddelen of zour om de oven te reinigen.
Laat geen corrosieve of zure substanties (citroensap, azijn, etc) acheer op gelmailleerde, geschildderde of roestvrijstalen onderdelen.
De ovendeur verwijderen (Fig. 21)
Om het reinigen te vergemakkelijnen kut u de ovendeur als volgt verwijdenen: plaats haak A (fig. 21) in scharmiergleuf B. Zet de deur halopen en trek de deur met beiden handen maar u toe, totdat deze losraakt. Om de deur terug teplaaten voert u dezelfde handleding in omgeekerde volgorde uit. Let.daar bij op dat u de twee sectors C op juiste wijze terugplaatst.
Ovendeur verwijderen (vast draaipunt fig. 21B/B1)
Grondige reiniging van de oven wordt eenvoudiger als u de deur verwijdert, dit doet u op de volgende manier:
Zet de deur helemaal open en duw hem voorzichtig aan bereden (figuur 21B)
zodat de haken "A" van het scharnier in de opening "B" vallen (figuur 21B1).
Trek met bye handen de deur maar u toe totdat hij loskomt.
Om de deur terug te plaatsen de bovenstaande procedure in omgekeerde volgorde herhalen.
Panelen (Fig. 23)
Druk de hakenietsnarbenedenomhet frame te verwijderen.
Ovenlicht (Fig. 24)
De ovenlamp is een special soort gloeilamp die bestand is gegen hoge temperaten. U kunt deze als volgt verrangen: haal de stekker van de oven uit het stopcontact of schakel de hoofdschakelaar uit. Verwijder het beschemmende glas (A) en verrang de opgebrande lamp door een lamp van hetzelfde type. Plaats het beschemmende glas terug.
Belangrijk: wanneer u besluit om de oven Niet meer te gebruiken, dient u deze onbruikbaar te maken door het elektriciteitssnoer door te knippen nadat u dit uit het stopcontact hebt gehaald. In onbruik geraakte apparatuur kan gevaartijk zich wanneer kinderen ermee spelen. Om die reden is het aan te raden de oven veilig te maken.




Voor de keuken van uw leven
ATAG ETNA PELGRIM HOME
PRODUCTS B.V.
AFDELING SERVICE
POSTBUS 249
6920 AE DUIVEN