1841420 - Interphone Ritto - Notice d'utilisation et mode d'emploi gratuit
Retrouvez gratuitement la notice de l'appareil 1841420 Ritto au format PDF.
| Caractéristique | Détails |
|---|---|
| Type de produit | Interphone |
| Alimentation | 230 V |
| Fonctionnalités | Communication audio bidirectionnelle |
| Installation | Montage mural, câblage requis |
| Dimensions | Dimensions compactes adaptées à tous les types d'entrées |
| Matériaux | Boîtier en plastique résistant |
| Maintenance | Nettoyage régulier avec un chiffon doux, vérification des connexions |
| Sécurité | Protection contre les surcharges électriques |
| Compatibilité | Compatible avec d'autres systèmes d'interphone Ritto |
| Garantie | 2 ans |
FOIRE AUX QUESTIONS - 1841420 Ritto
Questions des utilisateurs sur 1841420 Ritto
0 question sur cet appareil. Repondez a celles que vous connaissez ou posez la votre.
Poser une nouvelle question sur cet appareil
Téléchargez la notice de votre Interphone au format PDF gratuitement ! Retrouvez votre notice 1841420 - Ritto et reprennez votre appareil électronique en main. Sur cette page sont publiés tous les documents nécessaires à l'utilisation de votre appareil 1841420 de la marque Ritto.
MODE D'EMPLOI 1841420 Ritto
Généralités • Installation • Montage • Mise en service • Station de porte/adaptateurs de secteur • Service

Paquete completo Entravox
Bien utiliser ce manuel
Cette notice vous fournit les informations dont vous avez besoin pour l'installation, le montage et la mise en service d'un système de communication de porte TwinBus. Seuls les apparèils cites dans le sommaire sont décrits ici.
Conservez cette notice d'utilisation pour pouvoir la consulter ultérieurement.
Explication des symboles employés
Symboles de danger :

Nature et origine du danger
Ce symbole de danger met en garde contre un risque de blessure corporelle.

Nature et origine du danger
Ce symbole de danger met en garde contre un risque de détérioration des apparèils, de dégradation de l'environnement ou d'autres biens matériels.
Informations importantes :

Remarque:
Ce symbole n'indique nullement une consigne de sécurité, mais fournit des informations visant à une meilleure compréhension du fonctionnement.

Ce symbole invite à préter attention à un signal sonore émis par un apparéil. La longueur du son sert à confirmer l'enregistrement de certains réglages.
Symboles employés sur le plan de branchement

Ce symbole sur le plan de branchement indique que les blindages des lignes doivent être reliés entre eux.
Abréviations
ED Touche d'etage
TO Gache electrique
UV Tableau de distribution secondaire
Désignation des bornes
a Borne bus
b Borne bus
ED Touche d'etage
ED Touche d'etage
a1 Ligne bus principale
a2 Ligne bus principale
a3 Ligne bus principale
Composition des numérios d'article
Le numero d'article de la page titre comprend quatre informations.
- RTY Identification de la fabrication
18411 Numéro de l'appareil
20 Identification de la couleur
01 Identification des paysCi-dessous seul le numéro de l'appareil est indiqué.
Généralités
Réseau
Les lignes électriques existantes peuvent servir de lignes de bus. Nous recommendons les lignes de télécommunication courantes suivantes :
- CAT 1 (pour Audio)
CAT3
Cable de télécommunication J-Y (St) Y - Câble de télécommunication J-2Y (z) Y avec collier de délestage du cable
Cable de terre telecoms, impermeable a l'eau longitudinalement et transversalement
Organisation des lignes
Il est recommandé de faire passer les lignes bus d'un participant à l'autre et de les raccarder à la borne correspondante des apparèils.
Tous les blindages et les conducteurs dégagés doivent être reliés entre eux et raccordés à la borne b de l'unité d'alimentation TwinBus. Veuillez employer des bornes adaptées à cet usage (non fournies avec l'appareil).
Pour respecter les directives générales de sécurité des installations de télécommunication imposées par la norme VDE 0800 et éviter les parasites sur les lignes, il convient de veiller à une bonne séparation de la tension secteur et de la très BASSE tension de sécurité ( ligne TwinBus). Respecter une distance de 10 cm lors de l'installation. Si les deux lignes sont posées en commun dans une goulotte, prévoir une cloison de séparation.
Les lignes de bus a/b ne doivent pas etre terminées par des résistances de terminaison.

Dysfonctionnement du à des champs magnétiques intenses.
Il ne faut, à proximé immediate des unités d'alimentation et des modules complémentaires,aucun autre apparéil émettant des champes magnétiques intenses (protections, transformateurs, etc.). Les pointes de tension induites peuvent provoquer des dysfonctionnements.
Longueurs maximes des lignes
La résistance de boucle de chaque ligne TwinBus ne doit pas excéder 20 ohms. On obtient donc les longueurs maximales de ligne suivantes :
Diametre du fil en mm 0,8 0,6
Résistance en ohms/m 0,0349 0,0621
Longueur de ligne entre l'unité d'alimentation TwinBus 1 7573 et le 280m160m telephone interieur
Longueur de ligne entre l'unité d'alimentation TwinBus 1 7573 et le 60m30m portier (eclairage)
Longueur de ligne entre l'unité d'alimentation TwinBus 1 7573 et la 50m30m gâche électrique jusqu'à 8 V/1 A
Particularités pour la renovation

Remarque :
S'il y a des cables YR, tous les conducteurs libres sur l'unité d'alimentation TwinBus doivent être reliés à une borne b pour servir de blinding.
Raccordement secteur

Détérioration des appareils par une surtension ou un court-circuit.
Une surtension ou un court-circuit peut endommager les apparèils. Le branchement s'effectue directement sur la tension secteur 230V ± 10% . L'alimentation doit se faire par l'intérimédiaire d'un disjoncteur n'exçédant pas 10 A.
Veuillez notes que vous aurez besoin d'une alimentation de 230 V/AC pour les unités d'alimentation et les transformateurs, même si celle-ci n'est pas explicitement représentée sur les schémas de branchement.
Chargeélectrostatique

Risque de détérioration des appareils par des charges electrostatiques (ESD).
En cas de contact direct avec les circuits imprimés, les apparciels risquent d'être détruits par une charge electrostatique. Déchargez-vous avant de toucher l' apparéil.
Usage conforme
Le système de communication de porte est destiné au contrôle d'accès et aux communications internes dans les immeubles d'habitation.
Toute autre utilisation est considérée comme non-conforme à la destination. Le fabricant ne pourra nullement être tenu responsable des dommages resultant d'une utilisation non conforme. L'installateur est seul responsable du risque encouru.
L'utilisation conforme suppose également le respect des directives du fabricant en matière d'utilisation et d'entretien. L'installation ne doit être installée et entretenue que par des personnes habilitées, connaissant l'installation et les risques qu'elle comporte.
Nettoyage
Les surfaces des apparils TwinBus peuvent s'encrasser sous l'effet de l'environnement et d'un usage fréquent. Nettoyez les surfaces à l'aide d'un chiffon humide et d'un nettoyant menager doux.
Veillez à ce que les parties en plastique du portier (par ex. les plaques portant le nom) n'entrent pas en contact avec ce produit d'entretien.
Suivez les instructions du fabricant du produit.
Tous les apparèils TwinBus sont construits conformément aux directives suivantes :
- Directive européen «Compatibilité electromagnetique» 89/336/CEE ou 2004/108/CE (dans sa version actuellement en vigueur).
- Directivesasse tension 72/23/CEE (dans leur version actuellement en vigueur).
Les apparèils TwinBus portent le sigle de contrôle CE. La conformité a été contrôleé. Les documents correspondants sont déposés chez le fabricant.

Danger de mort par electrocution.
Dans le cas d'un montage apparent de l'unité d'alimentation, le capot de protection des bornes doit être place au-dessus de la borne de raccordement 230 V. Avant desterolerlecapotdeprotectiondesbornes,ilfautmettrel'appareil hors tension.

Détérioration de l'appareil par des effets environnementaux.
Les apparêils ne doivent pas être montés à l'extérieur ou dans des locaux humides.
Installation
Système de communication de portepour habitation individuelle
Chaque habitation peut être appelée séparément depuis la porte d'entrée de l'immeuble. Le bouton d'appoint de la porte du logement (touché d'étage) se raccoire directement au téléphone interieur. Les appeals entrants au niveau du portier et de la touche d'étage (ED) sont automatiquement signalés par des sonneries différentes. La gâte électrique (TÖ) située au niveau de la porte principale peut être commandée depuis tous les téléphones interieurs.

Scheme de branchement : Interphone pour habitation individuelle ou collective

Scheme de branchement : Interphone pour habitation individuelle ou collective * Eclairage inclus

Montage
Alimentation secteur


Telephone interieur TwinBus 1 7630
Le montage du téléphone interieur TwinBus 1 7630 est decrit dans ce qui suit.
Branchement

Montage
Veuillez remetre le mode d'emploi de l'appareil TwinBus à votre client.
Montage en applique
Voutrouverez la borne dans l'emballage.


A Montage mural
B Montage sur boîte d'encastrement
Mise en service
La mise en service peut se faire par l'intermédiaire du téléphone interieur.
Pour que l'utilisateur puisse modifier le signal sonore de la sonnerie principale, lors d'un nouveau paramétrage, la sonnerie principale est le premier bouton d'appoint à paramétrrer. Répétez ensuite la procédure pour les autres boutons d'appoint.
Lors de la mise en service à deux personnes, vous pouvez utiliser le système vocal.
Mise en service par une seule personne
Action Résultat

Maintenir appuyé pendant >5 sec. clignote


Appuyer dans un début d'une minute sur la touche à attribuer au portier

Signal sonore pour confirmation au téléphone d'intérieur et au portier
Mise en service à deux personnes
Action Résultat

Maintenir appuyé pendant >5 sec. clignote


Transmettre par liaison vocale la touche à attribuer

Appuyer dans un-delai d'une minute sur la touche à attribuer au portier


Signal sonore pour confirmation au téléphone d'intérieur et au portier

^+ Son bref : L'appareil est pret a fonctionner.
Pas de son: Délai dépasse.
Son prolongé: Éché du paramétrage.
Si la durée a eté dépassée :
Repetez la Procedure.
Si le processus de programmation a échoué :
Vérifiez si la protection de réglage est activée sur l'unité d'alimentation TwinBus - voir page 42.
Effacer les paramétrages
Cette fonction permet d'effacer tous les réglages et tous les boutons d'appel programmés. Avant de les effacer, notez eventuèlement les paramètres client actuels.
Action Résultat

+



Maintenir appuyé pendant 5 sec. Signal sonore servant de confirmation

Son bref : Les réglages ont été effacés.
Son prolongé : Les réglages n'ont pas été effacés.
Si les réglages n'ont pas été effacés :
Vérifiez si la protection de réglage est activée sur l'unité d'alimentation TwinBus - voir page 42.
Repetez la Procedure.
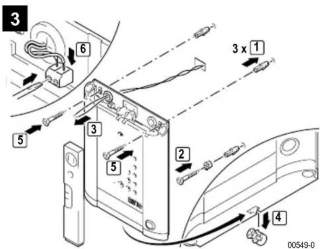
Portier Entravox
Montage
1

00547-0

2


Branchement

Scheme de branchement : Branchement du portier
Unité d'alimentation TwinBus 1 7573
Description de l'appareil
L'unité d'alimentation assure l'alimentation électrique des apparêils branchés sur le TwinBus. Elle commande le portier et fournit des fonctions utilisables par les participants raccordés.
Branchements
L, N Branchement secteur 230 V
1, 2, 3, 4 Porte station, avec polarités
3, 21 Gache électrique
11, b Commande externe pour le relais de la gâche électrique
a1, b Ligne de bus principale 1
a2, b Ligne de bus principale 2
a3, b Ligne de bus principale 3
Système de bus pour l'alimentation de modules complémentaires
Réglage de la temporisation de la gâche électrique
La temporisation de la gâche électrique peut être réglée entre 1 et 120 sec. Réglage par défaut : 3 secondes.
Action Résultat

Ouvrir le couvercle en plexiglas de l'unité d'alimentation 17573


Maintenir "Z" appuyé la diode LD1 (jaune) clignote
Pour d'autres informations sur l'unité d'alimentation, reportez-vous au chapitre Service - page 43.
Effacer les paramétrages
Action Résultat

Appuyer sur "P" puis sur "Z" pendant >5 secondes

jusqu'à ce que la diode LD 1 clignote brievement en jaune
Désactiver/Activer la protection de réglage
Action Résultat

Ouvrir le couvercle en plexiglas de l'unité d'alimentation 17573

Appuyer sur "Protection prog"

jusqu'acce que la diode LD 3 soit allumee en vert ON


Appuyer sur "Protection prog" jusqu'à ce que LD 3 (vert) s'éteigne OFF

Remarque:
La protection de réglage demeure après activation sur l'unité d'alimentation TwinBus 1 7573 dans le téléphone interieur même lorsque le téléphone interieur est mis hors tension.
Service
Points de mesure
Unité d'alimentation TwinBus 1 7573
| Borne Charge Tension théorique | |
| a1 b ouvert/câblé 24 V DC à 30 V | |
| a2 b ouvert/câblé 24 V DC à 30 V | |
| a3 b ouvert/câblé 24 V DC à 30 V | |
| 1 b pas de communication voca- le avec la porte | 0 V DC |
| 1 b si communication vocale avec la porte | 24 V DC |
| 2 b pas de communication voca- le avec la porte | 30 V DC |
| 2 b si communication vocale avec la porte | 0 V DC |
| 3 4 sans charge 11 V AC | |
Telephone interieur TwinBus
| Borne Tension théorique | |
| a b 20 V DC à 28 V | |
| ED ED _ | 20 V DC à 28 V |
Fusible thermique
Au lieu du fusible traditionnel, l'unité d'alimentation 1 7573 est équipée de deux protections électroniques qui coupent le circuit correspondant en cas de surcharge.
Si l'une de ces protections déclenché, la diode correspondante de l'affichage de tension s'éteint dans l'unité d'alimentation. Proceder comme suit pour redémarrer :
Couper la tension reseau et la laisser arrêtée pendant environ 1 minute.
Supprimer le court-circuit ou la surcharge.
Rétabir la tension réseau.
La diode concernée de l'affichage de tension se rallume dans les unités d'alimentation.
Messages de service
Unité d'alimentation TwinBus 1 7573

Affichage Signification
Diode 1 (jaune) clignote Réglage de la temporisation de la gâche électrique (la diode clignote toutes les secondes lors du réglage de la temporisation de la gâche électrique) ou mode d'apprentissage actif pour les ordres de commutation.
Diode 2 (rouge) allumée Signale la transmission d'ordres de bus, par ex.:
- On décroche ou on raccroche le combiné.
- On actionne le bouton d'appel.
- On actionne la gâche électrique ou la touche
- Un appel interne ou un ordre de commutation est lancé.
Diode 2 (rouge) clignote. La mise en service par l'intermédiaire de la touche d'etage est activée.
Diode 3 (verte) allumée La protection de réglage est activée.
Diode 4 (rouge) allumée - Surcharge ou court-circuit sur le bus de système.
Diode 5 (verte) allumée - Communication vocale avec porte activée.
Diode 6 (jaune) allumée · Affichage de tension continue (tension bus)
Diode 7 (jaune) allumée · Affichage tension alternative (gâché électrique)
Diode 8 (rouge) allumée - Le relais de la gâche électrique est activé.
Notice Facile