FXSS740 - Souffleur à neige Fuxtec - Notice d'utilisation et mode d'emploi gratuit
Retrouvez gratuitement la notice de l'appareil FXSS740 Fuxtec au format PDF.
| Caractéristiques techniques | Souffleur à neige Fuxtec FXSS740, moteur thermique 4 temps, puissance 7 HP, largeur de travail 74 cm, hauteur de déneigement jusqu'à 30 cm. |
|---|---|
| Utilisation | Idéal pour déneiger les allées, les trottoirs et les surfaces de stationnement. Facilité d'utilisation grâce à son guidon ergonomique et ses commandes intuitives. |
| Maintenance et réparation | Vérifier régulièrement le niveau d'huile, nettoyer le filtre à air, et inspecter les lames. Consulter le manuel d'utilisation pour les procédures de maintenance détaillées. |
| Sécurité | Porter des équipements de protection individuelle (gants, lunettes de sécurité). Ne pas diriger le souffle de neige vers des personnes ou des animaux. |
| Informations générales | Poids : 90 kg, dimensions : 140 x 75 x 100 cm, garantie de 2 ans. Vérifier la disponibilité des pièces de rechange avant l'achat. |
FOIRE AUX QUESTIONS - FXSS740 Fuxtec
Comment démarrer le souffleur à neige Fuxtec FXSS740 ?
Assurez-vous que le réservoir est plein de carburant et que le commutateur est en position 'ON'. Tirer doucement sur le cordon de démarrage jusqu'à ce que vous ressentiez une résistance, puis tirer rapidement pour démarrer le moteur.
Que faire si le souffleur à neige ne démarre pas ?
Vérifiez le niveau de carburant, la position du commutateur et l'état de la bougie d'allumage. Assurez-vous également que le réservoir n'est pas obstrué et que le filtre à air est propre.
Comment régler la direction du souffle de neige ?
Utilisez le levier de direction sur le panneau de commande pour ajuster l'angle de la goulotte de sortie. Cela vous permettra de diriger le souffle de neige là où vous le souhaitez.
Quelle est la largeur de déneigement du Fuxtec FXSS740 ?
Le Fuxtec FXSS740 a une largeur de déneigement de 74 cm, ce qui le rend efficace pour dégager de grandes surfaces de neige.
Comment entretenir le souffleur à neige ?
Après chaque utilisation, nettoyez la machine pour enlever la neige et la glace. Vérifiez régulièrement le niveau d'huile, changez l'huile selon les recommandations du manuel et inspectez les pièces pour tout signe d'usure.
Le Fuxtec FXSS740 peut-il être utilisé sur des surfaces pavées ?
Oui, le Fuxtec FXSS740 peut être utilisé sur des surfaces pavées, mais évitez de déneiger des surfaces avec des bordures ou des obstacles qui pourraient endommager la machine.
Quelle est la garantie offerte avec le Fuxtec FXSS740 ?
Le Fuxtec FXSS740 est généralement livré avec une garantie de deux ans, mais cela peut varier selon le revendeur. Vérifiez votre preuve d'achat pour plus de détails.
Comment stocker le souffleur à neige pendant l'été ?
Avant de stocker le souffleur, nettoyez-le soigneusement, vidangez le réservoir de carburant et ajoutez un stabilisateur de carburant si vous prévoyez de le stocker longtemps. Rangez-le dans un endroit sec et frais.
Que faire si la goulotte de sortie se bouche ?
Arrêtez immédiatement le moteur et débranchez la bougie d'allumage. Utilisez un bâton en bois ou un outil similaire pour dégager la goulotte de sortie. Ne jamais utiliser vos mains.
Comment ajuster la hauteur de la goulotte de neige ?
Utilisez le levier de réglage situé près de la goulotte pour ajuster sa hauteur. Cela permet de contrôler la distance à laquelle la neige est projetée.
Questions des utilisateurs sur FXSS740 Fuxtec
0 question sur cet appareil. Repondez a celles que vous connaissez ou posez la votre.
Poser une nouvelle question sur cet appareil
Aucune question pour l'instant. Soyez le premier à en poser une.
Téléchargez la notice de votre Souffleur à neige au format PDF gratuitement ! Retrouvez votre notice FXSS740 - Fuxtec et reprennez votre appareil électronique en main. Sur cette page sont publiés tous les documents nécessaires à l'utilisation de votre appareil FXSS740 de la marque Fuxtec.
MODE D'EMPLOI FXSS740 Fuxtec
Pelle à neige sur roues
FX-SS740

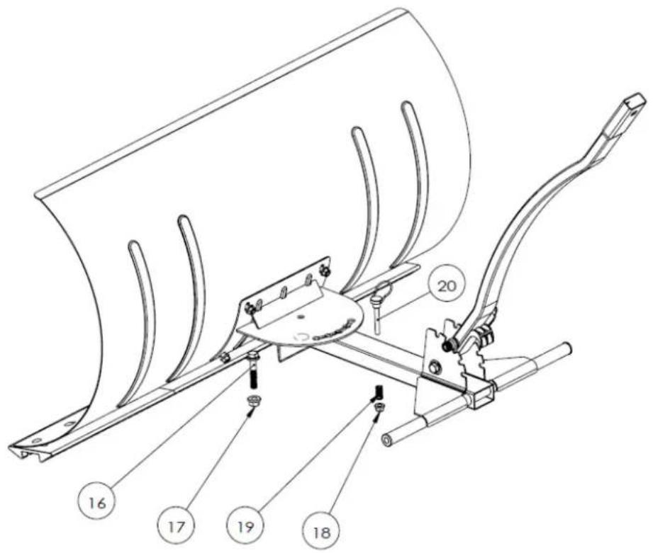
| NO. | NOM | QTE |
| 1 | Lame de déneigement | 1 |
| 2 | Lèvre en caoutchouc pour nettoyage | 3 |
| 3 | M6 * 15 Vis à tête carrée | 12 |
| 4 | M6 écrou à tête carrée | 12 |
| 5 | M6 * 15 Vis à tête creuse hexagonale | 4 |
| 6 | M6 Écrou à tête hexagonale | 4 |
| 7 | Plaquette de fixation | 1 |

| NO. | NOM | QTE |
| 8 | Support principal | 1 |
| 9 | Ressort de tension | 1 |
| 10 | Écrou en aluminium | 1 |
| 11 | Joint en plastique | 1 |
| 12 | Poignée en aluminium | 1 |
| 13 | Embout de tige en plastique | 1 |
| 14 | M6 * 40 vis plate | 1 |
| 15 | Écrou | 1 |

| NO. | NOM | QTE |
| 20 | Barre supérieure avec poignée | 1 |
| 21 | Ecrou en plastique | 1 |
| 22 | M8*30 Vis à tête ronde à col carré | 1 |

Notice Facile