FXSS740 - Odśnieżarka Fuxtec - Bezpłatna instrukcja obsługi
Znajdź bezpłatnie instrukcję urządzenia FXSS740 Fuxtec w formacie PDF.
Questions des utilisateurs sur FXSS740 Fuxtec
0 question sur cet appareil. Repondez a celles que vous connaissez ou posez la votre.
Poser une nouvelle question sur cet appareil
Aucune question pour l'instant. Soyez le premier à en poser une.
Pobierz instrukcję dla swojego Odśnieżarka w formacie PDF za darmo! Znajdź swoją instrukcję FXSS740 - Fuxtec i weź swoje urządzenie elektroniczne z powrotem w ręce. Na tej stronie opublikowane są wszystkie dokumenty niezbędne do korzystania z urządzenia. FXSS740 marki Fuxtec.
INSTRUKCJA OBSŁUGI FXSS740 Fuxtec
| NIE. | NAZWA | ILOŚĆ |
| 1 | Ostrze śnieżne | 1 |
| 2 | Czyszczenie wargi | 3 |
| 3 | Śruby kwadratowe M6*15 | 12 |
| 4 | Nakrętka kwadratowa M6 | 12 |
| 5 | Śruby z łbem gniazdowym sześciokątnym M6*15 | 4 |
| 6 | Nakrętka z łbem sześciokątnym M6 | 4 |
| 7 | Płyta odwracalna | 1 |

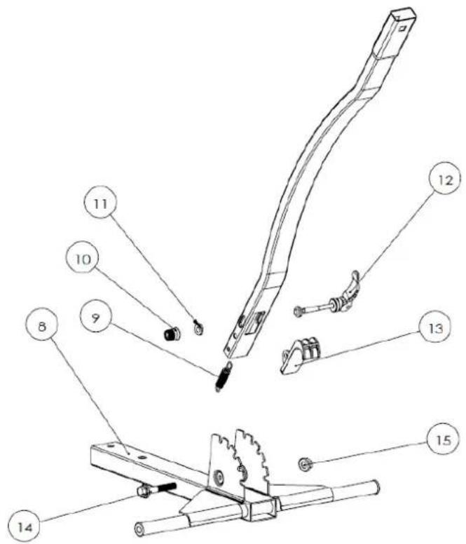
| NIE. | NAZWA | ILOŚĆ |
| 8 | Główny uchwyt | 1 |
| 9 | sprężyna naciągowa | 1 |
| 10 | Nakrętka aluminiowa | 1 |
| 11 | Uszczelka plastikowa | 1 |
| 12 | Uchwyt aluminiowy | 1 |
| 13 | Głowica przegubowa z tworzywa sztucznego | 1 |
| 14 | Śruba płaska M6*40 | 1 |
| 15 | nakrętka | 1 |

| NIE. | NAZWA | ILOŚĆ |
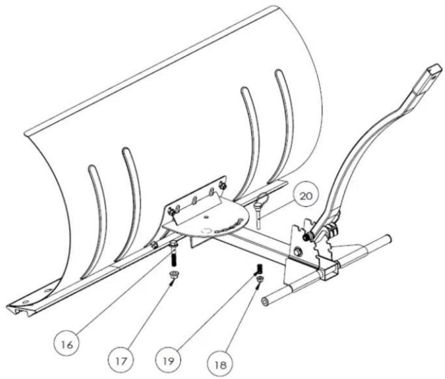
| 16 | Śruba płaska M6*45 | 1 |
| 17 | Płaska śruba M8 | 1 |
| 18 | Śruba płaska M6 | 1 |
| 19 | Watek do rolki | 1 |
| 20 | kotek mocujący | 1 |

| NIE. | NAZWA | ILOŚĆ |
| 20 | Górny drążek z uchwytem | 1 |
| 21 | Plastikowa nakrętka | 1 |
| 22 | Śruba M8*30 z łbem okrągłym i kwadratową szyjką | 1 |

| NIE. | NAZWA | ILOŚĆ |
| 23 | Śruba skrzydełkowa | 2 |
| 24 | 20*8,2*2 plasterki | 4 |
| 25 | Opony | 2 |
ProstaInstrukcja