FXSS740 - Soffiatore per neve Fuxtec - Manuale utente e istruzioni gratuiti
Trova gratuitamente il manuale del dispositivo FXSS740 Fuxtec in formato PDF.
Questions des utilisateurs sur FXSS740 Fuxtec
0 question sur cet appareil. Repondez a celles que vous connaissez ou posez la votre.
Poser une nouvelle question sur cet appareil
Scarica le istruzioni per il tuo Soffiatore per neve in formato PDF gratuitamente! Trova il tuo manuale FXSS740 - Fuxtec e riprendi in mano il tuo dispositivo elettronico. In questa pagina sono pubblicati tutti i documenti necessari per l'utilizzo del tuo dispositivo. FXSS740 del marchio Fuxtec.
MANUALE UTENTE FXSS740 Fuxtec
VERSIONE ITALIANA....21
VERSION ESPANOLA 27
VERSAO PORTUGUESA 33
NEDERLANDSE VERSIE 39
SVENSK VERSION 45
POLSKA WERSJA JEZYKOWA....51
DEUTSCHE VERSION
Schneeschieber
FX-SS740
Montage Anleitung

Istruzioni di montaggio

| NO. | NOME | QTY |
| 1 | Lama da neve | 1 |
| 2 | Guarnizione di pulizia | 3 |
| 3 | M6 * 15 Viti a spalla quadrata | 12 |
| 4 | M6 Dado a spalla quadrata | 12 |
| 5 | M6 * 15 Viti a testa esagonale | 4 |
| 6 | M6 Dado a testa esagonale | 4 |
| 7 | Piastra reversibile | 1 |

| NO. | NAME | QTY |
| 8 | Supporto principale | 1 |
| 9 | Molla di tensione | 1 |
| 10 | Dado in alluminio | 1 |
| 11 | Guarnizione di plastica | 1 |
| 12 | Leva in alluminio | 1 |
| 13 | Estremità asta in plastica | 1 |
| 14 | M6 * 40 Vite piatta | 1 |
| 15 | Dado a vite | 1 |

| NO. | NAME | QTY |
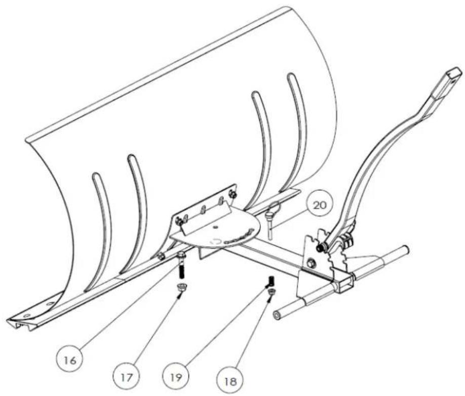
| 16 | M6 * 45 Vite piatta | 1 |
| 17 | M8 Dado per vite piatta | 1 |
| 18 | M6 Dado per vite piatta | 1 |
| 19 | Perno di bloccaggio | 1 |
| 20 | Perno di fissaggio | 1 |

| NO. | NAME | QTY |
| 20 | Attacco superiore con maniglia | 1 |
| 21 | Dado di plastica | 1 |
| 22 | Vite a testa tonda M8*30 con collo quadrato | 1 |

ManualeFacile