WMW720 B - Four à micro-ondes Wolkenstein - Notice d'utilisation et mode d'emploi gratuit
Retrouvez gratuitement la notice de l'appareil WMW720 B Wolkenstein au format PDF.
| Caractéristiques | Détails |
|---|---|
| Type d'appareil | Four à micro-ondes |
| Capacité | 20 litres |
| Puissance micro-ondes | 700 watts |
| Nombre de niveaux de puissance | 5 niveaux |
| Fonction de décongélation | Oui |
| Dimensions extérieures | 45,2 x 33,4 x 25,8 cm |
| Poids | 12 kg |
| Type de commande | Manuelle |
| Sécurité enfant | Oui |
| Consommation électrique | 1200 watts |
| Garantie | 2 ans |
FOIRE AUX QUESTIONS - WMW720 B Wolkenstein
Téléchargez la notice de votre Four à micro-ondes au format PDF gratuitement ! Retrouvez votre notice WMW720 B - Wolkenstein et reprennez votre appareil électronique en main. Sur cette page sont publiés tous les documents nécessaires à l'utilisation de votre appareil WMW720 B de la marque Wolkenstein.
MODE D'EMPLOI WMW720 B Wolkenstein
Cher client! Nous tenons à vous remercier d'avoir fait l'acquisition de l'un des produits de notre vaste gamme. Veillez à lire tout le mode d'emploi avant d'utiliser l'appareil pour la première fois. Conservez ce mode d'emploi en un endroit sûr pour toute référence ultérieure. Si vous cédez cet appareil à quelqu'un, vous devez également lui transmettre le mode d'emploi.
Contenu
- Consignes de sécurité 48
1.1 Mots de signalisation 49
1.2 Instructions de sécurité 49
2. Installation 52
2.1 Description de l'ordinateur 53 2.2 Installation de l'appareil 53 2.3 Installation: Plateau rotatif 54
- Utilisation 54
3.1 Panneau de commande 55 3.2 Indications generales pour l'utilisation 55 3.3 Reglage de l'horloge 56 3.4 La cuisson d'aliments 57 3.5 Demarrage rapide 58 3.6 Decongélation 58 3.7 Cuisson automatique 59 3.8Lancement préprogramme 60 3.9 Instructions avec plusieurs étapes 61 3.10 Securite infant.. 61
4. Cuisson au four à micro-ondes 61
4.1 Principes de la cuisson au four à micro-ondes 61 4.2 Choix de la vaisselle adecquate 62 4.3 Matériaux inappropriés 63
5. Nettoyage et entretien. 63 6. Dépannage 64 7. Caractéristiques techniques 65 8. Misc au reboot. 65 9. Conditions de la garantie 66
Les illustrations contenues dans ce mode d'emploi peuvent légèrement s'écartera la conception effective de votre appareil. Dans ce cas, veuillez suivre la procédure formelle décrite. Livraison sans contenu. Le fabricant se réserve le droit de procéder à des modifications qui n'auraient aucune influence sur le fonctionnement de l'appareil. Veuillez éliminer le matériel d'emballage conformément aux prescriptions locales de votre région. Il est possible que l'appareil que vous venez d'acheter ait été amélioré dans l'intervalle et affiche par conséquent des différences par rapport au mode d'emploi. Cependant, les fonctions et les conditions d'utilisation sont identiques.
si bien que le mode d'emploi peut être utilisé pleinement. Sous réserve de modifications techniques et d'accords d'impression.
Déclaration de conformité CE
Les produits décrits dans ce mode d'emploi correspondent à toutes les exigences harmonisées. Les documents pertinents peuvent être obtenus auprès des autorités compétentes par le biais du revendeur du produit.
Veuillez LIRE attentivement l'ensemble des consignes de securite et des instructions de securite avant la première utilisation de l'appareil.
Les informations contenues servent à protéger votre santé. Le non-respect des consignes de sécurité peut mettre en péril votre santé et entraîner la mort dans le pire des cas.
Conservez ce mode d'emploi pour qu’il soit à portée de main en toutes circonstances. Respectez scrupuleusement toutes les remarques pour éviter les accidents ou une détérioration de l’appareil. Vérifiez toujours l’état technique de l’appareil! Tous les câbles ou fils reliés à l’appareil sont-ils en bon état? Ou sont-ils usés (??) et ne résistent-ils plus à la puissance de l’appareil? C’est pourquoi il est indispensable de faire vérifier les connexions déjà réalisées (voire nouvelles) par un professionnel (électricien). Tous les travaux qui sont nécessaires au raccordement de l’appareil à l’alimentation secteur doivent être effectués exclusivement par un professionnel qualifié (électricien). L’appareil est exclusivement destiné à un usage privé. L’appareil est uniquement destiné à cuisiner des aliments dans le cadre d’un usage familial. L’appareil est uniquement destiné à fonctionner dans des espaces clos. Cet appareil ne peut pas être utilisé à des fins professionnelles, en camping ou dans des transports publics. Utilisez l’appareil uniquement conformément à l’usage prévu. Ne laissez personne utiliser l’appareil s’il ne s’est pas familiarisé avec le mode d’emploi.
Dispositifs de sécurité permettant d'éviter une charge éventuelle du fait d'une action excessive des micro-ondes
1 N'utilisez pas l'appareil lorsque la porte est ouverte car vous vous exposeriez à une charge excessivement élevée et dangereuse de l'énergie hyperfréquence. Ne forcez pas l'ouverture du verrouillage de sécurité. N'altérez pas le verrouillage de sécurité. 2 Ne posez aucun objet entre la face avant et la porte ouverte de l'appareil. Aucune saleté ni résidu de produit nettoyant ne peut s'accumuler sur les joints. 3 N'utilisez pas l'appareil lorsqu'il est endommagé. Il est particulièrement important que la porte se ferme convenablement et que les composants suivants ne soient pas endommagés:
a La porte ne peut pas être déformée. b Les charnières et la serrure ne peuvent pas être cassées ou détachées. c Les joints de porte et la surface des joints.
L'appareil ne peut être réglé ou réparé que par un personnel technique adéquat et qualifié.
1.1 Mots de signalisation
DANGER! renvoie à une situation dangereuse qui, si elle n'est pas évitée, constitue un danger immédiat de mort ou un risque pour la santé.
Avertissement! renvoie à une situation dangereuse qui, si elle n'est pas évitée, constitue un danger de mort imminent ou un risque pour la santé.
PRUDENCE! renvoie à une situation dangereuse qui, si elle n'est pas évitée, peut entraîner des blessures faibles ou modérées.
REMARQUE! renvoie à une situation dangereuse qui, si elle n'est pas évitée, peut eventuellement endommager l'appareil.
DANGER!
- N'utilisez pas l'appareil s'il ne fonctionne pas correctement, s'il est endommagé en apparence ou tombé ou si le câble secteur ou la fiche sont endommagés. S'il devait se produire un dysfonctionnement quelconque du fait d'un défaut
- Veillez à ce que le cable secteur ne se trouve pas sous l'appareil ou ne soit pas endommagé par le déplacement de l'appareil.
- Si le câble secteur est endommagé, il doit être remplacé exclusivement par le fabricant ou un service après-vente/agréé par le fabricant ou une personne qualifiée équivalente.
- N'enlevez jamais la couverture de la guide d'onde.
- Ne réparez jamais l'appareil seul. Les réparations effectuées par des personnes non qualifiées à cette fin peuvent entraîner des blessures graves et des dommages. N'utilisez que des pièces de rechange d'origine.
Avertissement!
- N'utilisez l'appareil qu'avec une tension alternative de 220 240V/50Hz. Avec une tension secteur de 220 240V/50Hz, n'utilisez pas de multiprises, de dominos ou de rallonges.
- L'appareil ne peut être raccordé qu'à une prise correctement reliée à la terre. Utilisez uniquement la prise de sécurité correspondante pour minimiser le risque d'électrocution. La fiche doit être accessible facilement à tout moment.
- Les données techniques de votre alimentation électrique doivent correspondre aux valeurs indiquées sur la plaquette signalétique. Notre courant domestique doit être équipé d'un fusible automatique déconnectant d'office l'appareil.
- Tous les travaux de réparation ou d'entretien qui imposent le démontage de certaines pièces de l'appareil et qui servent à protéger du rayonnement électromagnétique ne peuvent être effectués que par un professionnel agréé.
- L'appareil n'est pas conçu pour être encastré.
- N'utilisez l'appareil qu'avec la porte fermée.
- Une cuisson à la graisse ou à l'huile non surveillée peut être dangereuse et entraîner un incendie. N'essayez JAMAIS d'éteindre un feu entretenu par de l'huile ou de la graisse avec de l'eau. Eteignez plutôt l'appareil et étouffez le feu à l'aide d'un couvercle ou d'une couverture anti-feu.
- Pendant l'utilisation, les pièces accessibles de l'appareil peuvent devenir chaudes. Ne touchez pas aux parties chaudes et éloignez les enfants de l'appareil. RISQUE DE BRULURES!
- N'utilisez pas l'appareil pour sécher des objets tels que du linge ou des journaux humides.
- N'utilisez jamais l'appareil lorsqu'il est vide.
- Voici comment réduire le risque d'incendie à l'intérieur de l'appareil:
a) Vérifiez continuellement l'appareil si vous réchauffez des aliments dans des récipients en plastique ou en papier afin qu'ils ne puissent pas s'enflammer.
b) Retirez les liens métalliques des sacs en plastique ou en papier avant de mettre les sacs dans l'appareil.
c) Eteignez l'appareil et débranchez l'alimentation électrique si vous remarquez la formation de fumée. Laissez la porte fermée pour étouffer les flammes.
d) N'utilisez pas l'appareil à des fins de stockage.
e) Ne laissez pas traîner d'objets en papier, d'ustensiles de cuisine ou d'aliments dans l'appareil si vous n'utilisez pas l'appareil.
- N'utilisez pas l'appareil pour frire. L'huile chaude peut endommager des pièces de l'appareil et provoquer des dommages par brûlures.
- Ne réchauffez jamais des aliments et des liquides dans des récipients fermés car ils peuvent provoquer des explosions.
- Les biberons ou aliments pour bébé en verre doivent être agités ou mélangés. Vérifiez la température des aliments avant de nourrir un enfant. Vous évitezz ainsi qu'il se brûle.
- N'utilisez jamais de nettoyeur à vapeur pour nettoyer l'appareil. La vapeur peut endommager durablement les circuits électriques de l'appareil. RISQUE D'ELECTROCUTION.
- Débranche l'appareil de l'alimentation électrique avant d'effectuer tout entretien ou nettoyage.
- ène) ne tombent pas entre les mains des enfants et animaux. RISQUE D'ETOUFFEMENT!
- Cet appare s sont placés sous la supervision d'une personne chargée de leur sécurité ou que s'ils ont reçu les directives nécessaires à l'utilisation de l'appareil et ont été informés des dangers en résultant. Les enfants ne peuvent pas jouer avec l'appareil. Le nettoyage et l'entretien par l'utilisateur ne peuvent pas être effectués par des enfants sans surveillance.
- Surveillance toujours les enfants afin qu'ils ne jouent pas avec l'appareil. Toucher l'appareil pendant son utilisation peut entraîner des brûlures graves.
- Ne laissez les enfants utiliser l'appareil sans surveillance que s'ils sont étés formés à l'utilisation de l'appareil d'une telle manière qu'ils servir de l'appareil en toute sécurité et ont pris
connaissance des dangers qu'une utilisation inappropriée peut entraîner.
- Lorsque l'appareil est utilisé dans la fonction combinée, les enfants ne peuvent utiliser l'appareil qu'en présence d'un adulte en raison des températures générées.
Attention!
- L'appareil répond à la législation européenne en vigueur relative à la sécurité. Nous voulons toutefois insister expressément sur le fait que cette conformité ne change rien au fait que les surfaces de l'appareil deviennent chaudes pendant l'utilisation et émettent encore une chaleur résiduelle après utilisation.
- Placez le câble secteur de sorte que personne ne puisse trébucher.
- Réchauffer des boissons avec le four à micro-ondes peut provoquer un effet de cuisson différé et soudain. Soyez donc particulièrement attentif lorsque vous retirez des récipients qui contiennent des boissons.
- Ne réchauffez pas d'œufs frais ou cuits durs dans l'appareil car ils peuvent exploser, même après les avoir réchauffés.
- Les ustensiles de cuisine peuvent être chauds en raison de la chaleur transmise par les aliments. Utilisez des maniques pour manipuler votre batterie de cuisine.
Remarque!
- N'utilisez pas la porte pour transporter l'appareil car vous risqueriez d'abîmer les charnières.
- Enlevez tout le matériel d'emballage avant de raccorder l'appareil au secteur. N'utilisez pas de nettoyants agressifs pour éliminer les résidus des protections de transport.
- Un entretien constant garantit un fonctionnement irréprochable et les performances optimales de votre appareil.
- Vérifiez votre batterie de cuisine pour voir si elle convient pour une utilisation au micro-ondes.
- La plaque signalétique ne doit pas être modifiée ou enlevée ; sinon la garantie est perdue.
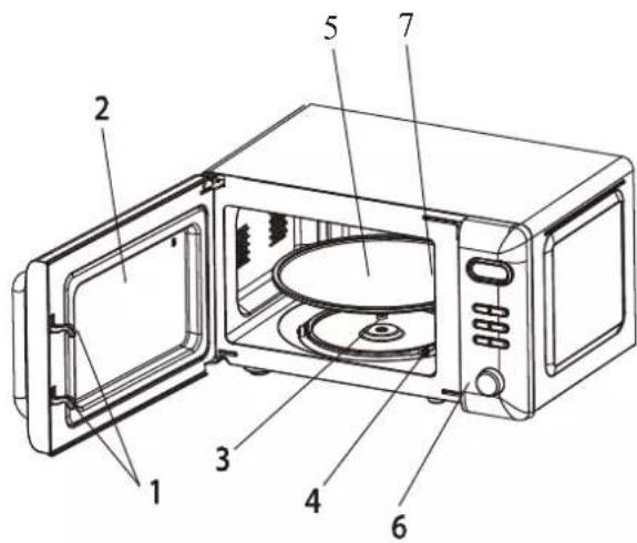
2.1 Description de l'appareil


| 1 | Verrouillage de porte | Fermez toujours la porte de l'appareil. |
| 2 | Hublot | Au contrôle de la cuisson. |
| 3 | Axe de rotation | Placcz le plateau rotatif à l'axe de rotation. |
| 4 | Anneau de rotation | Placez le plateau rotatif à les rouleaux. |
| 5 | Plateau rotatif | Placez les alimentents à cuir sur le plateau rotatif. |
| 6 | Panneau de commande | Voir aussi au chapitre 3. UTILISATION. |
| 7 | Couverture de la guide d'onde | N'enlevez jamais la couverture de la guide d'onde. |
2.2 Installation de l'appareil
- é. Si vous constatez le moindre dommage, adressez-vous au magasin où vous avez acheté l'appareil.
- N'installez pas l'appareil à proximité de sources de chaleur ou d'humidité comme par ex. des cuisinières ou des réservoirs d'eau.
- Distance appareil sol : min. 85 cm.
- L'éloignement des téléviseurs, radios ou antennes doit être d'au moins 5 m car cela pourrait entrainer des interférences.
- La fiche secteur doit rester opérationnelle.
- Il est imperative que la porte reste fermée (pendant le fonctionnement).
- Le dos de l'appareil doit être tourné côte mur.
- Des déchets de fabrication ou résidus d'huile sur le four ou l'élément chauffant peuvent entraîner la libération d'odeurs ou la formation légère de fumée. Il s'agit d'un phénomène normal qui disparaît au bout de quelques cycles d'utilisation. Ouvrez la porte de la pièce ou une fenêtre pour aérer.
Distances minimales pour ventiler convenablement l'appareil.
| Dos ↔ Mur | 10 cm |
| Côtés ↔ autre objet / mur | 5 cm |
| Espace supérieur libre | 20 cm |

2.3 Installation : plateau rotatif
- Placez le plateau rotatif.
- Placez le plateau rotatif sur l'axe de rotation correctement.
- N'installez pas le plateau rotatif tête en bas.
- Ne jamais utiliser l'appareil sans le plateau rotatif / l'anneau de rotation.
- N'utilisez pas l'appareil si le plateau rotatif / l'anneau de rotation sont défectueusement.
3.1 Panneau de commande

| 1 | L'écran |
| 2 | Puisance |
| 3 | Décongélation |
| 4 | Pause / Annuler |
| 5 | Démarrage rapide |
| 6 | Défaut / Horloge |
| 7 | Lancement |
| 8 | Bouton rotatif: Cuisson automatique (à gauche) et Temps / Poids (à droite) |
3.2 Indications générales pour l'utilisation
Mise en marche
L'écran clignote trois fois lorsque vous branchez l'appareil à l'alimentation électrique.
Ensuite, le ":" se met à clignoter.
→ saisie du menu et temps.
→ BOUTON ROTATIF (cuisson automatique: temps / poids) (8)
- temps / poids augmenter ou diminuer
- sélectionnez cuisson automatique
→ PAUSE/ANNULER(4)
- En début de service ou pendant la saisie: Appuyez une fois = annuler + retour pour le lancement.
- Pendant le service : Appuyez une fois = arrêt du service. Appuyez deux fois = Annulation du programme.
Fonction de rappel automatique
Lorsqu'un cycle de cuisson défini se termine, l'écran affiche Fin. Trois signaux sonores retentissent pour vous rappeler de sortir les aliments de l'appareil. Le signal sonore retentira toutes les 3 minutes sauf si vous appuyez sur PAUSE / ANNULER (4) ou ouvrez la porte.
Cuisson immédiatement
Appuyez sur la touche LANCEMENT (7) en mode veille pour que l'appareil commence immédiatement à fonctionner à la puissance maximale. Le temps de cuisson préprogrammé s'élève à 1 minute. Vous pouvez augmenter ou réduire le temps de cuisson avec le BOUTON ROTATIF (8).
Vous devez utiliser les spécifications suivantes:
Vous permettra d'activer le programme en 2 minutes, lorsque
a) la portière est fermée. b) le bouton PAUSE / ANNULER est enfoncé. c) un programme est terminé
Exemple : réglage pour 12:30
| 1. Àprouès la mise sous tension, le double point clignote. | : |
| 2. Appuyez une fois DEFAULT / HORLOGE (6). | 00:00 |
| 3. Réglez les heures avec le bouton rotatif (8). | 12:00 |
| 4. Appuyez une fois DEFAULT / HORLOGE (6). | 12:00 |
| 5. Réglez les minutes avec le bouton rotatif (8). | 12:30 |
| 6. Appuyez une fois DEFAULT / HORLOGE (6) ou attendez 5 secondes |
3.4 La cuisson d'aliments
Appuyez sur PUISSANCE (2). L'écran affiche successivement: 100P - 80P - 60P - 40P - 20P
| 100% | Puisance maxime. | Pour une cuisson rapide/en profondeur. |
| 80% | Puisance élevée. | Pour une cuisson légarment accéléré. |
| 60% | Puisance moyenne. | Pour étuver les aliments. |
| 40% | Puisance faible. | Pour décongeler les aliments. |
| 20% | Puisance minimale. | Maintien au chaud. |
Attention!
N'utilisez jamais l'appareil lorsqu'il est vide. Le temps au maximum réglaible est limité à 60 minutes. Lors de la sélection de la puissance maximale, l'appareil réduit automatiquement la puissance au bout d'un certain moment pour prolonger la durée de vie de l'appareil. Si vous retournez la nourriture pendant la cuisson, appuyez sur la touche LANCEMENT (7) de manière à poursuivre le processus de cuisson prénéglé. Si vous souhaitez retarder les aliments avant la fin du cycle de cuisson, vous devez appuyer sur la touche PAUSE / ANNULER (4) pour réinitialiser le réglage afin qu'il ne redémarre pas accidentellement lors d'une prochaine cuisson.
Exemple: cuire sur 80 % pendant 10 minutes:
| 1. Àprous la mise sous tension, le double point clignote. | : |
| 2. Sélectionnez la puissance en appuyant successivement sur la touche PUISSANCE (2). | 80 P |
| 3. Réglez le temps de cuisson avec le bouton rotatif (8). | 10:00 |
| 4. Appuyez sur LANCEMENT (7). L'écran affiche le temps restant. |
3.5 Démarrage rapide
Appuyez une fois DEMARRAGE RAPIDE. L'ECRAN affiche :30, 1:00, 1:30 cycliquement
Exemple : DEMARRAGE RAPIDE pour 1 minute :
| 1.Après la misc en marche → le côlon clignote. | : |
| 2.Sélection du temps → appuyez DEMARRAGE RAPIDE (5)continuèlement | 1:00 |
| 3.Appuyez LANCEMENT (7). |
3.6 Décongélation
Appuyez sur DECONGELATION (3) et l'écran affiche successivement d.1 - d.2 - d.3.
d.1 Viande. Poids compris entre 0,1 et 2,0kg d.2 Volaille. Poids compris entre 0,2 et 3,0kg d.3 Fruits de mer / poisson. Poids compris entre 0,1 et 0,9kg
- Vous devez retourner les aliments pour une décongélation uniforme.
- Décongeler des aliments exige plus de temps que de les préparer habituellement.
- Le processus de décongélation est terminé lorsque les aliments peuvent être coupés au couteau.
- Les micro-ondes pénètrent d'environ 4 cm dans la plupart des aliments.
- Consommez immédiatement les aliments décongelés. Ne les mettez pas au frigo et ne les recongelez pas.
Exemple : décongélation de 0,4 kg de volaille.
| 1. ÀpRES la mise sous tension, le double point clignote. | : |
| 2. Appuyez sur DECONGELATION (3).pour sélectionner le modec. | d.2 |
| 3. Réglez le poids avec le bouton rotatif (8). | 0,4 |
| 4. Appuyez sur LANCEMENT (7) pour démarrer. | |
| 5. A la moitié du temps, un signal sonore retentit 2 fois. Ouvrez la porte et returnez la nourriture. Refermez l porte et appuyez sur LANCEMENT (7). |
3.7 Cuisson automatique
Utilisez BOUTON ROTATIF (8), lorsque le colon clignote. L'écran affiche à présent successivement A.1 à A.8.
Sélectionnez le menu approprié en fonction de la nature et du poids des aliments. Respectez scrupuleusement les instructions du tableau ci-dessous ; à défaut, vous risquez de compromettre fortement le processus de cuisson.
Cuisson automatique / paramètres:
| ECRAN | ALIMENT | POIDS |
| A.1 | Popcorn | Sacs commercial - poids: 85 g. |
| A.2 | Popcorn | Sacs commercial - poids: 100 g. |
| A.3 | Pizza | Pour réchauffer (150 g). |
| A.4 | Boissons | Un réseau ouvert de liquide(250 ml) à 5-10°C. |
| A.5 | Boissons | Un réseau ouvert de liquide(500 ml) à 5-10°C. |
| A.6 | Pommes de terre | 550 g de pommes de terre p, coupé en tranches de 5 mm d'épaissur. |
| A.7 | Pommes de terre | 650 g de pommes de terre p, coupé en tranches de 5 mm d'épaissur. |
| A.8 | Poisson | Idéale pour étuver le.POISSON (450 g). |
La température des alimentés doit être de 20 - 25C avant la cuisson. Des températures de départ supérieures ou inférieures affectent la durée de la cuisson en conséquence. La température, le poids et la forme des alimentés influencent considérablement la cuisson. Si vous constazez des différences par rapport aux informations ci-dessus, adaptez le temps de cuisson pour un meilleur résultat.
Exemple: étuver le poisson (450g)
| 1. Aparte la mise sous tension, le double point clignote. | : |
| 2. Utilisez BOUTON ROTATIF (8). | A.8 |
| 3. Appuyez LANCEMENT (7). |
3.8 Lancement préprogrammé
Assurez-vous que l'horloge intégrée est à l'heure. (chapitre 3.3).
Sélectionnez le programme.
Exemple : Il est 12:30. Vous voulez démarrer une cuisson de 9 minutes et 30 secondes à 14:20 à la puissance 100P
| 1. Sélectionnez le puissance (2). | 100 P |
| 2. Réglez les heures avec le BOUTON ROTATIF (8). | 9:30 |
| 3. APPUYEZ SUR DEFAULT / HORLOGE (6) pendant 3 secondes. | |
| 4. Régler l'heure de démarrage (chapitre 3.3) | 14:20 |
| 5. Appuyez sur la touche DEFAULT / HORLOGE (6) pour confirmer l'heure de départ différée. La programmation est activée à présent. Le processus de cuisson commencerà à 14:20. | |
| 6. Appuyez DEFAULT / HORLOGE (6) pour le contrôle. |
3.9 Instructions avec plusieurs étapes
- Puissance micro-ondes = 100P / 3 minutes
- Puissance micro-ondes = 20W / 9 minutes
- 100P / 3 minutes
Utilisez PUISSANCE (2).
100 P
b. Utilisez BOUTON ROTATIF (8).
3:00
- 20P / 9 minutes
Utilisez PUISSANCE (2).
20 P
b. Utilisez BOUTON ROTATIF (8).
9:00
- Appuyez LANCEMENT (7).
3.10 Sécurité infant
Utilisez cette fonction pour bloquer le panneau de commande lorsque vous nettoyez l'appareil ou pour vous prémunir d'une utilisation par des enfants. Dans ce mode, tous les éléments de commande sont mis hors fonction. Appuyez sur la touche PAUSE/ANNULER (4) pendant 3 secondes pour activer la sécurité infant. Répétez la procédure pour désactiver la sécurité infant.
4.1 Principes de la cuisson au four à micro-ondes
- Disposez les aliments avec précaution. Déposez les plus gros morceaux de nourriture sur les côtés extérieurs du plat à cuire.
- Respectez le temps de cuisson. Sélectionnez le temps indiqué le plus court pour cuire. Rajoutez ensuite encore du temps de cuisson si cela s'avère nécessaire. Les aliments qui sont cuits trop longtemps aux micro-ondes peuvent commencer à fumer ou à brûler.
- Recouvrez les aliments pendant la cuisson. Le couvercle évite les projections tout en favorisant la cuisson uniforme de vos aliments.
- Retournez les aliments une fois pendant la cuisson. Des aliments tels que le
poulet ou des hamburgers cuiront plus rapidement. Des aliments plus gros tels que des brochettes doivent être retournés au moins une fois.
- Réorganisez des aliments tels que des boulettes à la moitié de la cuisson. Les aliments qui se trouvaient en bas passeront en haut (et inversement) et les aliments au centre seront déplacés à l'extérieur (et inversement).
- Si vous utilisez des assiettes ou récipients qui s'échauffent facilement, placez toujours un isolant résistant à la chaleur comme un plat en porcelaine en dessous afin d'éviter d'endommager le plateau tournant ou le cercle de rotation.
- Si vous utilisez un film plastique adaptés aux micro-ondes, celui-ci ne peut pas toucher les aliments parce que le film peut fondre.
- La vaisselle en plastique adaptée aux micro-ondes ne convient peut-être pas pour accueillir des aliments à forte teneur en graisse ou en sucre. Ne dépassez pas les temps de préchauffage indiqués dans la recette.
4.2 Choix de la vaisselle adéquate
- Utilisez seulement de la vaisselle adaptée aux micro-ondes en céramique, en verre ou en plastique résistant à la chaleur.
- N'utilisez pas de vaisselle ou d'autres ustensiles en métal ou d'assiettes avec des ornements en métal étant donné que le rayonnement électromagnétique ne peut pas traverser le métal.
- AVERTISSEMENT! Le métal peut provoquer des étincelles. RISQUE D'INCENDIE!
| MATÉRIEL | REMARQUES |
| Papier aluminium | Distance minimal papier aluminium ↔ les parois de l'appareil = 2.5 cm.Sinon: Risque d'incendie par projections d'étinc celles. |
| Vaissele brunisseuse pour fours à micro- ondes | Suivez les instructions du fabricant. |
| Vaissele | Utiliser seulement des matériaux surs pour le micro- ondes. Suivez les instructions du fabricant. |
| Récipients en verre | Utiliser sans couvercle. Utiliser seulement des matériaux surs pour le micro- ondes. Suivez les instructions du fabricant. |
| Verrerie | Utiliser seulement des matériaux surs pour le micro- ondes. Suivez les instructions du fabricant. |
| Matières plastiques | Utiliser seulement des matériaux surs pour le micro- ondes. Suivez les instructions du fabricant. |
| Thermomètre | Utiliser seulement des matériaux surs pour le micro- ondes. Suivez les instructions du fabricant. |
4.3 Matériaux inappropriés
| MATÉRIEL |
| Coque en aluminium |
| Composants métalliques |
| Sacs en papier |
| Mousses |
| Bois |
5. Nettoyage et entretien
AVERTISSEMENT! Débranchez l'appareil du secteur avant tout nettoyage ou entretien et laissez-le refroidir complètement.
- Gardez l'intérieur de l'appareil propre. Eliminez les restes d'aliments ou de boissons qui adhérent à l'intérieur de l'appareil avec un chiffon humide. Vous pouvez utiliser un nettoyant doux non abrasif si l'appareil est très encrassé. N'utilisez pas de sprays ou d'autres nettoyants agressifs étant donné qu'ils ternissent la surface de la porte et peuvent l'endommager.
- Nettoyez les bords extérieurs de l'appareil avec un chiffon humide. Faites particulièrement attention à ce que de l'eau ne pénètre pas dans les ouvertures d'aération de l'appareil car cela peut endommager les composants à l'intérieur de l'appareil.
- Nettoyez régulièrement les deux côtés de la porte et de la vitre, les joints de porte et les zones adjacentes avec un chiffon humide. Eliminez toutes les saletés. N'utilisez pas de détergent abrasif.
- Le panneau de commande ne peut pas être mouillé. Nettoyez le panneau de commande avec un chiffon doux et humide. Ouvrez la porte de l'appareil lorsque vous nettoyez le panneau de commande afin de ne pas enclencher l'appareil par inadvertance.
- Si de l'humidité s'accumule à l'intérieur ou autour de l'extérieur de la porte, éliminez-la avec un chiffon doux. Ce phénomène normal peut se produire lorsque l'appareil est utilisé en présence d'une humidité de l'air élevée.
- Occasionnellement, il est nécessaire de retirer le plateau tournant et le cercle rotatif pour les nettoyer. Nettoyez le plateau tournant et le cercle rotatif dans de l'eau savonneuse tiède. Ensuite, rincez à l'eau claire et séchez convenablement. Si vous avez retiré le cercle rotatif de l'appareil, faites attention à le remettre correctement. 7.3 méthodes pour éliminer les odeurs: a. Mettez quelques tranches de citron dans une tasse. Utilisez l'appareil à pleine
puissance pendant 2 à 3 minutes.
b. Mettez une tasse de thé noir dans l'appareil et chauffez-la pendant 1 minute à la puissance maximale. c. Mettez quelques épluchures d'orange sur une assiette plate dans l'appareil et chauffez-les pendant 1 minute à la puissance maximale.
AVERTISSEMENT! Si l'éclairage de l'appareil doit être remplacé, contactez votre revendeur pour le remplacement.
6. Dépannage
| EVENEMENTS NORMALES |
| Brouillage (TV/Radio) |
| Vaporisation sur la porte |
| Eclairage intérieur réduite |
AVERTISSEMENT! Ne jamais utiliser l'appareil sans aliment à cuire.
| PROBLÈME | |
| CAUSE POSSIBLE | SOLUTION |
| L'APPAREIL NE FONCTIONNE PAS. | |
| 1. Aucune alimentation2. Le fusible est défectucux.3. La boîte de jonction est défective. | 1. Est-ce que le cable électrique est débranché ou mal branché?2. Vérifier les fusibles.3. Vérifier la boîte de jonction |
| AUCUNE PERFORMANCE. | |
| 1. La porte n'est pas encore complètement fermée. | 1. Fermez la porte. |
| BRUIT. | |
| 1. Impuretés(plateau rotatif / anneau de rotation) | 1. Nettoyez soigneusement l'appareil après chaque utilisation (voir aussi chapitre NETTOYAGE ET ENTRETIEN). |
7. Caractéristiques techniques
| Type d'appareil | Four à micro-ondes autonome |
| Volume du four | 20 l |
| Puisance maximale (micro-ondes) | 700 W |
| Tension / Fréquence | 230 V AC /50 Hz |
| Niveau de performance micro-ondes | 5 |
| Programmes automatiques | 8 |
| Ecran | ✓ |
| Signal sonore de fin | ✓ |
| Sécurité infant | ✓ |
| Timer | Numérique / max. 60 minutes |
| Plateau tournant / grille | ✓ |
| Longueur dc cable / cm | 85 |
| Dimensions de l'apparil H*L*P en cm | 25.80*45.10*34.80 |
| Poids net / brut en kg | 10,50 / 11,30 |
Modifications techniques réservées.
8. Mise au rebut
- Lors du déballage, veillez impérativement à ce que les composants de l'emballage (sacs en polyéthylène, morceaux de polystyrène) n'aboutissent pas entre les mains des enfants et animaux. RISQUE D'ETOUFFEMENT!
- Les appareils inutilisés ou anciens doivent être déposés dans un centre de recyclage approprié. Ne jamais exposer à des flammes nues.
- Avant de mettre un vieux appareil au rebut, rendez-le d'abord absolument inopérant! Débranche la fiche secteur, puis coupez le câble électrique au niveau de l'appareil et jetez-les ensuite!
- Jetez les papiers et cartons dans les conteneurs prévus à cet effet.
- Jetez les plastiques dans les conteneurs prévus à cet effet.
- S'il n'y a pas de conteneurs à déchets près de chez vous, amenez ces matériaux sur un lieu de collecte communal approprié.
- Pour plus d'informations, adressez-vous à notre revendeur ou aux instances communales chargées des déchets.

Tous les matériaux identifiés par ce symbole sont recyclables.

Toutes les informations disponibles pour le tri sélectif peuvent être obtenues auprès de vos autorités locales.
Le consommateur bénéficiera d'une garantie de 24 mois sur les défauts de matériel et de fabrication, à compter de la date d'achat.
Outre les droits issus de la présente garantie, le consommateur dispose des droits de garantie légaux vis-à-vis du vendeur auprès duquel il a acquis l'appareil. Ceux-ci ne sont pas limités par la garantie.
Pour couvrir le recours en garantie, l'acheteur est tenu de présenter le ticket d'achat mentionnant la date d'achat et/ou de livraison dès qu'il constate le défaut et dans les 24 mois après la livraison chez le premier destinataire.
Le recours à la garantie ne saurait donner lieu à une dénonciation du contrat de vente ou une réduction (diminution du prix d'achat). Les pièces remplacées ou les appareils échangés nous reviennent de plein droit.
Le recours en garantie ne porte pas sur :
- les pièces fragiles, comme par ex. le plastique ou le verre et les ampoules;
- de légères différences des produits Wolkenstein par rapport aux conditions prévues, insignifiantes quant à la valeur du produit;
- des dommages causés par des erreurs d'utilisation et de manipulation,
- des dommages causés par des influences environnementales agressives, des produits chimiques, des détériments;
- des dommages au produit qui ont été provoqués par une installation ou un transport inappropriés;
- des dommages suite à une utilisation ménagère non courante;
- des dommages qui sont provoqués par un produit Wolkenstein en dehors de l'appareil - dans la mesure où une responsabilité n'est pas définie comme obligatoire par la loi.
La validité de la garantie prend fin en cas de :
- Non-respect des instructions d'installation et d'utilisation;
- Réparation par des personnes non professionnelles;
- Dommages provoqués par le vendeur, l'installateur ou des tiers;
- Installation ou mise en service incorrecte;
- Absence d'entretien ou mauvais entretien;
- Utilisation des appareils non conforme à l'usage prescrit;
- Dommages dus à la force majeure ou aux catastrophes naturelles, notamment, mais non exclusivement, en cas d'incendie ou d'explosion.
Le droit de garantie ne prolonge ni la durée de garantie ni ne prévoit une nouvelle garantie.
L'applicabilité territoriale de la garantie concerne les appareils achétés et utilisés en Allemagne, en Autriche, en Belgique, au Luxembourg et aux Pays-Bas.
Adressez-vous au magasin où vous avez acheté l'appareil.
Modifications réservées
Situation 09.05.2023
Notice Facile