WMW720 B - Magnetron Wolkenstein - Gratis gebruiksaanwijzing en handleiding
Vind de handleiding van het apparaat gratis WMW720 B Wolkenstein in PDF-formaat.
| Kenmerken | Details |
|---|---|
| Apparaattype | Magnetronoven |
| Inhoud | 20 liter |
| Magnetronvermogen | 700 watt |
| Aantal vermogensniveaus | 5 niveaus |
| Ontdooifunctie | Ja |
| Buitenafmetingen | 45,2 x 33,4 x 25,8 cm |
| Gewicht | 12 kg |
| Bedieningstype | Handmatig |
| Kinderslot | Ja |
| Stroomverbruik | 1200 watt |
| Garantie | 2 jaar |
Veelgestelde vragen - WMW720 B Wolkenstein
Download de handleiding voor uw Magnetron in PDF-formaat gratis! Vind uw handleiding WMW720 B - Wolkenstein en neem uw elektronisch apparaat weer in handen. Op deze pagina staan alle documenten die nodig zijn voor het gebruik van uw apparaat. WMW720 B van het merk Wolkenstein.
GEBRUIKSAANWIJZING WMW720 B Wolkenstein
Instruction Manual Gebruiksaanwijzing
Microwave Oven Magnetron
MW 720

Beste klant, Allereerst wollen we u bedanken onions productuit ons ruime assortment hebt gekozen. Graag vragen we u om de volledige gebruiksaanwijzing te lezen voor u het apparaat voor de eerste keer gebruikt. Bewaar dcze gebruiksaanwijzing op een veilige plaats, zodat u er ook in de toekomst gemakkelijk gebruik kunt van make. Geef de gebruiksaanwijzing mee als u het apparaat later aan iemand anders geeft.
Inhoud
- Veiligheidsadviezen 68
1.1 Signalwoorden 69
1.2 Veilighcidsinstructics 70
2.Installatie 73
2.1 Apparaat 73
2.2 Installatie van het apparaat 73
2.3 Installatie van de draaischijf. 74
3.Bedicening 75
3.1 Bcediningspancel 75
3.2 Algemene bedieningsinformatie 75
3.3 Instellen van de Klok 76
3.4 Voedsel koken 77
3.5 Express (snel) 78
3.6 Ontdooien 78
3.7 Automatisch-Koken 79
3.8 Geprogrammeerde start van het koken 80
3.9 Multi-sequential Koken 81
3.10 Kinderslot 81
4.Magnetron koken. 82
4.1 Basis van magnetron koken 82
4.2 Geschikte materialen voor het koken in de magnetron 82
4.3 Ongeschikte materialen voor het koken in de magnetron 84
- Reiniging en onderhoud 84
6.Probleem oplossen 85 - Technische data 86
8.Afvalbecheer. 87
9.Garantievoorwaarden. 88
i De afbeeldingen die in deze gebruiksaanwijzing zich opgenomen, kuren in enkele details verschillen van het werkelijkke ontwerp van uw apparaat. Toch要去 u ook in die gevalden de instructies gewoon blijven volgen. Levering zonder inhoud.
i De fabrikant behoudt zich hetrecht voor om wijzigingen aan te brengen die geen invloed hebben op de werkking van het apparatus.
i Verwijder het verpakkingsmaterial in overeenstemming met dcplaatselijk voorschriften die in uw woonplaats van kracht zich.
i Het is möglichk dat het door u gekochtte apparaat intussen verbeterd is, waardoor de gebruiksaanwijzing op sommige punten kan afwijken. De functies en de werkingsvoorwaarden zijn darüber hetzelfde gebleven, zodat u de gebruiksaanwijzing op alle punten kunt blijven gebruiken. Technische wijzigingen en drukfouten blijven voorbehonden.
EG-verklaring van overeenstemming
De producten die in denen gebruiksaanwijzing worden beschreiben, beantwoorden aan alle geharmoniseerde eisen.
U kurz de relevante documenten via de bevoegde instanties bij de verkoper van het product aanvragen.
1. Veiligheidsadviezen
LEES ALLE VEILIGHEIDSADVIEZEN EN VEILIGHEIDSINSTRUCTIES DIE VAN TOEPASSING ZIJN OP HET APPARAAT AANDACHTIG VOORDAT U HET APPARAAT VOOR DE EERSTE KEER GEBRUIKT.
De informatatie die u hierin vindt, beschermt u gegen risico's voor uw gezondheid. Niet-naleving van de instructies kan tot ernstige risico's voor uw gezondheid en in het ergste geval zichs tot de dood leiden.
Bewaar dcze gcbruiksaanwijzing zo dat ze te allen tijde beschikbaar blijft. Lcef alle tips na om ongevallen of een beschadiging van het apparaat te vermijden.
Controller in ieder geval ook de technische omgeving van het apparaat! Zijn alle kabels of leidingen waarmee uw apparaat verbonden is, in orde? Of zich ze vroudcrd en zichzc Nietmeer bereckend op hct vermogen van het apparaat? Doe waarvoor een beroep op een gekwalificeerde vakman (elektricien) zodate hij de bestaande en neue aansluitingen kan controeren. Alle werkden die nodig zichn om het apparaat op het stroomnet aan te sluiten, mogen alleen door een gekwalificeerde vakman (elektricien) worden uitgevoerd.
i Dit apparaat is uitsluitend voor privilegebruik bedoeld.
i Dit apparaat is uitsluitend bedoeld voor het koken van levensmiddelen in een gezin.
Dit apparatus is uitsluitend geschikt voor gebruik in een afgesloten ruimte.
i Dit apparaat mag Niet voor commerciele doelstellingen, op een kampeerterrein of in openbare vervoermiddelen worden gebruikt.
Gebruik het apparaat alleen op de manier waarvoor het werk ontworpen.
i Laat icemand die nicht vertrouwd is met de gebruiksaanwijzing het apparaat nicht gebruiken.
Voorzorgsmaatregelen voor het vermijden van een eventuele belasting door bovenmatige effecten van de microgolfenergie
1 Sluit de deur van het apparaat altijd wanneer u het gcbruikt. Anders stelt u zichzelf bloot aan een bovenmatige en gevaarlijke bclasting door de microgolfenergie. Open de veriligheidsvergrendeling nicht met geweld. Knoei Niet aan de veriligheidsvergrendeling.
2 Plaats of leg geen voorwerpenCUS den de voorkant en de openstaande deur van het apparaat. Er mag zich geen vuil of resten van reinigingsmiddelen op dc dichtingen verzamclen.
3 Gebruik het apparaat nicht wanner het beschadigd is. Het is bijzondere belangrijk dat de deur behoorlijk sluit en dat de volgende onderdelen nicht beschadigd zijn:
a De deur mag bijvoorbeeld Niet verrormd zichn.
b De scharnieren en de vergrendeling mogen bv. Niet stuk zijn of loszitten.
c De dichtingen van de deur en dc oppervlakken van de dichtingen.
4 Het apparaat mag alleen door geschikt en gekwalificeerd serviceperoneel worden ingesteld of hersteld.
1.1 Signaalwoorden
GEVAAR! verwijst maar een gevaarlijke situatie die een onmiddelijk risico voor uw leven en uw gezondheid met zich brengt als ze Niet worden vermeden.
WAARSCHUWING! verwijst maar een gevaarlijke situatie die een möglichk risico voor uw leven en uw gezondheid met zich brengt als ze Niet worden vermeden.
OPGELET! vcrwijst maar een gevaarlijke situatie waarin u matige of kleine blessures kunt oplopen als ze nicht worden vermeden.
TIP! verwijst maar een gevaarlijk situatie die möglich schade aan het apparaat kan veroorzaken als ze nicht worden vermeden.
GEVAAR!
- Gebruik het apparaat Niet als het Niet behoorlijk werk, zichtaar beschadigd is, gevallen is of als het netsnoer of de stekker beschadigd is. Als het apparaat Niet goed werk, als gevolg van een technisch defect, moet u de stekker onmiddelijk uit het stopcontact trekken (en de overeenstemmende zekering uitschakelen) en het apparaat terugbrengen aan de winkel waar u het hebt gekocht.
- Zorg ervoor dat het netsnoer Niet onder het apparaat ligt of door het verplaatsen van het apparaat worden beschadigd.
- Wanner het netsnoor beschadigd is, mag het uitsluitend door de fabrikant of door een door de fabrikant erkende klantendienst of een vergelijkbaar gekwalificeerde persoon worden verrangen.
- Verwijderijdens het reinigen nooit de afdekplaat van de golfgeleider.
- Herstel het apparaat nooit zich. Herstellingen die door nicht gekwalificeerde Personen worden uitgevoerd,{kunnen ernstige blessures en schade veroorzaken. Laat uitsluitend originele onderdelen inbouwen.
WAARSCHUWING!
- Gebruik het apparaat alleen met 220 240V / 50Hz wisselspanning. Gebruik bij een voeding van 220 240V / 50Hz geen meervoudige stopcontacten of verlengsnoeren.
- Het apparaat mag alleen op een behoorlijk geaard stopcontact worden aangesloten. Gebruik alleen een geschikt veiligheidsstopcontact, zodate u het risico op een elektrische schok zo veel möglichk=kunt beperken. De stekker moet te allen tijde gemakkelijk bereikbaar zich.
- De technische gegevens van uw elektrische voeding要去en overeenstemmen met de waarden die op het typeplaatje worden vermeld. De elektrische kring in uw woning要去en stroomkringonderbreker uitgerust�, zodat het apparaat in noodgevallen kan worden uitgeschakeld.
- Alle herstellings- of onderhoudswerkzaamheden waar bij onderdelen van het apparaat die bescherming bieden gegen de microgolfstraling, moeten worden verwijderd, mogen alleen door een erkendevakman worden uitgevoerd.
- Het apparaat is nicht geschikt als inbouwapparaat, maar moet vrij staan.
-
Sluit de deur van het apparaat.altijd wanner u het gebruikt.
-
Olie en vet koken zonder toezicht kan tot gevaarlijke situatuies en zichs brand leiden. Probeer NOOIT om brandende olie of brandend vet met water te blussen. Schakel in dat geval het apparaat uit en doof het vuur met een deksel of een branddeken.
- Sommige toegankelijke onderdelen van het apparaat hunnenijdens het gebruik heet worden. Raak die zones Niet aan en houd kinderenuit de buurt van het apparaat. RISICO OP VERBRANDING!
- Gebruik het apparaat nicht om zaken zoals wasgoed of native kranten te drogen.
- Laat het apparaat nooit werkken verwijl het leeg is.
- Op die manier beperkt u möglichke risico's op brand in het apparaat.
a. Controller het apparaat constant als u levensmiddelen in kunststof- of papieren houders opwarmt, want deze können in sommige geallen vlam vatten.
b. Verwijder alle sluitstrips uit zakken van kunststof papier voordat u de zakken in het apparaat legt.
c. Schakel het apparaat uit en trek de stekker uit het stopcontact als u merkt dat er rook uit het apparaat ontsnapt. Houd de deur dicht, zodat de vlammen geen zuurstofeer krijgen.
d. Gebruik het apparaat Niet omiets in te bewaren.
e. Laat geen voorwerpen van papier, keukengerei of levensmiddelen in het apparaat liggen als u het apparaat nicht gebruikt.
- Gebruik het apparaat Niet om iets te frituren. Hete olie kan onderdelen van het apparaat beschadigen en door verbranding blessures verroorzaken.
- Verwarm nooit levensmiddlesen en vloeistoffen in gesloten houlders, want deze können ontploffen.
- Zuigflessen of babyvoeding in glazen houders要去en worden geschud of geroerd. Controleer de temperatuur van de voeding voordat u de baby voedt. Zo voorkomt u dat het kind zich verbrandt.
- Gebruik nooit een stoomreiniger om het apparaat te reinigen. De stoom kan de elektrische componenten van het apparaat onherstelbaar beschadigen. RISICO OP ELEKTRISCHE SCHOK.
- Trek de stekker van het apparaat uit het stopcontact voordat u onderhouds- of reinigingswerken uitvoert.
- Let er bij het uitpakken zeker op dat de bestanddelen van de verpakking (polyethylen zakken, polystyreen stukken) Niet binnen het bereik van kinderen en dieren komen. VERSTIKKINGSGEVAAR!
- Dit apparaat kan door kinderen vanaf 8aar en door Personen met beperkte fysieke, zintuiglijke of mentale vermogens of met gebrek aan ervaring en kennis worden gebruikt, wanner dit gebeurt onder toezicht of nadat ze werden gewezen op het veilige gebruik van het apparaat en op de bevaren als met dat advies geen rekening worden
gehonden. Kinderen mogen nicht met het apparaat spelen.
Reinigings- en onderhoudswerkzaamheden die door de gebruiker mooten worden uitgevoerd, mooten nicht door kinderen worden uitgevoerd als dit nicht onder toezicht gebeurt.
- Zorg ervoor dat kinderen nicht met dit apparaat spelen. Het apparaatijdens het gebruik aanraken kan ernstige brandwondenveroorzaken.
- Laat kinderen het apparaat pas zonder toezicht gebruiken als u ze voordien hebt getoond hoe ze het apparaat op een veilige manier+kunnen gebruiken en als ze zich bewust zijn van de bevaren die met een verkeerd gebruik gepaard gaan.
- Wonneer het apparaat in de combifunctie worden gebruikt,ogens kinderen het apparaat omwille van de hoge temperaturen die.daar bij ontstaan, slechts onder toezicht van een volwassene gebruiken.
OPGELET!
- Het apparaat beantwoordt aan de huidige Europese veiligheidswetgeving. We wensen er hierbij uitdukkelijk op te wijzen dat dit niets verandert aan hetfeit dat de oppervlakken van het apparaat tijdens het gebruik zeer warm+kennen en na het gebruik nog alkijd restwarmte uitstralen.
- Leg het netsnoer zo dat niemand erover kan struikelen.
- Wanner u drank met microgolfstraling verwarmt, kan er zich een vertraagd en plots kookeffect voordoen. Wees waarom bijzonder voorzichtig wanner u de houder met de drank uit het apparaat neemt.
- Verwarm geen verse of hard gekookte eieren in het apparaat. Deze kuren immers zichs na het beeindigen van de verwarming uit elkaar spatten.
- Keukengerei kan door de via de levensmiddelen geleide warmte heet worden. Gebruik een pannenlap in combinatie met keukengerei.
TIP!
- Trek nicht aan de deur van het apparaat wanner u het apparaat wilt verplaatsen, want zo beschadigt u de scharnieren.
- Verwijder al het verpakkingsmaterialiaal voordat u de stekker van het apparaat in het stopcontact steekt. Gebruik geen agressieve reinigingsmiddelen om resten van beschermingsmaterialaal voor het transport te verwijdersen.
-
Een regelmatig onderhoud garandeert een fouloze werkung en optimale prestaties van uw apparaat.
-
Controller of uw keukengerei geschikt is voor gebruik in demagnetron.
-
Het typeplaatje mag nicht worden verwijderd of onleesbaar gemaakt worden, anders worden alle voorwaarden van de garantie ont geldiq!
2. Installatie
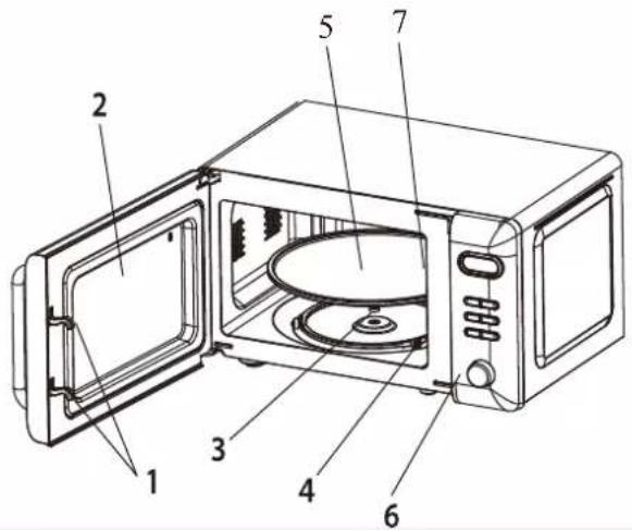
2.1 Apparaat


| 1 | Dcurslot | De deurDICNT geslotte n te zijn voor een goode workng. |
| 2 | Raam | Helpt u om de kookprocedure te observeren |
| 3 | Rotatie-as | De draaischijf wordt op de rotatic- as geplaatst. De hieronder geinstalleerde motor zorgt voor de rotatiebeweging. |
| 4 | Rotatiering | De draaischijf wordt ook geplaatst op de rotaticring, die de draaischijf stabiliseert en dc balans houdt. |
| 5 | Draaischijf | Plaats het eten op de draaischijf. De rotatie zorgt voor uniform koken. |
| 6 | Controlpanel | Zic hoofdstuk 3, bedicining |
| 7 | Gollegeider | De golfgeleider is aan de rechterkant in de ovenholt geinstalleerd. |
2.2 Installatie van het apparaat
- Verwijder alle verpakkingsmaterial. Als er een veiligheidsfilm op het apparaat zit, haal het voorzichtig af. Controller dat het apparaat zich beschadigd is. Als u schade ontdekt,(Intu contact opnemen met de winkel waar u het apparaat heb gekocht.
- Installer het apparaat op een droge en corrosievrije plek. Houd het apparaat weg van bronnen van把它 en vocht, zoals gasbrander, watercontainers, enz.
- Let op de minimale afstanden voor de juiste ventilatie zoals in onderstaande schema:
| Achterkant van het apparaat ↔ Muur | min. 10 cm |
| Zijkant van het apparaat ↔ Muur, kast etc. | min. 5 cm |
| Vrije ruimte boven het apparaat | min. 20 cm |

- De afstand tot de grond要去 min. 85cm maar.
- Installeer het apparaatmeer dan 5 meter verwijderd van tv sets, radio's en antennes om interferenties te vermijden.
- De stekker要去 na de installmentie altijd toegankelijk zich. Gebruik uitsluitend eenGOOD gcaarde veiligheidsschakctaar voor aansluiting.
- Bedien het apparaat alleen met gesloten deur.
- Vervaardigingresiduen of olie die in de ovenholte of op het verwarmingselement zichn gebleven, kuren bepaalde geuren en rookemissies veroorzaken. Dit zichn normale operationele parameters, die na een aantal keer gebruik, zullen verdwijnen. Open de deur van dc kamcr of een raam om de juiste ventilatie te garandersen. Wij raden u aan om een kopjc met water op dc draaischijf teplaatsen; zet het apparaat verwolgens een paar keer aan met een hoog vermogen.
2.3 Installatie van de draaischijf
-
Plaats eerst de rotatiering.
-
Plaats de draaischijf op de rotatie-as. Zorg ervoor dat de draaischijf goed geplaatst is.
- Plaats dc draaischijf nooit ondersteboven. De rotatie van dc draaischijf mag nooit worden beperkt.
- Gebruik het apparaat nooit zonder de draaischijf en de roterende ring.
- Alle voedsel of containers met voedsel要去en op de draaischijf geplaatst worden.
- Gebruik het apparaat Niet als de draaischijf en/of de roterende ring beschadigd zichn.
3. Bediening
3.1 Bedieningspaneel

1 Display
2 Vermogcn
3 Ontdooien
4 Pauze / Annuleren
5 Express (snel)
6 Voorinstelling / Klok
7 Start
8 Draaiknop voor Auto-Koken (links) en Tijd / Gewicht (rechts)
3.2 Algemene bedieningsinformatie
Eerste gebruik
Als u het apparaat hebt ingeschakeld, knippert het scherm driemaal. Dan knippert de dubbelepunt":". Nu kunt u het kookmenu en deijd instellen.
Draaiknop AUTO-KOKEN / TIOD-GEWICHT (8)
U kunt de kooktijd en het gewicht van het voedsel verhogen of verkleinen of autokoken selecteren met de draaiknop.
PAUZE/ANNULEREN(4)
-
Aan het begin van gebruik ofijdens invoer: Druk een keer om uw invoer te annuleren.
-
Tijdens gcbruik: Druk twecmaal om het programme tc annuleren.
Automatische herinnering
Wanner het voorgeprogrammeerde kookprogramma is beeindigd, geeft het DISPLAY End aan. Drie akoestische geluidssignalen klinken om u te herinneren om het gekooke te vocdsel te verwijderen. Als u geen PAUZE / ANNULEREN (4) een keer indrukt of dc deur opcnt, blijven dc akoestische signalen luiden in intervallen van 3 minutes.
Direct koken
Druktijdens de stand-by modus op de STARTKNOP (7). Het apparaat werkst op hoog vermogen; De standard kooktijd is 1 minuut. U kunt de kooktijd verhogen of verlagen met behulp van de DRAAIKNOP (8).
DIRECT KOKEN is van toepassing op de volgende drie voorwaarden:
U kunt DIRECT KOKEN binnen 2 minuten activeren wannccr
a) U de deur van het apparaat hebt gesloten.
b) U dc pauze / annuleringsknop hcbt gcdrukt (4)
c) Een voorgeprogrammeerd programma is beeindigd.
3.3 Instellen van de Klok
Voorbeeld: 12:30 (12:30 pm)
| 1. De dubbelepunt knippert na het inschakelen | : |
| 2. Druk eenmaal op de VOORINSTELLING / KLOKKNOP (6) | 00:00 |
| 3. Stel de urchn in met de DRAAIKNOP (8) | 12:00 |
| 4. Druk eenmaal op de VOORINSTELLING / KLOKKNOP (6) | 12:00 |
| 5. Stel de minuten in met de DRAAIKNOP (8) | 12:30 |
| 6. Druk eenmaal op de VOORINSTELLING / KOOKKNOP (6) of wacht 5 seconden om te bevestigen |
3.4 Voedsel koken
WAARSCHUWING! Laat het apparaat nooit werken verwijl het leeg is.
Druk op de VERMOGEN knop (2). De display geeft 100P - 80P - 60P - 40P - 20P cyclisch aan.
| Hoog vermogen | 100% microgolfvermogen. Geschikt voor snel en grondig koken. |
| Mediumhoog vermogen | 80% microgolfvermogen. Geschikt voor mediumsnelkoken. |
| Medium vermogen | 60 % microgolfvermogen. Geschikt voor stoven. |
| Mediumlaag vermogen | 40 % microgolfvermogen. Geschikt voor ontdooien van voedsel |
| Laag vermogen | 20% microgolfvermogen. Geschikt om voedsel warm tc houden |
De max. verstelbare kooktijd is 60 minutes
Bij gebruik met hoog vermogen, za het apparaat na een bepaaldeijd de stroom verminderen om de levensduur te verlungen.
Als u het voedscel tijdens het gcbruik omdraait, drukt u eenmaal op de STARTKNOP (7) om het vooraf ingestelde kookprogramma verder tezetten.
Als u het eten wilt verwijderen voordat de kooktijd is verstreten, moet u een keer op de PAUZE / ANNULEREN KNOP (4) drukken. Hierdoor verwijdert u het
ingestelde programma om onbedoelde werkig te voorkomen tijdens het volgcnde gcbruik.
Voorbeeld: Koken met 80% power gedurende 10 minutes.
| 1. De dubbelepunt knippert na het inschakelen | : |
| 2. Selecteer het gewenste vermogen door op de VERMOGEN knob (2) achefter elkaar te drukken | 80 P |
| 3. Stel de kooktijd (10 minutes) in met de DRAAIKNOP (8). | 10:00 |
| 4. Druk op de STARTKNOP (7) om het koken te initialiseren. De DISPLAY geeft de resterende kooktijd aan. |
3.5 Express (snel)
Wanner u op de SNELKNOP drukt (5), geeft de DISPLAY 0:30, 1:00, 1:30 cyclisch aan. U kunt een kopje water of drank verwarmen volgens de kooktijdstappen bij het gebruik van de snelfunctie. Welke kooktijdstap u gebruikt hangt af van de hoeveelheid drank.
Voorbeeld: Sncl-koken voor 1 minuut.
| 1. De dubbelepunt knippert na het inschakelen. | : |
| 2. Selecteer de gewenste kooktijdstappen door achtereenvolgens op de SNELKNOP (2) te drukken. | 1:00 |
| 3. Druk op dc STARTKNOP (7) om het koken te initialisrcn. |
3.6 Ontdooien
Druk op de ONTDOOIKNOP (3) voor het ontdooien van voedsl. De display geeft d.1 - d.2 - d.3 cyclisch aan.
d.1 Voor het ontdooien van vlees met een gewicht van 0,1 tot 2,0kg
d.2 Voor het ontdooien van pluimvee met een gewicht van 0,2 tot 3,0kg
d.3 Voor het ontdooien van zeevruchten met een gewicht van 0,1 tot 0,9kg
Draai het vocdselijdens het ontdooien voor een uniform resultaat.
Ontdooien vereist een langere tijd dan het koken.
Wanner u het voedsel met een mes kunt snijden, kan het ontdooien als afgerond worden beschouwd.
Microgolven penetreren het grootste gedeelte van het bevoren voedsel met ca. 4 cm.
Consumer ontdooide voedsel zo snel möglichk. Niet opniew invriezen na het ontdooien!
Voorbeeld: Ontdooien van 0.4kg pluimvee.
| 1. De dubbelepunt knippert na het inschakelen. | : |
| 2. Druk op de ONTDOOKNOP (3) om het soort voedsel te selecteren. | d.2 |
| 3. Stel het gewicht in met behulp van dc DRAAIKNOP (8). | 0,4 |
| 4. Druk op de STARTKNOP (7) om het ontdooien te initialiseren. | |
| 5. Een akoestisch signaal klinkt twee keer tijdens het ontdooien. Open de deur en draai het eten. Sluit de deur en druk op de STARTKNOP (7) om door te gaan. |
Draai de DRAAIKNOP (8) terwijl de dubbelepunt op de display knippert. De display geeft A.1, A.2, A.8 cyclisch aan.
Selecteer een geschikt menu dat relevant is voor het soort en het gewicht van het voedsel. Let op dc informatic op het onderstaande schema; Anders kan het resultaat van koken sterk beinvloed worden.
Automatisch-koken instellingen:
| DISPLAY | VOEDSEL | METHODE |
| A.1 | Popcorn | Geschikt voor in de handel verkrijgbare popcorn zakken met een gewicht van 85 g. Als de pop snugheid 1 koer per 1-2 seconden is afgenomen, drukt u op de PAUZE / ANNULEREN knop (4). |
| A.2 | Popcorn | Hctzelfde als A.1, maar voor 100 g zakken. |
| A.3 | Pizza | Geschikt om een stuk van 150 g te verwarmen. |
| A.4 | Dranken | Geschikt voor een kopje dat 250 ml vloeistof bevat bij een temperatuur van 5-10 °C. Gebruik mokken. De mok mag Niet afgesloten worden. |
| A.5 | Dranken | Hetzelfde als A.6, maar voor 500 ml. |
| A.6 | Aardappelen | Snijd 450 g aardappelen in strips (5 mm dik en hoog). Plaats de strips op een grote schotcl. Bedek hct gerecht |
| met een geschikte dunne folie om waterverlies te vermijden. | ||
| A.7 | Aardappelen | Hetzelfde als A.6, maar voor 650 g. |
| A.8 | Vis | Geschikt voor het stoven van 450 g vis. Was de vis en verwijder de visschalen. Snijd oppervlakkig in de vishuid. Plaats dc vis op een ondiepe planta (diameter 22 - 27 cm). Zet de smaakgevers op de vis en bedek dit met een geschikte dunne folie om waterverlies te vermijden. Laat rusten gedurende 2 minutes na he koken. |
De temperatuur van het eten moet 20 - 25^ voor het koken. Hogere of lagere temperaturen vergen verhogen of verlagen van de kooktijden.
Temperatuur, gewicht en vorm van het voedsel beinvloeden het resultaat van koken. Als u verschillen detecteert op de factoren op het schema,kest u dc koektijden dievenovereenkomstig wijzigen.
Voorbeeld: Stoven van 450g vis.
| 1. De dubbelepunt knippert na het inschakelen. | : |
| 2. Gebruik de DRAAIKNOP (8) om het menu tc selecteren. | A.8 |
| 3. Druk op de STARTKNOP (7) om het koken te initialiseren. De DISPLAY geeft de resterende kooktijd aan. |
3.8 Geprogrammeerde start van het koken
Zorg ervoor dat deijd van de dag goed is ingesteld (zie hoofdstuk 3.3).
Voer uw programmering UIT.
Voorbeeld: Het is 12:30. U wilt dat het apparaat gedurcnde 9 minutes en 30 seconden om 14:20 (2:20 pm) werk. Vocr uw programmeringuit.
| 1. Stel de stroom in met behulp van de VERMOGEN knop (2). | 100 P |
| 2. Stel de kooktijd in met de DRAAIKNOP (8). | 9:30 |
| 3. Houd dc VOORINSTELLING / KLOKKNOP (6) ingcdrukt gedurende 3 seconden om dearend van de dagindicatie in te voeren. |
- Stel de gewenste starttijd in (zie hoofdstuk 3.3, punten 3, 4 en 5).
14:20 - Druk op de VOORINSTELLING / KLOKKNOP (6) om te bevestigen. Het programme is gactivcerd. Koken begint om 14:20.
- U kunt de vooraf ingestelde begintijd controlleren door op de VOORINSTELLING / KLOKKNOP (6) te drukken.
Sommige recepten vereisen verschillende kookmethodes en kooktijden om het beste resultaat te bereiken.
Voorbeeld: U wilt gedurende 3 minutes met 100P vermogen koken en verwolgens met 20P gedurende 9 minutes.
Dit voorbeeld is een 2-sequentie-programmering.
U kunt maximaal 4 sequenties programmeren door de stappen te herhalen.
| 1. 100 P vermogen gedurende 3 minuten. | |
| a. Stel het vermogen in met behulp van de VERMOGEN knop (2). | 100 P |
| b. Stel de kooktijd in met de DRAAIKNOP (8). | 3:00 |
| 2. 20 P vermogen gedurende 9 minuten. | |
| a. Stel het vermogen in met bchulp van dc VERMOGEN knop (2). | 20 P |
| b. Stel de kooktijd in met de DRAAIKNOP (8). | 9:00 |
| 3. Druk op de STARTKNOP (7) om het koken te initialiseren. |
3.10 Kinderslot
| Activering | Houd de PAUZE / ANNULERINGSKNOP (4) ingedrukt gedurende 3 seconden |
| De-activering | Houd de PAUZE/ ANNULERINGSKNOP (4) ingedrukt gedurende 3 seconden. |
4.1 Basis van magnetron koken
- Schik uw voedsel zorgvuldig. Plaats/DDke stukken aan de buitenkant van uw opstelling.
- Overweeg de kooktijden. Kies de kortste beschikbareijd. Voeg eventueel nog watmeer kooktijd toc. Alle vocdsel dat te lang in cen magneton worden gckookit, kan beginnen tc dampen of vlam vatten.
- Bedek het voedsel verwijl het kookit. Het bedekken vermijdt spatten en verbeter een gelijkmatig kookproccs.
- Draai je eten een keer om tijdens het koken. Voedsel zoalskip of hamburgers zullen dan sneller koken. Grotere stukken zoals braadstukken要去en minstens een keer worden omgedraaid.
- Herrangschik voedsel zoals vleesballetjes tijdens het midden van de kooktijd van de buitenste gebieden maar de binnenste (en omgekeerd) en draai ze ook om.
- Als u een magnetronveilige plasticfolic gebruikt, mag het het voedsel nicht aanraken, doordat de folie kan smelten.
- Sommige magnetronveiligige plastic kookgerei is wellicht nicht geschikt voor het koken van voedsel met een hoog gehalte aan vet en suiker. Bovendien mag de voorverwarmingstijd die in de instructiehandleiding worden vermeld, Niet worden overschreten.
4.2 Geschikte materialen voor het koken in de magnetron
- Gebruik alleen magnetronveilige kookgerei van hittebestendig keramiek, glas of plastic.
- Gebruik geen van metaal gemaaakte kookgerei of andere metalen producten of platen met metalen ornamenten. Magnetische straling kan nicht doordringen in metaal
- WAARSCHUWING! Metaal kan vonken produceren. BRAND RISICO!.
| MATERIALAAL | OPMERKINGEN |
| Aluminiumfolie | Alleen geschikt omkleine delen van het voedsel te beschermen. U kunt de dulle delen vlees ofpluiimvee bedekken metkleine delen aluminiumfolieom overkoken te voorkomen. Als de delen van hetaluminiumfolie te zich bij de wanden van hetapparaat liggen,+kunnen cr vonken ontstaan. Hetaluminiumfolie moet minimaal 2,5 cm verwijderdzijn van de wanden van het apparaat. |
| Bruine borden | Let op de door de betreffende fabrikant geveen informatic. Dc onderkant van dc bruinc schotel moct minimaal 5 mm boven de draaitafel liggen. Onjuist gebruik kan de draaischijf breken. |
| Tafelgerei | Gebruik uitsluitend magnetonveilige tafelgerei. Let op de door de betreffende fabrikant geveen informatic. Gebruik geen gebroken of gesneden tafelgerei. |
| Glazen potten | Verwijder het deksel altijd. Verhit het eten tot het net warm is. Dc meeste glazen potten zichn nicht hittebestendig en kunnen breken. |
| Glazen tafelgerei | Gebruik alleen hittebestendige glazen tafelgerei. Het glazen tafelgerei mag geen metalen onderdelen bevatten. Gebruik geen gebroken of gcsneden glazen tafelgerei. |
| Oven kookzakken | Let op de door de betreffende fabrikant geveen informatie. Sluit Niet met behulp van metalen banden. Maakkleine openingen om stoom te lately ontsnappen. |
| Papicren borden / bckers | Alleen geschikt voor kort koken of opwarmen! Laat het apparaat Niet onbeheerdijdens het gebruik. |
| Keukenpapier | Alleen geschikt voor kort koken of opwarmen! Laat het apparaat Niet onbeheerdijdens het gebruik. |
| Permamentpapier | Gebruik als deksel om spatten te voorkomen of als deksel om te stomen |
| Kunststof | Gebruik alleen Magnetronveilige kunststof. Let op de door de betreffende fabrikant geveen informatie. De kunststof要去gerkt+zijn "Magnetron veilig". Sommige kunststof containers kunnen smelten als het voedsel dat het bevat heet worden. Kookzakken en stevig gesloten plasticzakken要去kne openingen hcbben, doorboard of ontlucht+zijn zoals beschreiben op hun verpakking. |
| Plasticfolie | Gebruik alleen magnetron veilige plasticfolie. U kunt plasticfolie gebruiken om het voedsel te bedekken, zodat vocht worden vastgehouden. De plasticfolie mag het eten Niet aanraken! |
| Thermometer | Gebruik alleen magnetronveilige thermometers |
| Waspapier | U kunt waspapier gebruiken als deksel om het apparaat te beschermen gegen spatjes of om vocht te behouden. |
4.3 Ongeschekte materialen voor het koken in de magnetron
| MATERIAL | OPMERKINGEN |
| Aluminiumbakken | Aluminiumbakken kuren vonden verzoorzaken. Breng het eten over in een magnetronveilige container. |
| Vocdselkartons met metalen handgreep enz. | Vocdselkartons met metalen handgreep enz. kuren vonden verzoorzaken. Breng het eten over in een magnetronveilige container. |
| Van metalen gemaakte of metalen versneden artikelen | Metaal schermt het voedsel van de energia van de magnetron. Metalen onderdelen kuren vonden verzoorzaken! |
| Papieren zakken | Papieren zakken kuren vlam vatten in het apparaat. BRAND RISICO! |
| Plastic schuim | Plastic schuim kan smelten bijblootstelling aan hoge temperaturen en / of het voedsel verontreinigen. |
| Hout | Hout gezruikt in een magnetron kan drogen en / of kraken. Hout kan in het apparaat vlammen. BRAND RISICO! |
5. Reiniging en onderhoud
WAARSCHUWING! Trek het apparaat uit het stopcontact voordat u het reinigt of onderhoudt.
-
Houd de binnenkant van uw apparaat schoon. Wanner er spatten of gemorste vloeistoffen op de wanden van uw apparaat zich, reinigt u het met een vochtige doek. Milde reinigingsmiddelen+kennen worden gebruikt als het apparaat erg vies is geworden. Vermijd het gebruik van sprays en andere harde reinigers, omdat deze het deuropppervlak+kennen vlekken of dof doe den worden.
-
Reinig de buitenkant met een vochtige dock. Om schade aan dc bcediningsdelen in het apparaat te voorkomen mag water Niet in de ventilatieopeningen komen.
-
Veeg beiden kanten van de deur en het raam, de deurdichtingen en de aangrenzende delen regelmatig met een vochtige dock om eventuele morsen of spatten te verwijdenen. Gebruik geen schuurreinigers.
-
Het bedieningspaneel mag Niet nat worden. Maak het schoon met een zachte en vochtig dock. Laat dc deur open als u het bedieningspaneel schoonmaakt, zodat het apparaat Niet per ongeluk kan worden ingeschakeld.
-
Als er stoom in of rondon de buitenkant van de deur opkomt, veeg het met een zachte doeck. Dit kan optreden wonneer het apparaat onder hoge vochtigheidstoestanden werkt. Het is een normal verschijnsel.
-
Het is soms nodig om de draaischijf en / of de roterende ring te verwijderen voor reiniging. Was dc draaischijf / ring in warm zeeppwater, spoel dan grondig en droog. Als u de roterende ring van het apparaat hebt verwijderd, moet u deze opnieuw in de juiste positie plaatsen.
-
U kunt geurproblemen op drie verschillende manieren oplossen:
a. Leg enkele schijfjes citroen in een kop. Laat het apparaat 2 tot 3 minutes lang met een hoog vermogen werkken.
b. Plaats een kop zwarte thee in het apparaat en verwarm.Deze 1 minuut lang op een hoog vermogen.
c. Leg enkcle sinaasappelschillen in een plat bord en verwarm dit 1 minuut lang op een hoog vermogen.
WAARSCHUWING! Als de interne lamp4 van het apparaat要去 verwijdenen, neem dan contact op met de winkel waar u het apparaat hebt gekocht.
6. Probleem oplossen
| NORMALE GEBRUIKSONSTANDIGHEDEN | |
| Storing op radio of televisionontvangst | Radio- en tv-ontvangst{kunnen worden onderbroken tijdens het gebruik van het apparatusat, zoals met interferenties van andere elektrische apparaten zoals mixers, stofzuigers, elektrische ventilatoren, enz. |
| Dim ovenlicht | Het ovenlicht kan dim worden, terwijl het toestcl op een laag vermogen werkct. |
| Stoom accumulatie op de deur / het lucht ontsnaptuit de ventilatieoppeningen | Tijdens het koken komt er stoom uit het eten. Het grootste gedeelte van de stoom wordt via de ventilatieoppeningen ontladen. Niettemin kan zich wat stoom op de koelere delen van het apparaat accumulatoren, bijv. de deur. |
| Het apparaat is per ongeluk gestart zonder inhoud (voedsel). | WAARSCHUWING! Gebruik het apparaat nooit wonneer het leeg is. |
| STORING | |
| MOGELIJKE OORZAAK | MOGELIJKE MAATREGEL(EN) |
| HET APPARAAT KAN NIET GESTART WORDEN. | |
| 1. Het netsnoer is nicht goed aangesloten. 2. Gesprongen ziekering in ziekeringkast. 3. Storing stopcontact. | 1. Trek de stekkeruit. Na 10 seconden opnieuw aansluten. 2. Controller de ziekeringkast 3. Controller het stopcontact met een ander elektrisch apparaat. |
| HET APPARAAT VERWARMD NIET. | |
| 1. De deur van het apparaat is nicht goed gesloten. | 1. Sluit de deur van het apparaat goed. |
| DE DRAAISCHIJF ZORGT VOOR ONGEWOON GELUID. | |
| 1. De roterende ring of de bodem van het apparaat is verontreinigd. | 1. Maak de betreffende onderdelen schoon (zie ook hoofdstuk over reiniging en onderhoud). |
7. Technische data
| Type | Magnetron oven |
| Volume | 20 l |
| Max. vermogen / magnetron | 700 W |
| Voltage / freiestie | 230 V AC / 50 Hz |
| Vermogen niveaus magnetron | 5 |
| Automatische programma's | 8 |
| Display | ✓ |
| Akoestisch einsignaal | ✓ |
| Kinderslot | ✓ |
| Timer | digital / max. 60 minuten |
| Draaitafel | ✓ |
| Lengte van netsnoer in cm | 85 |
| Afmectingen H * W * D in cm | 25.80*45.10*34.80 |
| Gewicht netto / bruto in kg | 10.50 / 11.30 |
Technische wijzigingen voorbehouden
8. Afvalbeheer
- Bij het uitpakken dient het verpakkingsmaterialial (polyethyleenzakken, polystyreenstukken, enz.) van kinderen en dieren weghehonden te worden. STIKKINGSGEVAAR!
- Oude en ongebruekte toestellen dienen ter beschikking gesteld te worden aan het verantwoordelijkke recyclingcentrum. Stel nooit bloot aan open vuur.
- Voordat u een oud apparaat weggooit, moet u deze buien werking stellen. Haal het apparaat uit het stopcontact en haal het hele netsnoer uit. Verwijder het netsnoor en de stickker onmiddelijk.
- Verwijder papier en karton in dc bijbehorende containers.
- Verwijder alle kunststoffen in de bijbehorende containers.
- Als er geen geschikte containers in uw woonwijk beschikkaarং, verwijder deze materialen op een geschikt gemeentelijk inzamelpunt voor afvalrecycling.
- Ontvang meer gedetailleerde informatatie van uw winkelier of uw gemeentelijk facilitieten.

Materialen gemarkeerd met dit symbol zichn recyclebaar.

Neem contact op met uw lokale autoritciten om mocr informatic te ontvangen
De fabrikant verleent de consument voor een duur van 24 maanden vanaf de dag van de aankoop garantie op onberispelijk materiaal en een fouloze fabricage.
De consument kan behalte zich rechten op basis van de garantie ook zich wettelijk verzagantierechten latent gelden tegenover de verkoper bij wie hij het apparaat heeft gekocht. Deze rechten worden nicht door de garantie beperkt.
De koper moetijkenrecht op garantie kuren aantonen aan de hand van het aankoopbewijs, waarop de aankoop- en/of de leveringsdatum worden vermeld. Bovendien moet hij ditonmiddelijk nadat hij een defect heeft vastgesteld en binnen 24 maanden na de levering aan de eindgcbruiker melden.
De garantie besteht de consument nicht hetrecht om van de aankoop af te zien of om een korting te eisen (verlaging van de aankoopprijs). Vervangen onderdelen of gerulde apparaten worden once eigendom.
- breeckbare onderdelen zoals kunststof glas of glocilampen;
- krone afwijkingen van de producten van Wolkenstein ten opzichte van de beoogde eigenschappen, die geen invloed hebben op de gebruikswaarde van het product;
- schade als gevolg van een verkeerde werkung of bediening;
- schade als gevolg van agressieve omgevingsinvloeden, chemische producten, reinigingsmiddelen;
- schade aan het product als gevolg van een ondeskundige installmente of vervoer;
- schadc als gevolg van nicht-huishoudelijk gcbruik;
- schade die buiten het apparaat door een product van Wolkenstein veroorzaakt is - tenzij hiervoor andere wettelijk bepalingen bestaan.
De geldigheid van de garantie vervalt bij:
- nied-naleving van de instructies voor installmenten bediening;
- herstelling door oneskundige personen;
- schade die door de verkoper, dc installmenter of derden veroorzaakt is;
- ondeskundige installatic of inbedrijfstelling;
- onvoldoende of foutief onderhoud;
- apparaten die nicht voor het beoogde doel worden gebruikt;
- schade als gevolg van overmacht of naturuarrampen in het bijzonder, maar nicht uitsluitend bij brand of explosions.
Garantieprestatics leiden nicht tot een verlenging van de garantietermijn en lien ook geen neue garantietermijn starten.
De garantie geldt voor in Duitsland, Oostenrijk, Belgie, Luxemburg of Nederland gckochte en gcbruikte apparaten.
WOLKENSTEIN
August 2014
SERVICE INFORMATION
WOLKENSTEIN
Neem contact op met de winkel waar u het apparaat hebt gekocht.
Wijzigingen voorbchouden
Stand op 05/09/2023



Notice-Facile