WMW720 B - Mikrowelle Wolkenstein - Kostenlose Bedienungsanleitung
Finden Sie kostenlos die Bedienungsanleitung des Geräts WMW720 B Wolkenstein als PDF.
| Eigenschaften | Details |
|---|---|
| Gerätetyp | Mikrowellenherd |
| Kapazität | 20 Liter |
| Mikrowellenleistung | 700 Watt |
| Anzahl der Leistungsstufen | 5 Stufen |
| Auftaufunktion | Ja |
| Außenmaße | 45,2 x 33,4 x 25,8 cm |
| Gewicht | 12 kg |
| Bedienungsart | Manuell |
| Kindersicherung | Ja |
| Stromverbrauch | 1200 Watt |
| Garantie | 2 Jahre |
Häufig gestellte Fragen - WMW720 B Wolkenstein
Laden Sie die Anleitung für Ihr Mikrowelle kostenlos im PDF-Format! Finden Sie Ihr Handbuch WMW720 B - Wolkenstein und nehmen Sie Ihr elektronisches Gerät wieder in die Hand. Auf dieser Seite sind alle Dokumente veröffentlicht, die für die Verwendung Ihres Geräts notwendig sind. WMW720 B von der Marke Wolkenstein.
BEDIENUNGSANLEITUNG WMW720 B Wolkenstein
Bedienungsanleitung Mode d'emploi
Mikrowellenofen Four a micro-ondes

MW 720 SGW (grün/green/vert/groen)

MW 720 SCW (creme/cremeleurig)

MW 720 SPW (pink/pink/rose/roze)
Deutsch
English
Français
Nederlands
Seite
Page
Page
Bladzijde
2
26
46
66
Sehr geehrter Kunde! Sehr geehrte Kundin! Wir möchten Ohnen herzlich danken, dass Sie sich zum Erwerb eines Produkts aus unserem reichhaltigen Angebott entschieden haben. Lesen Sie die gesamte Bedienungsanleitung, bevor Sie das Gerät zum ersten Mal benutzen. Verwahren Sie diese Bedienungsanleitung zur zukünftigen Verwendung an einem sicheren Ort. Falls Sie das Gerät weitergeben, müssen Sie diese Bedienungsanleitung ebenfalls mit übergeben.
Inhalt
- Sicherheitshinweise 3
1.1 Signalwörter 4
1.2 Sicherheitsanweisungen 5
- Installation 8
2.1Geratcbeschreibung. 9
2.2 Installation des Gcrats 9
2.3 Installation des Drehtellers 11
- Bedienung 11
3.1 Bedienfeld 11
3.2 Allgemeine Informationen zur Bedienung 12
3.3 Einstellen der Uhr. 13
3.4Kochen von Lebensmitteln 13
3.5 Schnellstart 14
3.6 Auftaun 14
3.7 Kochautomatik 15
3.8 Vorprogrammierter Kochbeginn 17
3.9Kochen in mehreren Abschnitten 17
3.10 Kindersicherung 18
4.Mikrowellen-Kochen. 18
4.1 Grundlagen zum Kochen in einer Mikrowelle 18
4.2 Geeignete Materialien fur das Mikrowellenkochen 19
4.3 Ungecignete Materialien fur das Mikrowellenkochen 20
- Reinigung und Pflege 21
6.Problembehandlung 22 - Technische Daten 23
- Entsorgung 24
- Garantiebedingungen 25
i Der Hersteller besteht sich das Recht vor, solche Änderungen vorzunehmen, die keinen Einfluss auf die Funktionswise des Geräts haben. Entsorgen Sic das Verpackungsmaterial entsprechend den örtlichen Vorschriften Ihres Wohnorts.
Das von Ihncn gkaufte Gerat wurde möglicherweise inzwischen verbessert und weist somitVILLEcht Unterschiede zur Bedienungsanleitung auf. Dennoch sind die Funktionen und Betriebsbedingungen identisch, sodass Sie die Bedienungsanleitung im vollen Umfang nutzen konnen. Technische Änderungen bzw.Druckfehler bleiben vorbehalten.
EG-Konformitätserklarung
Die in dieser Bedienungsanleitung beschrieben Produkte entsprechen samentlichen harmonisierten Anforderungen.
Die relevanten Unterlagen konnen durch die zuständigen Behörden über den Produktverkäfer angefordsert werden.
1. Sicherheitshinweise
LESEN SIE VOR DER ERSTEN BENUTZUNG DES GERÄTS DIE GESAMTEN SICHERHEITSHINWEISE UND SICHERHEITSANWEISUNGEN GRÜNDLICH DURING.
Die darin enthaltenen Informationen dienen dem Schutz Ihrer Gesundheit. Die Nichtbeachtung der Sicherheitshinweise kann zu schweren Beeinträchtigungen Ihrer Gesundheit und im schlimmsten Fall zum Tod führen.
Bewahren Sie diese Bedienungsanleitung so auf, dass sie bei Bedarf jederzeit griffbereit ist. Befolgen Sie sorgfältig alle Hinweis, um Unfälle oder eine Beschädigung des Geräts zu vermeiden.
Prufen Sie auf jeder Fall auch das technische Umfeld des Geräts! Sind alle Kabel oder Leitungen, die zu ihrem Gerät führen, in Ordnung? Oder sind sie veraltet und halten der Geräteleistung nicht mehr Stand? Daher muss durch eine qualifizierte Fachkraft (Elektrotechniker/-in) eine Überprüfung bereits vorhandener wie auch neuer Anschüsse erfolgen. Sümmtliche Arbeiten, die zum Anschluss des Geräts an die Stromversorgung notwendig sind,)dürfen nur von einer qualifizierten Fachkraft (Elektrotechniker/-in) durchgeführt werden.
Das Gerät ist ausschließlich zur privaten Nutzung bestimmt sowie zur Nutzung (1) in Personalkuchen von Geschäften, Büros und ähnlichen Arbeitsumgebungen; (2) durch Gaste von Beherbergungsbetrieben wir Hotels, Motels etc.
Das Gerät ist ausschließlich zum Kochen von Lebensmitteln bestimmt.
Das Gerät ist ausschließlich zum Betrieb innerhalb geschlossener Räume bestimmt.
Dieses Gerat darf nicht für gewerbliche Zwecke, beim Camping und in öffentlichen Verkehrsmitteln betrieben werden.
Betreiben Sie das Gerät ausschließlich im Sinne seiner bestimmungsgemäßen Verwendung.
Erlauben Sie niemandem, der mit der Bedienungsanleitung nicht vertraut ist, das Gerät zu benutzen.
Sicherheitsvorkehrungen zur Vermeidung einer möglichen Belastung durch übermögens Einwirken von Mikrowellenenergie
1 Benutzten Sie das Gerät nicht bei geöffneter Tur, da Sie sich dadurch einer übermög hohen und gefährlichen Belastung durch Mikrowellencnergie aussetzen. Öffnen Sie die Sicherheitsverriegelung nicht gewaltsam. Basteln Sie nicht an der Sicherheitsverriegelung herum.
2 Stellen oder legen Sie keine Gegenstände zwischen die Vorderseite und der geöffneten Tur des Gerats. Es dürfen sich keine Verunreinigungen und Rückstände von Reinigungsmitteln auf den Dichtungen ansammeln.
3 Benutzen Sie das Gcrät nicht, wenn es beschädigt ist. Es ist bereits wichtig, dass die Tur ordnungsgemäß schlicht und dass die folgenden Bestandteile nicht beschädigt sind:
a Die Turl darf z.B. nicht verbogen sein.
b Die Scharniere und Verriegelung dürfen z.B. nicht gebrochen oder losein.
c Die Turdichtungen und die Oberfläche der Dichtungen.
4 Das Gerätarf ausschließlich von geeignetem und qualifiziertem Servicepersonal eingestellt oder repariert werden.
1.1 Signalwörter
GEFAHR!
verweist auf eine
Gefahrensituation, die ,wenn sie nicht abgewendet wird, eine unmittelbare Gefährung fur Leben und Gesundheit zur Folge hat.
WARNUNG! verweist auf eine
Gefahrensituation, die ,wenn sie nicht abgewendet wird, eine mögliche bevorstehende Gefährung fur Leben und Gesundheit zur Folge hat.
VORSICHT! verweist auf eine
Gefahrensituation, die ,wenn sie nicht abgewendet wird, zu mittelschweren oderkleineren Verletzungen fuhren kann.
HINWEIS! verweist auf eine
Gefahrensituation, die, wenn sie nicht abgewendet wird, eine mögliche Beschädigung des Gerats zur Folge hat.
1.2 Sicherheitsanweisungen
GEFAHR!
- Benutzen Sie das Gerät nicht, wenn es nicht ordnungsgemäß arbeitet, sightbar beschädigt oder heruntergefallen ist oder das Netzkabel oder der Netzstecker beschädigt sind. Sollte es zu irgendeiner Fehlfunktion aufgrund eines technischen Defektskommen, trennen Sie das Gerät umgehend von der Stromversorgung (entsprechende Haussicherung abschalten) und wenden Sie sich an das Geschäft, in dem Sie das Gerät erworben haben.
- Achten Sie darauf, dass sich das Netzanschlusskabel nicht unter dem Gerät befindet oder durch das Bewegen des Geräts beschädigt wird.
- Wenn das Netzanschlusskabel beschädigt ist,arf es ausschließlich vom Hersteller oder einem vom Hersteller autorisierten Kundendienst oder einer gleichartig qualifizierten Person ausgetauscht werden.
- Entfernen Sie niemals die Wellenleiterabdeckung im Inneren der Backröhre.
- Reparieren Sie das Gerät niemals alleine. Reparaturen, die von dazu nicht qualifizierten Personen durchgeführt werden, können zu ernsthaften Verletzungen und Schäden führen. Lassen Sie ausschließlich Original-Ersatzteile einbauen.
WARNING!
-
Betreiben Sie das Gerät nur mit 220-240V/50Hz AC. Verwenden Sie bei 220-240V AC/50Hz Netzbetrieb keine Steckdosenleisten, Mehrfachsteckdosen oder Verlängerungskabel.
-
Das Gerätarf ausschließlich an einer ordnungsgemäß geerdeten Steckdose angeschlossen werden. Verwenden Sie nur eine entsprechende Sicherheitssteckdose, um die Gefahr eines Stromschlags zu minimieren.
-
Die technischen Daten ihrer elektrischen Versorgung müssen den auf dem Typenschild angegebenen Werten entsprechen. Ihr Hausstrom muss mit einem Sicherungsautomaten zur Notabschaltung des Geräts ausgestellt sein.
-
Sümmtliche Reparatur- oder Wartungsarbeiten, die ein Entfernen jeglicher Geräteile, die als Schutz gegen die Mikrowellenstrahlung dienen, nicht macht, dürfen ausschließlich von einer autorisierten Fachkraft ausgeführrt werden.
-
Das Gerät ist nicht als Einbaugerät geeignet, sondern muss frei stehen.
-
Betreiben Sie das Gerät ausschließlich bei geschlossenerTür
-
Unbeaufsichtigtes Kochen mit Ölen und Fetten kann gefährlich sein und zu einem Feuer führen. Versuchen Sie NIEMALS, ein durch Öl oder Fett Unterstützung Feuer mit Wasser zu Löschen. Stattdessen schalten Sie das Gerät ab und ersticken Sie das Feuer mittels eines Deckels oder einer Feuerdecke.
-
Wahrend des Betriebs konnen zugängliche Teile des Geräts heißt werden. Berühren Sie die bereits Bereiche nicht und halten Sie Kinder vom Gerät fern. VERBRENNUNGSGEFAHRI!
-
Benutzen Sie das Gerät nicht zum Trocknen von Gegenständen wie Wäsche oder feuchten Zeitungen.
-
Betreiben Sie das Gerät niemals in leerem Zustand.
-
So reduzieren Sie mögliche Brandrisiken im Inneren des Geräts:
a. Überprüfen Sie andauernd das Gerät, falls Sie Lebensmittel in Kunststoff- oder Papierbehältern erhitzen, damit diese sich nicht entzünden können.
b. Entfernen Sie samtliche Drahtverschluss von Kunststoff- oder Papierbeuteln, bevor Sie die Beutel in das Gerät geben.
c. Schalten Sie das Gerät ab und trennen Sie es von der Stromzufuhr, falls Sie das Entstehen von Rauch bemerken. Halten Sie die Tur verschlossen, um die Flammen zu ersticken.
d. Benutzen Sie das Gerät nicht zu Lagerungszwecken.
e. Lassen Sie keine Gegenstände aus Papier, Kochutensilien oder Lebensmittel im Gerät, wenn Sie das Gerät nicht benutzen.
-
Benutzen Sie das Gerät nicht zum Frittieren. Das weiß Öl kann Teile des Geräts beschädigen und durch Verbrennungen Personenschäden verursachen.
-
Erhitzen Sie niemals Lebensmittel und Flüssigkeiten in geschlossenen Behältern, da diese Explosionen verursachen können.
- Säugflaschen oder Babynahrung in Gläsern sollen den geschüttelt oder umgerührt werden. Kontrollieren Sie vor dem Füttern die Temperatur der Nahrung. Somit vermeiden Sie, dass Ihr Kind Verbrennungen erleidet.
- Benutzen Sie niemals einen Dampfreiniger zum Reinigen des Geräts. Der Dampf kann die Elektrik des Geräts nachhaltig beschädigen. STROMSCHLAGGEFAHR.
- Trennen Sie das Gerät vor allen Wartungs- und Reinigungsrarbeiten von der Stromversorgung.
- Achten Sie beim Entpacken unbedingt darauf, dass die Bestandteile der Verpackung (Polyäthylenüten, Polystyrenstücke) nicht in die Reichweite von Kindern und Tieren gelangen. ERSTICKUNGSGEFAHR!
- Dieses Gerät kann von Kindern ab 8 Jahren und darüber sowie von Personen mit verringten physischen, sensorischen oder mentalen Fähigkeiten oder Mangel an Erfahrung und Wissen benutzt werden, wenn sie beaufsichtigt oder bezüglich des sicheren Gebrauchs des Gerätes unterwiesen wurden und die daraus resultierenden Gefahren verstehen. Kinder dürfen nicht mit dem Gerät speiten. Reinigung und Benutzer-Wartung dürfen nicht von Kindern ohne Beaufsichtigung durchgeführt werden.
- Beaufsichtigen Sie Kinder immer, damit diese nicht mit dem Gerät speiten. Das Gerät während seines Betriebs zu berühren, kann zu schweren Verbrennungen führen.
- Erlauben Sie Kindern nur dann, das Gerät unbeaufsichtigt zu benutzen, wenn sie vorher in einer solchen Art und Weise im Gebrauch des Geräts unterwiesen wurden, dass sie das Gerät sich berdienen konnen und sich der Gefahren, die durch eine unsachgemäß Bedienung entstehen, unbedingt bewusst sind.
VORSICHT!
- Das Gerat entspricht der gegenwärigen europäischen
Sicherheitsgesetzgebung. Wir möchten hierbei aber ausdrücklich betonen, dass diese Entsprechung nichts an der Tatsacheändert, dass die Oberflächen des Geräts während der Benutzung heißt werden und nach dem Ende der Benutzung noch Restwärme ausstrahlen.
- Platzieren Sie das Netzkabel so, dass niemand darüber stolpern kann.
- Wenn Sie Getränke mittels Mikrowellenstrahlung erhitzen, kann diese zu einem zeitverzögerten und plötzlich auftretenden Kocheffekt führen. Seien Sie also besonderss vorsichtig, wenn Sie Behälter entnehmen, die Getränke enthalten.
- Erhitzen Sie keine frischen oder hart gekochen Eier in dem Gerät, da diese selbst nach Beendigung des Erhitzens explodieren können.
- Kochutensilien können aufgrund der durch die Lebensmittel weitergeleitete Hitze heißt werden. Benutzen Sie Topflappen zum Umgang mit ihrem Kochgeschirr.
HINWEIS!
- Verwenden Sie die Tur nicht zum Transport des Gerats, da Sie dadurch die Scharniere beschädigten können.
- Entfernen Sie samentliches Verpackungsmaterial, bevor Sie das Gerät an die Stromversorgung anschließen. Benutzen Sie keine aggressiven Reinigungsmittel, um Reste von Transportsicherungen zu entfernen.
- Eine konstante Pflege und Wartung gewährleistet einen einwandfrei Betrieb und die optimale Leistung Ihres Geräts.
- Überprüfen Sie Ihr Kochgeschirr, ob es zur Verwendung in der Mikrowelle geeignet ist.
- Das Typenschildarf niemals unleserlich gemacht oder gar entfernt werden! Falls das Typenschild unleserlich gemacht oder entfernt wurde, entfällt jeglicher Garantieanspruch!
2. Installation
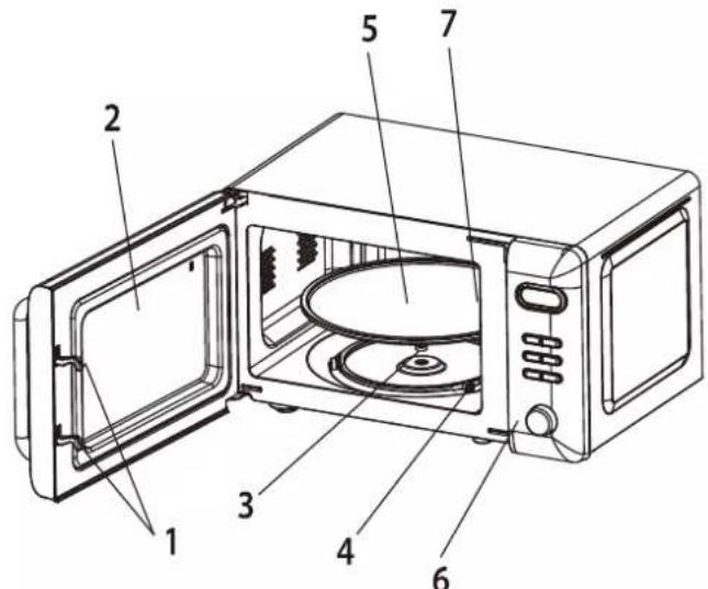
2.1 Gerätebeschreibung


| 1 | Tüvertricgelung | Zum Betrieb des Geräts muss die Tür ordnungsgcmäß geschlossen sein. |
| 2 | Sichtfenster | Zur Überprüfung des Kochfortschnitts. |
| 3 | Rotationsachse | Der Drehteller sitzt auf der Rotationsachse. Der darunterliegende Motor sorgt für die Rotationsbcwcgung. |
| 4 | Rotationsring | Der Drehteller liegt auf den Rädern auf; der Ring stabilisiert den Drehteller und sorgt für dessen Balance. |
| 5 | Drehteller | Stellen Sie das Kochgut auf den Drehteller, dessen Rotation während des Betriebs für einen gemeinsigen Garvorgang sorgt. |
| 6 | Bedienfeld | Siehe dazu Kapitel 3. BEDIENUNG. |
| 7 | Wellenleiterabdeckung | Die Wellenleiterabdeckung befindet sich innen an der rechten Seitenwand. |
2.2 Installation des Geräts
- Entfernen Sie samtliche Verpackungsmaterialien. Falls sich eine Sicherheitsfolie am Gerät befindet,ziehen Sie diese vorsichtig ab. Überprüfen Sie das Gerät auf mögliche Beschädigungen. Falls Sie Beschädigungen feststellen, wenden Sie sichitte an das Geschäft, in dem Sie das Gerät erworben haben.
- Stellen Sie das Gerät an einem trockenen und korrosionsgeschützten Ort auf und halten Sie es von Feuchtigkeit und Wärmequellen fern (wie z.B. Gasbrennern, Wasserbehältern etc.).
- Halten Sie zur Aufrechtehaltung einer ausreichenden Belüfung des Geräts die folgenden Mindestabstände ein:
| Rückseite des Gcräts ↔ Wand | min. 10 cm |
| Seiten des Geräts ↔ Wand, Schrank etc. | min. 5 cm |
| Kopffreiheit über dem Gerät | min. 20 cm |

- Der Abstand des Geräts zum Boden sollte mindestens 85~cm betragen.
- Stellen Sie das Gerät zur Vermeidung von Interferenzen mehr als 5 m entfernt von Fernschgräten, Radios oder Antennen auf.
- Nachdem Sie das Gerät aufgestellt haben, muss der Netzanschlussstecker jederzeit gut zugänglich sein. Schließen Sie das Gerät ausschließlich an einer ordnungsgemäß geerdeten Sicherheitssteckdose an.
- Betreiben sie das Gerät nur mit geschlossener Gerätetur.
- Fabrikationsrückstände oder Ölrückstände, die in der Backröhre oder am Heizclement verblicben sind, können Gerüche und eine leichte Rauchentwicklung bewirken. Dies sind normale Betriebsparameter, die nach einigen Benutzungen nicht weiter auftreten. Lassen Sie die Zimmertür oder ein Fenster offen, um eine gute Belüfung zu gewährleisten. Wir empfehlen dazu nachdrücklich, eine Tasse Wasser auf den Drehteller zu stellen und das Geräte keine Male auf hoher Leistungsstufe zu betreiben.
2.3 Installation des Drehtellers
- Platzieren Sie zuerst den Rotationsring.
- Setzen Sie den Drehteller auf die Rotationsachse und vergewissern Sie sich, dass der Drehteller ordnungsgemäß aufsitzt.
- Legen Sie den Drehteller niemals mit der Oberseite nach unten in das Gerät. Die Beweglichkeit des Drehtellers darf niemals eingeschränkt sein.
- Benutzen Sie das Gerät niemals ohne den Drehteller und den Laufring.
- Alle zum Kochen vorgesehenen Lebensmittel bzw. Behältnisse mit Lebensmitteln müssen immer auf dem Drechteller platziert werden.
- Verwenden Sie das Gerät nicht, wenn der Drehteller oder Laufring beschädigt sind.
3. Bedienung
3.1 Bedienfeld

LeistungSchnellstart

Auftauen
Voreinstellung/Uhr

Pause/Löschen
Start


1 Display
2 Leistung
3 Auftaun
4 Pause/Löschen
5 Schnellstart
6 Voreinstellung/Uhr
7 Start
8 Drehknopf für Kochautomatik und Zeit/Gewicht
3.2 Allgemeine Informationen zur Bedienung
Inbetriebnahme
Wenn das Gerät eingeschaltet haben, blinkt das DISPLAY dreimal. Danach blinkt der Doppelpunkt":", der Sié dazu auffordert, das Koch-Menu und die Kochzeit einzugegeben.
Drehknopf KOCHAUTOMATIK/ZEIT-GEWICHT (8)
Hiermit konnen Sie die Kochzeit und die Gewichtsangabe erhöhen und vermindern oder KOCHAUTOMATIK während des Betriebs wahlen.
PAUSE/Loschen (4)
- Bei Betriebsbeginn oder während der Ungabe: Einmal drücken, um die Ungabe abzubrechen und zum Betriebsbeginn-Status zurückzukehren.
- Wahlend des Betriebs: Einmal drücken, um den Betriebsvorgang anzuhalten. Zweimal drücken, um das Kochprogramm abzubrechen.
Automatische Erinnerungsfunktion
Wenn ihr voreingestellter Kochvorgang beendet ist, zeigt das DISPLAY End an. Es ertönen drei akustische Signale, die Sie daran erinnern sollen, ihr Kochgut zu entnehmer. Wenn Sie nicht die PAUSE/LösCHEN-TASTE (4) einmal drücken oder die Tur öffnen, ertönt das akustische Signal weiter in einem 3 Minuten Intervall.
SofortigesKochen
Drücken Sie im Standby-Status die START-Taste (7). Das Gerät beginnnt mit hoher Leistung zu arbeiten; die voreingestellte Kochzeit beträgt 1 Minute. Sie können die Kochzeit mittels des DREHKNOPFS (8) erhöhen oder vermindern.
Sic konnen SOFORTIGES KOCHEN bei den 3 folgenden Vorgaben anwenden:
Sie können SOFORTIGES KÖCHEN innerhalb von 2 Minuten aktivieren, nachdem
a) Sie die Ofentür geschlossen haben.
b) Sie die PAUSE/Löschen -TASTE (4) gedrückt haben.
c) cin vorcingestelltes Kochprogramm beendet ist.
3.3 Einstellen der Uhr
Beispiel: 12:30:
| 1. Nach dem Einschalten blinkt der Doppelpunkt. | : |
| 2. Drücken Sie einmal VOREINSTELLUNG/UHR (6). | 00:00 |
| 3. Stellen Sie mit dem DREHKNOPF (8) die Stunden ein. | 12:00 |
| 4. Drücken Sie einmal VOREINSTELLUNG/UHR (6). | 12:00 |
| 5. Stellen Sie mit dem DREHKNOPF (8) die Minuten ein. | 12:30 |
| 6. Drücken Sie einmal VOREINSTELLUNG/UHR (6) oder warten Sie 5 Sekunden zur Bestätigung. |
3.4 Kochen von Lebensmitteln
WARNUNG! Betreiben Sie das Gerät niemals in leerem Zustand.
Drucken Sie die LEISTUNG-Taste (2). Das DISPLAY zeigt zyklisch 100P-80P-60P-40P-20P an.
| Hohc Leistung | 100 % Mikrowellenleistung. Anwendbar für schnelles und gründliches Kochen. |
| Mittelhohe Leistung | 80 % Mikrowellenleistung. Anwendbar für mittelschnelles Kochen. |
| Mittlere Leistung | 60 % Mikrowellenleistung. Anwendbar zum Dämpfen von Lebensmitteln. |
| Mittelniedrige Leistung | 40 % Mikrowellenleistung. Anwendbar zum Auftauen von Lebensmitteln. |
| Niedrige Leistung | 20 % Mikrowellenleistung. Anwendbar zum Warmhalten von Lebensmitteln. |
Die maximal einstellbare Kochzeit beträgt 60 Minuten.
Bei Betrieb mit maximaler Leistung verringgert das Gerät nach einem bestimmten Zeitraum die Leistung, um die Lebensdauer des Geräts zu verlangern.
Falls Sie das Kochgut während des Betriebs wenden, drücken Sie die START-Taste (7) einmal und der voreingestelle Kochvorgang wird fortgesetzt.
Falls Sie das Kochgut vor Ablauf der voreingestellten Kochzeit entnehmen möchten, müssen Sie die PAUSE/Löschen -TASTE (4) einmal drücken; damit löschen Sie die Voreinstellung und vermeiden einen nichtbeabsichtigten Betrieb bei der nachsten Benutzung.
Beispiel: Siemochten bei 80% Leistung fur 10 Minuten kochen.
| 1. Nach dem Einsatz bilkt der Doppelpunkt. | : |
| 2. Wählen Sie die gewünschte Mikrowellenleistung, indem Sie die LEISTUNG-Taste (2) fortlaufend drücken | 80P |
| 3. Stellen Sie mit dem DREHKNOPF (8) die Kochzeit von 10 Minuten ein. | 10:00 |
| 4. Drücken Sie zur Initialisierung des Kochvorgangs die START-Taste (7). Auf dem DISPLAY erscheidt die verbleibende Kochzeit. |
3.5 Schnellstart
Wenn Sie die SCHNEELLSTART-Taste (5) drücken, zeigt das DISPLAY zyklisch 0:30, 1:00, 1:30 an. Mit dieser Funktion konnen Sie bequem entsprechend der Kochzeitschritte eine Tasse Wasser oder ein Getränk erhitzen. Die Auswahl der entsprechenden Kochzeit hangt von der Menge des Geträns ab.
Beispel: SCHNEELLSTART-Kochen für 1 Minute.
| 1. Nach dem Einsatzblink der Doppelpunkt. | : |
| 2. Wählen Sie die gewünschte Kochzeit, indem Sie die SCHINHELLSTART-Taste (5) fortlaufend drücken | 1:00 |
| 3. Drücken Sie zur Initialisierung des Kochvorgangs die START-Taste (7). |
3.6 Auftauen
Drücken Sie zum Auftauen von Lebensmitteln die AUFTAUEN-Taste (3). Das DISPLAY zeigt zyklisch d.1-d.2-d.3 an.
d.1 Zum Auftauen von Fleisch mit einem Gewicht von 0,1 bis 2.0kg
d.2 Zum Auftauen von Geflügel mit einem Gewicht von 0,2 bis 3,0kg
d.3 Zum Auftauen von Meeresfruchten mit einem Gewicht von 0,1 bis 0,9kg
Fur ein gleichmäßiges Auftauen ⇒ Sie das Gefriergut während des Auftauens wenden.
Normalerweise besteht das Auftauen mehr Zeit als das Kochen.
Wenn Sie das Gefriergut mit einem Messer schreiben können, ist der Auftauprozess als beendet anzusehen.
Mikrowellen dringen zumeist um ca. 4 cm in die meisten gefrorenen Lebensmittel ein.
Aufgetaute Lebensmittel sollenn so Schnell wie möglich verzehrt werden. Nach dem Auftauen nicht wieder einfrierten!
Beispiel: 0,4kg Geflügel auftauen.
| 1. Nach dem Einsatz bilnk der Doppelpunkt. | : |
| 2. Drücken Sie zur Auswahl des Gefrierguts die AUFTAUEN-Taste (3). | d.2 |
| 3. Stellen Sie mit dem DREHKNOPF (8) das Gewicht des Gefrierguts ein. | 0,4 |
| 4. Drücken Sie zur Initialisierung des Auftauvorgangs die START-Taste (7). | |
| 5. Während des Auftauvorgangs ertönt zweimal ein akustisches Signal; öffnen Sie dann die Tür und wenden Sie das Gefriergut. Schreiben Sie die Tür und drücken Sie die START-Taste (7), um den Auftauvorgang fortzusetzen. |
3.7 Kochautomatik
Drehen Sie den DREHKNOPF (8), wenn der Doppelpunkt auf dem DISPLAY blinkt. Das DISPLAY zeigt zyklisch A.1, A.2 ...A.8 an.
Wahlen Sie das geeignete Menu entsprichend der Art und des Gewichtes des Lebensmittels. Beachten Sie unbedingt die Anweisungen in der folgenden Tabelle; anderenfalls kann das Kochergebnis stark beeinflusst werden.
Kochautomatik-Einstellungen:
| DISPLAY | LEBENMITTEL | METHODE |
| A.1 | Popcorn | Gecignet für im Handel erhältliche Popcornütten mit einem Gewicht von 85 g. Wenn sich die Aufpop-Geschwindigkeit auf einmal pro 1-2 Sekunden verringgert hat, drücken Sie die PAUSE/LösCHEN-Taste (4). |
| A.2 | Popcorn | Wie A.1, aber für 100 g Tüten. |
| A.3 | Pizza | Geeignet zum Aufwärmen eines Stücks von 150 g. |
| A.4 | Getränke | Geeignet für eine Tasse mit 250 ml Flüssigkeit bei einer Temperatur von 5-10°C. Verwenden Sie einen Großen Becher. Der Becherarf nicht verschlossen werden! |
| A.5 | Getränke | Wie A.4, aber für 500 ml. |
| A.6 | Kartoffeln | Schneiden Sie 450 g Kartoffeln in 5 mm dicke und hohe Streifen. Legen Sie die Streifen auf einen großen Teller. Decken Sie den Teller mit einer geeigneten dünnen Folie ab, um Wasserverlust zu vermíden. |
| A.7 | Kartoffeln | Wie A.6, aber für 650 g. |
| A.8 | Fisch | Geeignet zum Dämpfen von 450 g Fisch. Den Fisch waschen und die Schuppen entfernen. Die Haut leicht einritzen. Legen Sie den Fisch auf einen flachen Teller mit einem Durchmesser von 22-27 cm. Würzen und mit einer geeigneten dünnen Folie abdeckcken, um Wasserverlust zu vermíden. Nach der Zubereitung 2 Minuten ruhen setzen. |
Die Temperatur der Lebensmittel vor dem Kochen sollte 20 - 25^ betragen. Höhere oder niedrigere Temperaturen erfordern eine Erhöhung oder Verminderung der Kochzeiten.
Temperatur, Gewicht und Struktur der Lebensmittel beccinflussen das Kochergebnis erheblich. Falls Sie Abweichungen zu den oben angegebenen Faktoren finden, konnen Sie die Kochzeiten entsprechend einstellen.
Beispiel: 450g Fisch dampfen.
| 1. Nach dem Einsatz bilnk der Doppelpunkt. | : |
| 2. Drehen Sie zur Auswahl des Menus den DREHKNOPF (8). | A.8 |
| 3. Drücken Sie zur Initialisierung des Kochvorgangs die START-Taste (7). Auf dem DISPLAY erscheint die verbleibende Kochzeit. |
3.8 Vorprogrammierter Kochbeginn
Achten Sie darauf, dass die Uhr richtig eingestellt ist (s.a. Kapitel 3.3).
Geben Sie ihre Programmierung ein.
Beispiel: Es ist 12:30. Sie möchten, dass das Gerrat um 14:20 für 9 Minuten und 30 Sekunden bei 100% Mikrowellenleistung arbeitet.
| 1. Stellen Sie die Leistung mit der LEISTUNG-Taste (2) ein. | 100P |
| 2. Stellen Sie mit dem DREHKNOPF (8) die Kochzeit ein. | 9:30 |
| 3. Drücken und halten Sie die VOREINSTELLUNG/UHR-Taste (6) für 3 Sekunden, um zur Tageszeitanzeige zu gelangen. | |
| 4. Stellen Sie die gewünschte Startzeit ein (sichc dazu Kapitel 3.3, Punkte 3, 4 und 5). | 14:20 |
| 5. Drücken Sie die VOREINSTELLUNG/UHR-Taste (6), um ihre Eingaben zu bestätigten. Das Programm ist nun aktiviert. Der Kochvorgang wird um 14.20 beginnen. | |
| 6. Sie können durch Drücken der VOREINSTELLUNG/UHR-Taste (6) den Zeitpunkt für den vorprogrammierten Kochbeginn überprüfen. |
3.9 Kochen in mehreren Abschnitten
Manche Rezepte verlangen verschiedene Kochmethoden und Kochzeiten, um das Beste Kochergebnis zu erhalten.
Beispiel: Sie möchten bei 100 P Mikrowellenleistung für 3 Minuten und danach bei 20 P für 9 Minuten kochen.
Dieses Beispiel ist eine 2-Sequenzen-Programmierung.
Sie können bis zu 4 Sequenzen programmieren, indem Sie die Schritte wiederholen.
- 100P Mikrowellenleitung für 3 Minuten
a. Stellen Sie mit der LEISTUNG-Taste (2) die Leistungsstärke ein.
100P
| b. Stellen Sie mit dem DREHKNOPF (8) die Kochzeit ein. | 3:00 |
| 2. 20 P Mikrowellenleistung für 9 Minuten. | |
| a. Stellen Sie mit der LEISTUNG-Taste (2) die Leistungsstärke ein. | 20P |
| b. Stellen Sie mit dem DREHKNOPF (8) die Kochzeit ein. | 9:00 |
| 3. Drücken Sie zur Initialisierung des Kochvorgangs die START-Taste (7). |
3.10 Kindersicherung
| Aktivieren | Drücken und halten Sie die PAUSE/LösCHEN -TASTE (4) für 3 Sekunden. |
| Deaktivieren | Drücken und halten Sie die PAUSE/LösCHEN -TASTE (4) für 3 Sekunden. |
4. Mikrowellen-Kochen
4.1 Grundlagen zum Kochen in einer Mikrowelle
- Ordnen Sie die Lebensmittel vorsichtig an. Legen Sie die dickeren Bestandteile Ihres Kochguts an die außere Seite des zu kochenden Gerichts.
- Beachten Sie die Kochzeit. Wahlen Sie zum Kochen die kürzeste angegebene Zeit. Fugen Sie anschließend noch Kochzeit hinzu, falls dies notig dein sollte. Lebensmittel, die zu lange in einer Mikrowelle gegart werden, konnen zu rauchen oder zu brennen beginnen.
- Decken Sie die Lebensmittel während des Kochens ab. Die Abdeckung schützt vor Spritzern und Unterstützung das gleichmäßige Garen ihrer Lebensmittel.
- Wenden Sie ihre Lebensmittel einmal während des Kochens. Lebensmittel wie Hahnchen oder Hamburger garen so Schneller. Gröbere Gegenstände wie Bratenstücke müssen mindestens einmal gewendet werden.
- Ordnen Sie Lebensmittel wie Fleischklöbe nach der Hälfte der Kochzeit neu an. Hierbei verlagern Sie Lebensmittel, die sich zuvor unter befinden, nach oben (und umgekehrt) und Lebensmittel, die sich zuvor in der Mitte befinden, nach außen (und umgekehrt).
-
Wenn Sie spezielles Braunungsgeschirr oder Behälter, die sich leicht aufhcizen, verwenden, stellen Sie immer einen hitzeresistenten Isolator wie z.B. eine Porzellanplatte darunter, um Beschädigungen an dem Drehteller oder dem Rotationsring zu vermeiden.
-
Wenn Sie mikrowellengeignete Plastikfolie verwenden, daß diese nicht das Kochgut berühren, weil die Folie dadurch schmelzen kann.
- Mikrowellengecignetes Kochgeschirr aus Plastik ist möglicherweise nicht dazu geeignet, Kochgut mit hohen Fett- oder Zuckeranteilen aufzunehmen. Überschreiben Sie nicht die im Kochrezept angegebenen Vorheizzeiten.
4.2 Geeignete Materialien für das Mikrowellenkochen
- Verwenden Sie nur mikrowellengeignetes Kochgeschirr aus hitzeresistenter Keramik, hitzeresistentem Glas oder hitzeresistentem Plastik.
- Benutzen Sie kein Kochgeschirr oder andere Gegenstände aus Metall oder Teller mit Metallverzierungen, da die Mikrowellenstrahlung Metall nicht durchdringen kann.
3. WARNUNG! Metall kann Funken erzeugen. BRANDGEFAHR!
| MATERIAL | ANMERKUNGEN |
| Aluminiumfolie | Nur zum Schutz kleinerer Bereiche geeignet. Sie konnen)dünne Teile von Fleisch oder Gcflugel zum Schutz vor Übergarung mit keinen Stücken von Aluminiumfolicabdecken. Falls sich Folienstücke zu nah an denGerätewänden befinden, kann es zu Funkenbildungkommen. Die Folie muss mindestens 2,5 cm von denGerätewänden entfernt sein. |
| Bräunungsgeschirr | Bcfolgen Sie die Anweisungen des entspruchendenHerstellers. Der Boden des Bräunungsgeschirrs muss sich mindestens 5 mm oberhalb des Drehtellersbefinden. Durch unsachgemäß Benutzung kann derDrehteller zerbrechen. |
| Essgeschirr | Verwenden Sie ausschließlich mikrowellengeignetesEssgeschirr. Bcfolgen Sie die Anweisungen desentspruchenden Herstellers. Verwenden Sie kein angebrochenes oder angeschlagenes Essgeschirr. |
| Glasgefäße | Entfernen Sie immer den Deckel. Erhitzen Sie dasLebensmittel nur solange, bis es gerade warm ist. Diemeisten Glasgefäße sind nicht hitzeresistent und konnenzerbrechen. |
| Glasgeschirr | Verwenden Sie ausschließlich hitzercsisntencesGlasgeschirr. Das Glasgeschirr damit keine metallischenBestandteile aufweisen. Verwenden Sie kein angebrochenes oder angeschlagenes Glasgeschirr. |
| Ofen-Bratschlüche | Befolgen Sie die Anweisungen des entspruchendenHerstellers. Verschließlich Sie den Bratschlauch nicht mit Metallbindern. Machen Sie Schlitze in den Schlauch,sodass der Dampf entweichen kann. |
| Pappteller/Pappbecher | Nur zum Kurzzeit-Kochen oder Aufwärmen verwenden! Lassen Sič das Gérät darüber nicht unbaufsichtigt. |
| Küchenpapier | Nur zum Kurzzeit-Kochen zur Fettabsorption verwenden! Lassen Sie das Gerät darüber nicht unbaufsichtigt. |
| Pergamentpapier | Verwendbar als Abdeckung zum Schutz vor Spritzern oder zur Unterstützung beim Dämpfen. |
| Kunststoffe | Verwenden Sie ausschließlich mikrowellengccignete Kunststoffe. Befolgen Sie die Anweisungen des entsprechenden Herstellers. Der Kunststoff muss als "Mikrowellen-sicher/Microwave Safe" ausgewiesen sein. Einige Kunststoffbehälter schmelzen, wenn die darin enthaltenen Lebensmittel heiß werden. Kochbeutel und fest verschlossene Kunststoffbeutel müssen wie auf den Packungen angegeben mit Schlitzen versehen, durchstochen oder beluftet werden. |
| Plastikfolie | Verwenden Sie ausschließlich mikrowellengeignete Plastikfolie. Sie können die Plastikfolie zum Abdecken des Kochguts verwenden, um Feuchtigkeit zu bewahren. Die Plastikfolie darf die Lebensmittel nicht berühren! |
| Thermometer | Verwenden Sie ausschließlich mikrowellengeignete Thermometer. |
| Wachspapier | Sie konnen Wachspapier als Abdeckung zum Schutz gegen Spritzer oder zur Bewährung von Feuchtigkeit verwenden. |
4.3 Ungeeignete Materialien für das Mikrowellenkochen
| MATERIAL | ANMERKUNGEN |
| Aluminiumschalen | Aluminiumschalen können Funkenbildung verursuchen. Geben Sie die entsprechenden Lebensmittel in ein mikrowellengeignetes Gefäß. |
| Lebensmittelkartons mit Metallgriff etc. | Lebensmittelkartons mit Metallgriff etc. können Funkenbildung verursuchen. Geben Sie die entsprechenden Lebensmittel in ein mikrowellengeignetes Gefäß. |
| Metallene oder metallhaltige Gegenstände | Metall schirmt das Kochgut gegenüber die Mikrowellenstrahlung ab. Metallbestandteile können Funkenbildung verursuchen. |
| Papiertüten | Papiertüten können sich im Grotät entzünden. BRANDGEFAHR! |
| Schaumstoffe | Wenn Sie hohen Temperaturen ausgesetzt werden, können Schaumstoffe schmelzen und/oder das Kochgut verunreinigen. |
| Holz | In einem Mikrowellengerät verwendetes Holz trocknet aus und kann Risse bestehtem oder brechen. Holz kann sich im Gerät entzünden. BRANDGEFHR! |
5. Reinigung und Pflege
WARNUNG! Trennen Sie das Gerät vor allen Reinigungsa- und Wartungsarbeiten von der Stromversorgung und halten Sie es vollständig abkühlen.
-
Halten Sie das Innere des Geräts sauber. Entfern den Sie Rückstände von Lebensmitteln oder Getränken, die an den Innenseiten des Geräts haften, mit einem feuchten Tuch. Sie konnen ein mildes, nicht atzendes Reinigungsmittel verwenden, wenn das Gerät stark verschmutzt ist. Benutzen Sie keine Sprays oder andere scharfen Reinigungsmittel, da diese die Tüfläche stumpf machen und beschädigen konnen.
-
Reinigen Sie die Außenseiten des Geräts mit einem feuchten Tuch. Achten Sie entsprechenden darauf, dass kein Wasser in die Belüftungsöffnungen des Geräts gelangt, weil dadurch die Betriebsbestandteile im Inneren des Geräts beschädigt werden können.
-
Reinigen Sie mit einem feuchten Tuch regelmäßig und früfigbéide Scite der Tur und des Fensters, die Turdichtungen und die davon anliegenden Bereiche. Entfernen Sie sümmtliche Verunreinigungen. Benutzen Sie keine scheuernden Reinigungsmittel.
-
Das Bedienfeldarf nicht nass werden. Reinigen Sie das Bedienfeld mit einem weichen und feuchten Tuch. Offnen Sie die Tur des Gerats, wenn Sie das Bedienfeld reinigen, damit Sie das Gerat nicht verschentlich einschalten.
-
Wenn sich an der Innenseite oder um die Außenseite der Tur herum Feuchtigkeit ansammelt, entfernen Sie diese mit einem weichen Tuch. Dieses kann vorkommen und ist normal, wenn das Gerät bei hoher Luftfeuchtigkeit benutzt wird.
-
Gelegentlich ist es notwendig, den Drehteller und den Rollenring für die Reinigung zu entfernen. Reinigen Sie den Drehteller und den Rollenring in warmen Seifenwasser. Anschließend klar nachspullen und gründlich abtrocknen. Wenn Sie den Rollenring aus dem Gerät entfcrt hatten, achten Sie daraufuf,ihn wieder ordnungsgemäß einzusetzen.
-
3 Methoden zur Entfernung von Gerüchen: a. Geben Sie eine Zitronenscheiben in eine Tasse. Betreiben Sie das Gerät
mit hoher Leistung fur 2 bis 3 Minuten.
b. Stellen Sie eine Tasse schwarzen Tccs in das Gerät und erhitzen Sic diesen bei hoher Leistungseinstellung für 1 Minute.
c. Geben Sie auf einem flachen Teller eine Orangenschalen in das Gerät und erhitzen Sie diese bei hoher Leistungseinstellung für 1 Minute.
WARNUNG! Falls die Beleuchtung1 des Geräts ersetzt werden muss, setzen Sie sich für den Austausch mit Ihr Einzelhändler in Verbindung.
6. Problembehandlung
| NORMALE BETRIEBSVORKOMMNISSE | |
| Interferenzen beim TV/Radio Empfang | Beim Betrieb des Geräts kann es zu solcher Interferenzen kommt, wie auch beim Betrieb kleinerer elektrischer Geräte, z.B. Mixer, Staubsauger, Fön etc. |
| AbgeschwächteGerätcinnenbclcuchtung | Bei Betrieb mit gcringer Leistung kann die Innenbclcuchtung abgeschwächt werden. |
| Dampfbildung an derGerätetür/heiße Luft kommt aus den Belüftungsöffnungen | Während des Kochens tritt Dampf aus dem Kochgut aus. Der meiste Dampf wird durch die Belüftungsöffnungen abgeleitet; davon kann sich etwas Dampf an den kühleren Stellen wie der Gerätetür ansammeln. |
| Sie haben das Gerät versehentlich ohne Kochgut in Betrieb genommen.. | ▲ WARNUNG! Betreiben Sie das Gerätniemals ohne Kochgut. |
| PROBLEM | |
| MÖGLICHE URSACHE | ABHILFE |
| DAS GERÄT KANN NICHT IN BETRIEB GENOMMEN WERDEN. | |
| 1. Netzanschlusskabel ist nicht ordnungsgemäß eingesteckt. | 1. Ziehen Sie den Netzstecker. Stecken Sie den Netzstecker nach 10 Sekunden wieder ein. |
| 2. Sicherung im Haussicherungskosten ist durchgebrannt. | 2. Überprüfen Sie den Haussicherungskosten. |
| 3. Fehler an der Netzanschlussdose. | 3. Testen Sie die Netzanschlussdose mit einem anderen elektrischen Gerät. |
| DAS GERÄT HEIZT NICT. | |
| Die Gerratetür ist nicht ordnungsgemäß geschlossen. | Schließen Sie die Gerratetür ordnungsgemäß. |
| DER DREHTELLER ERZEUGT BEIM BETRIEB DES GERÄTS LÄRM. | |
| Verunreinigungen am Laufring oder Boden des Geräts. | Entsprechende Stellen reinigen (s.a. Kapitel REINIGUNG UND PFLEGGE). |
7. Technische Daten
| Geräteart | Mikrowelle |
| Volumen Backrähre | 20 l |
| Max. Leistung Mikrowelle | 700W |
| Stromspannung/Frequency | 230 V AC / 50 Hz |
| Leistungsstufen | 5 |
| Automatikprogramme | 8 |
| Display | ✓ |
| Akustisches Endsignal | ✓ |
| Kindersicherung | ✓ |
| Timer | Digital / max. 60 Minuten |
| Drechtlicher | ✓ |
| Kabellänge in cm | 85 |
| Abmessungen H*B*T in cm | 25,80*45,10*34,80 |
| Gewicht netto/brutto in kg | 10,50 / 11,30 |
Technische Änderungen vorbehalten.
8. Entsorgung
- Achten Sie beim Entpacken unbedingt darauf, dass die Bestandteile der Verpackung (Polyathylentüten, Polystyrenstücke) nicht in die Reichweite von Kindern und Tieren gelangen. ERSTICKUNGSGEFAHR!
- Nicht mehr benutzte und alte Geräte müssen der zuständigen Wiederverwertungsstelle zugeführt werden. Keinesfalls offenen Flammen aussetzen.
- Bevor Sie ein beliebiges Altgerät entsorgen, machen Sie diesen vorher unbedingt Funktionuntuchtig! Das bedeutet, immer den Netzsteckerziehen und danach das Stromanschlusskabel am Gerät abschreiben und direkt mit dem Netzstecker entfernen und entsorgen!
- Entsorgen Sie Papier und Kartonagen in den darauf vorgesehenen Behältern.
- Entsorgen Sie Kunststoffe in den darauf vorgesehenen Behältern.
- Falls es in Ihrrem Wohnumfeld keine geeigneten Entsorgungsbehälter gibt, bringen Sie diese Materialien zu einer geeigneten communalen Sammelstelle.
- Nähere Informationen erhalten Sie von Ihrem Fachhändler oder bei ihren entsprechenden communitalen Entsorgungseinrichtungen.

Alle mit gekennzeichneten wiederverwertbar.
dicesem Symbol Materialien sind

Alle verfügbar Informationen zur Mülltrennung erhalten Sie bei ihren örtlichen Behörden.
9. Garantiebedingungen
Der Hersteller leistet dem Verbraucher für die Dauer von 24 Monaten, gerechnet vom Tag des Kaufes Garantie für einwandfreies Material und fehlerfrei Fertigung. Dem Verbraucher stehen darüber den Rechten aus der Garantie die gesetzlichen Gewährleistungsrechte zu, die der Verbraucher gegen den Verkauf ber hat, bei dem er das Gerät erworben hat. Diese werden durch die Garantie nicht eingeschrankt. Der Garanticanspruch ist vom Käufer durch Vorlage des Kaufbelegs mit Kaufund/oder Lieferdatum nachzuweisen und unverzüglich nach Feststellung und innerhalb von 24 Monaten nach Lieferung an den Erstendabnehmer zu melden. Die Garantie begründet keine Ansprüche auf Rücktritt vom Kaufvertrag oder Minderung (Herabsetzung des Kaufpreises). Ersetzte Teile oder ausgetauschte Geräte gehen in unser Eigentum über.
Der Garantieanspruch erstreckt sich nicht auf:
- zerbrechliche Teile wie z.B. Kunststoff oder Glas bzw. Gluhlampen;
- gingefüge Abweichungen der Wolkenstein-Produkte von der Soll-Beschaffenheit, die auf den Gebrauchswert des Produkts keinen Einfluss haben;
- Schäden infolge Betriebs- und Bedienungsfehler,
- Schäden durch aggressive Umgebungseinfüsse, Chemikalien, Reinigungsmittel;
- Schaden am Produkt, die durch nicht fachgerechte Installation oder Transport verursacht wurden;
- Schäden infolge nicht haushaltsüblicher Nutzung;
- Schaden, die außerhalb des Gerats durch ein Wolkenstein-Produkt entstandens sind - soweit eine Haftung nicht zwingend gesetzlich angeordnet ist.
Die Gültigkeit der Garantie endet bei:
- Nichtbcachten der Aufstell- und Bedienungsanleitung;
- Reparatur durch nicht fachkundige Personen;
- Schaden, verursacht durch den Verkauf, Installateur oder dritte Personen;
- unsachgemäß Installation oder Inbetriebnahme;
- mangelnde oder fehlerhafte Wartung;
- Gcraten, die nicht ihrer vorgesehenen Zweck entsprchend verwendet werden;
- Schaden durch höhere Gewalt oder Naturkatastrophen, insbesondere, aber nicht abschlussend bei Brand oder Explosion.
Garantieleistungen bewirken weder eine Veränderung der Garantiefrist noch setzen sie eine neue Garantiefrist in Lauf.
Der räumliche Geltungsbereich der Garantie erstreckt sich auf in Deutschland, Österreich, Belgien, Luxemburg und in den Niederlanden gkaufte und verwendete Grätc.
WOLKENSTEIN
August 2014

LeistungSchnellstart

Auftauen

Pause/Löschen

3.7 Automatisch-Koken
De garantie geltt nicht voor:
Wenden Sie sichitte an das Geschäft, in dem Sie das Gerät erworben haben.
Änderungen vorbehalten
Stand 09.05.2023
Notice-Facile