DJ LaseGR140 RGY MKII - Pointeur laser Stairville - Notice d'utilisation et mode d'emploi gratuit
Retrouvez gratuitement la notice de l'appareil DJ LaseGR140 RGY MKII Stairville au format PDF.
| Caractéristique | Détails |
|---|---|
| Type de produit | Pointeur laser |
| Couleurs de laser | Rouge et vert |
| Puissance laser | 140 mW |
| Modes de fonctionnement | Auto, musique, DMX |
| Dimensions | Non spécifiées |
| Poids | Non spécifié |
| Utilisation recommandée | Événements, spectacles, soirées DJ |
| Maintenance | Nettoyage régulier de l'optique |
| Sécurité | Ne pas regarder directement le faisceau laser |
| Informations générales | Vérifier la compatibilité DMX avant utilisation |
FOIRE AUX QUESTIONS - DJ LaseGR140 RGY MKII Stairville
Questions des utilisateurs sur DJ LaseGR140 RGY MKII Stairville
0 question sur cet appareil. Repondez a celles que vous connaissez ou posez la votre.
Poser une nouvelle question sur cet appareil
Téléchargez la notice de votre Pointeur laser au format PDF gratuitement ! Retrouvez votre notice DJ LaseGR140 RGY MKII - Stairville et reprennez votre appareil électronique en main. Sur cette page sont publiés tous les documents nécessaires à l'utilisation de votre appareil DJ LaseGR140 RGY MKII de la marque Stairville.
MODE D'EMPLOI DJ LaseGR140 RGY MKII Stairville
1.1 Informations complémentaires 6
1.2 Conventions typographiques 7
1.3 Symboles et mots-indicateurs 8
2 Consignes de sécurité 11
3 Performances 17
4 Installation 18
5 Mise en service 25
6 Connexions et éléments de commande 29
7 Utilisation 37
7.1 Mise en service de l'appareil 37
7.2 Menu principal 38
7.3Vue d'ensemble du menu 41
7.4 Fonctions en mode de fonctionnement DMX 42
8 Données techniques 47
9 Cables et connecteurs 50
10 Dépannage 51
11 Nettoyage 54
12 Protection de I'environnement 55

laser
1 Remarques générales
La présente notice d'utilisation contient des remarques importantes à propos de l'utilisation en toute sécurité de cet apparéil. Lisez et respectez les consignes de sécurité et les instructions fournies. Conservez cette notice en vue d'une utilisation ultérieure. Veillez à ce que tous les utilisateurs de l' apparéil puisent la consulter. En cas de vente de l' apparéil, vous doivent impérativement remettre la presente notice à l'acheteur.
Nos produits et notices d'utilisation sont constamment perfectionnés. Toutes les informations sont donc fournies sous réserve de modifications. Veuillez consulter la dernière version de cette notice d'utilisation disponible sous www.thomann.de.
1.1 Informations complémentaires
Sur notre site (www.thomann.de) vous trouvez beaucoup plus d'informations et de détails sur les points suivants:
| Téléchargement Cette | notice d'utilisation est également disponible sous forme de fichier PDF à télécharger. |
| Recherche par mot-clé | Utilisez dans la version électronique la fonction de recherche pour trouver rapidement les sujets qui vousMLSSENSIT. |
| Guides en ligne | Nos guides en ligne fournissent des informations détaillées sur les bases et termes techniques. |
| Conseils personnalisés | Pour obtenir des conseils, veuillez contacter notre hotline technique. |
| Service | Si vous ave des problèmes avec l'appareil, notre service clients sera heures de vous aider. |

laser
1.2 Conventions typographiques
Cette notice d'utilisation utilise les conventions typographiques suivantes :
Inscriptions
Les inscriptions pour les connecteurs et les éléments de commande sont entre crochets et en italieque.
Examples: bouton [VOLUME], touche [Mono].
Affichages
Des textes et des valeurs affichés sur l'appareil sont indiqués par des guillemets et en italieque.
Examples: «ON»/«OFF»
Les différentes étapes d'une instruction sont numéroétées consécutivement. Le résultat d'une étape est en retrait et mis en évidence par une flèche.
Example:
- Allumez l'appareil.
- Appuyez sur [AUTO].
Le fonctionnement automatique est demarré.
- Eteignez l'appareil.
1.3 Symboles et mots-indicateurs
Cette section donne un aperçu de la signification des symboles et mots-indicateurs utilisés dans cette notice d'utilisation.

laser
Termé générique Signification
DANGER! Cette association du symbole et du terme générique renvoie à une situation dangereuse directe se traduisant par de graves lésions voire la mort si cette-ci ne peut être évitée.
AVERTISSEMENT! Cette association du symbole et du terme générique renvoie à une situation dangereuse potentielle pouvant se traduire par de graves lésions voire la mort si celle-ci ne peut être évitée.
REMARQUE! Cette association du symbole et du terme générique renvoie à une situation dangereuse potentielle pouvant se traduire par des dommages matériels et sur l'environnement si celle ci ne peut être évitée.
Symbole d'avertissement Type de danger

Avertissement : tension électrique dangereuse.
Symbole d'advertissement Type de danger

Avertissement : rayon laser.

Avertissement : rayonnement optique dangereux.

Avertissement : charge suspendue.

Avertissement : emplacement dangereux.

laser
2 Consignes de sécurité
Utilisation conforme
Cet apparéil sert à la projection d'effets lumineux laser. Il est exclusivement concu pour une utilisation pendant les spectacles. Utilisez l'appareil uniquement selon l'utilisation prévue, telle que décrite dans cette notice d'utilisation. Toute autre utilisation, de même qu'une utilisation sous d'autres conditions de fonctionnement, sera considérée comme non conforme et peut occasionner des dommages corporels et matériels. Aucune responsabilité ne sera assumee en cas de dommages résultat d'une'utilisation non conforme.
L'appareil doit uniquement ettre utilise par des personnes en pleine possession de leurs capacités physiques, sensorielles et mentales et disposant des connaissances et de l'expérience requises. Toutes les autres personnes sont uniquement autorisées à utiliser l'appareil sous la surveillance ou la direction d'une personne chargée de leur sécurité.

Prolongez la durée de vie de l'appareil par des arrêts réguliers en évitant demettre l'appareil souvent en marche et en arrêt. L'appareil ne convient pas au fonctionnement en continu.
Exigences fondamentales quant à la sécurité des apparciels à laser
Informations basées sur la norme DIN EN 60825-1:2015. La consigne de prévention des accidents correspondante définie par la caisse allemande de prévoyance contre les accidents est la consigne DGUV V11.
Cet apparéil est équipé d'un laser de la classe 3B. Il est muni d'une clé de sécurité et d'un raccordement pour brancher un interrupteur de sécurité externe. Retirez toujours la clé de sécurité lorsque l' apparéil n'est pas utilisé par un exploitant qualifié.
En votre qualité d'exploitant, vous étes responsable de la sécurité de toutes les personnes presents. Familiarisez-vous avec les consignes en vigueur. Afin de garantir une exploitation sure, vous doivent observer les remarques suivantes.
Avant la mise en service, il incombe à l'entrepreneur / à l'exploitant de nommer par écrit un expert en qualité de délégué responsable de la protection dans le cadre de l'utilisation d'un apparéil à laser et de notification l'exploitation d'un équipement laser à la caisse de prévoyance contre les accidents ainsi qu'à l'autorité compétente en matière de sécurité sur le lieu de travail. En cas d'utilisation en public, l'installation laser complète doit être contrôle par un expert.

laser
Sécurité

DANGER!
Dangers pour les enfants
Assurez-vous d'une élimination correcte des enveloppées en matière plastique et des emballages. Ils ne doivent pas se couver à proximate de bébé ou de jeunes enfants. Danger d'étouffement! Veillez à ce que les enfants ne détachent pas de petites pieces de l'appareil (par exemple des boutons de commande ou similaires). Les enfants pourraient avaler les pieces et s'étouffer. Ne laissez jamais des enfants theirs utilisier des apparciels electriques.

DANGER!
Décharge électrique due aux tensions élevées circulant à l'intérieur de l'appareil
Des pieces sous haute tension sont installées à l'intérieur de l'appareil. Ne démontez jamais les caches de protection. Les pieces à l'intérieur de l'appareil ne nécessitent aucun entretien de la part de l'utilisateur. N'utilise pas l'appareil lorsque des caches, disposits de protection ou composants optiques manquent ou sont endommagés.

DANGER!
Décharge électrique due à un court-circuit
Utilisez toujours un cable d'alimentation électriche à trois fils et isolé correctement avec une fiche à contacts de protection. Ne modifiez ni le cable d'alimentation ni la fiche électriche. En cas de non-respect, il y a risque de décharge électriche et danger d'incendie et de mort. En cas de doute, veuillez contacter votre électricien agéré.
Rayonnement laser - Ne pas s'exposer au rayon
L'appareil est équipé d'un laser de la classe 3B conformément à la classification selon la norme EN 60825-1:2015. Ne pas regarder dans le rayon laser. Ceci peut provoquer des léasons des yeux. Ne pas s'exposer au rayon laser. Le rayon laser peut provoquer des brûlures. Dans ce contexte, également faire preue d'une grande prudence durant l'utilisation d'instruments optiques!

AVERTISSEMENT!
Blessures des yeux dues à une intensité lumineuse élevée
Ne regardez jamais directement dans la source lumineuse.

AVERTISSEMENT!
Danger de crise d'épilepsie
Les flashs (effets stroboscopiques) peuvent provoquer des crises d'épilepsie chez les personnes sensibles. Les personnes sensibles devraient évider de regarder les flashes.

REMARQUE!
Rayonnement laser - Risque de brûlures
Eloignez toutes les substances inflammables de la zone balayee par les rayons laser.

laser
REMARQUE!
Risque d'incendie
Ne recouvre jamais les fentes d'airation. Ne montez pas l'appareil à proximite directe d'une source de chaleur. Tenez l'appareil éloigné des flammes.nues.
REMARQUE!
Conditions d'utilisation
L'appareil est concu pour une utilisation en interieur. Pour ne pas I'endommager, n'exposez jamais I'appareil a des liquides ou a l'humidite. Evitez toute exposition directe au soleil, un encrasement important ainsi que les fortes vibrations. Utilise z'appareil seulement sous les conditions d'environnement indiquees dans le chapitre « Données techniques » de la notice d'utilisation. Evitez de fortes variations de température et ne mettez pas en marche I'appareil immédiatement après des variations de température (p.ex. après le transport par temps froid). Les dépôts de poussière et salissures à l'intérieur de peuvent endommager I'appareil. Lors des conditions d'environnement correspondantes (poussière, fumée, nicotine, brouillard, etc.), I'appareil doit être maintainu régulierement par un professionnel dument qualifié pour éviter des dommages par surchauffe et d'autre dysfonctionnements.
REMARQUE!
Alimentation electrique
Avant de raccorder l'appareil, controz si la tension indiquee sur I'appareil correspond a la tension de votre reseau d'alimentation local et si la prise de courant est equipede d'un disjoncteur differentiel. En cas de non-observation, I'appareil pourait etre endomage et I'utilisateur risquerait etre blese. Lorsqu'un orage s'annonce ou que I'appareil ne doit pas etre utilisependant une periode prolonge, debranchez-le du secteur afin de reduire le risque de decharge eletrique ou dincendie.
Eventuels dommages dus à un fusible incorrect
L'utilisation des fusibles d'un autre type peut entrainer des dommages graves sur l'appareil. Risque d'incendie! Utilisez uniquement des fusibles du même type.
REMARQUE!
Risque d'incendie en cas d'inversion de la polarite
Les piles et batteries insérées dans le mauvais sens peuvent détruire l'appareil ainsi que les piles et batteries en soi. Lors de l'insertion des piles et batteries, respectez la polarité.
REMARQUE!
Risque de dommages dus aux piles qui fuent
Les piles et batteries qui fuient peuvent durablement endommager l'appareil. Lorsque vous ne l'utilise pas durant une période prolongée, retirez les piles et batteries de l'appareil.
REMARQUE!
Formation possible de taches
Le plastifant contenu dans les pieds en caoutchouc de ce produit peut eventuèlement réagir avec le revêtement du support et provoquer des taches sombres qui ne partent pas. En cas de doute, ne posez pas les pieds en caoutchouc directement sur le support et utilisez une sous-couche apropriée si nécessaire, p.ex. des patins en feutre ou similaire.
3 Performances
Le laser convient particulièrement aux discothèques, clubs, bars, petites scènes, etc. et s'intègre sans problème au spectacle lumière, mais fonctionne aussi en mode autonome.
Caracteristiques particulieres de l'appareil :
- Contrôle par DMX (5 canaux), par les touches et l'écran de l'appareil et télécommande à infrarouges fournie (n° art. 277447)
Shows automatiques préprogrammés
Commande par la musique
Mode maitre/esclave
Diodes laser: rouge (100 mW, vert (40 mW)
Sortez l'appareil de son emballage et vérifie soigneusement l'absence de tout dommage avant de l'utiliser. Veuillez conserver l'emballage. Utilisez l'emballage d'origine ou vos propres emballages particulièrement appropriés au transport ou à l'entreposage afin de protégger l'appareil des secousses, de la poussière et de l'humidité pendant le transport et l'entreposage.
Voussouspuez installer I'appareil en position verticale ou dans une position suspendue.Pendant sonutilisation,l'appareildoit alwaysetrefixesurunsurface solideouun supportcertifié.
Travailliez toujours à partir d'une plate-forme stable lors de l'installation, du déplacement ou de l'entretien de l'appareil. Pendant les travaux, la zone en dessous de l'appareil doit être bouclée.

laser
Interrupteur de sécurité (arrêt d'urgence)

Branchez l'interrupteur externe de sécurité (non compris dans la livraison) à la prise de connexion de l'appareil prévue à cet effet. En appuyant sur l'interrupteur, le faisceau laser se coupe immidiatement.
Observe les consignes de sécurité du fabricant du commutateur et les règlements pour une'utilisation conforme.
Lors de l'installation, respectez la hauteur minimale applicable (min. 2,7 m selon DGUV V11 en Allemagne) pour garantir la sécurité des personnes et respectez les valeurs limites de rayonnement maximal de l'oeil ou de la peau avec un laser.
La détermination de ces valeurs limites dépendent au cas par cas des conditions d'environnement et doit être base sur la norme applicable DIN EN 60825-1:2015 par le responsable de protection laser en charge sur le site.

AVERTISSEMENT!
Risque de blessures par la chute de l'appareil
Assurez-vous que le montage soit conforme aux normes et consignes en vigueur dans votre pays. Sécurisez toujours l'appareil à l'aide d'une seconde fixation, par exemple un cable de retenue ou une chaîne de sécurité.

laser

DANGER!
Observe les instructions du chapitre « Consignes de sécurité » dans la notice d'utilisation.
Afin d'éviter toute exposition accidentelle au rayon laser, retirez la clé de sécurité avant le début de l'installation de l'appareil.

AVERTISSEMENT!
Rayonnement laser diffuse
La fixation insuffisante de composants supplémentaires peut etre a l'origine d'un rayonnement laser diffusé.
Assurez-vous de la bonne fixation des composants supplémentaires.
La distance entre la source de lumière et la surface éclairée doit être supérieure à 2,0m .
Assurez une ventilation suffisante.
La température ambiente doit toujours être inférieure à 40^

laser
Mise en place de la pile dans la télécommande

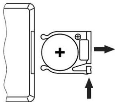
Déplacez le curseur sur le support de pile vers le milieu du boitier et tirez le support à la manière d'un tiroir. Placez la pile à l'intérieur. La pile est placee correctement lorsque le pole positif est orienté vers le fond du boitier de la télécommande. Repoussez le support de pile dans la télécommande jusqu'à enclenchement.
Lors de l'expédition, la pile est déjà placée dans la télécommande et protégée de la décharge par un film plastique transparent. Œtez le film plastique avant la première utilisation.
Risque de dommages dus aux piles qui fuient
Les piles et batteries qui fuient peuvent durablement endommager l'appareil. Lorsque vous ne l'utilise pas durant une période prolongée, retirez les piles et batteries de l'appareil.

REMARQUE!
Risque d'incendie en cas d'inversion de la polarité
Les piles et batteries insérées dans le mauvais sens peuvent détruire l'appareil ainsi que les piles et batteries en soi.
Lors de l'insertion des piles et batteries, respectez la polarité.

laser
5 Mise en service
Établissez toutes les connexions tant que l'appareil n'est pas branché. Pour toutes les connexions, utilisez des cables de qualite qui doivent etre les plus courts possibles. Posez les cables afin que personne ne marche dessus ni ne trebuche.

DANGER!
Rayonnement laser
Observe les instructions du chapitre « Consignes de sécurité » duprésent manuel.
Risque de perturbations durant la transmission des données
Afin de garantir un fonctionnement irréprochable, n'utilise pas des cables de microphone courants, mais des cables DMX spéciaux.
Ne raccordez jamais l'entrée ou la sortie DMX à des périhériques audio tels que tables de mixage ou amplificateurs.

laser
Connexions en mode DMX
Raccordez l'entree DMX de I'appareil a la sortie DMX d'un contrôleur DMX ou d'un autre appareil DMX. Raccordez la sortie du premier appleil DMX à l'entrée du second appleil et ainsi de suite. Verifiez que la sortie du dernier appleil DMX de la chaine est terminée avec une résistance (110 Ω, ¼ W).

Connexions en mode de fonctionnement « Master/Slave »
Si vous configUREZ un groupe d'appareils en mode maître/esclave, le premier apparéil commande les autres et permet un spectacle automatique piloté et synchronisé par la musique. Cette fonction est particulièrement utile pour démarrer un spectacle sans grands travaux de programmation. Connectez la sortie DMX de l' apparéil maître avec l'entrée DMX du premier apparéil esclave. Connectez ensuite la sortie DMX du premier apparéil esclave à l'entrée esclave du deuxième apparéil esclave, et ainsi de suite.

laser
6 Connexions et éléments de commande
Face avant

1 Orifice de sortie du laser
2 [POWER]
Indique que l'appareil est sous tension
3 [MUSIC]
indique que le signal de son ou de musique est détecté
4 [IR]
Récepteur du signal infrarouge de la télécommande
Face arrière

5 Connecteur d'alimentation CEI avec porte-fusible pour le cable réseau.
6 [OUTPUT]
Sortie DMX
7 [INPUT]
Entée DMX
8 Eillet pour une corde de sécurité
9 [LOCK]
Interrupteur de sécurité à clé: active ou désactive la sortie laser.
10 [REMOTE]
Branchement d'un commutateur externe de sécurité (p.ex. bouton d'arrêt d'urgence)
11 Ecran
12 [FUNC]
ouvre le menu principal

laser
13 [UP]
incremente la valeur affichee d'une unité
14 [DOWN]
déprémente la valeur affichée d'une unité
15 [ENTER]
Sert à selectionner une option du mode de fonctionnement concenné
16 [MIC]
microphone pour le mode de fonctionnement Musique
Comme la télécommande universelle peut être utilisée pour plusieurs types d'apparreils, il se peut que certaines touches ne soient pas attribuées et n'aient donc aucune fonction.


laser
1 [AUTO]
Lance un show automatique dans un ordre aléatoire.
2 [MUSIC]
Lance un show automatique, pilote par la musique dans un ordre aléatoire.
3 [ON/OFF]
Lorsque l'appareil est en mode Auto-Show ou en test automatique, appuyez sur la touche pendant plusieurs secondes pour passer au mode de fonctionnement Telecommande.
Lorsque l'appareil est déjà en mode Telecommande, cette touche active ou désactive le laser.
4 Change les couleurs utilisées pour représentier les patterns.
Pour n° art. 276235, n° art. 276238 y pour n° art. 272917 : sans fonction
5 Arête un show ou le redémarre.
6 [A]
Revient au pattern precedent.
Pour n° art. 255628: Active ou désactive le clignotement (flash effect) pour le laser rouge.
Modifie la sensibilité et donc, le comportement du microphone. Appuyez d'abord sur [MUSIC], puis sur [B] et finally sur une touche de [0] à [9] du pavé numérique.
Pour n° art. 255628: Active ou désactive le clignotement (flash effect) pour le laser vert.
8 [C]
Passe au pattern suivant.
Pour n° art. 255628: sans fonction
9 Pavé numérique permettant de saisir directement les valeurs (sensibilité du microphone ou n^ de pattern). Pour entrer des nombres à deux chiffres, appuyez sur [-/-] avant le premier chiffre et avant le second.
Pour n° art. 255628 : Clavier numérique pour la saisie directe des valeurs (fréquence de clignotement, vitesse du moteur, vitesse de l'effet Double Burst Grating).
10 Bascule entre le pattern actuel et le dernier pattern affché.
Pour n° art. 255628 : Commande en konjection avec le clavier numérique la vitesse de moteur de l'optique du laser.
11[-/--]
Touché de commutation pour la saisie de nombres à deux chiffres.
Pour n° art. 255628 : Contrôle en konjection avec le clavier numérique l'effect Double Burst Grating.

laser
7 Utilisation
7.1 Mise en service de l'appareil
Effectuez les étapes suivantes pourmettre l'appareil en service :
- Vérifie que toutes les mesures de sécurité laser ont été prises. Assurez-vous que personne ne se trouve dans la zone du rayon laser.
- Branchez à la prise de connexion [REMOTE] (10) un interrupteur externe de sécurité (par ex. bouton d'arrêt d'urgence) ou un dispositif équivalent doté d'une fonction de protection.
- Introduisez la clé de sécurité dans la serrure (9) et tournez-la en position OFF.
- Branchez l'appareil au réseau électrique (5) si ce n'est pas encore fait.
- Le ventilateur et les moteurs commencer à fonctionner quelques secondes après. Le mode de fonctionnement actuellement sélectionné s'affiche sur l'écran. L'appareil est maintainant pré à fonctionner.
- Tournez la clé de sécurité (9) en position ON pourmettre le rayon laser en marche.
7.1.1 Mise hors service de l'appareil
- Tournez la clé de sécurité (9) en position OFF pour arrêtier le rayon laser et enlevez la clé.
Conservez la clé de sécurité en un endroit sûr. - Vous pouvez en plus couper l'appareil du réseau électrique (5).
7.2 Menu principal
Appuyez sur [FUNC] pour activer le menu principal et selectionner l'un des modes de fonctionnement.
Lorsque l'affichage clignote, utilisez les touches [UP] et [DOWN] pour modifier la valeur affichee respective. Lorsque I'ecran affiche la valeur souhaitee, appuyez sur [ENTER]. Pour revenir au menu principal sans modifications, appuyez sur [FUNC] ou patientez une minute.
Tous les réglages entreprises auparavant sont enregistrés, même si l'appareil est coupé du se-. teur.

laser
Mode de fonctionnement « Auto-Show » (Show automatique)
Appuyez sur [FUNC] jusqu'à ce que l'écran affiche « Aut ». L'appareil fonctionne en mode auto-nome et présente un « show » préprogramme qui peut être pilote par le microphone intégré sur demande. Utilisez les touches [UP] et [DOWN] pour sélectionner entre le show préprogramme avec ou sans commande par la musique (affichages « Sou » ou « Aut »).
Pour régler la sensibilité et donc le comportement du microphone pour la commande par la musique du show préprogramme, appuyez sur [ENTER]. L'écran affiche « S 0 ». Vous pouvez désirer, avec les touches [UP] et [DOWN], « S 0 » (sensibilité 0, mode Musique désactivié) et « S 1 » (faible sensibilité) à « S 9 » (sensibilité élevée). Appuyez sur [ENTER] pour enregistrer le réglage.
Notez que le laser est coupé si un show pilote par la musique est seLECTIONné, mais que le microphone ne recoit aucun son.
Mode de fonctionnement « Master/Slave »
Appuyez sur [FUNC] jusqu'à ce que l'écran affiche « SLA ». Lorsqu'il est en ce mode, l'appareil suit exactement le mode du maître auquel il est raccordé. Appuyez sur [ENTER] pour confirmer et démarrer le fonctionnement en mode Maitre /esclave.
Mode de fonctionnement DMX
Appuyez sur [FUNC] jusqu'à ce que l'écran affiche « 001 ». Vous pouvez maintainant régler le numéro du premier canal DMX utilisé par l'appareil (adresse DMX). Sélectionnez une valeur comprise entre 1 et 507 avec les touches [UP] et [DOWN]. Appuyez sur [ENTER] pour enregistrer cette valeur et démarrer le fonctionnement en mode DMX.
Assurez-vous que ce numéro est ajusté à la configuration de votre contrôleur DMX.
Mode de fonctionnement Téle-commande
Appuyez sur [FUNC] à plusieurs reprises jusqu'à ce que l'écran affiche « rEN ». Appuyez sur [ENTER] pour confirmer et démarrer le fonctionnement en mode Télecommande.
Ce mode de fonctionnement permet de piloter l'appareil comportablement à l'aide de la télécommande à infrarouges. Veillez à ce que la télécommande à infrarouges ne soit pas recouverte sur la face avant de l'appareil.

laser
7.3 Vue d'ensemble du menu

7.4 Fonctions en mode de fonctionnement DMX
Canal 1
| Valeur Fonction | |
| Sélection du mode de fonctionnement | |
| 0...50 Laser en arrêt | |
| 51...100 Show automatique | |
| 101...150 Show automatique commandé par la musique | |
| 151...200 Mode de fonctionnement DMX 1 | |
| 201...255 Mode de fonctionnement DMX 2 |

laser
Canaux 2 à 5 en mode de fonctionnement DMX 1
| Canal Valeur Fonction | |
| 2 Rotation | |
| 0...4 Pas de rotation | |
| 5...127 Rotation dans le sens hora (de lent à rapide) | |
| 128...133 Pas de rotation | |
| 134...255 Rotation dans le sens anti-horaire (de lent à rapide) | |
| 3 0...255 Effet de vibration (d'une petite vibration à une grande) | |
| 4 Laser rouge | |
| 0...4 Laser en arrêt | |
| 5...10 Laser allumé | |
| 11...254 Flash (effets stroboscopiques), de lent à rapide | |
| 255 Flash piloté par la musique | |
| Canal Valeur Fonction | |
| 5 Laser vert | |
| 0...4 Laser en arrêt | |
| 5...10 Laser allumé | |
| 11...254 Flash (effets stroboscopiques), de lent à rapide | |
| 255 Flash piloté par la musique | |

laser
Canaux 2 à 5 en mode de fonctionnement DMX 2
| Canal Valeur Fonction | |
| 2 Rotation | |
| 0...4 Pas de rotation | |
| 5...127 Rotation dans le sens hora (de lent à rapide) | |
| 128...133 Pas de rotation | |
| 134...255 Rotation dans le sens anti-horaire (de lent à rapide) | |
| 3 0...255 Effet de vibration (d'une petite vibration à une grande) | |
| 4 Sélection des couleurs | |
| 0...4 Laser en arrêt | |
| 5...20 Rouge constant | |
| 21...35 Rouge éteint, vert constant | |
| 36...50 Rouge et vert constants | |
| Canal Valeur Fonction | |
| 51...80 Effet stroboscopique pour rouge, vert éteint | |
| 81...110 Rouge éteint, effet stroboscopique pour vert | |
| 111...140 Effet stroboscopique pour rouge, vert éteint | |
| 141...170 Rouge constant, effet stroboscopique pour vert | |
| 171...200 Effet stroboscopique pour rouge, vert constant | |
| 201...255 Effet stroboscopique en alternance pour rouge et vert | |
| 5 Flash (effets stroboscopiques) | |
| 0...4 Sans fonction | |
| 5...254 Flash (effets stroboscopiques), de lent à rapide | |
| 255 Flash piloté par la musique | |

laser
8 Données techniques
| Médim laser Rouge : 650 nm (typique), LD GaAlAs | |
| Vert : 532 nm (typique), DPSS Nd:YVO4 | |
| Puisance laser Rouge : 100 mW | |
| Vert : 40 mW | |
| Classification laser selon EN 60825-1 2015 3B | |
| Diamètre du rayon à l'orifice de sortie < 5 mm | |
| Données d'impulsion Toutes les impulsions < 4 Hz (> 0,25 s) | |
| Divergence (par rayon) < 2 mrad | |
| Divergence (lumière totale) < 160° | |
| Nombre de canaux DMX 5 | |
| Connexions d'entrée Alimentation électrique Châssis CEI C14 | |
| Contrôle par DMX Prise XLR, 3 pôles | |
| Connexions de sortie Contrôle par DMX Prise XLR, 3 pôles | |
| Contrôle DMX | |
| Télécommande à infrarouges | |
| Puisance consommée 15 W | |
| Tension d'alimentation | 100 - 240 V ~50/60 Hz |
| Fusible 5 mm × 20 mm, 1,6 A, 250 V, à action retardée | |
| Pile de la télécommande Pile bouton aux ions de lithium CR2025, 3 V | |
| Indice de protection IP20 | |
| Options de montage Suspendu,ABOUT | |
| Dimensions (L × H × P) 145 mm × 80 mm × 160 mm | |
| Poids 1,8 kg | |
| Conditions d'environnement Plage de température | 0 °C...40 °C |
| Humidité relative 20%...80% (sans condensation) | |

laser
Informations complémentaires
| Spectre de couleur RGY | |
| Laser d'animation Non | |
| Laser Grating Oui | |
| ILDA Non | |
| DMX Oui | |
| Puisance jusqu'à 100 | |
| Modulation analogique Non |
9 Cables et connecteurs
Preambule
Ce chapitre vous aide àCHOISIR les bons cables et connecteurs et a raccorder votre précieux equipement de sorte qu'une experience lumineuse parfaite soit garantie.
Veuillez suivre ces conseils, car il est préféable d'être prudent, particulièrement dans le domaine des sons et lumières. même si une fiche va bien dans une prise, le résultat d'une mauvaise connexion peut être un contrôleur DMX détruit, un court-circuit ou « seulement » un spectacle lumière qui ne fonctionne pas.
Connexions DMX

Une prise XLR tripolaire sert de prise DMX, une fiche XLR tripolaire d'entrée DMX. Le dessin et le tableau ci-dessous montrent le brochage d'un couplage adapté.
1 Terre (blindage)
2 Signal inverse, (DMX-, point froid)
3 Signal (DMX+, point chaud)
th·mann
Rayonnement laser à l'intérieur de l'appareil
Observez les instructions du chapitre « Consignes de sécurité » duprésent manuel.
Seul le personnel spécialisé est habilité à effectuer les opérations de maintenance sur l'appareil (ouvert).
Lors de la réalisation de travaux sur l'appareil, portez des lunettes de protection laser adequates.
Nous mentionnons ci-après quelques problèmes susceptibles de se produit en fonctionnement. Vous trouverez sous ce pointquelques propositions de dépannage simple :
| Symptôme Remède | |
| L'appareil ne fonctionne pas, pas de lumière, pas de ventilateur | 1. Vérifiez l'alimentation électrique et le disjoncteur principal. |
| 2. Vérifiez l'interrupteur de sécurité à clé. | |
| 3. Vérifiez l'interrupteur externe de sécurité (par ex. bouton d'arrêt d'urgence). | |
| Aucune réaction sur le contrôleur DMX | 1. Aucun signal DMX n'est reçu si l'écran affiche un chiffre clignotant, par ex. « 001 ». Vérifiez le bon raccordement des connexions et du cable DMX. |
| 2. Si l'écran ne clignote pas et qu'il n'y a pas de reaction, vérifiez les adressages et la polarité du DMX. | |
| 3. Faites un essai avec un autre contrôleur DMX. | |
| 4. Vérifiez si le cable DMX se trouve à proximité ou à côté de cables à haute tension, ce qui pourrait induire des perturbations ou créé des dommages à un cir-cuit d'interfacçage DMX. | |
| Aucune réaction sur la télécommande | 1. Vérifiez si l'appareil est bien en mode Télécommande. [E] doit apparaitre à l'écran. |

laser
| Symptôme Remède | |
| 2. Faites un essai avec la télécommande enCHOISIGSANT un autre angle par rap- port au récepteur en direction de la face avant de l'appareil. La LED MUSIC s'al-lume brièvement lorsque l'appareil reçoit un signal de la télécommande. | |
| 3. Vérifiez la pile de la télécommande. |
Si vous ne réussissez pas à éliminer le dérangement avec les mesures proposées, veuillez contacter notre centre de service. Vous trouverez les coordonnées de contact sur le site www.thomann.de.
Observez les instructions du chapitre « Consignes de sécurité » duprésent manuel.
Afin d'éviter toute exposition accidentelle au rayon laser, retirez la clé de sécurité avant le début du nettoyage de l'appareil.
Lentilles optiques
Nettoyez les lentilles optiques accessibles de l'extérieur afin d'optimiser la puissance lumineuse. La fréquence du nettoyage dépend de l'environnement de fonctionnement : les environnements humides, enfumés ou particulièrement sales peuvent cause des dépôts de poussières importants sur le système optique de l'appareil.
Effectuez le nettoyage avec un chiffon doux et notre nettoyant pour luminaires et lentilles (n° art. 280122).
Séchez toujours les pieces avec soin.
th·mann
12 Protection de l'environnement
Recyclage des emballages

Pour les emballages, des matériaux ecologiques ont ete retenus qui peuvent etre recyclés sous conditions normales.
Assurez-vous d'une élimination correcte des enveloppes en matière plastique et des emballages.
Ne jetez pas tout simplement ces matériaux, mais faites en sorte qu'ils soient recyclés. Tenez compte des remarques et des symboles sur l'emballage.
Recyclage des batteries

Les batteries ne doivent être ni jetées ni brûlées, mais recyclées en conformité avec les prescriptions locales en matière de recyclage de déchets spéciaux. Utilisez les déchetteries mises en place pour ces déchets.
Éliminez les batteries au lithium uniquement en état de décharge. Retireez les batteries au lithium interchangeables de l'appareil avant l'élimination. Protégez les batteries au lithium utilisées contre un court-circuit, par exemple en collant du ruban adhésif sur les pôles. Recyclez les batteries au lithium intégrées avec l'appareil. Renseignez-vous sur un site de collecte correspondant.
Recyclage de votre ancien appar-. reil

Ce produit relève de la directive européenne relative aux déchets d'équipements électriques et électroniques (DEEE) dans sa version en vigueur. Il ne faut pas éliminer votre ancien apparéil avec les déchets domestiques.
Recyclez ce produit par l'intermédiaire d'une entreprise de recyclage agrée ou les services de recyclage communaux. Respectez la reglementation en vigueur dans votre pays. En cas de doute, contactez le service de recyclage de votre commune.

laser
Remarques
Notice Facile