ANI22 - Mixeur plongeant SHURE - Notice d'utilisation et mode d'emploi gratuit
Retrouvez gratuitement la notice de l'appareil ANI22 SHURE au format PDF.
| Caractéristiques techniques | Mixeur plongeant professionnel, puissance 600W, vitesse variable, longueur du câble 2m |
|---|---|
| Utilisation | Idéal pour mixer, émulsionner, et réduire en purée des aliments, adapté pour les soupes, sauces et smoothies |
| Maintenance et réparation | Nettoyage facile à l'eau, pièces démontables pour un entretien simplifié, garantie de 2 ans |
| Sécurité | Système de verrouillage de sécurité, protection contre la surchauffe, matériaux sans BPA |
| Informations générales | Poids léger pour une manipulation aisée, design ergonomique, compatible avec divers accessoires |
FOIRE AUX QUESTIONS - ANI22 SHURE
Questions des utilisateurs sur ANI22 SHURE
0 question sur cet appareil. Repondez a celles que vous connaissez ou posez la votre.
Poser une nouvelle question sur cet appareil
Téléchargez la notice de votre Mixeur plongeant au format PDF gratuitement ! Retrouvez votre notice ANI22 - SHURE et reprennez votre appareil électronique en main. Sur cette page sont publiés tous les documents nécessaires à l'utilisation de votre appareil ANI22 de la marque SHURE.
MODE D'EMPLOI ANI22 SHURE
Interface réseau audio
ANI22 Interface réseau audio 3
Premiers pas 3
Étape 1: Connexion à un réseau 3
Étape 2: Accès à l'application web 3
Étape 3: Connexion d'appareils au logiciel Dante Controller 4
Étape 4: Configuration de l'audio 4
Obtenir plus d'informations 5
Description générale 5
Matériel et installation 5
Matériel 5
Alimentation sur Ethernet (Power over Ethernet, PoE) 8
Identification d'appareil 8
Installation et montage en rack 8
Reinitialisation 11
Options de réinitialisation du logiciel 11
Sommation 11
Ajustement des niveaux d'entrée 12
Sources Dante 12
Sources audio 12
Ajustement des niveaux de sortie 13
Sorties Dante 13
Sorties analogiques 13
Paramètres audio 13
Fonctions des canaux 13
Options de mesure (pré-gain et post-gain) 14
Égaliseur paramétrique 14
Préroglages personalisés 17
Silence synchro 18
Connexions et flux des signaux 18
Applicationslogiques 20
Cryptage 20
Mise en réseau et Dante 21
Flux de transmission Dante 21
Copiedunomdesappareils surleréseauDante 21
Compatibilité avec Dante Domain Manager 21
Paramètres QoS (qualité de service) 21
Journal des événements 23
Utilisation des chaînes de commande 24
Charactéristiques 24
Accessoires 26
Accessoires fournis 27
Accessoires en option et pieces de rechange 27
Informations de sécurité 27
CONSIGNES DE SECURITE IMPORTANTES 27
Informations importantes sur le produit 28
Interface réseau audio
Premiers pas
Cet apparemil est doté d'une application Web qui commande les propriétés audio et du réseau. Une fois le processus de configuration de base terminé, les actions suivantes sont disponibles :
Acceder a l'application Web pour personaliser les reglages audio et les propriétés du réseau
Utiliser le logiciel DanteTM Controller pour connecter l'appareil à d'autres appareils Dante et transférer le son
- Acceder aux informations complémentaires relatives à la configuration
Étape 1: Connexion à un réseau
- Utiliser un cable Ethernet (Cat5e ou supérieure) pour connecter l'ANI22 à un commutateur réseau.
Remarque: Le commutateur reseau doit fournir une alimentation via Ethernet (PoE). Veiller a utiliser un port PoE dans la mesure ou de nombreux commutateurs ne fournissent pas d'alimentation sur tous les ports.
- Raccorder un ordinateur au un commutateur reseau avec un cable Ethernet

Étape 2: Accès à l'application web
- Telecharger l'application Shure Device Discovery (www.shure.com) et I'installer.
- Ouvrir l'application Shure Device Discovery
- Double-cliqueur sur l'appareil pour ouvrir l'application Web.
Conseil : Lors de la configuration de plusieurs appareils Shure, appuyer sur le bouton Identify de l'application pour faire clignoter les temoins de l'appareil.

Étape 3 : Connexion d'appareils au logiciel Dante Controller
- Telecharger le logiciel Dante Controller sur www.audinate.com et l'instructor
- Utiliser Dante Controller pour creer des connexions avec d'autres appareils Dante
Remarque: Se reporter au guide d'utilisation de Dante Controller pour plus d'informations sur l'acheminement du canal (disponible sur www.audinate.com/resources/technical-documentation)
Exemple: Connexion de I'ANI22 et du MXA310 de Shure

- Rechercher le MXA310 dans la liste des émetteurs Dante et selectionner le signe plus (+) pour afficher tous les canaux.
- Rechercher l'ANI22 dans la liste des recepteurs Dante et selectionner le signe plus (+) pour afficher tous les canaux.
- Cocher la case dans laquelle la sortie AUTOMIX OUT du MXA310 et l'entrée DANTE INPUT 1 de I'ANI22 se croisent
Étape 4: Configuration de l'audio
- Brancher un apparéil analogique (tel que des haut-parleurs ou des systèmes de microphone sans fil) aux entrées et sorties analogiques. Se reporter à la section Matériel du présent guide pour plus d'informations sur les branchements et les mesures LED.
- Dans l'application Web ANI22, régler les niveaux d'entrée et de sortie puis effectuer une vérification du son. Se reporter aux sujets d'aide de l'application Web pour plus d'informations.


Obtenir plus d'informations
Maintenant que la configuration de base est terminée, l'application Web est accessible et il est possible de transférer le son entre les différents appareils. Des informations complètes sont disponibles en ligne et dans la section d'aide, en relation notamment avec les points suivants :
- Optimisation de la qualité audio avec l'égaliseur paramétrique intégré
- Chaines de commande du système de contrôle externe
- Schemas de disposition de systèmes
- Configuration du logiciel
- Informations de mise en réseau
- Dépannage
- Pièces de rechange et accessoires
Le guide d'utilisation complet est disponible sur http://pubs.shure.com/guide/ANI22
Description générale
L'interface réseau audio ANI22 de Shure fournit 2 canaux de conversion Dante-analogique et 2 canaux de conversion analogique-Dante. Une interface unique permet de raccorder simplement l'équipment analogue au réseau audio, tels que des microphones sans fil, proceseurs audio, CODECs video et systèmes de haut-parleur. Disponible en versions XLR et à connecteurs bloc, chaque boîtier utilise un cable réseau unique pour fournir l'audio et l'alimentation via Ethernet (PoE). Une application Web sur navigateur contrôle les réglages audio et de réseau depuis n'importe quel ordinateur connecté au même réseau.
Matériel et installation
Matériel
Modèle à connecteurs bloc :


Modèle XLR :
① Témoins de signal/écretage
Chaque témoin correspond à un canal unique. Les réglages du gain analogique et numérique se font à l'aide de l'application Web.
Si la LED d'un canal d'entrée devient rouge, attenuer le niveau de l'appareil source pour éviter l'échéage à l'étage d'entrée.
Si la LED d'un canal de sortie devient rouge, réduire l'affaiblisseur Gain numérique (dB) correspondant du canal Dante sur l'onglet Canaux d'entrée. Ne pas diminuer le niveau de sortie (ligne/aux/micro) étant donné que tout écrêtage indiqué par la LED se produit avant l'étagne de niveau de sortie final.
| État des LED | Niveau du signal audio |
| Éteinte | moins de -60 dBFS |
| Verte | -59 à -24 dBFS |
| Jaune | -23 à -1 dBFS |
| Rouge | 0 dBFS ou plus |
② Connexions audio et logiques
Remarque : Les connexions logiques apparaissent uniquement sur la version à connecteurs bloc.
Affectation des broches des connecteurs bloc :
Entree
| + | Audio + |
| - | Audio - |
| ½ | Masse audio |
| commutateur | Coupure du son logique (envoyée depuis le microphone) |
| LED | Logique de LED (reçue par le microphone) |
| masse | Masse de logique |
Sortie
| + | Audio + |
| - | Audio - |
| ½ | Masse audio |
Affectation des broches XLR:
| 1 | Masse |
| 2 | Positif |
| 3 | Négatif |
③ Vis de masse châssis
Fournit une connexion en option pour le fil blinde du micro à la masse chassinis.
(4) Témoins à LED
Alimentation : Alimentation via Ethernet (Power over Ethernet, PoE) presente
Remarque : Utiliser un injecteur de PoE si le commutateur reseau ne fournit pas d'alimentation PoE.
Réseau : Connexion réseau active
Audio réseau : Audio Dante liént sur le réseau
Remarque: Le détaill des erreurs est disponible dans le journal des événements de l'application Web.
| État des LED | Activité |
| Éteinte | Pas de signal actif |
| Verte | Bon fonctionnement du dispositif |
| Rouge | Erreur détectée. Voir le journal d'evénements pour plus de détails. |
| Cryptage: |
| État des LED | Activité |
| Éteinte | L'audio n'est pas crypté |
| Verte | Connexion audio correctement cryptée avec un autre apparairel |
| Rouge | Erreur de cryptage. Causes possibles :Cryptage activé sur un apparil et pas sur un autreDisparité de phrase secrête |
⑤ Port reseau Dante
Se raccorde à un commutateur réseau pour envoyer l'audio Dante tout en recevant l'alimentation via Ethernet (PoE) et les données en provenance du logiciel de contrôle. Voir la section Dante et mise en réseau pour plus d'informations.
⑥ Bouton reset
Rétablit les paramètres par défaut de l'appareil.
Alimentation sur Ethernet (Power over Ethernet, PoE)
Cet appareil necessite une PoE pour fonctionner. Il est compatible avec les sources de PoE de Classe 0 et de Classe 3.
L'alimentation via Ethernet est fournie de l'une des manieres suivantes :
- Un commutateur réseau fournissant une PoE
- Un injecteur de PoE
Identification d'appareil
Pour identier le matériel en faisant clignoter les temoins, selectionner le bouton Identier dans la section des options de l'appareil.
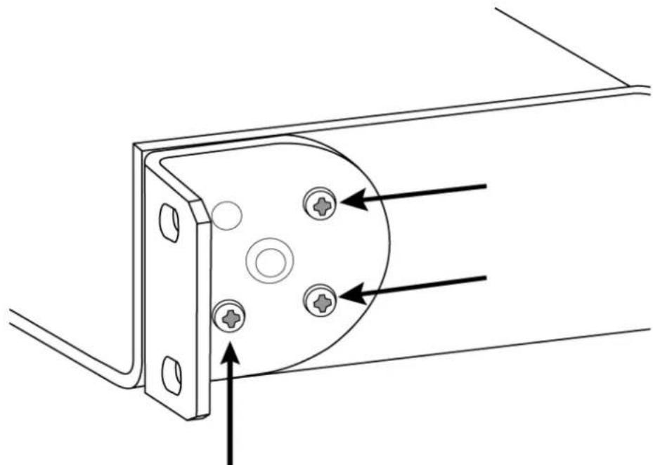
Installation et montage en rack
Deux solutions de montage sont disponibles pour installer l'interface réseau audio :
plateau de rack CRT1 de 19 po (accessoire en option) : peut accueillir jusqu'à 3 apparéils et être monté dans un rack ou sous une table
Plateau de montage pour une unité (accessoire inclus) : accueille un seul apparéil et se monte sous une table
Fixation des appareils
Utiliser les vis inclues dans le kit de matériel de montage pour fixer les interfaces réseau audio. Les interfaces réseau audio peuvent etre montees dans un sens ou dans l'autre. Inserer les vis par le bas dans les trous appropriés, comme indiqued sur les schemas suivants :

Aligner les trous comme indiqué pour fixer un seul apparéil dans le plateau de montage pour une unité.

Aligner les trous comme indiqué pour fixer jusqu'à 3 apparèils dans le plateau de rack de 19 po.
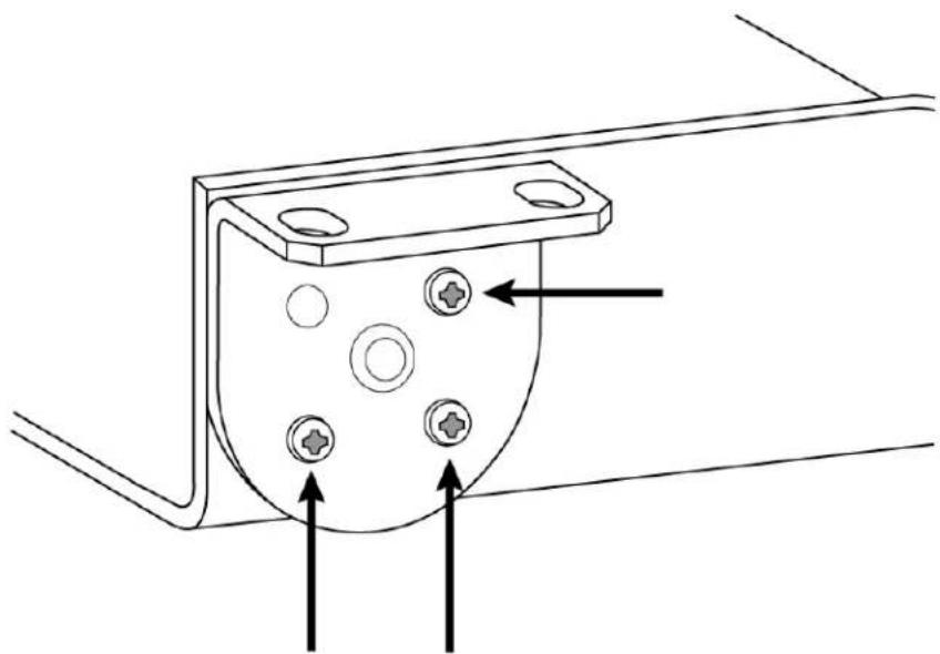
Configuration des équres de rack
Jusqu'a 3 interfes reseau audio peuvent etre installes dans un rack de 19 po. Les equerres de rack reglables peuvent etre montees dans un rack de materiel standard ou sous une table.
Montage dans un rack de 19 po standard
- Aligner les équres en orientant les trous de montage vers l'avant.
- Insérer 3 vis pour maintainir I'équerre au plateau, comme indiqué.

Montage sous une table
- Aligner les équérres en orientant les trous de montage vers le haut.
- Insérer 3 vis pour maintainir l'équerre au plateau, comme indiqué.

Installation sous une table
- Maintainir le plateau à l'emplacement souhaité sous une table.
- À l'aide d'un crayon, marquer l'emplacement des trous de montage sur la table.
-
Percer 4 trous pour les vis. Les trous du plateau font 7,1 mm de diamètre.
-
Installer les composants dans le plateau.
- Installer les 4 vis pour fixer le plateau sous la table.
Réinitialisation
Le bouton reset se trouve dans un petit trou dans le panneau arriere. Appuyer dessus à l'aide d'un trombone ou d'un petit outil similaire.
Il existe deux fonctions de réinitialisation du matériel :
Réinitialisation du réseau (appuyer sur le bouton pendant 4 à 8 secondes)
Rétablit les valeurs d'usine par défaut pour tous les paramètres IP de réseau audio et de contrôle Shure
Réinitialisation usine totale (appuyer sur le bouton pendant plus de 8 secondes)
Rétablit les valeurs d'usine par défaut pour tous les paramètres de réseau et relatifs à Designer.
Options de réinitialisation du logiciel
Pour réinitialiser simplement les réglages sans passer par une réinitialisation matérielle totale, utiliser l'une des options suivantes:
Redemarrer l'appareil :redemarre l'appareil comme s'il avait ete debranché du reseau. Tous les parametes sont conserves en cas de redemarrage de l'appareil.
Parametres par défaut : pour revenir à la configuration d'usine des réglages audio (sauf Nom de l'appareil, Réglages IP et Mots de passage), selectionner Charger préréglages puis le préréglage Réglages par défaut.
Sommation
L'interface réseau audio permet la sommation des canaux afin de combiner les signaux d'entrée et de les envoyer sur un seul canal de sortie. Cela permet d'envoyer tous les canaux vers un appareil avec un nombre limite d'entrées analogiques ou de canaux de récepteur Dante. Les niveaux de canaux relatifs ne sont pas affectés ; le mélange est comme dans l'appareil et envoyé sur un seul canal de sortie.
Remarque : quand la sommation est active, un limiteur est activé pour éviter une surcharge de signal. Le limiteur n'afecte pas les sorties directes mais uniquement le signal somme.
Par défaut, le système ANI22 traite le signal de la manière suivante :
- Entree analogue 1 → Sortie Dante 1
- Entree analogue 2 → Sortie Dante 2
- Entree Dante 1 → Sortie analogique 1
- Entree Dante 2 → Sortie analogue 2
Pour combiner les canaux, selectionner l'une des options de sommation dans Canaux > Entres.
| Option de sommation | Destination du signal |
| 1 + 2 | |
| Entrée analogue 1 + entrée analogue 2 | Sortie Dante 1 |
| Sortie Dante 2 | |
| 3 + 4 | |
| Entrée Dante 1 + entrée Dante 2 | Sortie analogue 1 |
| Sortie analogue 2 | |
| 1 + 2 / 3 + 4 | |
| Entrée analogue 1 + entrée analogue 2 | Sortie Dante 1 |
| Sortie Dante 2 | |
| Entrée Dante 1 + entrée Dante 2 | Sortie analogue 1 |
| Sortie analogue 2 | |

3 = Entreee Dante 1
4 = Entre 2


Ajustement des niveaux d'entrée
Les niveaux des canaux analogiques et Dante peuvent être régés dans l'onglet Entrée.
Sources Dante
- Vérifier le niveau de la source avant qu'il n'arrive à l'interface réseau :
Vérifier que les microphones en réseau ou d'autres sources sur Dante sont bien utilisés aux niveaux de sortie nominaux.
- Les niveaux des microphones Microflex Advance™ sont régibles via leur application Web.
-
Ajuster le gain numérique dans l'application Web de l'interface réseau :
-
Utiliser les affaiblisseurs ou saisir une valeur de gain manuellement.
Le gain numérique ajuste le niveau du signal juste avant qu'il n'atteigne les circuits analogiques. - Régler ces niveaux le plus haut possible sans atteindre le niveau de pointe (0 dB) sur l'indicateur.
Sources audio
Avant de commencer, vérifier que les apparciels analogiques avec niveaux de sortie ajustables sont bien utilisés aux niveaux de sortie nominaux. Le gain analogique ajusté le niveau du signal audio juste avant qu'il ne passé d'analogue à numérique. Le réglage se fait par paliers de 3 dB, pour un maximum de 51 dB de gain.
- Modifier le réglage du gain analogique selon le niveau de signal d'entrée :
| Niveau source | Plage de gain |
| Ligne (+4 dBu) | 0 à +9 dB |
| Auxiliaire (-10 dBV) | +9 à +21 dB |
| Microphone (variable) | +21 à +51 dB |
- Les mesures doivent indiquer une pointe entre -18 et -9 dB.
Remarque : il est conseilé de laisser une capacité supplémentaire pour évier l'échéage en cas d'appareils mobiles connectés à des canaux spécifiques.
Ajustement des niveaux de sortie
Sorties Dante
Les niveaux de sortie sont contrôlés par l'affaiblisseur Gain numérique (dB). Toujours ajuster le gain d'entrée avant le gain de sortie. Généralement, le fait de bien régler le gain analogique conduit à un niveau de sortie adéquat. Pour les sources à faible signal, comme un microphoneasse sensibilité, appliquer un certain Gain numérique (dB). Si la sortie dépasse le seuil d'échéage, utiliser les affaiblisseurs Gain numérique (dB) pour réduire le signal.
Remarque : si la sommation est activée sur les canaux d'entrée, utiliser les commandes Gain numérique (dB) et Gain analogique (dB) de la section Entre pour ajuster le mélange.
Sorties analogiques
Régler le niveau de sortie sous output level dans l'interface réseau selon la sensibilité d'entrée du dispositif analogique :
- Niveau ligne (0 dB)
- Niveau aux. (-20 dB)
- Niveau microphone (-46 dB)
Témoins à LED de signal et déprétage
Chaque canal de sortie analogique a une LED correspondante :
Rouge: écrétage du signal audio qui doit donc être attenué.
Paramètres audio
Fonctions des canaux
(Alimentation fantôme de) +48 V
Fournit une alimentation fantôme de +48 V au canal sélectionné.
Inversion de polarité
Chaque canal Dante comprehend une case à cocher pour inverser la polarité du signal d'entrée.
Gain analogue
Règle le gain de façon à optimiser le niveau du signal d'entrée avant que l'audio analogique ne soit converti en audio numérique.
Gain numérique
Règle le niveau du signal numérique pour optimiser l'intensité du signal sur le réseau.
Groupes coupure du son
Cocher la case Groupe coupure du son pour ajouter le canal à un groupe. Couper le son de l'un des canaux du Groupe coupure du son coupé le son de tous les canaux du groupe.
Groupes affaiblisseur
Cocher la case Groupe affaiblisseur pour ajouter le canal a un groupe. Tous les affaiblisseurs du groupe sont liés et s'accordent mutuelles lorsqu'un seul affaiblisseur est regle.
Témoin de logique d'interrupteur
S'allume lorsque l'interface reseau audio recoit un signal logique d'interrupteur d'un microphone.
Remarque : s'applique uniquement au modele à connecteurs bloc.
Témoin de logique de LED
Sallume lssque i'rrace aou audio rooit un signal logique de LED d'un syste de commande sur reseau.
Remarque: s'applique uniquement au modele à connecteurs bloc.
Options de mesure (pré-gain et post-gain)
Chaque canal Dante inclut un vumetre dans l'application Web, sous les sections d'entrée et de sortie, pour mesurer les niveaux des signaux (dBFS).
La mesure pré-gain mesure le niveau du signal sans gain numérique appliqué. Il reflète les réglages de gain analogique sur les deux canaux d'entrée. La mesure post-gain mesure le signal avec le gain analogique et numérique appliqué.
Pour modifier le paramètre de mesure, ouvrir le menu Paramétres, selectionner l'onglet Général et ajuster le paramètre Indication de niveau.
Important : si le signal entrant est ajustable (systèmes de micro sans fil, par ex.), veiller à ce qu'il soit au niveau nominal avant d'ajuster le gain analogique sur l'interface réseau audio.
Égaliseur paramétrique
Optimiser la qualite audio en ajustant la reponse en frquence sur l'egaliseur parametrique.
Applications courantes de l'égaliseur :
Améliorer l'intelligibilité du discours
- Réduire le bruit des systèmes de climatisation ou des videoprojecteurs
Réduire les irregularités de la salle
- Ajuster la réponse en fréquence pour les systèmes de sonorisation

Lors de la configuration du systeme avec le logiciel Designer de Shure, consulter la section d'aide de Designer pour en savoir plus sur ce sujeet.
Définition des paramètres de filtré
Ajuster les parametes de filtrer en manipulant les icones du graphique de reponse en frquence ou en saississant des valeurs numériques. Désactiver un filtré à l'aide de la case à cocher adjacente au filtré.
Type de filtré
Seules la première et la dernière bandes ont des types de filtres selectionnables.
Paramétrique: attenuée ou amplifie le signal dans une plage de fréquence personalisable
Passe-bas: attenue le signal audio en dessous de la fréquence sélectionnee
Dégrade bas: attenue ou amplifie le signal audio en dessous de la fréquence sélectionnée
Passé-haut : atténue le signal audio au-dessus de la fréquence sélectionnée
Dégré haut: attenue ou amplifie le signal audio au-dessus de la fréquence sélectionnée
Fréquence
Selectionner la fréquence centrale du filtré à amplifier/attenuer
Gain
Ajuste le niveau pour un contrôle spécifique (+/-30 dB)
Q
Ajuste la plage de fréquences affectées par le filtre. Lorsque cette valeur augmente, la bande passante diminue.
Largeur
Ajuste la plage de féquences affectées par le filtr. La valeur est représentée en octaves.
Remarque : les parametes Q et Largeur affectent la courbe d'egalisation de la meme facon. Is different uniquement dans la facon dont les valeurs sont re-presentees.

Réglages du canal Copier, Coller, Importer et Exporter l'égaliseur
Ces fonctions permettent d'utiliser facilement les réglages de l'égaliseur d'une installation précédente ou simplement d'accéléer le temps de configuration.
Copie et collage
Permet d'appliquer rapidement le même réglage PEQ à plusieurs canaux.
- Sélectionner le canal dans le menu dérouulant de l'écran PEQ.
- Sélectionner Copier.
- Dans le menu déroulant, Sélectionner le canal auquel appliquer le réglage PEQ puis Sélectionner Coller.
Importation et exportation
Permet d'enregistrer et de charger des réglages PEQ dans/à partir d'un fichier sur un ordinateur. Cela permet de créé une bibliothèque de fichiers de configuration sur les ordinateurs servant à installer le système.
Exporter
Selectionner un canal à partir duquel enregistrer le réglage PEQ puis selectionner Exporter dans un fichier.
Importer
Sélectionner un canal sur lequel charger le réglage PEQ puis sélectionner Importer depuis un fjichier.
Applications de l'égaliseur
L'acoustique des salles de conférence varie en fonction de l'espace, de la forme et des matériaux de construction. Utiliser les consignes du tableau suivant.
| Application de l'égaliser | Paramètres suggérés |
| Amplification des aigus pour améliorer l'intelligibilité du discours | Ajouter un filtré dégradé haut pour amplifier les fréquences supérieures à 1 kHz de 3-6 dB. |
| Réduction du bruit de climatisation | Ajouter un filtré passée-haut pour atténuer les fréquences en dessous de 200 Hz |
| Réduction des échos flottants et des sifflements | Identifier la plage de fréquences spécifique qui s'applique à la salle :1. Définir une valeur Q étroite2. Augmenter le gain entre +10 et +15 dB, puis faire des essais avec des fréquences entre 1 kHz et 6 kHz afin de cerner avec précision la plage d'échos flottants et de sifflements.3. Réduire le gain à la fréquence identifiée (commencer entre -3 et -6 dB) afin de minimiser les parasites in-désirables de la salle |
| Réduction du son creux et de la résonance de la salle | Identifier la plage de fréquences spécifique qui s'applique à la salle :1. Définir une valeur Q étroite.2. Augmenter le gain entre +10 et +15 dB, puis faire des essais avec des fréquences entre 300 Hz et 900 Hz afin de cerner avec précision la fréquence de résonance.3. Réduire le gain à la fréquence identifiée (commencer entre -3 et -6 dB) afin de minimiser les parasites in-désirables de la salle. |
Prérogages personalisés
Utiliser les prérégliages pour enregistrer et rappeler rapidement des paramètres. Jusqu'à 10 prérégliages peuvent être stockés sur chaque apparéil, afin de répondre à différentes dispositions des sièges. Un préréglage enregistrire tous les paramètres d'appareil, à l'exception de Nom de l' apparéil, des paramètres IP et des mots de passer. L'importation et l'exportation des pré-régliages sur de nouvelles installations font gagner du temps et améliorent le déroulement des opérations. Lorsqu'un prérélage est sélectionné, son nom s'affiche au-dessus du menu de préréglage. En cas de modification, un astérisque s'affiche à côte du nom.
Remarque : Utiliser les preréglages par défaut pour revenir à la configuration d'usine (sauf Nom de l'appareil, Réglages IP et Mots de passage).
Ouvrir le menu Presets pour afficher les prêrglages possibles :
Enregistrer comme pré-glage :
enregistrrespecametesur l'appareil
| Charger le préréglage : | ouvre une configuration de l'appareil |
| Importer depuis un fjichier : | telécharge un fjichier de préréglages d'un ordinateur sur l'appareil. Les fjichiers peuvent être sélectionnés depuis le navigateur ou glissés dans la fenêtre d'importation. |
| Exporter dans un fjichier : | enregistre un fjichier de préréglages de l'appareil sur un ordinateur |
Silence synchro
La synchronisation du silence permet de couper ou rétablier simultanément le son de tous les apparéils connectés d'un système de conférence au point exact du signal acheminé. Le statut de coupure du son est synchronisé dans les apparéils par des signaux logiques ou des connexions USB.
Pour utiliser la synchronisation du silence, vérifier que la logique est active sur tous les apparêls.
Le workflow Optimiser de Designer configure tous les parametes de synchronisation du silence utiles.
Appareils compatibles Shure Logic :
P300 (coupe également le son des codecs logiciels pris en charge connectés par USB)
- ANIUSB-MATRiX (coupe également le son des codecs logiciels pris en charge connectés par USB)
Le logiciel Intellimix Room (coupe aussi le son des codecs supportes connectes par USB)
MXA910
MXA920
MXA710
MXA310
- Bouton de mute en réseau
- ANI22-BLOCK
- ANI4IN-BLOCK
- Microphones MX à logique activée, connectés à ANI22-BLOCK ou ANI4IN-BLOCK
MX392
MX395-LED
MX396
MX405/410/415
Pour utiliser la synchro muet, connecter un microphone de série MX avec logique activée à un ANI4IN-BLOCK ou ANI22-BLOCK.
Remarque : Voir les instructions du microphone pour savoir comment activer la logique sur les micros.
Pour de l'aide sur l'implémentation de synchro muette,voir notre FAQ.
Connexions et flux des signaux

(1)
(3)

(4)

control PC
① Entrée analogue avec connexion logique (MX392)
En plus d'acheminer le signal audio, ce microphone périhérique intégre trois autres fils pour les connexions logiques
L'interrupteur situé sur le microphone peut ainsi envoyer un signal de coupure du son logique au reste de l'équipment du réseau et receivevoir un signal de commande de LED logique.
② Sources d'entrée analogiques
Les sources analogiques, telles que les microphones sans fil, sont connectees à l'entrée analogue
③ Appareils de sortie analogiques
Les haut-parleurs, les amplificateurs et les apparéels d'enregistrement sont connectés à la sortie de ligne analogique
④ Equipement compatible Dante
Les microphones Dante, tels que les microphones multi-capsules de table et de plafond Shure Microflex Advance, sont connectés au commutateur réseau et peuvent être acheminés via le logiciel Dante Controller.
⑤ CPU de contrôle
Un ordinateur connecté au réseau accede à l'application Web pour contrcler le niveau et le traitement des canaux.
⑥ Commutateur réseau
Le commutateur reseau fournit une alimentation via Ethernet (PoE) au systeme ANI22 tout en presetant egalement en charge l'ensemble des autres équipements audio compatibles Dante.
Applications logiques
Les entrées à connecteurs bloc intégrent trois connexions de signaux logiques. Les signaux logiques sont convertis en chaînes de commande Ethernet, puis envoyés et reçus par un apparéil (tel qu'un suppresseur d'echo ou système de commande) qui prend en charge les chaînes de commande Ethernet.
Dans ce schéma, les microphones Shure Microflex MX392 sont connectés à l'interface réseau audio. Le bouton mute de chaque microphone envoie un signal logique (d'interrupteur) pour couper le son sur le reste de l'équipment audio. Les microphones reçoivent des signaux logiques (de LED) de façon à ce que leurs LED reflètent l'état de la totalité du système audio.

Cryptage
L'audio est crypté conformément à la norme Advanced Encryption Standard (AES-256), telle que spécifiée dans la publication FIPS-197 du National Institute of Standards and Technology (NIST) du gouvernement américain. Les apparêils Shure qui prennten en charge le cryptage nécessitant une phrase secrête pour étabir une connexion. Le cryptage n'est pas pris en charge avec des apparêls tiers.
Pour activer le cryptage :
- Ouvrir le menu Paramétres et Sélectionner l'onglet Général.
- Sélectionner Enable Encryption.
- Saisir une phrase secrete. Tous les appareils doivent utiliser la même phrase secrete pour étabrir une connexion cryptée.
Important : pour que le cryptage fonctionne, tous les appareils Shure sur le réseau doivent utiliser une connexion cryptée.

Lrs de la configuration du système avec le logiciel Designer de Shure, consulter la section d'aide de Designer pour en savoir plus sur ce suje.
Mise en réseau et Dante
Flux de transmission Dante
Cet apparéil peut prendre en charge jusqu'à deux flux de transmission et deux flux de réception. Un flux unique consiste en une transmission monodiffusion ou multidiffusion et prend en charge jusqu'à quatre canaux.
- Un flux monodiffusion est une connexion point à point entre deux appareils qui prend en charge jusqu'à quatre canaux par flux.
- Un flux multidiffusion est une transmission point à multipoint qui permet d'envoyer jusqu'à quatre canaux à plusieurs récepteurs sur le réseau.
Applications d'appareils Shure
Cet apparéil peut se connecter avec jusqu'à deux apparéils Dante.
Les MXA310, ANI22, ANIUSB-MATRIX et ANI4IN de Shure prennet en charge la transmission multidiffusion. Cela signifie que les flux peuvent transmettre à plusieurs apparciels, autant que le réseau peut en accepter. Si l'on utilise des flux monodiffusion, chaque apparéil peut se connecter avec jusqu'à deux récepteurs Dante.
Le système ANI4OUT de Shure peut se connecter avec jusqu'à deux émetteurs Dante.
Copie du nom des appareils sur le réseau Dante
Pour envoyer le nom d'un appeareil à afficher dans le contrôleur Dante, aller à Paramétres>Général et saisir un nom sous Nom de l'appareil. Sélectionner Transmettre à Dante pour envoyer le nom à afficher sur le réseau.
Remarque: les noms affichés dans Dante Controller sont suiv d'un « d »
Compatibilité avec Dante Domain Manager
Cet appareil est compatible avec Dante Domain Manager (DDM). DDM est un logiciel de gestion de réseau avec authenticatioion des utilisateurs, sécurité basée sur les roles et fonctions d'audit pour les reseaux Dante et les produits compatibles Dante.
Considerations relatives aux appareils Shure contrôlés par DDM :
Lors de I'ajout d'appareils Shure a un domaine Dante, definir l'acces du contrôleur local sur Read Write. Sinon il sera imposible d'acceder aux parametes Dante, d'effectuer une reinitialisation d'usine ou de mettre à jour le firmware de l'appareil.
Si, pour une raisonquelconque, l'appareil et le DDM ne peuvent pas communiquer sur le reseau, le contrôle des parametres Dante, la reinitialisation d'usine et les mises a jour du firmware de l'appareil sont impossibles. Lorsque la connexion est rétable, l'appareil suit la politique définie pour lui dans le domaine Dante.
- Si la fonction de verrouillage des appareils Dante est activée, que le DDM est hors ligne ou que la configuration de l'appareil est définie sur Empecher, certains paramétres de l'appareil sont désactivés, notamment : le cryptage Dante, l'association MXW, les fonctions Parcourir Dante et Calage Dante de l'AD4, et la liaison du SCM820.
Voir la documentation de Dante Domain Manager pour plus d'informations.
Paramètres QoS (qualité de service)
Les paramétres QoS attribuient des priorités à des paquets de données spécifique sur le réseau, assurant ainsi une transmission audio fiable sur les grands réseaux au traffic important. Cette fonction est disponible sur la plupart des commutateurs réseau gérés. même si ce n'est pas obligatoire, attribuer des paramétres QoS est recommendé.
Remarque : Coordonner les modifications avec l'administrateur reseau afin d'eviter toute perturbation du service.
Pour attribuer des valeurs QoS, ouvr l'interface du commutateur et utiliser le tableau suivant pour attribuer des valeurs de file d'attente associées à Dante
- Attribuer la valeur la plus élevé possible (4 dans cet exemple) aux événements PTP pour lesquels le temps est critique
Utiliser des valeurs de priorite descendante pour chaque paquet restant.
Valeurs de priorite QoS Dante
| Priorité | Applications | Étiquette DSCP | Hexadécimal | Décimal | Binaire |
| Élevé (4) | Événements PTP pour lesquels le temps est critique | CS7 | 0x38 | 56 | 111000 |
| Moyen (3) | Audio, PTP | EF | 0x2E | 46 | 101110 |
| Faible (2) | (réservé) | CS1 | 0x08 | 8 | 001000 |
| Néant (1) | Autre traffic | BestEffort | 0x00 | 0 | 000000 |
Remarque: La gestion du commutateur peut varier en fonction du fabricant et du type de commutateur. Consulter le guide du produit du fabricant pour connaître les détails spécifiques de configuration.
Pour plus d'informations sur les exigences de Dante et la mise en réseau, rendez-vous sur www.audinate.com.
Terminologie de mise en reseau
PTP (Precision Time Protocol) : utilise pour synchroniser les horloges du réseau
DSCP (Differentiated Services Code Point): Méthode d'identification standardisée pour les données utilisées dans la priorisation de QoS de couche 3
Journal des événements
Le journal des événements fournit des détails sur l'activité de l'appareil à partir de sa mise sous tension. Le journal collecte jusqu'à 1 000 entrées d'activité et les horodate par rapport à la première remise sous tension. Les entrées sont stockées dans la mémoire interne et ne sont pas effacées au redémarge de l'appareil. La fonction Export create un document CSV (valeurs séparées par une virgule) pour enregistrer et trier les données du journal.
Pour plus d'informations lors du dépannage ou de la consultation du service d'assistance systèmes de Shure, consulter le fi-chier journal.
Pour visualiser le journal des événements :
- Ouvrir le menu Help.
- Sélectionner Afficher le journal des événements.
Niveau de gravité
Informations
Actions ou événements executé(e)s avec succès.
Avertissement
Actions ne pouvant pas etre executees mais fonctionnement general stable.
Erreur
Problèmes pouvant entraver le fonctionnement.
Details du journal
Description
Fournit des details sur les événements et les erreurs, notamment l'adresse IP et le masque de sous-reseau.
Horodatage
Mises hors tension/sous tension:jours:heures:minutes:secondes depuis le demarrage le plus recent.
ID d'événement
Indique le type d'évenement pour référence interne.
Conseil : utilise le filtre pour limiter le nombre de résultats.Sélectionner un en- tete de catégorie pour trier le journal.
Utilisation des chaines de commande
Cet appeareil reoit des commandes logiques par le reseau. Plusieurs parametes controlés via Designer peuvent etre controles avec un systeme de commande tiers, a laide de la chaine de commande appropriee.
Applications courantes :
Coupure du son
- Couleur et comportement des LED
- Chargement des prééglages
- Ajustement des niveaux
Une liste complete des chaînes de commande est disponible à l'adresse :
Connexions analogiques
| Entrées | Symétrique active | ANI22-XLR | (2) Connecteur XLR |
| ANI22-BLOCK | (2) connecteur bloc à 6 broches | ||
| Sorties | Impédance symétrique | ANI22-XLR | (2) Connecteur XLR |
| ANI22-BLOCK | (2) connecteur bloc à 3 broches |
Connexions réseau (Audio numérique Dante)
(1)RJ45
Nombre de canaux: 2 Entrées, 2 Sorties
Polarité
Sans inversion, toute entree a toute sortie
Alimentation fantōme
selectionnablenpar canal
+48V
Alimentation
Alimentation sur Ethernet (Power over Ethernet, PoE), Classe 0. (PoE Plus compatible).
Logiciel de contrôle
sur navigateur HTML5
Plage de températures de fonctionnement
-6,7°C (20°F) à 40°C (104°F)
Plage de températures de stockage
-29^ (-20^) a 74^ (165^)
Dissipation de I'energie thermique
| Maximum | 12,1 W (41,3 BTU/h) |
| typique | 9,8 W (33,7 BTU/h) |
Audio
Réponse en fréquence
± 1dB
20 à 20,000 Hz
Audio numérique Dante
| Fréquence d'échantillonnage | 48 kHz |
| Profondeur de bits | 24 |
Latence
| Latence Dante non incluse | Analogue-Dante | 0,35 ms |
| Dante-Analogique | 0,71 ms |
Réglable par pas de 3 dB
51dB
Plage dynamique (Analogue-Dante)
20 Hz à 20 kHz, pondéré en A, typique
113 dB
Bruit d'entree équivalent
20 Hz à 20 kHz, pondéré en A, entree terminée par 150 Ω
| Analogue Gain= +0 dB | -93 dBV |
| Analogue Gain= +27 dB | -119 dBV |
| Analogue Gain= +51 dB | -130 dBV |
Distorsion harmonique totale
à 1 kHz, 0 dBV Entrée, 0 dB gain analogue
$$ < 0,05\% $$
Taux de rejet en mode commun
source symétrique 150 Ω à 1 kHz
$$
7 0 \mathrm {d B} $$
Impedance d'entree
5 kΩ
Impedance de sortie
150Ω
Entree Niveau d'ecretage
| Analogue Gain= +0 dB | +20 dBV |
| Analogue Gain= +27 dB | -7 dBV |
| Analogue Gain= +51 dB | -31 dBV |
Niveau de sortie analogue
| Sélectionnable | Ligne | 0 dB |
| Aux. | -20 dB | |
| Micro | -46 dB |
Intégré Traitément du signal numérique
| Par ca-nal | Égaliseur (Paramétrique 4 bandes, Canaux Dante uniquement), Coupure du son, Écrêteur, Gain (140 dB portée) |
| Sys-tème | Sommation des canaux |
Mise en réseau
Cable requis
Catégorie 5e ou supérieure (câble blindé recommende)
Accessoires
Accessoires fournis
| Kit de visserie (modèle XLR) | 90A29254 |
| Kit de matériel de montage (modèle à connecteurs bloc) | 90B33522 |
| Support de montage (rack 1/3) | 53A27742 |
Accessoires en option et pieces de rechange
Plateau de rack 19"
CRT1
Vou n'avoz pas trové ce que you recherchez ? Contactez notre service client pour obtenir de l'aide.
Informations de sécurité
CONSIGNES DE SECURITE IMPORTANTES
- LIRE ces consignes.
- CONSERVER ces consignes.
- OBSERVER tous les averissements.
- SUIVRE toutes les consignes.
- NE PAS utiliser cet apparéil à proximé de l'eau.
- NETTOYER UNIQUEMENT avec un chiffon sec.
- NE PAS obstruer les ouvertures de ventilation. Laisser des distances suffisantes pour permettre une ventilation adequate et effectuer l'installation en respectant les instructions du fabricant.
- NE PAS installer à proximé d'une source de chaleur telle qu'une flâme nue, un radiateur, une bouche de chaleur, un poële ou d'autres appareils (dont les amplificateurs) produit de la chaleur. Ne placer aucune source à flâme nue sur le produit.
- NE PAS retiret le dispositif de sécurité de la fiche polarisée ou de la fiche de terre. Une fiche polarisée comporte deux lames dont l'une est plus large que l'autre. Une fiche de terre comporte deux lames et une troisième broche de mise à la terre. La lame la plus large ou la troisième broche assure la sécurité de l'utiliseur. Si la fiche fournie ne s'adapte pas à la prise électrique, demander à un electricien de replacer la prise hors normes.
- PROTEGER le cordon d'alimentation afin que personne ne marche dessus et que rien ne le pince, en particulier au niveau des fiches, des prises de courant et du point de sortie de l'appareil.
- UTILISER UNIQUEMENT les accessoires spécifiés par le fabricant.
- UTILISER uniquement avec un chariot, un pied, un trépied, un support ou une table spécifique par le fabricant ou vendu avec l'appareil. Si un chariot est utilisé, déplacer l'ensemble chariot-appareil avec précaution afin de ne pas le renver-ser, ce qui pourrait entrainer des blessures.

- DEBRANCHER l'appareil pendant les orages ou quand il ne sera pas utilisé pendant longtemps.
- CONFIER toute réparation à du personnel qualifié. Des réparations sont nécessaires si l'appareil est endommaged'une façon quelconque, par exemple : cordon ou prise d'alimentation endommagé, liquide renversé ou objet tombé à l'intérieur de l'appareil, exposition de l'appareil à la pluie ou à l'humidité, apparil qui ne marche pas normalement ou que I'on a fait tomber.
- NE PAS exposer cet apparéil aux égouttures et aux éclaboussements. NE PAS poser des objets contenant de l'eau, comme des vases, sur l'appareil.
- La prise SECTEUR ou un coupleur d'appareil électrique doit rester facilement utilisable.
- Le bruit aérien de l'appareil ne dépasse pas 70 dB (A).
- L'appareil de construction de CLASSE I doit être raccordé à une prise SECTEUR dotée d'une protection par mise à la terre.
- Pour réduire les risques d'incendie ou de chocoléctrique, ne pas exposer cet apparéil à la pluè ou à l'humidité.
- Ne pas essayer de modifier ce produit. Une telle opération est susceptible d'entrainer des blessures ou la défaillance du produit.
- Utiliser ce produit dans sa plage de températures de fonctionnement spécifique.

Ce symbole indique la présence d'une tension dangereuse dans l'appareil constituant un risque de chic électric.

Ce symbole indique que la documentation fournie avec l'appareil contient des instructions d'utilisation et d'entretien importantes.
Informations importantes sur le produit
L'équipment est prévu pour être utilisé dans des applications audio professionnelles.
Remarque: Ce dispositif n'est pas concu pour etre connecte directement a un reseau Internet public.
Conformite CEM pour les environnements E2 : commerciaux et d'industrie legere. Le contrôle est fonded sur l'utilisation des types de cable fournis et recommandes. L'utilisation de types de cable autres que blindés peut degrader les performances CEM.
Tout changement ou modification n'ayant pas fait l'objet d'une autorisation expresse de Shure Incorporated peut entrainer la nullité du droit d'utilisation de cet équipment.
Étiquette de conformité à la norme ICES-003 d'Industrie Canada : CAN ICES-3 (B)/NMB-3 (B)
Suivre le plan de recyclage regional en vigueur pour les accus, l'emballage et les déchets électroniques.
Autorisé sous couvert de vérification de la partie 15B des réglementations FCC.
Homologations
La déclaration de conformité CE peut être obtenue auprès de : www.shure.com/europe/compliance
Representant agreé européen :
Shure Europe GmbH
Global Compliance
Jakob-Dieffenbacher-Str. 12
75031 Eppingen, Allemagne
Telephone:+49-7262-92490
Ce produit est conforme aux exigences essentielles de toutes les directives européennes applicables et est autorisé à porter la marque CE.
La déclaration de conformité CE peut être obtenue auprès de Shure Incorporated ou de ses représentants européens. Pour les coordonnées, visitor www.shure.com
Notice Facile