Aliona - Chauffage BLYSS - Notice d'utilisation et mode d'emploi gratuit
Retrouvez gratuitement la notice de l'appareil Aliona BLYSS au format PDF.
| Caractéristiques techniques | Chauffage électrique, puissance de 2000W, thermostat réglable, design moderne |
|---|---|
| Utilisation | Idéal pour le chauffage d'appoint dans les pièces de vie, facile à déplacer grâce à ses roulettes |
| Maintenance et réparation | Nettoyage régulier de la grille d'aération, vérification des câbles d'alimentation |
| Sécurité | Protection contre la surchauffe, arrêt automatique en cas de basculement |
| Informations générales | Garantie de 2 ans, consommation énergétique à prendre en compte pour le budget chauffage |
FOIRE AUX QUESTIONS - Aliona BLYSS
Questions des utilisateurs sur Aliona BLYSS
0 question sur cet appareil. Repondez a celles que vous connaissez ou posez la votre.
Poser une nouvelle question sur cet appareil
Téléchargez la notice de votre Chauffage au format PDF gratuitement ! Retrouvez votre notice Aliona - BLYSS et reprennez votre appareil électronique en main. Sur cette page sont publiés tous les documents nécessaires à l'utilisation de votre appareil Aliona de la marque BLYSS.
MODE D'EMPLOI Aliona BLYSS
Radiateur electrique à inertie Coeur de chauffe céramique


Radiateur electrique à inertie
Coeur de chauffe ceramique
Radiateur electrique à inertie


1 - thermoregulateur
2-couvercle droite
3 - corps aluminium du radiateur
4-couvercle gauche
5 - supports muraux supérieure avec blocage
6 - supports muraux inferieure
Ces instructions sont pour votre sécurité. S'il vous plaît de les dire attentivement avant utilisation et les conserver pour referencia future (pour les produits en général)
IMPORTANT:
conserver pour reférence ultérieure:lire attentivement les instructions.
Radiateur electrique à inertie
FR
C'est partie…

Pour bien commencer 07
Avant de commercer / A vérifier 08
Installation de l'appareil 09
Comment installer I'appareil 11
Raccorder l'appareil 14

Et dans le détaill... 18
Commentutiliservotrecapareil 18
Mode d'emploi du thermostat 18
Important / Mise en garde 24
Entretien / En cas de problèmes 25
Recyclage 26
Charactéristiques / Conformité 27
Garantie 28
FR
Radiateur electrique à inertie

blyss
Aliona & Oxana
Radiateur électrique à inertie
Coeur de chauffe ceramique

Pour bien commencer…
Avant de commercer /À vérifier 08
Comment installer I'appareil 11
Raccorder l'appareil 14

| FR Pour bien commencer… | Radiateur électrique à inertie | Avant de commencer |
| A vérifier | ||
| Lisez la notice avant de commencer l'installation de l'appareil. Couper le courant avant le raccordement de l'appareil et vérifie la tension d'alimentation. Conserver la notice, même après l'installation de l'appareil. Le radiateur est livré avec ses fixations et sans ses chevilles (vous doivent les désirer en fonction de vos murs et en respect- ant le poids du radiateur) Votre Produit | ||
| 1. Radiateur | ||
| 2. Thermostat électronique | ||
| Pour installer votre produit, rendez-vous sur la séquence de montage située à la fin du guide. Vous aurez besoin de | ||
| Vous aurez besoin de | ||
Radiateur electrique à inertie
Installation de l'appareil
Installation de l'ordinate

Où installer l'appareil?
Cet apparéil a été concu pour être installé dans un local résidentiel.
Dans tout autre cas, veuilles consulter votre distributeur.
L'installation doit être faite dans les règes de l'art et conforme aux normes en vigueur dans le pays d'installation (NFC 15100 pour la FRANCE).
L'installation doit être réalisée uniquement par une personne qualifiée.
Vous pouvez installer l'appareil dans le volume 2 et 3 d'une salle de bains si le circuit electrique est protégée par un DDR 30mA . L'installation doit être faite de manière à ce qu'il soit impossible de manipuler le radiateur ou le boîtier de commande par une personne utilisant la douche ou la baignoire.
A moins de 25 cm du sol dans une salle de bains et 15 cm du sol dans une autre piece.
| FR Pour bien commencer… | Radiateur électrique à inertie | Installation de l'appareil |
| Installation de l'appareil | ||
| L'installation doit être faite dans les règes de l'art et conforme aux normes en vigueur dans le pays d'installation (NFC 15100 pour la FRANCE). L'installation doit être réalisée uniquement par une personne quali- fée. Vouces pouvez installer l'appareil dans le volume 2 et 3 d'une salle de bains si le circuit électrique est protégée par un DDR 30 mA. L'installation doit être faite de manière à ce qu'il soit impossible de manipuler le radiateur ou le boîtier de commande par une personne utilisant la douche ou la baignoire. À moins de 25 cm du sol dans une salle de bains et 15 cm du sol dans une autre piece. | ||
| Ne pas installer de l'appareil | ||
| Dans une salle de bains en zone 0 et 1 . (fig.1) | ||
| Dans un courant d'air susceptible de perturber sa régulation (sous une VMC etc.) | ||
| Sous une prise de courant ou un interrupteur | ||
| Lors du montage du radiateur, le thermostat ne doit pas toucher le plancher ou le mur. | ||
| A moins de 25 cm du mur de gauche, comme du mur de croite et a moins de 15 cm au-dessous de l'étagère | ||
| IMPORTANT: Pour votre sécurité, lisez les avertissements p. 22 | ||
Comment installer l'appareil ?

fig.2
Fixation mural :
Suivre attentivement la figure 2, 3 et le tableau ci-dessous
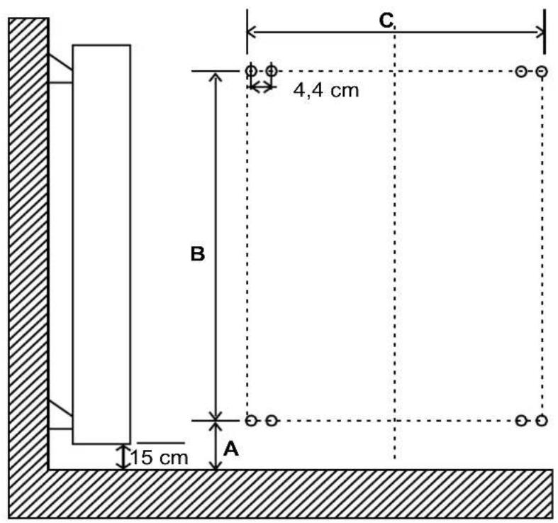
Repérez les points de perçage (fig.3) suivant la cote A, B & C Percez les 8 trous et mettez les chevilles adaptées au type de mur (ex : placoplatre,...) pour garantir une fixation robuste des supports Fixez fermement les pattes d'accrochage à l'aide de vis adaptées Devissez la vis marques. Et faire descendre le bloc dans la direction des fleches. Un fois correctement installe, vissez ensuite les vis correspondantes.
- Repérez les points de perçage (fig.3) suivant la cote A, B & C
- Percez les 8 troust et mettez les chevilles adaptées au type de mur (ex : placoplatre,...) pour garantir une fixation robuste des supports
- Fixez fermement les pattes d'accrochage à l'aide de vis adaptées.
FRR
Radiateur electrique à inertie
Comment installer ...

fig.3
Radiateur electrique à inertie
Comment installer ...
Comment installer I'appareil?



Mur

Posez l'appareil sur les pattes d'accrochage, déserrez les vis marquées, l'élement de blocage de descendre à la direction indiquée par la flèche après qui les vis restreignent (fig. 4 et fig. 5).
Conseil :
Nous vous conseillons d'installer un apparéil adapté à la surface de votre piece soit 100W/m2 environ, pour une hauteur sous plafond de 2,5 m et une isolation normale.
| FR Radiateur électrique à inertie | Raccorder l'appareil |
| Raccorder l'appareil | |
| - L'appareil doit être alimenté en 230V/50Hz. - Le raccordement au secteur se fera à l'aide du cable 3 fils (Bleu=Neutre, Marron=Phase, Noir=Fil pilot) par l'intérémédiaire d'un boîtier de raccordement. Dans des locaux humides comme les salles d'eau et les cuisines il faut installer le boîtier de raccordement au moins à 25 cm du sol. - L'installation doit être équipée d'un dispositif de coupure omnipôlaire ayant une distance d'ouverture de contact d'au moins 3 mm. | |
| Radiateur électrique à inertie | FR |
| Et dans le détail... | |
| Comment utiliser votre appareil | 18 |
| Mode d'emploi du thermostat | 18 |
| Spécification technique | 21 |
| Modes de fonctionnement | 23 |
| Important / Mise en garde | 24 |
| Entretien / En cas de problèmes | 25 |
| Recyclage | 26 |
| Caracteristicques / Conformité | 27 |
| Garantie | 28 |

| Radiateur électrique à inertie | FR |
| Et dans le détail | |
| 1 Le corps du radiateur2 Thermostat électrique3 Thermostat électrique4 Bouton mode fonctionnement5 Bouton marche / arrêtCHAUFFAGE6 Bouton de réglage + / - | 17 |
FR
Radiateur electrique à inertie
Comment utilise ...
Comment utiliser votre apparéil

IMPORTANT
Avant l'utilisation du thermostat électronique,
lisez attentivement ce mode d'emploi.
Mode d'emploi du thermostat
Le boitier de commande à 4 boutons. Le boitier se met en marche en appuyant sur le bouton marche / arrêtCHAuffage. Un point noir clignote - voir figure suivante :

Lorsque le boitier est allumé la température régée est visible.
Le petit icône en a gauche indique le mode de fonctionnement.
Petit icone indiquant le mode de fonctionnement

Radiateur electrique à inertie
Mode d'emploi ...
FR
Pour changer le mode de fonctionnement, appuyez sur le bouton « mode »

On peut programmermer différents niveaux de mode de fonctionnement:
-Programmation-N


- Fil pilote - Anti-gel


- Confort

Sécurité Enfant
I est également possible d'activer le verrou de sécurité. Appuyez simultanément sur les boutons et lesMAININER appuyés pendant environ 3 secondes pour verrouiller les boutons. Un icone cadenas apparait.

Pour débloquer les boutons, appuyez de nouveau simultanément sur les boutons et étes doivent appuyés pendant 3 secondes.
FR
Radiateur electrique à inertie
Mode d'emploi du thermostat
Et dans le détaill...
Programmer le jour et l'heure: Enconcer simultanément les touches de « mode » t de “stand-by” pour entrer dans le mode configuration : le point indiquant le jour de la semaine en cours clignote ; enconcer p a r la bonne date. Le lundi correspond au chiffre 1 / le mardi à 2 / etc.

Enoncez la touche « mode » pour valider.
Maintenant ce sont les « heures » qui clignotent, programmez en utilisant les touches ou validez en enfonçant la touche « mode »

A presente sont les « minutes » qui clignotent ; repeter la meme opération que pour les heures.

Radiateur electrique à inertie
FRSpecificationtec
Instructions technique du thermostat digital programmable
Specification technique du thermostat électronique journalier programmable:

Description du mode Programmation
Ce mode va donc vous permettre deCHOISIR jour par jour (1 a 7,donc soit du lundi au dimanche) d'appliquer une consigne de tempereature haute ( qui sera la consigne comport) et une consigne basse ( qui sera la consigne Nuit). La consigne Confort sera active quand il y aura de positionné une barre noire pleine ( à la tranche horsaire dé-sirée) et la consigne Nuit sera active quand il y aura aucune barre ( à la tranche horsaire choisisie).

Si on prends l'exemple duchioix fait sur le croquis:
En considérant que vous avezcision 20^ comme consigne "Comfort" et 18^ en consigne "Nuit
Le Lundi ( jour 1 : on vait sur l'écran le rond en face du 1 ) votre radiateur va réguler à 18^ de minuit à 5h du matin
Puis il va réguler à 20^ de 5h à 10h du matin. Puis il va réguler à 18^ de 10h à 14h. Puis il va réguler à 20^ de 14h à 20h. Et enfin il va réguler à 18^ de 20h à minuit.

Appuyer sur la touche « mode » pour valider et repeter cette procédure chaque jour de la semaine.
Radiateur electrique à inertie
Modes de fonctionnement

Description du mode de fonctionnement Fil-Pilote
Ce mode de fonctionnement est destiné à l'utilisation normale du thermostat électronique pour le chauffage des locaux. Le thermostat est commandé par les instructions reçues d'une centrale de commande à distance.
- À l'aide du bouton « mode » , mettez en marche le mode
- À l'aide des boutons , règlez la température voulue. Le mode de fonctionnement sera sélectionné par le bloc de commande éloigné Fil-Pilote.
- Dans le cas où le bloc de commande central Fil-Pilote n'est pas installé, le mode de fonctionnement normal sera choisi.

Description du mode de fonctionnement Confort
Ce mode de fonctionnement est destiné à l'utilisation normale de l'appareil électronique pour le chauffage des locaux.
- À l'aide du bouton « mode » , mettez en marche le mode
- À l'aide des boutons , règrez la température voulue. La température ainsi désies sera votre consigne de température et la piece sera ainsi chauffée à cette température.

Description du mode de fonctionnement Nuit
Ce mode de fonctionnement est destiné à une utilisation de nuit. D
- À l'aide du bouton « mode » mettez en marche le mode
- À l'aide des boutons , rèlez la température voulue.

La température dans un local ne peut être identique à la température régée qu'en cas d'appareils de chauffage installés dans un milieu avec les conditions standard. Il est normal d'utiliser les différents réglages de la température pour chauffer deux locaux différents (influence de l'environnement).
Radiateur electrique à inertie
Modes de fonctionnement
FR
Modes de fonctionnement
À l'aide du bouton « mode » « vous pouvez désirir le mode de fonctionnement du thermostat.
| ICONE DESCRIPTION | |
| Mode CHRONO : - Programmation journière et hebdomadaire configurée heures par heures sur deux ambiances (Confort et Nuit). | |
| Mode FIL-PILOT E : - Température régée à l'aide de l'instruction FIL-PILOT E - Toutes les instructions FIL-PILOT E en marche | |
| Mode Veille : - ArrêtCHAUFFAGE - Toutes les instructions FIL-PILOT E hors de marche | |
| Mode Confort : - Réglage de la température voulue - Toutes les instructions FIL-PILOT E hors de marche, sauf instruction Stop | |
| Mode Nuit : - Réglage de la température voulue - Toutes les instructions FIL-PILOT E hors de marche, sauf instruction Stop | |
| Mode Anti-gel : - Les touches sont bloquées - Toutes les instructions FIL-PILOT E hors de marche, sauf instruction Stop | |
| Mode Sûreté : - Les touches sont bloquée - Toutes les fonctions sont actives | |
| Err S | - Délaut de capteur de température |
…!eep suep
Modes fil pilote
En cas de selection du mode Fil-Pilote, la température régée est définie à l'aide du bouton de température et des signaux de Fil-Pilote. Le thermostat sait désigner 6 instructions Fil-Pilote.
Si vous vous absentez pendant plusieurs heures, pensez à baisser la température.
| FR | Radiateur électrique à inertie | Modes de fonctionnement |
| Important | ||
| Et dans le détaill... | - Apre sa mise en fonction de l'appareil, attendez 20 min-utes avant d'apercevoir et sentir la chaleur degajée par le radiateur.- Le premier élément du radiateur côte régulation chauffe à seulement 60% de sa capacité pour protégéger le thermo-stat et le rendre encore plus précis.- A la première mise en chauffe, une légère odeur peut apparaitre correspondant à l'évacuation des évuctuelles traces liées à la fabrication du radiateur.- Il convient de surveiller les enfants pour s'assurer qu'ils ne jouent pas avec l'appareil. | |
| - Cet appariel n'est pas prévu pour être utilisé par des personnes (y compris les enfants) dont les capacities physiques, sensorielles ou mentales sont réduites, ou des personnes dénuées d'expérience ou de connaissance, sauf si elles ont pu bénéficier, par l'intémediaire d'une personne responsable de leur sécurité, d'une surveillance ou d'instructions préalables concernant l'utilisation de l'appareil. | ||
| Mise en garde | ||
| - Afin d'éviter une surchauffe, ne pas couvir l'appareil de chauffage. Veillez à ne pas introduire d'objets ou de papier dans l'appareil.- Toutes interventions à l'intérieur de l'appareil doivent être effectuées par un professionnelnel qualifié.- Pour toutes interventions, il est impératif que l'appareil soit mis hors tension et refroidi avant décrochage de son support.- Si le cable d'alimentation est endommagé, il doit être remplaced par le fabricant, son service après vente ou une personne de qualification similaire afin d'éviter un danger. | ||
| Radiateur électrique à inertie | Entretien | FR |
| Entretien | ||
| Pour conserver les performances du radiateur, il est nécessaire, environ 2 fois par an, d'effectuer son dépoussiérage. Tous les cinq ans faire vérifier l'intérieur de l'appareil par un professionnel. La carrosserie de l'appareil peut être nettoyée avec un chiffon humide, ne jamais utiliser de produits abrasifs. | ||
| En cas de problèmes | ||
| L'appareil nechauffe pas : Vérifiez que la température de consignee est suffisante pour que l'appareilchauffe. S'assurer que les disjonteurs de l'installation soient enclenchés, ou bien que le délesteur (si vous en avez un) n'a pas coupé l'alimentation de l'appareil. Vérifier la température de l'air de la pierce. L'appareilchauffe tout le temps : Vérifiez que l'appareiln'est pas situé dans un courant d'air ou que le réglage de température n'a pas été modifié. | ||
| FR | Radiateur électrique à inertie | Recyclage / Environnement |
| Recyclage | ||
| Les déchets ELECTriques ne doivent pas être jetés avec les déchets menagers. Veuillez les recycler dans les centres appropriés. Contactez les autorités locales ou le détaillant pour toute question sur le recyclage. | ||
| Protection de l'environnement | ||
| Ce produit est garantit 2 ans par votre magasin (à partir de la date d'achat), conformément aux articles L 211-1 et suivants du code de la consommation. La garantie n'est valable qu'avac le ticket de caisse datedé.Les parties electrique sont couvertes par la garantie pendant deux ans à compter de la date de vente. Le corp d'aluminum est garantit 5 ans. | ||
| Radiateur électrique à inertie | FRInformations tec |
| Caractéristiques techniques | |
| Fabriqué par: SC ELCO SA Importateur: Rétabilité fournisseur: Référence Castorama: 59 47 37, 59 47 38, 59 47 39 - Aliona, 59 47 40, 59 47 41, 59 47 42 - Oxana Marque commerciale: | |
| Certificat de conformité | |
| IP 24; Classe II Dispositif selon la Prescriptions Européennes 2002/96/CE (DEEE). | |
| CE | 27 |
Garantie
Ce produit est garanti 2 ans par votre magasin (à partir de la date d'achat), conformément aux articles L 211-1 et suivants du code de la consommation. La garantie n'est valable qu'avac le ticket de caisse dated.
Les parties électriques sont couvertes par la garantie pendant 2 ans à compter de la date de vente. Le corps d'aluminum est garanti 5 ans.
www.castorama.fr
Service consommateur Castorama
BP101-59175 Templemars
0810 104104
Notice Facile