BB204 - Moniteurs pour bébé Basbau - Notice d'utilisation et mode d'emploi gratuit
Retrouvez gratuitement la notice de l'appareil BB204 Basbau au format PDF.
| Caractéristiques techniques | Moniteur vidéo avec écran LCD de 4,3 pouces, portée jusqu'à 300 mètres, vision nocturne infrarouge, deux voies audio. |
|---|---|
| Utilisation | Facile à installer, idéal pour surveiller les bébés à distance, avec des options de réglage de volume et de luminosité. |
| Maintenance et réparation | Nettoyer l'écran avec un chiffon doux, vérifier régulièrement la charge de la batterie, consulter le manuel pour le dépannage. |
| Sécurité | Cryptage des données pour assurer la sécurité des transmissions, respecter les normes de sécurité pour les appareils électroniques pour enfants. |
| Informations générales | Compatible avec les accessoires Basbau, garantie de 2 ans, service client disponible pour assistance. |
FOIRE AUX QUESTIONS - BB204 Basbau
Questions des utilisateurs sur BB204 Basbau
0 question sur cet appareil. Repondez a celles que vous connaissez ou posez la votre.
Poser une nouvelle question sur cet appareil
Téléchargez la notice de votre Moniteurs pour bébé au format PDF gratuitement ! Retrouvez votre notice BB204 - Basbau et reprennez votre appareil électronique en main. Sur cette page sont publiés tous les documents nécessaires à l'utilisation de votre appareil BB204 de la marque Basbau.
MODE D'EMPLOI BB204 Basbau
Fig. 1
Monitor / Moniteur

text_image
12 13 14 15 16 1 2 3 4 5 6 7 8 9 10 11
text_image
17 18 19Fig. 2
Setup / Installation / Configuración / Einrichtung / Installazione
1 Camera Setup/Installation de la caméra/Configuración de la cámara / Kameraeinrichtung/Installazione della telecamera
1.1 Power Supply - Using AC Power Alimentation - Avec alimentation secteur Fuente de alimentación - Utilizar la alimentación de CA Stromversorgung – über Netzstrom Alimentazione - Uso dell'alimentazione CA

text_image
Fig. 3 ① ② ③1.2 Fine Tuning/Réglages précis/Enfoque/Feineinstellung /Regolazione

2.3 Brightness Setting/Réglage de la luminosité
/Configuración del brillo /Helligkeitseinstellung
/ Impostazione della luminosità

text_image
Fig. 8Fig. 8
2.4 Zoom in Function / Fonction de zoom
/ Función de zoom de ampliación / Vergrößern-Funktion
/ Funzione ingrandimento

Contenus de la boîte
- Une caméra
- Un moniteur
• Deux adaptateurs de courant
• Batterie pour le moniteur (3,7V 1100mAh Li-ion) - Deux clips de câble
• Une vis et un ancrage de mur - Système velcro
• Manuel de l'utilisateur
Description du produit Caméra (Fig. 1)
- Capteur de lumière
- Microphone
- Objectif
- DEL infrarouges
- Haut-parleur
- Prise de l'adaptateur de courant
- Bouton d'alimentation/appariement
- Antenne
- Capteur de température
- Voyant d'alimentation DEL
Moniteur (Fig. 2)
- Écran LCD
- Bouton pour baisser la luminosité
- Bouton pour augmenter le volume
- Bouton Zoom/OK
- Bouton pour augmenter la luminosité
- Bouton pour baisser le volume
- Haut-parleur
- Microphone
- Voyant d'alimentation
- Voyant de TCV DEL
- Voyant de volume DEL
- Bouton d'alimentation/VOX
- Bouton de sélection de musique
- Bouton VOX
- Bouton de réponse
- Bouton menu
- Compartiment des piles
- Support
- Prise de l'adaptateur de courant
Installation
1 Installation de la caméra
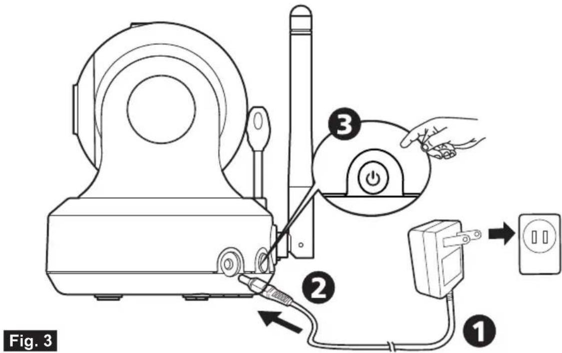
1.1 Alimentation - Avec alimentation secteur
- Branchez un coté de l'adaptateur d'alimentation fourni sur une prise de courant et l'autre coté sur la prise à l'arrière de la caméra. Voir Fig. 3.
Remarque : Utilisez l'adaptateur indiqué SORTIE : 6V DC avec la caméra.
- Appuyez sur le bouton ALIMENTATION sans arrêter pendant environ 3 secondes pour allumer la caméra. Le DEL de la caméra s'allumera (couleur verte). Voir Fig. 3.
Remarque : Appuyez sur le bouton ALIMENTATION sans arrêter pendant environ 3 secondes pour éteindre la caméra.
1.2 Réglages précis
Posez la caméra dans un endroit approprié, dirigez l'objectif vers la zone à observer et ajustez l'angle en tournant la tête de l'objectif. Voir Fig. 4.
1.3 Vision nocturne
La caméra possède huit DEL haute intensité pour prendre des images claires dans l'obscurité. Quand le détecteur de lumière détecte des niveaux de lumière ambiante faibles, les DEL seront activées automatiquement.
1.4 Mesure de la température de la pièce
Le capteur de température peut mesurer la température de la pièce où la caméra a été installée et l'indicateur de température de pièce sera affiché sur l'écran de l'unité du moniteur.
2 Installation du moniteur
2.1 Alimentation
Le moniteur utilise une batterie 3,7V 1100mAh (Li-ion) ou une prise de courant secteur de la maison.
Installation de la batterie
- Ouvrez le couvercle du compartiment de la batterie à l'arrière du moniteur. Voir Fig. 5.
- Insérez la batterie avec la partie métallique faisant au compartiment de la batterie. Voir Fig. 5.
- Fermez le couvercle du compartiment de la batterie et vérifiez qu'il est bien fermé.
- Appuyez sur le bouton ALIMENTATION ⏻ sans arrêter pendant environ 3 secondes pour allumer le moniteur. Voir Fig. 5.
Remarque 1: Lorsque l'alimentation est suffisante, le voyant "Alimentation/Recharge" est allumé (en vert) ; lorsque la batterie est faible, le voyant DEL rouge commence à clignoter.
Remarque 2: Appuyez sur le bouton ALIMENTATION sans arrêter pendant environ 3 secondes pour éteindre le moniteur.
Utilisation du courant secteur
- Branchez un coté de l'adaptateur d'alimentation fourni sur une prise de courant et l'autre coté sur la prise de la caméra. Voir Fig. 6.
Remarque : Utilisez l'adaptateur indiqué SORTIE : 6V DC avec le moniteur.
- Appuyez sur le bouton ALIMENTATION ⏻ sans arrêter pendant environ 3 secondes pour allumer le moniteur. Voir Fig. 6.
Remarque 1: Quand la recharge démarre ou à l'allumage du moniteur, la DEL "Alimentation/Recharge" s'allumera (en vert).
Remarque 2: "Hors de portée" s'affichera sur l'écran LCD si le moniteur dépasse la portée (supprimer liaison).
Remarque 3: Appuyez sur le bouton ALIMENTATION sans arrêter pendant environ 3 secondes pour éteindre le moniteur.
2.2 Réglage du volume
Appuyez sur les boutons de sélection de volume & pour ajuster le volume, puis appuyez sur le bouton Zoom/OK pour confirmer le réglage. Voir Fig. 7.
2.3 Réglage de la luminosité
Appuyez sur les boutons de sélection de luminosité & pour ajuster la luminosité, puis appuyez sur le bouton Zoom/OK pour confirmer le réglage. Voir Fig. 8.
2.4 Fonction de zoom avant
Appuyez sur le bouton Zoom/OK ☐ une fois pour un zoom 2X de l'image et appuyez à nouveau pour revenir à une vue normale. Voir Fig. 9.
2.5 Fonction TCV (Transmission de Commande Vocale)
- Appuyez sur le bouton TCV ☐ de l'unité du moniteur. Cela éteindra l'écran mais la DEL TCV ☐ restera allumée (vert). Voir Fig. 10.
- Lorsque le son de la caméra atteint le niveau défini (voir Fig. 18), l'écran s'allumera automatiquement. Il s'éteindra à nouveau après 30 secondes. Si du son de la caméra continue à atteindre le niveau défini pendant 30 secondes, il se prolongera de 30 secondes avant d'éteindre l'écran après le dernier événement vocal.
2.6 Fonction de musique
Vous pouvez jouer de la musique avec la caméra (trois mélodies musicales).
-
Appuyez sur le bouton de musique 🎯, la caméra commencera à jouer la musique. Voir Fig. 11.
-
Appuyez sur le bouton de musique ♪ à nouveau, la caméra jouera la musique suivante.
2.7 Fonction de réponse
Appuyez sur le bouton de réponse «¿» pour parler via l'unité de caméra, l'icône «¿» s'affichera alors sur l'écran. Voir Fig. 12.
3 Options du menu
- Appuyez sur le bouton menu de l'unité du moniteur pour afficher le menu sur l'écran. Voir Fig. 13.
- Utilisez les boutons bas et haut de luminosité pour naviguer dans le menu.
- Appuyez sur le bouton Zoom/OK pour confirmer un paramètre.
- Le menu principal est composé de 5 sous-menus.
3.1 Sélection de caméra (Choisir caméra)
Dans ce sous-menu, vous pouvez basculer entre plusieurs caméras si les caméras ont été appariées. Voir Fig. 14.
3.2 Paramètre de minuteur d'alimentation( Minuteur d'alimentation
Dans ce sous-menu, vous pouvez configurer le minuteur d'alimentation pour vous rappeler le timing. Voir Fig. 15.
3.3 Paramètre température (Param. température)
- Dans ce sous-menu, vous pouvez choisir l'unité de la température, degrés Celsius ou degrés Fahrenheit. Voir Fig. 16.
- Vous pouvez régler la plage de la température pour l'alerte de température. Si vous sélectionnez "Alerte activée" pour activer l'alerte de température et que la température est hors de la plage, un son d'avertissement sonnera sur l'unité du moniteur. Voir Fig. 16.
3.4 Paramètre caméra (Paramètre caméra)
Le système vient avec une unité de caméra qui a déjà été appariée avec l'unité du moniteur. La fonction "Paramètres caméra" permet d'utiliser un canal différent pour chaque unité de bébé sur l'unité du moniteur. Cela est nécessaire pour configurer d'autres unités de caméra.
- Si vous souhaitez ajouter une nouvelle caméra, veuillez en choisir le nombre que vous souhaitez ajouter, puis sélectionner l'icône d'ajout de caméra et appuyez sur le bouton pour confirmer votre sélection (Voir Fig. 17).
L'écran affichera "Appuyez sur le bouton de l'appariement de l'unité bébé", appuyez alors sur le bouton d'alimentation et maintenez-le 1 seconde sur le côté de la caméra au même moment. - Si vous souhaitez supprimer une caméra appariée, veuillez choisir le nombre de caméras à supprimer, puis sélectionnez l'icône de suppression de caméra pour supprimer la caméra (Voir Fig. 17).
3.5 Sensibilité TCV ( Sensibilité TCV )
Ce sous-menu vous permet de choisir le niveau de sensibilité de la fonction TCV (activation vocale). Quand le niveau est défini sur élevé, l'écran s'allumera avec des sons plus faibles. Voir Fig. 18.
4 Informations de statut
La barre de statut d'affichera au sommet de l'écran. Voir Fig. 19.
- Indicateur de puissance de signal
- Indicateur du numéro de la caméra
- Indicateur d'alerte de température marche/arrêt
- Indicateur de température de la pièce
- Indicateur de zoom avant
- Indicateur de musique
- Minuteur d'alimentation
- Indicateur de réponse
- Indicateur de recharge/statut de la batterie
Guide de dépannage
Vous ne recevez aucun signal.
• Assurez-vous que la caméra et que le moniteur sont allumés.
• Assurez-vous que les prises sont bien branchés jusqu'au fond.
Si le signal est faible ou qu'il y a des interférences.
- Si vous avez un four à micro-ondes dans le chemin entre la caméra et le moniteur, déplacez le four à micro-ondes ou éteignez-le.
- Assurez-vous que la caméra et le moniteur sont à une distance raisonnable l'un de l'autre (la plage est d'environ 950 pieds ou 300 mètres avec une vue directe).
- Si le LED d'alimentation est allumé mais que seulement le signal vocal est détecté, le moniteur est peut-être en mode d'activation vocale. Appuyez sur le bouton VOX pour allumer l'écran.
Entretien et maintenance
- Gardez toutes les pièces et les accessoires hors de la portée des enfants.
- Les empreintes de doigt ou de la poussière sur la surface de l'objectif peuvent affecter les performances de la caméra. Evitez donc de toucher la surface de l'objectif avec les doigts.
- Si l'objectif est sale, utilisez un souffleur pour enlever la saleté et la poussière, ou un chiffon doux et sec pour essuyer l'objectif.
- Gardez la caméra au sec. La pluie, l'humidité et les liquides contenant des minéraux peuvent endommager les circuits électroniques.
- Ne pas utiliser ou ranger l'appareil dans des endroits sales ou poussiéreux.
- Ne pas ranger l'appareil dans des endroits chauds. Les températures élevées peuvent réduire la durée de vie des appareils électroniques et déformer ou faire fondre certains plastiques.
- Ne pas ranger l'appareil dans des endroits très froids. Lorsque l'appareil se réchauffe à sa température normale, de la buée peut se former à l'intérieur, ce qui pourrait endommager les circuits électroniques.
- Ne tentez pas d'ouvrir le boîtier. Une utilisation incorrecte de l'appareil peut l'endommager.
• Evitez de le faire tomber ou de le cogner. - Utilisez cet appareil uniquement avec la source d'alimentation fournie avec celui-ci ou en tant qu'accessoire optionnel.
- Ne pas surcharger les prises murales ou les rallonges électriques, car cela risquerait de causer un incendie ou une électrocution.
Suivez les astuces suivantes de sécurité Pour protéger contre les blessures ou accidents à cause des cordons du moniteur de bébé :
• Assurez-vous que l'unité de bébé et que le cordon de l'adaptateur secteur sont hors de la portée des bébés, par au moins 3 pieds (1 mètre).
Remarque: Cela est important même si votre bébé ne peut pas encore marcher ou se déplacer.

text_image
Câble d'adaptateur 3 pieds (1 mètre) unité du bébé 3 pieds (1 mètre)• Utilisez un moniteur de bébé sans fil pour éviter le risque d'étranglement.
- N'utilisez jamais des cordons d'extension avec les adaptateurs électriquess. Utilisez uniquement les adaptateurs électriques fournis.
Notice Facile