ANIUSBMATRIX - Mixeur plongeant SHURE - Notice d'utilisation et mode d'emploi gratuit
Retrouvez gratuitement la notice de l'appareil ANIUSBMATRIX SHURE au format PDF.
| Caractéristiques techniques | Mixeur plongeant professionnel avec connectivité USB, conçu pour des applications audio. |
|---|---|
| Utilisation | Idéal pour le mixage audio dans les environnements de studio et de diffusion. |
| Maintenance et réparation | Vérifier régulièrement les connexions et nettoyer les surfaces. En cas de problème, consulter le service après-vente. |
| Sécurité | Utiliser uniquement avec des appareils compatibles. Éviter l'exposition à l'eau et à l'humidité. |
| Informations générales | Produit de la marque Shure, reconnu pour sa qualité audio. Vérifiez la compatibilité avec vos équipements avant l'achat. |
FOIRE AUX QUESTIONS - ANIUSBMATRIX SHURE
Questions des utilisateurs sur ANIUSBMATRIX SHURE
0 question sur cet appareil. Repondez a celles que vous connaissez ou posez la votre.
Poser une nouvelle question sur cet appareil
Téléchargez la notice de votre Mixeur plongeant au format PDF gratuitement ! Retrouvez votre notice ANIUSBMATRIX - SHURE et reprennez votre appareil électronique en main. Sur cette page sont publiés tous les documents nécessaires à l'utilisation de votre appareil ANIUSBMATRIX de la marque SHURE.
MODE D'EMPLOI ANIUSBMATRIX SHURE
Interface réseau audio
ANIUSB-Matrix Interface réseau audio 4
Premiers pas 4
Étape 1: Connexion à un réseau et recherche dans Designer 4
Étape 2 : Acheminement de l'audio et application du DSP 4
Étape 3: Configuration de l'audio 5
Obtenir plus d'informations 5
Description générale 5
Matériel et installation 5
Panneau arrête 6
Alimentation sur Ethernet (Power over Ethernet, PoE) 8
Installation et montage en rack 8
Identification d'appareil 10
Contenu de la boite 10
Contrôle des apparèils avec le logiciel Shure Designer 1 0
Gestion des versions de firmware 11
Différences entre les versions 3.x et 4.x du firmware 12
Connexion de ANIUSB-MATRIX à un ordinateur 14
Paramètres du type d'appareil USB 14
Silence synchro 15
Configuration de la synchronisation de la coupure du son sur le micro MXA310 et le melangeur ANIUSB-MATRIX 15
Aperçu des apparèils de conférence Shure 16
Paramètres audio 17
Scheme 17
Groupes Affaiblisseur et Coupure du son 19
Ajustement des niveaux d'entrée 19
Ajustement des niveaux de sortie 19
Égaliseur paramétrique 20
Préroglages personalisés 22
Mélangeur matriciel 23
Gain croisé 23
Acheminement des canaux 23
ANIUSB-MATRIX Default Routes 23
Utiliser I'etat d'applé 24
Cryptage 24
Mise en réseau et Dante 25
Recommendations de commutateur et de cable pour la mise en réseau Dante 25
Flux Dante pour apparecs Shure 26
Copiedunomdesappareils surlereseudante 26
Compatibilité avec Dante Domain Manager 26
Configuration des paramètres IP 27
Réglage de la latence 27
Utilisation des chaînes de commande 28
Reinitialisation 28
Options de réinitialisation du logiciel 29
Dépannage 29
Journal des événements 30
Accessoires en option et pieces de rechange 33
Informations de sécurité 33
CONSIGNES DE SECURITE IMPORTANTES 33
Informations importantes sur le produit 34
Information à l'utilisateur 35
ANIUSB-Matrix Interface réseau audio
Premiers pas
Pour contrcler le ANIUSB-MATRix,utiliser le logiciel Shure Designer. Une fois le processus de configuration de base terminé, les actions suivantes sont disponibles :
- Contrôle de l'ANIUSB-MATRIX dans Designer
- Acheminement de l'audio vers l'ANIUSB-MATRIX dans Designer
- Utilisation du mélangeur matriel pour acheminer les signaux audio
Avant de commencer, les éléments suivants sont nécessaires :
Cable Ethernet de catégorie 5e (ou supérieure)
- Commutateur réseau fournissant une alimentation via Ethernet (Power over Ethernet, PoE)
- Logiciel Designer de Shure installed sur un ordinateur. Disponible en téléchargement sur www.shure.com.
Étape 1 : Connexion à un réseau et recherche dans Designer
- Connecter l'ANIUSB-MATRIX à un port PoE sur le commutateur réseau à l'aide d'un cable de catégorie 5e (ou supérieure).
- Connecter l'ordinateur sur lequel est installe Designer au commutateur reseau.
- Ouvrir le Designer, et vérifier que vous étés connectés au bon réseau dans Paramétres.
- Cliquer sur Appareils en ligne. Une liste des Appareils en ligne apparait.
- Pour identifier les appareils, cliquer sur une icone afin de faire clignoter les temoins de l'appareil correspondant.

Étape 2 : Acheminement de l'audio et application du DSP
Le chemin le plus court pour acheminer l'audio et appliquer DSP est le flux de travail Optimiser du Designer. Optimiser achemine automatique les signaux, applique les parametes DSP, active la synchronisation de coupure du son, et active le contrôle logique LED des appareils connectés.
Cet exemple illustré la connexion d'un microphone multi-capsules de table MXA310.
- Aller à My projects > New pour creer un nouveau projet.
- Selectionner New > Room (live) pour creer une nouvelle salle. Tous les appareils en ligne apparaisent dans laiste. Glisser-deposer le MXA310 et le ANIUSB-MATRIX pour les ajouter a votre salle.
- Sélectionner Optimiser.
- Vérifier les cheminements et les paramètres audio pour s'assurer qu'ils correspondant aux besoin. Les actions suivantes peuvent s'avérer nécessaires :
Supprimer les acheminements inutiles.
- Ajuster les blocs DSP nécessaires.
- Tester et ajuster la couverture du microphone.
Il est également possible d'acheminer l'audio manuellement dans Designer sans recourir au wokflow Optimize, ou d'utiliser Dante Controller.
Étape 3: Configuration de l'audio
Les etapes de configuration finale varient selon les autres connectés à l'ANIUSB-MATRIX.
- Connecter d'autres apparéls analogiques et USB à ANIUSB-MATRIX. Si un ordinateur avec logiciel de videoconférence est disponible, le brancher au port USB.
- Aller à Mélangeur matriciel pour acheminer l'audio entre les entres et sorties de ANIUSB-MATRIX. Vous pouze envoyer une entree simple a plusieurs sorties ou vice versa. Pour envoyer l'audio de MXA310 à l'ordinateur, cocher la case d'intersection de I'entree 1 de Dante et de la Sortie USB.

-
Effectuer un test de son et ajuster les niveaux d'entrée et de sortie dans Designer.
-
Appliquer l'égaliseur (EQ) selon le besoin pour améliorer la clarté du discours.
Obtenir plus d'informations
Pour en savoir plus sur l'ANIUSB-MATRIX, consulter la section d'aide de Designer ou le guide d'utilisation complet sur pubs.shure.com/guide/ANIUSB-Matrix.
Description générale
L'interface réseau audio ANIUSB-MATRIX permet de connecter des sources audio USB, Dante et analogiques. Collaborer et se connecter à tous les apparciels audio sur un réseau unique, compatible avec des microphones sans fil, ordinateurs, appareils mobiles, CODES video et systèmes de haut-parleur. Se connecter avec un cable réseau unique pour receiveoir l'audio et l'alimentation via Ethernet (PoE). Utiliser le logiciel Designer de Shure pour contrcler les reglages audio et de réseau depuis n'importe quel ordinateur connecte au meme réseau.
Matériel et installation
Panneau arrière

① Témoins de niveau (signal/écretage)
Des LED tricolores indiquent le niveau de signal audio des canaux analogiques ainsi que l'etat de connexion du canal USB. Ajuster les niveaux de sortie dans le logiciel Designer de Shure pour éviter l'échéage.
Entree/sortie analogue
| État de la LED | Niveau du signal audio |
| Éteinte | moins de -60 dBFS |
| Verte | -59 à -24 dBFS |
| Jaune | -23 à -1 dBFS |
| Rouge | 0 dBFS ou plus |
Remarque : les LED d'entree et de sortie restent eteintes lorsque la mesure est reglee sur Post-gain.
Audio USB
| État de la LED | État |
| Éteinte | Aucun apparéil USB connecté |
| Verte | L' apparéil USB fonctionne correctement |
| Rouge (clignotante) | Problème détecté au niveau de l' apparéil audio USB |
② Entre audio (connecteur bloc)
Affectation des broches de bloc :
| + | Audio + |
| - | Audio - |
| ½ | Masse audio |
③ Vis de masse chassis
Fournit une connexion en option pour le fil blinde du micro à la masse chassinis.
④ Sortie audio (connecteur bloc)
La sortie audio symétrique est raccordée à un apparéil analogique. Régler le niveau de sortie dans le logiciel Designer de Shure pour l'adapter à la sensibilité d'entrée de l' apparéil analogique.
Remarque : voir les labels sur le panneau avant pour les affectations du connecteur bloc.
⑤ Port USB
Se raccorde à un ordinateur pour envoyer et receivevoir toute combinaison de canaux d'entrée et de sortie audio.
⑥ Témoins LED
Power : alimentation via Ethernet (Power over Ethernet, PoE) présente.
Remarque : utiliser un injecteur de PoE si le commutateur reseau ne fournit pas d'alimentation PoE.
Network: connexion réseau active.
Network Audio : audio Dante present sur le réseau.
Remarque: le détaill des erreurs est disponible dans le journal des événements du logiciel Designer de Shure.
Comportement de la LED d'audio réseau
| État de la LED | Activité |
| Éteinte | Pas de signal actif |
| Verte | Bon fonctionnement du dispositif |
| Rouge | Erreur détectée. Voir le journal d'événements pour plus de détails. |
| État de la LED | Activité |
| Éteinte | L'audio n'est pas crypté |
| Verte | Connexion audio correctement cryptée avec un autre apparairel |
| Rouge | Erreur de cryptage. Causes possibles :Cryptage activé sur un apparil et pas sur un autreDisparité de phrase secrête |
⑦ Port reseau Dante
Se raccorde à un commutateur réseau pour receivevoir l'audio Dante, l'alimentation via Ethernet (PoE) et les données en provenance du logiciel de contrôle.
Bouton de réinitialisation
Rétablit les paramètres par défaut de l'appareil.
Alimentation sur Ethernet (Power over Ethernet, PoE)
Cet appereil necessite une PoE pour fonctionner. Il est compatible avec les sources de PoE de Classe 0 et de Classe 3.
L'alimentation via Ethernet est fournie de l'une des manieres suivantes :
- Un commutateur réseau fournissant une PoE
- Un injecteur de PoE
Installation et montage en rack
Deux solutions de montage sont disponibles pour installer l'interface réseau audio :
plateau de rack CRT1 de 19 po (accessoire en option) : peut accueillir jusqu'à 3 apparéils et être monté dans un rack ou sous une table
Plateau de montage pour une unité (accessoire inclus) : accueille un seul appareil et se monte sous une table
Fixation des appareils
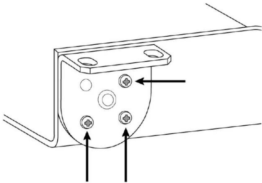
Utiliser les vis inclues dans le kit de matériel de montage pour fixer les interfaces réseau audio. Les interfaces réseau audio peuvent etre montees dans un sens ou dans l'autre. Inserer les vis par le bas dans les trous appropriés, comme indiqued sur les schemas suivants :

Aligner les trous comme indiqué pour fixer un seul apparéil dans le plateau de montage pour une unité.

Aligner les trous comme indiqué pour fixer jusqu'à 3 apparéils dans le plateau de rack de 19 po.
Configuration des équres de rack
Jusqu'a 3 interfaces reseau audio peuvent etre installes dans un rack de 19 po. Les equerres de rack reglables peuvent etre montees dans un rack de materiel standard ou sous une table.
Montage dans un rack de 19 po standard
- Aligner les équres en orientant les trous de montage vers l'avant.
- Insérer 3 vis pour maintainir l'équerre au plateau, comme indiqué.

Montage sous une table
- Aligner les équres en orientant les trous de montage vers le haut.
- Insérer 3 vis pour maintainir l'équerre au plateau, comme indiqué.

Installation sous une table
- Maintainir le plateau a l'emplacement souhaite sous une table.
- À l'aide d'un crayon, marquer l'emplacement des trous de montage sur la table.
- Percer 4 trous pour les vis. Les trous du plateau font 7,1 mm de diamètre.
- Installer les composants dans le plateau.
- Installer les 4 vis pour fixer le plateau sous la table.
Identification d'appareil
Pour identifier le matériel en faisant clignoter les temoins, selectionner le bouton Identifier dans la section des options de l'appareil.
Contenu de la boîte
| KIT, MATÉRIEL DE MONTAGE, ANIUSB-MATRIX | 90A33522 |
| Support de montage (rack 1/3) | 53A27742 |
Contrôle des apparèils avec le logiciel Shure Designer
Les paramètres de cet apparéil peuvent être contrôlés dans le logiciel Shure Designer. Designer permet aux assembleurs et aux planificateurs de système de conceiveir une couverture audio pour des installations responsable des microphones MXA et d'autres apparéils Shure en réseau.
Pour acceder à votre apparéil dans Designer :
- Telecharger et installer Designer sur un ordinateur connecté au même réseau que votre apparéil.
- Ouvrir Designer, et vérifier que vous étés connectés au bon réseau dans Paramétres.
- Cliqueur Appareils en ligne. Une liste des Appareils en ligne apparait.
- Pour identifier les appareils, cliquer sur une icone afin de faire clignoter les temoins de l'appareil correspondant. Sélectionner votre appareil dans la liste et cliquer sur Configurer pour contrôler les paramètres de l'appareil.
Pour en savoir plus, visitor shure.com/designer.
VoussoupiezaussiaccederauxparametresdeI'appareilavecShureWebDeviceDiscovery.
CommentMETTRE à jour le Firmware Designer
S'applique aux Designer 4.2 et ulterieures.
Avant d'installer les appareils, utiliser Designer pour chercher les mises à jour du firmware et ainsi profiter des nouvelles fonctionnalités et améliorations. Pour la plupart des produits, il est également possible d'installer le firmware à l'aide de Shure Update Utility.
Pourmettreàjour:
- Ouvrir Designer. Si le nouveau firmware n'a pas encore eté telécharge, Designer affiche une banière indiquant le nombre de mises à jour disponibles. Cliquer pour telécharger le firmware.
- Aller sur Appareils en ligne et localiser les appareils.
- Choisir une version de firmware pour chaque appareil dans la colonne Firmware disponible. S'assurer que personne ne modifie les parametres de l'appareil pendant sa mise à jour.
- Cocher la case située en regard de chaque apparéil àmettre à jour, puis cliquer sur Mettre à jour le micrologiciel. Les apparéils peuvent disparaître de la rubrique Appareils en ligne lors de la mise à jour. Ne pas fermer Designer pendant la mise à jour du firmware.
Gestion des versions de firmware
Lors de la mise a jour du firmware, mettre a jour tout le matériel a la meme version de firmware pour obtenir un fonctionnement homogene.
Le firmware de tous les appareils est indiqué sous la forme MAJEUR.MINEUR.PATCH (p. ex. 1.2.14). Au minimum, tous les
appareils du réseau doivent avoir les mêmes numeros de version de firmware MAJEUR et MINEUR (p. ex., 1.2.x).
Différences entre les versions 3.x et 4.x du firmware
Prise en charge de Dante Domain Manager
Le ANIUSB-MATRIPEcut desdomaines dans le logiciel Dante Domain Manager.
Améliorations du cryptage audio
- Les versions 4.x et ultérieures du firmware ont amélioré le cryptage audio. Veiller par conséquent à mettre à jour tous les apparèils Shure utilisant le cryptage vers la même version majeure du firmware.
Suppression des applications Web
- À partir des versions 4.x et ultérieures du firmware, le logiciel Designer de Shure est le seul moyen de contrôle le mélan-geur ANIUSB-MATRIX.
L'appareil peut etre ouvert dans l'util Web Device Discovery de Shure pour acceder a ses parametes de base, mais seuI Designer permet de le controler. - Telecharger Designer à l'adresse shure.com/designer.
Connexion de ANIUSB-MATRIX à un ordinateur
Connectez l'ANIUSB-MATRIX à un ordinateur ayant le logiciel de conférence par le port USB.
Lorsque le système ANIUSB-MATRIX est connecté pour la première fois, l'ordinaire le détecte comme un apparéil audio USB. Il peut être nécessaire d'indiquer qu'il s'agit d'un apparéil d'entrée/sorting (enregistrement/lecture) pour diffuser l'audio. Assigner le ANIUSB-MATRIX comme apparéil par défaut pour être sur qu'il passée en audio chaque fois qu'il est branché. Voir le manuel de votre ordinaire pour configurer les paramétres audio.
Acheminement des canaux audio via le port USB
Voupce acherer l'auo vers et depus IANUSB par le contrleur Dante ou le logiciel Shure Designer. Ovrir le melangeur matriciel de IANUSB pour acheminer les canaux Dante et analogiques via le port USB.
Étape 1: Contrôleur Dante ou logiciel Shure Designer
- Ouvrir Dante Controller ou le logiciel Shure Designer et acheminer les appareils Dante ( comme les microphones MXA ou MXW) vers les canaux de réception de l'ANIUSB. Nommer les canaux afin de pouvoir suivre les appareils.
- Si vous doivent envoyer les canaux de l'ANIUSB vers des produits compatibles Dante ( comme un amplificateur, un haut-parleur ou un produit d'enregistrement), acheminer les canaux de transmission Dante ANIUSB vers les produits appropriés dans Dante Controller.
Remarque : Shure Designer cree les chemins audio Dante entre les appareils Shure. Pour creer les acheminements audio Dante avec des appareils non Dante de Shure, utiliser Dante Controller.
Étape 2: Méangleur matriciel
- Ouvrir le mélangeur matriciel de l'ANIUSB pour acheminer les canaux Dante et analogiques au port USB.
- Afferet le canal d'entree USB (son de l'exteite distane) aux sorties appropriees. Lors de I'enregistrement d'une reunion, veiller a acheminer les microphones de I'exteite proche vers I'appareil d'enregistrement, en plus de I'entree USB
Compatibilité de l'adaptateur
Cet apparéil est compatible avec les adaptateurs USB-B à USB-C. L'utilisation d'un adaptorateur est uniquement recommendée pour les ordinateurs portables et de bureau dans la mesure ou de nombreux apparéils mobiles ne prennt pas en charge l'audio bidirectionnel via les ports USB ou Lightning.
Paramètres du type d'appareil USB
Quand you utilisez un codec connecte par USB avec un P300 ou ANIUSB-MATRIX, you pourriez devoir parameter le type d'appareil USB sur I'appareil Shure.
Le paramètre du type d'appareil USB indique au codec si la Suppression d'echo acoustique (AEC) est nécessaire ou pas. Le codec peut ensuite activer ou désactiver son propre AEC (le cas échéant).
Par exemple : Vous avez un MXA710 achemine à un ANIUSB-MATRIX et vous foulez utiliser l'AEC du MXA710. Regler le type d'appareil USB sur Haut-parleur a annulation d'echo pour indiquer au code d'eteindre l'AEC.
Pour modifier le type d'appareil USB :
- Dans Designer, trouver P300 ou ANIUSB-MATRIX et aller a Parametres > Généraux.
- Choisir un type d'appareil USB :
Haut-parleur : Pour utiliser l'AEC du codec
Haut-parleur à annulation d'écho : Pour utiliser l'AEC de l'appareil Shure
- Apre s ao hag le type dappieil USB, selectionne z roe appareil comme appareil audio par defaut dans les para-metes du codec.
- Passer un appel test pour s'assurer que l'AEC fonctionne correctement.
ANIUSB-MATRIX uniquement : le flux de travail Optimiser du Designer regle automatique le type d'appareil USB. Vous pouvez aussi le changer manuèlement.
Silence synchro
La synchronisation du silence permet de couper ou rétablier simultanément le son de tous les apparéils connectés d'un système de conférence au point exact du signal acheminé. Le statut de coupure du son est synchronisé dans les apparéils par des signaux logiques ou des connexions USB.
Pour utiliser la synchronisation du silence, vérifier que la logique est active sur tous les apparêls.
Le workflow Optimiser de Designer configure tous les parametes de synchronisation du silence utiles.
Appareils compatibles Shure Logic :
P300 (coupe également le son des codecs logiciels pris en charge connectés par USB)
- ANIUSB-MATRIX (coupe également le son des codecs logiciels pris en charge connectés par USB)
Le logiciel IntellixMix Room (coupe aussi le son des codecs supportes connectés par USB)
MXA910
MXA920
MXA710
- MXA310
- Bouton de mute en réseau
- ANI22-BLOCK
- ANI4IN-BLOCK
- Microphones MX à logique activée, connectés à ANI22-BLOCK ou ANI4IN-BLOCK
MX392
MX395-LED
MX396
MX405/410/415
Pour activer la synchro muet :
- Ouvrir l'appareil dans le Designer ou l'application Web. Aller à Paramètres > Contrôle du silence.
- Activer Synchro muet.
- Aller à Entrées. Cocher la case Activer la logique sur un des canaux d'entrée pour activer la logique.
Configuration de la synchronisation de la coupure du son sur le micro MXA310 et le mélangeur ANIUSB-MATRIX
Utiliser cette configuration pour couper le son du mélangeur ANIUSB-MATRIX en appuyant sur le bouton de coupure du son du micro MXA310. Dans la chaine de signal du mélangeur ANIUSB-MATRIX, la coupure du son est appliquée après les entrées.
Designer 4.2 et versions ultérieures :
- Ajouter I'ANIUSB-MATRIX et le MXA310 au même emplacement dans Designer.
- Sélectionner Optimiser. Designer optimise les réglages du microphone et du DSP pour la combinaison d'équipement concernée, y compris la synchronisation de la coupure du son.
Designer 4.1.x
- Ouvrir le mélangeur ANIUSB-MATRIX dans Designer et aller à Entrées.
- Sur une bande de canal, selectionner Activation logique. Cela active la logique sur tous les canaux.
-
Ouvrir le MXA310 dans Designer et aller à Settings > Logic control.
-
Régler la Fonction de commande de coupure sur Sortie logique.
- Aller à Témoins. Régler le style sur Anneau.
Pour de l'aide sur l'implémentation de synchro muette,voir notre FAQ.
Aperçu des apparéils de conférence Shure
Shure propose un large évventail d'options de connectivité pour l'organisation de conférences. Les microphones MXA, les processeurs audio et les interfaces réseau utilisent tous Dante pour envoyer de l'audio sur les réseaux informatiques standard. Le logiciel Designer gratuite de Shure permet de contrôler la plupart des appareils Shure et d'acheminer l'audio entre eux.
| Appareil | Objet | Connexions physiques | Entrées/sorties Dante |
| MXA910 | Microphone multi-capsules de plafond avec DSP Intelli-Mix | 1 port PoE | 8 sorties de canal individuelles ou 1 sortie de canal de mélange automatique avec DSP IntelliMix1 entrée de référence AEC |
| MXA710 | Microphone multi-capsules linéaire avec DSP IntelliMix | 1 port PoE | 2 pieds :4 sorties de canal individuelles ou 1 sortie de canal de mélange automatique avec DSP IntelliMix1 entrée de référence AEC4 pieds :8 sorties de canal individuelles ou 1 sortie de canal de mélange automatique avec DSP IntelliMix1 entrée de ↔reference AEC |
| MXA310 | Microphone multi-capsules de table | 1 port PoE | 4 sorties de canal individuelles ou 1 sortie de canal de mélange automatique |
| P300 | Proesseur audio avec DSP IntelliMix et mélangeur matri-ciel | 1 entrée/sortie USB2 entrées bloc analogue 2 sorties bloc analogue 1 port TRRS mobile (3,5 mm)1 port PoE+ | 8 entrées Dante avec DSP IntelliMix2 entrées Dante auxiliaires8 sorties Dante |
| IntelliMix Room | Logiciel de traitement audio avec DSP IntelliMix et mélangeur matériel | Varie en fonction de l'appareil | 8 ou 16 entrées Dante avec DSP IntelliMix8 entrées Dante auxiliaires8 sorties Dante1 entrée et sortie audio virtuelles1 entrée et sortie de l'ordinateur |
| ANIUSB-MATRIX | Mélangeur matriel avec entree-sortie USB et analogique | 1 entrée/sortinge USB1 entrée bloc analogue1 sortie bloc analogue1 port PoE | 4 entrées Dante2 sorties Dante |
| ANI4IN (connecteurs bloc ou XLR) | Convertit les signaux analogiques en signaux Dante | 4 entrées analogiques1 port PoE | 4 entrées Dante |
| ANI4OUT (connecteurs bloc ou XLR) | Convertit les signaux Dante en signaux analogiques | 4 sorties analogiques1 port PoE | 4 sorties Dante |
| ANI22 (connecteurs bloc ou XLR) | Convertit 2 signaux analogiques en signaux Dante Convertit 2 signaux Dante en signaux analogiques | 2 entrées analogiques2 sorties analogiques1 port PoE | 2 entrées Dante2 sorties Dante |
| MXN5-C | Enceinte de plafond réseau alimentée par PoE | 1 port PoE | 2 entrées Dante1 sortie Dante |
| Bouton de coupure du son réseau MXA | Bouton de coupure du son réseau alimenté par PoEPour les appareils Shure | 1 port PoE1 connecteur de cable d'alimentation pour la base | S.0. |
Paramètres audio
Scheme
Le schéma de Designer offre un aperçu de l'ensemble de la chaine du signal audio tout en permettant de régler les paramétres et de surveiller les signaux.
Réglage des paramètres
Faire un cli croit sur une entree, une sortie ou un bloc de tratement pour acceder aux options suivantes :
Par canal
Copier/coller
Copier et coller les paramétres d'un élément à l'autre. Par exemple, régler la courbe de l'égaliser sur la sortie USB puis utiliser le même réglage pour la sortie analogue. Il est également possible de copier le gain et l'état de coupure d'un canal d'entrée vers plusieurs autres.
CouperRétablier le son
Couper le son ou active un canal
Activer/désactiver
Active ou désactive le traitement (non applicable au mélangeur matriciel ou mélangeur automatique)
Modifier
Ouvre la boite de dialogue afin de regler les paramètres
Mondial (faire un clic droit dans la zone vierge)
Coupure de toutes les entrées
Coupe tous les canaux d'entree
Coupure de toutes les sorties
Coupe tous les canaux de sortie
Rétabir le son de toutes les entrées
Rétablit le son de tous les canaux d'entrée
Rétablir le son de toutes les sorties
Rétablit le son de tous les canaux de sortie
Fermer toutes les boites de dialogue
Ferme toutes les boîtes de dialogue ouvertes dans la zone de travail
Personnalisation de la zone de travail
Cr er un environnement personalise pour surveiller et contralr un ensemble d'entrees, de sorties et de blocs de traitement depuis un ecran unique. Les boites de dialogue peuvent etre fermées de deux facons :
- Clic droit > modifier
Double-cliqueur sur I'entree, la sortie ou le bloc de traitement.
Ouvrant autant de boites de dialogue que nécessaire pour que les commandes importantes restent disponibles.
Mesure et acheminement audio
Un compteur s'affiche sous chaque entrée et sortie ; il indique le niveau des signaux (dBFS).
Les lignes reliant les entrées et les sorties au mélangeur matriciel sont en couleur lorsque les connexions sont établies. Lorsqu'un signal n'est pas acheminé, la ligne s'affiche en gris. Utiliser ces outils pour diagnostiquer les signaux audio et vérifier les connexions et les niveaux.
Groupes Affaiblisseur et Coupure du son
| Groupes coupure du son | Cocher la case Groupe coupure du son pour ajouter le canal à un groupe. Couper le son de l'un des canaux du Groupe coupure du son coupe le son de tous les canaux du groupe. |
| Groupes affaiblisseeur | Cocher la case Groupe affaiblisseeur pour ajouter le canal à un groupe. Tous les affaibisisurs du groupe sont liés et s'accordent mutuellement lorsqu'un seul affaiblisseeur est réglé. |
Ajustement des niveaux d'entrée
Les niveaux des canaux analogiques et Dante peuvent etre regles dans Ionglet Entree.
Pour surveiller les niveaux d'entrée avant qu'ils arrivent au système ANIUSB-MATRIX, régler la mesure sur Pré-gain dans le menu Paramétres. Lors du réglage des affaiblisseurs, régler la mesure sur Post-gain.
Sources Dante
- Vérifier le niveau de la source avant qu'il n'arrive à l'interface réseau :
Vérifier que les microphones en réseau ou d'autres sources Dante sont bien utilisés aux niveaux de sortie nominale.
- Ajuster le niveau des microphones MXA dans Designer.
- Ajuster le gain numérique dans Designer :
Utiliser les affaiblisseurs ou saisir une valeur de gain manuellement.
Le gain numérique ajuste le niveau du signal juste avant qu'il n'atteigne le melangeur matriciel.
- Mélanger les niveaux le plus haut possible sans que le canal le plus fort attaigne le niveau de pointe (0 dB) sur l'indicateur.
Remarque : le melangeur matriel permet d'obtenir un gain croie pour regler les differents sous-mixages sur des sorties séparées.
Sources audio
Avant de commencer, vérifier que les apparciels analogiques avec niveaux de sortie ajustables sont bien utilisés aux niveaux de sortie nominaux. Le fader ajusté le gain numérique avant que le signal n'arrive au mélangeur matriciel.
- Modifier le réglage du niveau d'entrée analogue selon le niveau de signal d'entrée :
Ligne: (+4dB)
Aux: (-10 dBV)
- Utiliser l'affaillisseur (gain numérique) pour ajuster les mixages envoyés aux canaux de sortie USB ou Dante.
Ajustement des niveaux de sortie
Conseil: Regler la mesure sur post-affaiblisseur dans le menu des parametes pour ajuster les niveaux de sortie.
Ajuster les affaiblisseurs dans la section Sorties aussi haut que necessaire, mais veiller a eviter tout ecretage (lorque le signal atteint 0 dBFS). Toujours ajuster le gain d'entree et le gain croise dans le melangeur matriciel avant le gain de sortie.
Niveau d'entree analogue : selectionner le signal de sortie de niveau Ligne, Aux ou Mic pour egaliser la sensibilité du recepteur.
Égaliseur paramétrique
Optimiser la qualité audio en ajustant la réponse en fréquence sur l'égaliseur paramétrique.
Applications courantes de l'égaliseur :
Améliorer l'intelligibilité du discours
- Réduire le bruit des systèmes de climatisation ou des videoprojecteurs
- Reduire les irregularités de la salle
- Ajuster la réponse en fréquence pour les systèmes de sonorisation

Lors de la configuration du systeme avec le logiciel Designer de Shure, consulter la section d'aide de Designer pour en savoir plus sur ce suje.
Définition des paramètres de filtré
Ajuster les parametres de filtre en manipulant les icones du graphique de reponse en frquence ou en saississant des valeurs numériques. Désactiver un filtre à l'aide de la case à cocher adjacente au filtre.
Type de filtrre
Seules la première et la dernière bandes ont des types de filtres selectionnables.
Paramétrique : attenue ou amplifie le signal dans une plage de fréquence personalisable
Passe-bas: attenue le signal audio en dessous de la fréquence sélectionnée
Dégrade bas: attenue ou amplifie le signal audio en dessous de la fréquence sélectionnée
Passé-haut : atténue le signal audio au-dessus de la fréquence sélectionnée
Dégrade haut: attenuée ou amplifie le signal audio au-dessus de la fréquence sélectionnée
Fréquence
Selectionner la fréquence centrale du filtré à amplifier/attenuer
Gain
Ajuste le niveau pour un filtre spécifique (+/-30dB)
Q
Ajuste la plage de fréquences affectées par le filtre. Lorsque cette valeur augmente, la bande passante diminue.
Largeur
Ajuste la plage de fréquences affectées par le filtr. La valeur est représentée en octaves.
Remarque : les parametes Q et Largeur affectent la courbe d'égalisation de la même façon. Ils diffèrent uniquement dans la façon dont les valeurs sont représentées.

Réglages du canal Copier, Coller, Importer et Exporter l'égaliseur
Ces fonctions permettent d'utiliser facilement les réglages de l'égaliseur d'une installation précédente ou simplement d'accéléer le temps de configuration.
Copie et collage
Permet d'appliquer rapidement le même réglage PEQ à plusieurs canaux.
- Sélectionner le canal dans le menu dérouulant de l'écran PEQ.
- Sélectionner Copier.
- Dans le menu déroulant, Sélectionner le canal auquel appliquer le réglage PEQ puis Sélectionner Coller.
Importation et exportation
Permet d'enregistrer et de charger des réglages PEQ dans/à partir d'un fichier sur un ordinateur. Cela permet de créé une bibliothèque de fichiers de configuration sur les ordinateurs servant à installer le système.
Exporter
Selectionner un canal à partir duquel enregistrer le réglage PEQ puis selectionner Exporter dans un fichier.
Importer
Sélectionner un canal sur lequel charger le réglage PEQ puis sélectionner Importer depuis un fjichier.
Applications de l'égaliseur
L'acoustique des salles de conférence varie en fonction de l'espace, de la forme et des matériaux de construction. Utiliser les consignes du tableau suivant.
| Application de l'égaliser | Paramètres suggérés |
| Amplification des aigus pour améliorer l'intelligibilité du discours | Ajouter un filtré dégradé haut pour amplifier les fréquences supérieures à 1 kHz de 3-6 dB. |
| Réduction du bruit de climatisation | Ajouter un filtré passée-haut pour atténuer les fréquences en dessous de 200 Hz |
| Réduction des échos flottants et des sifflements | Identifier la plage de fréquences spécifique qui s'applique à la salle :1. Définir une valeur Q étroite2. Augmenter le gain entre +10 et +15 dB, puis faire des essais avec des fréquences entre 1 kHz et 6 kHz afin de cerner avec précision la plage d'échos flottants et de sifflements.3. Réduire le gain à la fréquence identifiée (commencer entre -3 et -6 dB) afin de minimiser les parasites in-désirables de la salle |
| Réduction du son creux et de la résonance de la salle | Identifier la plage de fréquences spécifique qui s'applique à la salle :1. Définir une valeur Q étroite.2. Augmenter le gain entre +10 et +15 dB, puis faire des essais avec des fréquences entre 300 Hz et 900 Hz afin de cerner avec précision la fréquence de résonance.3. Réduire le gain à la fréquence identifiée (commencer entre -3 et -6 dB) afin de minimiser les parasites in-désirables de la salle. |
Prérogages personalisés
Utiliser les prérégliages pour enregistrer et rappeler rapidement des paramètres. Juste à 10 prérégliages peuvent être stockés sur chaque apparéil, afin de répondre à différentes dispositions des sièges. Un préréglage enregistrire tous les paramètres d'appareil, à l'exception de Nom de l' apparéil, des paramètres IP et des mots de passer. L'importation et l'exportation des pré-régliages sur de nouvelles installations font gagner du temps et améliorent le déroulement des opérations. Lorsqu'un prérélage est sélectionné, son nom s'affiche au-dessus du menu de préréglage. En cas de modification, un astérisque s'affiche à côté du nom.
Remarque : Utiliser les preréglages par défaut pour revenir à la configuration d'usine (sauf Nom de l'appareil, Réglages IP et Mots de passage).
Ouvrir le menu Presets pour afficher les preréglages possibles :
Enregistrer comme pré-glage :
enregistrrespecametesur l'appareil
| Charger le préréglage : | ouvre une configuration de l'appareil |
| Importer depuis un fjichier : | telécharge un fjichier de préréglages d'un ordinateur sur l'appareil. Les fjichiers peuvent être sélectionnés depuis le navigateur ou glissés dans la fenêtre d'importation. |
| Exporter dans un fjichier : | enregistre un fjichier de préréglages de l'appareil sur un ordinateur |
Mélangeur matriciel
Le melangeur matriciel achemine les signaux audio entre les entrees et les sorties pour un acheminement simple et flexible :
- envoy un canal d'entrée unique vers plusieurs sorties
- envoyer des canaux d'entrée multiples vers une seule sortie
Gain croisé
Le gain croisé ajusté le gain entre une entree et une sortie specifiques afin de creer des sous-mixages personalisés sans modifiier les parametes de l'affaiblisseur d'entree ou de sortie. Sélectionner la valeur en dB pour n'importe quel gain croise afin d'ouvrir le panneau de réglage du gain.
Échelonnage du gain : affaiblisseur d'entrée > gain croisé > affaiblisseur de sortie
Acheminement des canaux
Connector les entrées et les sorties en scélectionnant la case dans laquelle elles se croissant.
ANIUSB-MATRIX Default Routes
Utiliser l'etat d'emploi
La fonction d'Etat d'applé de Designer utilise des LED de microphone pour indiquer une videoconference en cours. Il s'agit d'une fonction à l'échelle de l'emplacement, elle s'applique donc à tous les microphones d'un emplacement Designer.
Pour l'utiliser :
- Placer tous les microphones et les processeurs (ANIUSB-MATRIX, IntelliMix Room ou P300) au même emplacement Designer.
- Acheminer les signaux du microphone vers le processeur manuellement ou avec le workflow Optimiser de Designer.
- Aller à [Votre emplacement] > Paramétres > État d'appei pour activer ou désactiver l'Etat d'appei.
Lorsque I'Etat d'applé est activé :
LED du microphone eteintes = pas d'appei en cours
- LED du microphone allumées = appel en cours
L'etat d'appeil est compatible avec les codecs suivants :
Microsoft Teams
Salles Microsoft Teams
- Client Zoom pour les réunions
Salles Zoom
Remarque: si le codec fonctionne sur un ordinateur doté un système d'exploitation Chrome, le statut d'applé ne fonctionnera pas.
Cryptage
Le Cryptage fonctionne au niveau de la salle, ce qui signifie que tous les apparciels associés à cette salle doivent afficher ces paramètres. L'audio est crypté conformément à la norme Advanced Encryption Standard (AES-256), celle que spécifiée dans la publication FIPS-197 du National Institute of Standards and Technology (NIST) du gouvernement américain. Le cryptage n'est pas pris en charge avec des apparciels tiers.
Pour activer le cryptage :
- Dans une salle, cliquer sur

- Sélectionner Cryptage audio.
(Paramètres), en haut à droite.
- Sélectionner Enable Encryption
Les autres options vous permettent de réencoder le cryptage ou de le désactiver s'il a été activé mais qu'il n'est plus nécessaire.
Important : pour que le cryptage fonctionne :
Le cryptage doit etre activo ou desactive universellement sur tous les appareils Shure connectes dans la meme salle.
- AES67 doit être désactivé dans Dante Controller pour activer ou désactiver le cryptage. Le cryptage AES67 n'est actuellément pas pris en charge.
Remarque: le cryptage ne fonctionnera pas entre les dispositifs sur les firmwares 3.x et 4.x. Mettre à jour tous les appareils avec la même version du firmware principal pour utiliser le cryptage.
Mise en réseau et Dante
Recommendations de commutateur et de cable pour la mise en réseau Dante
Les commutateurs et les cables déterminent les performances du réseau audio. Utiliser des commutateurs et des cables de haute qualite pour rendre le réseau audio plus fiable.
Les commutateurs du réseau doivent avoir :
- Ports Gigabit. Les commutateurs 10/100 peuvent fonctionner sur de petits reseaux, mais les commutateurs gigabit fonctionnent mieux.
- Ports d'alimentation par Ethernet (PoE) ou PoE+ pour tous les appareils nécessitant une alimentation électrique
- Fonctions de gestion pour fournir des informations sur la vitesse de port, les compteurs d'erreurs et la bande passante utilisée
- Possibilité de désactiver la fonction Energy Efficient Ethernet (EEE). L'EEA (aussi connue sous le nom de « Green Ethernet ») peut provoquer des pertes de signal audio et des problèmes de synchronisation de l'horloge.
- Qualité de service (QoS) Diffseriv (DSCP) avec priorité stricte et 4 files d'attente
Les cables Ethernet doivent etre :
- De catégorie 5e ou supérieure
- Blindés
Pour plus d'informations, voir notre FAQ sur les switches à évitier.
Flux Dante pour apparecs Shure
Les flux Dante sont créés chaque fois que vous achemiez l'audio d'un apparéil Dante à un autre. Chaque flux Dante peut contérer jusqu'à 4 canaux audio. Par exemple: envoyer les 5 canaux disponibles d'un MXA310 à un autre apparéil nécessite 2 flux Dante, car 1 débit peut contérer jusqu'à 4 canaux.
Chaque appareil Dante a un nombre spécifique de flux transmis et de flux reçus. Le nombre de flux est déterminé par les capacités de la plateforme Dante.
Les paramètres de transmission monodiffusion et multidiffusion affectent également le nombre de flux Dante qu'un apparéil peut envoyer ou receivevoir. L'utilisation de la transmission multidiffusion peut aider à contourner les limitations des flux monodiffusion.
Les apparéils Shure utilisant différentes plateformes Dante :
| plateforme Dante | Appareils Shure utilisant la plateforme | Limite de flux de transmis-sion monodiffusion | Limite de flux de réception monodiffusion |
| Brooklyn II | ULX-D, SCM820, MXWAPT, MXWANI, P300, MxCWAPT | 32 | 32 |
| Brooklyn II (sans SRAM) | MXA920, MXA910, MXA710, AD4 | 16 | 16 |
| Ultimo/UltimoX | MXA310, ANI4IN, ANI4OUT, ANIUSB-MATRIX, ANI22, MXN5-C | 2 | 2 |
| DAL | IntelliMix Room | 16 | 16 |
Pour en savoir plus sur les flux Dante, consulter les FAQ ou Audinate.
Copie du nom des apparciels sur le réseau Dante
Pour envoyer le nom d'un apparéil à afficher dans le contrôleur Dante, aller à Paramétres>Général et saisir un nom sous Nom de l' apparéil. Sélectionner Transmettre à Dante pour envoyer le nom à afficher sur le réseau.
Remarque: les noms affichés dans Dante Controller sont suivis d'un « d »
Compatibilité avec Dante Domain Manager
Cet appareil est compatible avec Dante Domain Manager (DDM). DDM est un logiciel de gestion de réseau avec authenticatioion des utilisateurs, securite basee sur les roles et fonctions daudit pour les reseaux Dante et les produits compatibles Dante.
Considerations relatives aux appareils Shure contrôls par DDM :
Lors de I'ajout d'appareils Shure a un domaine Dante, definir l'acces du contrôleur local sur Read Write. Sinon il sera impossible d'acceder aux parametes Dante, d'effectuer une réinitialisation d'usine ou de mettre à jour le firmware de l'appareil.
Si, pour une raison quelconque, l'appareil et le DDM ne peuvent pas communiquer sur le réseau, le contrôle des paramétres Dante, la réinitialisation d'usine et les mises à jour du firmware de l'appareil sont impossibles. Lorsque la connexion est rétable, l'appareil suit la politique définie pour lui dans le domaine Dante.
- Si la fonction de verrouillage des appareils Dante est activée, que le DDM est hors ligne ou que la configuration de l'appareil est définie sur Empécher, certains paramètres de l'appareil sont désactivés, notamment : le cryptage Dante, l'association MXW, les fonctions Parcourir Dante et Calage Dante de l'AD4, et la liaison du SCM820.
Voir la documentation de Dante Domain Manager pour plus d'informations.
Remarque : s'applique aux versions 4.1.x et ultérieures du firmware.
Configuration des paramètres IP
Les configurations IP sont gérées dans le logiciel Designer de Shure. Par défaut, elles sont régles sur le mode Auto (DHCP). Le mode DHCP permet aux apparéils d'accepter les paramétres IP provenant d'un serveur DHCP ou de revenir automatiquement aux paramétres Lien-local lorsqu'aucun DHCP n'est disponible. Les adresses IP peuvent également être définies manuellement.
Pour configurer les propriétés IP, professionnel comme suit :
- Ouvrir la fenetre de configuration de l'appareil.
- Aller dans l'onglet Paramétres et Sélectionner Réseau.
- Sélectionner Auto ou Manuel. Si le mode Auto est sélectionné, les adresses seront affectées automatiquement. Pour la configuration Manuel, suivre les consignes relatives à la configuration manuelle.
Réglage de la latence
La latence est le temps nécessaire pour qu'un signal parcoure le système jusqu'àux sorties d'un apparéil. Pour tenir compte des variations de temps de latence entre les apparéils et les canaux, Dante a prévu une sélection prédéterminée de réglages de latence. En selectionnant le même réglage, on assure que tous les apparéils Dante du réseau sont synchronisés.
Ces valeurs de latence doivent etre utilisees comme point de depart. Pour déterminer la latence exacte a utiliser dans la configuuration, deployer la configuration, envoyer de l'audio Dante entre les appeareils et mesurer la latence reelle du systeme à I'aide du logiciel Dante Controller d'Audinate. Puis affiner la latence au reglage le plus proche disponible et utiliser celui-ci.
Utiliser le logiciel Dante Controller d'Audinate pour modifier les réglages de latence.
Recommendations relatives à la latence
| Réglage de latence | Nb. maximum de commutateurs |
| 0,25 ms | 3 |
| 0,5 ms (par défaut) | 5 |
| 1 ms | 10 |
| 2 ms | 10+ |
Utilisation des chaines de commande
Cet apparéil reçoit des commandes logiques par le réseau. Plusieurs paramètres contrôlés via Designer peuvent être contrô-lés avec un système de commande tiers, à l'aide de la chaîne de commande appropriée.
Applications courantes :
Coupure du son
- Couleur et comportement des LED
- Chargement des prêrglages
- Ajustement des niveaux
Une liste complete des chaînes de commande est disponible à l'adresse :
pubs.shure.com/command-strings/ANIUSB-Matrix.
Réinitialisation
Le bouton reset se trove dans un petit trou dans le panneau arriere. Appuyer dessus à l'aide d'un trombone ou d'un petit outil similaire.
Il existe deux fonctions de réinitialisation du matériel :
Réinitialisation du réseau (appuyer sur le bouton pendant 4 à 8 secondes)
Rétablit les valeurs d'usine par défaut pour tous les paramètres IP de réseau audio et de contrôle Shure
Réinitialisation usine totale (appuyer sur le bouton pendant plus de 8 secondes)
Rétablit les valeurs d'usine par défaut pour tous les paramétres de réseau et relatifs à Designer.
Options de réinitialisation du logiciel
Pour réinitialiser simplement les réglages sans passer par une réinitialisation matérielle totale, utiliser l'une des options suivantes :
Redemarrer l'appareil :redemarre l'appareil comme s'il avait ete debranché du reseau. Tous les parametes sont conserves en cas de redemarrage de l'appareil.
Parametres par défaut : pour revenir à la configuration d'usine des réglages audio (sauf Nom de l'appareil, Réglages IP et Mots de passer), selectionner Charger prérglages puis le prérglage Réglages par défaut.
Dépannage
| Problème | Solution |
| Le logiciel est lent dans le navigateur Google Chrome | Le problème est lié au navigateur. Désactiver l'option d'accélération matérielles dans Chrome. |
| Le son est sourd | Utiliser l'égaliseur pour ajuster la réponse en fréquence. Voir les applications de l'égaliseur pour l'utilisation appropriée. |
| La hauteur du sononne trop aiguë ou trop grave | S'assurer que les paramètres de fréquence d'échantillonnage pour la lecture et l'enregistrement correspondant aux paramètres de son de l'ordinateur. Si ces fréquences d'échantillonnage ne correspondent pas, la hauteur du son peut sonner trop aiguë ou trop grave. |
| Le matériel n'apparait pas lors de la détction des apparaïls | S'assurer que les-appareils sont sous tension.S'assurer que l'ordinateur et l'équipement sont sur le même réseau et régles sur le même sous-réseau.Désactiver les autres interfaces réseau qui ne sont pas utilisées pour se connecter à l'ordinateur (y compris le Wi-Fi). Vérifier que le serveur DHCP fonctionne (le cas échéant).Réinitialiser l'ordinateil |
| Pas de son | Vérifier que le système ANIUSB-MATRIX est sélectionné en tant qu'appareil audio dans le panneau Appareils ou Propriétés de l'ordinateurLes canaux audio doivent être dirigés vers une sortie via le mélangeur matérielLes connexions entre les-appareils doivent être définies dans le logiciel Dante ControllerTM Vérifier les câbles.Vérifier que les canaux d'entrée/sorting ne sont pas coupés |
| Vérifier que le niveau des affaiblisseurs n'est pas régle trop bas.S'assurer qu'il n'y a pas d'erreur de cryptage ; une disparité de phrase secrête ou le fait que le cryptage soit activé sur un seul apparéil perturbent le signal audio. | |
| Impossible d'acheminer les canaux audio Dante | Installer la dernière version de Dante Controller fournie par Audinate®, disponible sur www.audinate.com. |
| Impossible demettre le matériel sous tension | Le commutateur réseau doit fournir une alimentation via Ethernet. Si ce n'est pas le cas, utiliser un injecteur PoE.Vérifier les câbles et les connexions réseau. |
Journal des événements
Le journal des événements fournit des détails sur l'activité de l'appareil à partir de sa mise sous tension. Le journal collecte jusqu'à 1 000 entrées d'activité et les horodate par rapport à la première remise sous tension. Les entrées sont stockées dans la mémoire interne et ne sont pas effacées au redémarge de l'appareil. La fonction Export create un document CSV (valeurs séparées par une virgule) pour enregistrer et trier les données du journal.
Pour plus d'informations lors du dépannage ou de la consultation du service d'assistance systèmes de Shure, consulter le fichier journal.
Pour visualiser le journal des événements :
- Ouvrir le menu Help.
- Sélectionner Afficher le journal des événements.
Niveau de gravité
Informations
Actions ou événements executé(e)s avec succès.
Avertissement
Actions ne pouvant pas etre executees mais fonctionnement general stable.
Erreur
Problèmes pouvant entraver le fonctionnement.
Details du journal
Description
Fournit des details sur les événements et les erreurs, notamment l'adresse IP et le masque de sous-réseau.
Horodatage
Mises hors tension/sous tension:jours:heures:minutes:secondes depuis le demarrage le plus recent.
ID d'événement
Indique le type d'évenement pour référence interne.
Conseil : utilise le filtre pour limiter le nombre de résultats.Sélectionner un en- tête de catégorie pour trier le journal.
Vou n'avoz pas trové ce que vous recherchez ? Contactez notre service client pour obtenir de l'aide.
Caracteristiques
Général
Connexions analogiques
| Entrée | (1) connecteur bloc à 3 broches (Symétrique active) |
| Sortie | (1) connecteur bloc à 3 broches (Impédance symétrique) |
Connexions USB
(1) USB 2.0, Type B
Le port unique comporte 1 canal d'entrée et 1 canal de sortie (Mono combiné)
Connexions réseau (Audio numérique Dante)
(1)RJ45
4 canaux d'entrée, 2 canaux de sortie
Polarité
Sans inversion, toute entree a toute sortie
Alimentation
Alimentation sur Ethernet (Power over Ethernet, PoE), Classe 0. (PoE Plus compatible).
Consummation electrique.
6,5W, maximum
Poids
668 g (1,5 lb)
Dimensions
H×L×P
$$ 4 \times 1 4 \times 1 2, 8 \mathrm {c m} (1, 6 \times 5, 5 \times 5, 0 \mathrm {p o}) $$
Logiciel de contrôle
Shure Designer
Plage de températures de fonctionnement
-6,7°C (20°F) à 40°C (104°F)
Plage de températures de stockage
-29^ (-20^) a 74^ (165^)
Dissipation de I'energie thermique
| Maximum | 6,8W (23,0BTU/h) |
| typique | 6,0W (20,8BTU/h) |
Audio
Réponse en fréquence
+1,-1.5 dB
20 à 20,000 Hz
Audio numérique Dante
| Fréquence d'échantillonnage | 48 kHz |
| Profondeur de bits | 24 |
USB Audio
| Fréquence d'échantillonnage | 48 kHz |
| Profondeur de bits | 16, 24 |
Latence
| Latence Dante non incluse | Analogue-analogique | 0,98 ms |
| Analogue-Dante | 0,39 ms | |
| Dante-Analogique | 0,72 ms | |
| Dante-Dante | 0,14 ms |
Plage dynamique
20 Hz à 20 kHz, pondéré en A, typique
| Analogique-Dante | 113 dB |
| Dante-Analogique | 117 dB |
Bruit d'entrée équivalent
20 Hz à 20 kHz, pondéré en A, entrée terminée par 150 Ω
| Ligne | -86 dBV |
| Aux. | -98 dBV |
Distorsion harmonique totale
Taux de rejet en mode commun
source symétrique 150 Ω à 1 kHz
70 dB
Impedance
10,6 kΩ
Entree Niveau d'ecretage
| Ligne | +27 dBV |
| Aux. | +15 dBV |
Niveau d'échéage de sortie
| Ligne | +20 dBV |
| Aux. | +0 dBV |
| Micro | -26 dBV |
Intégre Traitément du signal numérique
| Par canal | Égaliseur (Paramétrique 4 bandes, Canaux de sortie analogiques et USB uniquement), Coupure du son, Écritateur, Gain (140 dB portée) |
| Sys-tête | Mélangeur matriciel |
Mise en réseau
Cable requis
Categorie 5e ou supérieure (cable blinde recommendé)
Accessoires en option et pieces de rechange
Plateau de rack 19"
CRT1
Informations de sécurité
CONSIGNES DE SECURITE IMPORTANTES
- LIRE ces consignes.
- CONSERVER ces consignes.
- OBSERVER tous les averissements.
- SUIVRE toutes les consignes.
- NE PAS utiliser cet apparéil à proximé de l'eau.
- NETTOYER UNIQUEMENT avec un chiffon sec.
- NE PAS obstruer les ouvertures de ventilation. Laisser des distances suffisantes pour permettre une ventilation adequate et effectuer l'installation en respectant les instructions du fabricant.
-
NE PAS installer à proximé d'une source de chaleur telle qu'une flâme nue, un radiateur, une bouche de chaleur, un poële ou d'autres appareils (dont les amplificateurs) produit de la chaleur. Ne placer aucune source à flâme nue sur le produit.
-
NE PAS retiret le dispositif de sécurité de la fiche polarisée ou de la fiche de terre. Une fiche polarisée comporte deux lames dont l'une est plus large que l'autre. Une fiche de terre comporte deux lames et une troisième broche de mise à la terre. La lame la plus large ou la troisième broche assure la sécurité de l'utiliseur. Si la fiche fournie ne s'adapte pas à la prise électrique, demander à un électricien de replacer la prise hors normes.
- PROTEGER le cordon d'alimentation afin que personne ne marche dessus et que rien ne le pince, en particulier au niveau des fiches, des prises de courant et du point de sortie de l'appareil.
- UTILISER UNIQUEMENT les accessoires spécifiés par le fabricant.
- UTILISER uniquement avec un chariot, un pied, un trupied, un support ou une table specifie par le fabricant ou vendu avec l'appareil. Si un chariot est utilisé, déplacer l'ensemble chariot-appareil avec précaution afin de ne pas le renverser, ce qui pourrait entrainer des blessures.

- DEBRANCHER l'appareil pendant les orages ou quand il ne sera pas utilisé pendant longtemps.
- CONFIER toute réparation à du personnel qualifié. Des réparations sont nécessaires si l'appareil est endommagé d'une façon quelconque, par exemple : cordon ou prise d'alimentation endommagé, liquide renversé ou objet tombé à l'intérieur de l'appareil, exposition de l'appareil à la pluie ou à l'humidité, apparéil qui ne marche pas normalement ou que l'on a fait tomber.
- NE PAS exposer cet appareil aux égouttures et aux éclabousements. NE PAS poser des objets contenant de l'eau, comme des vases, sur l'appareil.
- La prise SECTEUR ou un coupleur d'appareil électrique doit rester facilement utilisable.
- Le bruit aérien de l'appareil ne dépasse pas 70 dB (A).
- L'appareil de construction de CLASSE I doit être raccordé à une prise SECTEUR dotée d'une protection par mise à la terre.
- Pour réduire les risques d'incendie ou de chocoléctrique, ne pas exposer cet apparéil à la pluè ou à l'humidité.
- Ne pas essayer de modifier ce produit. Une telle opération est susceptible d'entraîner des blessures ou la défaillance du produit.
- Utiliser ce produit dans sa plage de températures de fonctionnement spécifique.

Ce symbole indique la présence d'une tension dangereuse dans l'appareil constituant un risque de chic électric.

Ce symbole indique que la documentation fournie avec l'appareil contient des instructions d'utilisation et d'entretien importantes.
Informations importantes sur le produit
L'équipment est prévu pour être utilisé dans des applications audio professionnelles.
Remarque: Ce dispositif n'est pas concu pour etre connecte directement a un reseau Internet public.
Conformite CEM pour les environnements E2 : commerciaux et d'industrie legere. Le contrôle est fonded sur l'utilisation des types de cable fournis et recommandes. L'utilisation de types de cable autres que blindés peut degrader les performances CEM.
Tout changement ou modification n'ayant pas fait l'objet d'une autorisation expresse de Shure Incorporated peut entrainer la nullité du droit d'utilisation de cet équipement.
Étiquette de conformité à la norme ICES-003 d'Industrie Canada : CAN ICES-3 (B)/NMB-3 (B)
Autorisé sous couvert de vérification de la partie 15B des réglementations FCC.
Suivre le plan de recyclage regional en vigueur pour les accus, l'emballage et les déchets électroniques.
Information à l'utilisateur
Cet équipement a ete teste et declare conforme aux limits pour les appareils numeriques de classe B, selon la section 15 des reglementations FCC. Cetieurment cree, utilise et peut emetre de I'energie radio electrique et, s'il n'est pas installe et utilisé conformement au manuel d'instructions du fabricant, il peut causer des interferences avec les receptions radio et television.
Avis : Les reglementations FCC stipulent que tout changement ou toute modification n'ayant pas reçu une autorisation expressée de Shure Incorporated peut annuler votre droit à utiliser cet équipement.
Ces limites sont destinées à assurer une protection raisonnable contre les interférences nuisibles dans une installation résidentielle. Cet équipement produit, utilise et peut émettre de l'énergie radio électrique et, s'il n'est pas installé et utilisé conformément aux générantes instructions, peut cause des interférences nuisibles aux communications radio. Il n'existe toute fois aucune garantie que de telles interférences ne se produiront pas dans une installation particulière. Si cet équipement produit des interférences nuisibles à la réception d'émissions de radio ou de télévision, ce qui peut être établi en mettant l'appareil sous, puis hors tension, il est recommendé à l'utilisateur d'essayer de corriger le problème en prénant l'une ou plusieurs des mesures suivantes :
- Réorienter ou déplacer l'antenne réceptrice.
- Augmenter la distance séparant l'équipement du récepteur.
- Brancher l'équipement sur un circuit électrique différent de celui du récepteur.
- Consulter le distributeur ou un technician radio et télévision.
Ce dispositif est conforme à la section 15 des réglementations de la FCC. L'utilisation est sujette aux deux conditions suivantes :
- Ce dispositif ne doit pas causeur des parasites nuisibles.
- Ce dispositif doit accepter tous les parasites reçus, y compris qui peuvent provoquer un fonctionnement non souhaitable.
La déclaration de conformité CE peut être obtenue auprès de : www.shure.com/europe/compliance
Representant agreé européen :
Shure Europe GmbH
Global Compliance
Jakob-Dieffenbacher-Str. 12
75031 Eppingen, Allemagne
Telephone: +49-7262-92 49 0
Ce produit est conforme aux exigences essentielles de toutes les directives européennes applicables et est autorisé à porter la marque CE.
La déclaration de conformité CE peut être obtenue auprès de Shure Incorporated ou de ses représentants européens. Pour les coordonnées, visitor www.shure.com
Notice Facile