Fulvia liberty - Poêle La Nordica - Notice d'utilisation et mode d'emploi gratuit
Retrouvez gratuitement la notice de l'appareil Fulvia liberty La Nordica au format PDF.
| Caractéristiques techniques | Poêle à bois La Nordica Fulvia Liberty, puissance nominale de 8 kW, rendement de 80%, capacité de chauffage pour des volumes jusqu'à 250 m³. |
|---|---|
| Dimensions | Dimensions : 1200 mm (hauteur) x 550 mm (largeur) x 500 mm (profondeur). |
| Poids | Poids : environ 150 kg. |
| Type de combustible | Bois, bûches de 30 cm maximum. |
| Utilisation | Conçu pour un chauffage d'appoint ou principal, idéal pour les maisons et appartements. |
| Entretien | Nettoyage régulier du foyer et du conduit de cheminée recommandé, vérification annuelle par un professionnel. |
| Sécurité | Équipé d'un système de sécurité pour éviter les surchauffes, conforme aux normes de sécurité en vigueur. |
| Garantie | Garantie de 2 ans sur les pièces. |
| Informations générales | Design moderne, finition en fonte, disponible en plusieurs coloris. |
FOIRE AUX QUESTIONS - Fulvia liberty La Nordica
Questions des utilisateurs sur Fulvia liberty La Nordica
0 question sur cet appareil. Repondez a celles que vous connaissez ou posez la votre.
Poser une nouvelle question sur cet appareil
Téléchargez la notice de votre Poêle au format PDF gratuitement ! Retrouvez votre notice Fulvia liberty - La Nordica et reprennez votre appareil électronique en main. Sur cette page sont publiés tous les documents nécessaires à l'utilisation de votre appareil Fulvia liberty de la marque La Nordica.
MODE D'EMPLOI Fulvia liberty La Nordica
Selon les normes de sécurité sur les apparciels l'acheteur
et le commercant sont contraints de s'informer sur le fonctionnement correct sur la base des instructions d'emploi.
Objet: Absence d'amiente et de cadmium
Nous déclarons que tous nos appareils sont assemblés avec des matériaux ne comptant pas de parties en amiente ou ses dérivés et que dans le matériel d'apport utilisé pour les soudures le cadmium n'est pas present ni utilisé sous aucune forme que ce soit, comme il est prévu par la norme de reference.
Nous déclarons que tous nos produits, les matériaux destinés à entrer en contact avec les alimentents sont indiqués pour l'usage des alimentents, conformément au Reglement CE cité à l'objet.
IT-INDICE
1 DATI TECNICI 6
2.AVVERTENZE GENERALI 6
3. NORME PER L'INSTALLAZIONE 6
4. SICUREZZA ANTINCENDIO 7
4.1. PRONTO INTERVENTO 7
- DESCrizIONE TECNICA 7
- CANNA FUMARIA 8
6.1.COMIGNOLO 8
6.2. COLLEGAMENTO AL CAMINO 8
6.3. COLLEGAMENTO ALLA CANNA FUMARIA DI UN CAMINETTO O FOCOLARE APERTO
- AFFLUSSO D'ARIA NEL LUOGO D'INSTALLAZIONE DURANTE LA COMBUSTIONE 9
- COMBUSTIBILI AMMESSI / NON AMMESSI 9
- ACCENSIONE 10
9.1. ACCENSIONE a BASSE EMISSIONI 10
| FULVIA | FULVIA Forno | GAIA | GAIA Forno | |
| Définition selon | EN 13240 EN | 13240 EN 13240 EN | 13240 | |
| Type | 1 1 1 1 | |||
| Puisance nominale en kW | 6 6 6 6 | |||
| Rendement en % | 82 82 82 82 | |||
| Diamètre du tuyau de sorties des fumées en mm | 120 120 120 | 120 | ||
| Conduit de fumée: Hauteur ≥ (m) - Dimensions min (cm) | 4 - 200x200 Ø200 | |||
| Dépression à rendement calorifique nominal en Pa | 12 (1,2 mm H₂O) | |||
| Consommation horsaire en Kg/h (bois 20% d'humidité) | 1,7 | 1,7 | 1,7 | 1,7 |
| CO mesuré à 13% d'oxygène en % | 0,06 - 750 mg/m³ | 0,06 - 750 mg/m³ | 0,06 - 750 mg/m³ | 0,06 - 750 mg/m³ |
| Émission de gaz d'échévement en g/s - bois | 6 6 6 6 | |||
| Température du gaz d'échévement au milieu en °C | 242 242 242 | 242 | ||
| Prise d'air extérieur Ø in mm (Section minim. cm²) | 120 (100 cm²) | 120 (100 cm²) | 120 (100 cm²) | 120 (100 cm²) |
| Dimensions d'ouverture du foyer mm (L x H) | 210 x 255 | 210 x 255 | 210 x 255 | 210 x 255 |
| Dimensions du foyer en mm (L x H x P) | 273 x 370 x 320 | 273 x 370 x 320 | 273 x 370 x 300 | 273 x 370 x 300 |
| Dimensions four en mm (L x H x P) | / | 227 x 296 x 290 | / | 227 x 296 x 290 |
| Type de grille Grille plate, pivotante de l'extérieur | ||||
| Hauteur de la cusinière thermique en mm | 862 | 1288 | 906 | 1331 |
| Largeur de la cusinière thermique en mm | 488 488 495 | 495 | ||
| Profondeur de la cusinière thermique en mm | 477 477 468 | 468 | ||
| Poids en Kg Chapitre FICHES TECHNIQUES | ||||
| Distances de sécurité anti-incendie Chapitre SÉCURITÉ CONTRE | LES INCENDIES | |||
| m³ que l'on peut chauffer (30 kcal/h x m³) (#) | 172 | 172 | 172 | 172 |
(#) Pour des édifices dont l'isoation thermique ne correspond pas aux dispositions du Reglement sur les isolations thermiques, la capacité de chauffage est de: type de construction favorable (30 Kcal/h x m³); type de construction moins favorable (40 Kcal/h x m³); type de construction défavorable (50 Kcal/h x m³).
Une isolation thermique adequate aux dispositions sur la protection de la chaleur permit d'obtenir un volume de chauffage supérieur. Avec un chauffage temporaire, en cas d'interruption de plus de 8h, la capacité de chauffage diminue de 25% environ.
2. AVERTISSEMENTS GENERAUX
La responsabilité de La société de La NORDICA S.p.a. se limite à la fourniture de l'appareil.
Son installation doitetre realizedes dans lesregles de l'art,elon les presentes instructions et lesregles de la profession,par du personnel qualifie,qui agit au nom de sociétés aptes a assume I'entiere responsabilité de I'ensemble de I'installation.
La société La NORDICA S.p.A. n'est pas responsable du produit modifie sans autorisation et de l'utilisation de pieces de rechange non originales.
Il est obligatoire de respecter les normes nationales et européennes, les dispositions locales ou en matière de legislations dans le secteur de la construction ainsi que les réglementations anti-incendies.
L'APPEAR NE PEGUT ETRE MODIFIE. En cas de non respect de ces precautions, la société NORDICA S.p.A ne s'assume aucune responsabilité.
3. RÉGLÉS POUR LA MISE EN PLACE
L'installation de l'appareil et des éléments auxiliaires relatifs à l'installation du chauffage, doit être conforme à toutes les Normes et aux Réglementations actuelles prévues par la Loi.
L'installation, les relatifs branchements de l'installation, la mise en service ainsi que le contrôle du correct fonctionnement doivent etre scrupuleusement effectués par un personnel autorisé en respectant les instructions suivantes ainsi que les normes en vigueur (nationales, regionales, provinciales et municipales) presents dans le pays ou est installé l'appareil.
L'installation doit être effectuee par un personnel autorise, qui remettra à l'acheteur une déclaration de conformité de l'installation, et qui assume l'entière responsabilité de l'installation définitive et par conséquent du bon fonctionnement du produit installé.
On conseille de faire verifier par voite habituel ramoneur de zone soit la connexion a la cheminee, soit le suffisant flux d'air pour la combustion dans le lieu d installation. L'appareil est assemblé et pret pour le raccordement; il doit etre relié au moyen d'un raccordement au conduit d'évacuation de la fumee de la maison. Le raccord doit etre de préference court, rectiligne, horizontal ou positionné légerement en montée. Les raccordements doivent etre hermetiques.
Avant l'installation, effectuer les vérifications suivantes:
S assurer que le sol puisse supporter le poids de I'appareil et proceder a son isolation dans le cas ou il serait construit en materiel
inflammable (DIMENSIONS SELON LA LEGISLATION RégIONALE). Lorsque le sol est combustible, l'appareil doit reposer sur une dalle en pierre ou en béton de 12 cm d'épaissieur.
S assurer que la piece ou sera installe l'appareil soit suffisamment ventilée, a ce propos, il est fondamental de faire attention aux fenêtes et aux portes à fermeture étanche (joints d'étanchéité).
- Éviter d'installer l'appareil dans des locaux où se trouvent des conduits de ventilation collective, des hottes avec ou sans extracteur, des-appareils à gaz type B, des pompes de chaleur ou des appareils dont le fonctionnement simultané pourrait provoquer la dépression du local (réf. Norme UNI 10683).
Sassurer que le tuyau d'evacuation de la fumee et les conduits auxquels sera raccorde l'appareil soient adequats pour le fonctionnement de cet apparéil. Il n'est pas permis de raccorder plusieurs apparéils à la même cheminée.
Le diametre d'ouverture pour la connexion à la cheminée doit correspondre au moins avec le diamètre du tuyau de la fumée. L'ouverture devrait etre dotee d'une connexion murale pour introduire le tuyau d'échappement et un verre a fleuron.
L installation doit etre telle a permetre le nettoyage et l'entretien du produit et du conduit des fumees.
La société La NORDICA S.p.A. décline toute responsabilité pour les dommages aux choses et/ou personnes provoqués par la mise en place. En outre elle n'est pas responsable du produit modifié sans son autorisation et même pas de l'utilisation de pièces de rechange non originales.
Le ramoneur habituel de votre zone doit être informé de la mise en place de la cuisine thermique pour qu'il puisse en contrôler la juste connexion au conduit de fumée et le degré d'efficacité de ce dernier.
4. SECURITE CONTR LES INCENDIES
Dans l'installation de le produit, respecter les mesures de sécurité suivantes:
a) Pour assurer une isolation thermique suffisant, respecter la distance minimale de sécurité entre le poèle et les éléments de construction et objets inflammables et sensibles à la chaleur (meubles, revêtements en bois, tissus, etc.) (voir Figure 4 page 40 - A). Toutes les distances minimales de sécurité sont indiquées dans l'étiquette du produit et on il NE FAUT PAS descendre au-dessous des valeurs indiqués.
b) Devant la porte du foyer, dans la zone de radiation de cette dernière, il ne doit y avoiraucun object ou materiaiu de construction inflammable et sensible à la chaleur à moins de 100 cm de distance. Cette distance peut etre réduite a 40 cm si l'on installe une protection, retro ventilée et résistantà la chaleur devant toute la composante à protégger.
c) Si le produit est installé sur un sol de matériel inflammable, il faut pouvoir une base ignifuge. Les sols composés par matériaux inflammables, comme moquette, parquet ou liège etc., doivent être replacés pas une couche de matériel pas inflammable, par exemple céramique, pierre, vitre ou acier etc.. (dimensions selon les règlements régionales). Si le remplacement du sol n'est pas possible, l'appareil doit être place sur une dalle en pierre ou en béton d'une épaissur minimum 12 cm. La plaque de sol doit dépasser de face d'au moins 50 cm et la târalalement d'au moins 30 cm l'ouverture de la porte de replissage (B).
d) Au-dessus de le produit, il ne doit y avoir aucun composant inflammable (ex. meubles - éléments suspendus).
Le produit doit fonctionner exclusivement quand le tiroir a cendres est inséré. Les résidus solides de la combustion (cendres) doivent être recueillis dans un conteneur hermétique et résistant au feu. Le produit ne doit jamais être allumée en présence d'émissions de gaz ou de vapeurs (par exemple colle pour linoléum, essence etc.). Ne pas déposer de matérielux inflammables pres de le produit.
Durant la combustion l'énergie thermique qui se dégage compte un rechauffement net des surfaces, portes, poignées, commandes, vitres et tuyau des fumées et eventulement de la partie antérieure de l'appareil. Éviter le contact avec ces éléments et porter toujours des vêtements de protection adéquats ou des outils accessoires (gants résistants à la chaleur, dispositifs de commande).
Faire en sorte que les enfants soient conscients de ces dangers et quils ne s'approchant pas de l'appareil en marche.
L'utilisation d'un combustible errone ou trop humide, à cause des dépôts du conduit de fumée, pourrait provoquer un incendie de cette dernière.
4.1. INTERVENTION RAPIDE
En cas d'incendie dans la connexion ou dans le conduit de fumée:
a) Fermer la porte de replissage et du tiroir à cendres.
b) Fermer les registres de l'air comburant
c) Éteindre à l'aide d'extincteurs à anhydride carbonique (CO₂ poussières)
d) Demander l'intervention immédiate des Sapeurs Pompiers
NE PAS ETEINDRE LE FEU AVEC DES JETS D'EAU.
Quand le conduit de fumee cesse de bruler, le faire contrer par un specialiste pour localiser d'eventuelles fissures ou points permeables.
5. DESCRIPTION TECHNIQUE
Les poëles à bois de La Nordica permettent deCHAuffer des espaces de logement pendant certaines périodes. Comme combustible,ils utilise des buches de bois. Le apparéil est un apparéil à alimentation intermittente.
Le poèle cheminée est fabriqué en tôle d'acier zingué, fonte émaillée et, selon les versions, en céramique thermoradiante ou plaques de stéatite. Le foyer est entièrement revetu de plaques individuelles de fonte, la partie arrière est amovible. Grace aux trous calibrés qui se trouvent sur cette plaque, il est garantie une arrivée d'air préchauffee à l'intérieur du foyer. On obtient dans cette façon une postcombustion, qui augmente le rendement en réduisant les émissions des gas. A l'intérieur du foyer se trouve une grille pivotante amovible.
Le foyer est équipé d'une portepanoramique avec vitreceramique (resistante jusqu'à 700^) ,ce qui permect une vue fascinante sur les flammes.De plus ceci permet egalement d'eviter tout echappement d'etincelles et de fumee.Sous la portedu foyer il y a un tiroir amovible pour les cendres avec portedefermeture (voir Figura 8 a pagina 41 B).
Le chauffage du milieu ambiant se fait :
-
Par convection (environ 70%): Le passage de l'air à travers le double manteau du poèle libre de la chaleur dans le milieu ambiant.
-
Par rayonnement (environ 30%): la chaleur est rayonnée dans le milieu ambiant à travers la vitre panoramicique et les superficies externes chaudes du poèle. . (Voir le chapitre DÉTERMINATION DE LA PUISSANCE THERMIQUE).
Le poèle est équipé avec registres d'air primaire et secondaire, avec les quels on règle l'air de combustion:
1A - Régulateur air PRIMAIRE Figure 6 page 41
Le régulateur situé en bas à gauche de la porte du foyer permet de régler le passage de l'air à travers le tiroir des cendres et la grille en direction du combustible. L'air primaire est nécessaire au processus de combustion. Il faut vider régulierément le tiroir dendrier de façon à ce que les cendres ne puissant pas empêcher l'entrée de l'air primaire pour la combustion. L'air primaire permet également de maintainir le feu. Pendant la combustion du bois, le régulateur de l'air primaire ne doit être ouvert qu'un peu puisque autrement le bois brûle rapidement et le poèle pourrait se surchauffer. Pour la combustion du charbon, l'afflux d'air primaire est également absolument nécessaire. Avec la manette complètement sortie, le régulateur est ouvert, avec la manette rentrée, le régulateur est fermé (voir chapitre FONCTIONNEMENT NORMAL).
2A - Regulateur air SECONDAIRE Figure 6 page 41
Le régulateur de l'air secondaire (pos B - C), situé sur la partie inférieure et supérieure de la porte du foyer, doit également être ouvert (c'est-à-dire déplace sur la droite), en particulier pour la combustion du bois, de sorte que le carbone non brûlé puisse subir une postcombustion. (voir Chap. FONCTIONNEMENT NORMAL).
Le réglage des registres, nécessaire pour obtenir la performance calorifique nominale est le suivant:
| Combustible Air | PRIMAIRE Aire SECONDAIRE Air TERTIAIRE | ||
| GAIA Bois FERMÉE OUVERTE PRÉ CALIBRE | |||
| GAIA Forno Bois FERMÉE OUVERTE PRÉ CALIBRE | |||
| FULVIA Bois FERMÉE OUVERTE PRÉ CALIBRE | |||
| FULVIA Forno | Bois FERMÉE OUVERTE PRÉ CALIBRE | ||
6. CONDUIT DE LA CHEMINEE
Conditions fondamentales pour un bon fonctionnement de l'appareil:
- la section interne doit être circulaire de préférence;
- être thermiquement isolée imperméable et construite avec des matériaux aptes à résister à la chaleur, aux produits de la combustion et aux évientuelles vapeurs de la condensation;
ne pas compter d'etranglements et posseder un développement vertical avec des deviations ne depassant pas 45^ - si elle est déjà utilisée, elle doit être propre;
- respectable les données techniques de la notice d'emploi;
Si les conduits de fumée sont à section carrée ou Rectangulaire, les angles internes doivent être arrondis avec un rayon non inférieur à 20 mm. Pour la section rectangulaire le rapport max. entre les côtes doit être ≤ 1,5.
Une section trop petite provoque une diminution du tirage On conseille une hauteur minimale de 4 m.
Le fibrociment, l'acier galvanise, et les surfaces internes rugueuses et poreuses sont interdits car ils compromettent le bon fonctionnement de I'appareil. Sur la Figure 1 page 38 on a reporte certains exemples de solutions.
La section minimale doit etre de 4 dm (par exemple 20× 20 cm) pour les appareils dont le diametre du conduit est inférieur a 200mm ou 6,25dm^2 (par exemple 25× 25cm ) pour les appareils dont le diametre est supieur a 200~mm
Le tirage creé par le conduit de fumée doit être suffisant mais non pas excessif.
Une section du conduit de fumée trop importante peut partager un volume trop grand à chauffer et, par conséquent, provoquer des difficultés de fonctionnement de l'appareil; pour éviter cela, le tuber sur toute sa longueur. Une section trop petite provoque une diminution du tirage.
Le conduit de fumée doit être distancé de façon appropriée des matériaux inflammables ou des combustibles au moyen d'une isolation adequate ou d'un matelas d'air.
Il n'est pas permis de faire transiter à l'intérieur de la cheminée des tuyauteries d'installations ou de canaux d'amnée d'air. Il est en outre INTERDIT de pratiquer des ouvertures mobiles ou fixes sur la cheminée, pour connecter des appareils différents et supplémentaires (chapitre CONNXION AU CONDUIT DE FUMEE D'UNE CHEMINÉE OU D'UN FOYER OUVERT).
6.1. POSITION DU POT DE LA CHEMINÉE
Le tirage du conduit de fumée dépend également de la justesse du pot de la cheminée.
ll t f i e a d r t t t t t t t t t t t t t t t t t t t t t t t t t t t t t t t t t t t t t t t t t t t t t t t t t t 0
Le pot de la cheminée, qui doit toujours dépasser le faîte du toit, devra garantir l'échéppement même en cas de vent (Figure 3 page 39). Le pot de la cheminée doit correspondre aux conditions requises suivantes:
- Avoir une section interne équivalente à celle de la cheminée.
- Avoir une section utile de sortie deux fois celle interne du conduit de fumée.
- Etre construit de facon à empêcher la pénétration de plue, neige et de n'importe quel corps étranger dans le conduit de fumée.
- Étrefacile à vérifier, pour les éventuelles opérations d'entretien et de nettoyage.
6.2. CONNEXION AVEC LA CHEMINEE
Les ciisirres avec la fermeture automatique(type 1) de la porte doivent obligatoirement fonctionner, pour des raisons de sureté, avec la portedu foyer ouverte (exception faite pour la phase de remplissage du combustible ou I'eventuelle elimination des cendres).
Les cuisines dont les portes n'ont pas de fermeture automatique (type 2) doivent etre connectees a un propre conduit de cheminée. Le fonctionnement avec la porte ouverte est autorise uniquement sur surveillance.
ATTENTION: en ce qui concerne la réalisation du branchement au conduit des fumées et les materiaux inflammables il faut se conformer
a la Norme UNI10683. Le conduit de fumée doit être distancé des matérielles inflammables ou combustibles à travers une appropriée isolation or une interstice d'air.
La dépression à la cheminée (TIRAGE) doit être d'au moins 12 Pascal (=1.2 mm de colonne d'eau). Le mesurage doit toujours être fait quand l'appareil est chaud (rendu calorifique nominal). Quand la dépression dépasse 17 Pascal il faut la réduire en installant un régulateur de tirage supplémentaire (vanne papillon) sur le tuyau d'échéppement ou dans la cheminée selon les normatives en vigueur.
Pour un bon fonctionnement de l'appareil il est important d'introduire assez d'air pour la combustion dans le lieu d'installation (voir le paragraphe 7).
6.3. CONNEXION AU CONDUIT DE FUMEE D'UNE CHEMINEE OU D'UN FOYER OUVERT
Le canal des fumées est une partie de tuyau qui connecte le thermo-produit au conduit de fumée, dans cette connexion respecte ces principes simples mais fondamentaux:
- pour aucune raison que ce soit on devra utiliser un conduit de fumée ayant un diamètre inférieur à celui du manchon de sortie dont est doté le thermo-produit;
- chaque mètre de parcours horizontal du canal de fumée provoque une perte sensible de charge qui devra être évientulement compensée par un exhaussement du conduit de fumée;
- la partie horizontally ne devra jamais dépasser en tout cas 2 m (UNI 10683);
- chaque courbe du canal des fumées réduit sensiblement le tirage du conduit de fumée qui devra être eventuellement compensé en en l'exhaustant de façon ajusté;
- le Reglement UNI 10683-2005 - ITALIE prévoit que les courbes ou les variations de direction ne doivent enaucun cas etre superieures à 2 y compris l'introduction dans le conduit de fumee.
Si I'on veut utilise le conduit de fumee d'une cheminée ou d'un foyer ouvert, il faudra fermer hermetiquement le hotte sous le point d'entree du canal de fumee pos. A Figure 5 page 40.
Si, ensuite le conduit de fumee est trop grand (ex. 30x40 cm ou 40x50) il faut le tuber avec un tuyau en acier d'au moins 200 mm de diametre, pos. B, en ayant soin de bien fermer l'espace restant entre le tuyau et le conduit de fumee immediatement sous le pot de la cheminée pos. C.
7. AMENEE D'AIR DANS LE LIEU DE LA MISE EN PLACE DURANT LA COMBUSTION
Vu que les cusinières thermiques prennt leur air de combustion de la piece d'installation, il est OBLIGATOIRE qu'il existe une quantité suffisante d'air dans ce lieu. En cas de fenêtre et portes étanches (ex. Maisons construites avec le critère de l'épargne énergétique) il est possible que l'entrée d'air frais ne soit plus garantie et ceci compromet le tirage de l'appareil, votre bien-être et votre sécurité.
Il faut donc garantir une alimentation supplémentaire d'air frais au moyen d'une prise d'air extérieur placee pres de I'appareil en posant un conduit pour l'air de combustion portant vers I'extérieur ou dans un local voisin aeré, sauf le local de la chaudiere ou le garage (INTERMIT).
L'entree de l'air pour la combustion dans le lieu de I installation ne doit pas etre obstrue durant le fonctionnement de la ciusiniere thermique. Il est absolutment necessaire que dans les endroits ou I'on fait fonctionner les ciusiniere thermiques avec un tirage naturel de la cheminee, qu'il y ait autant d'air qu'il est necessaire pour la combustion, a savoir jusqu'a 20 m3/heure. La recirculation naturelle de I'air doit etre garantie par quelsques ouvertures fixes vers I'extérieur, leurs dimensions doit etre déterminees par les reglements en la matière. Demander des informations à VOYRE ramoneur de confiance. Les ouvertures doivent etre protegees par des grilles et ne doivent jamais etre obturées. Une hotte d'extraction (aspirante) installee dans la meme piece ou dans une piece voisine provoque une depression dans le local. Ceci provoque la sortie de gaz brules (fumee dense, odeur, odore); il faut donc garantir une plus grande amenée d'air frais.
La dépression d'une hotte aspirante peut, dans le pire des cas, transformer la hotte de la cheminée en prise d'air extérieur en aspirant les fumées dans le local avec des conséquences gravissimes pour les personnes.
Les combustibles admis sont souches de bois. On doit utiliser exclusivement souches de bois sec (contenu d'eau max. 20% ). On devrait charger au maximum 2 ou 3 souches de bois. Les pieces de bois devraient avoir une longueur d'environ 20-30 cm et une circonfidence de maximum 30-35 cm. Les petits troncs de bois pressés non résines doivent etre uses avec attention pour eviter surchauffages dangereux pour l'appareil, car ils ont un pouvoir calorifique tres haut.
Le bois utilisé comme combustible doit avoir un contenu d'humidité inférieur au 20% et doit être déposé dans un lieu sec. Le bois humide rende l'allumage plus difficile, car il faut une plus grande quantité d'énergie pour faire evaporer l'eau presente. Le contenu humide a en outre le désavantage que, avec la réduction de la température, l'eau se condense d'abord dans le foyer et donc dans le cheminée, causant ainsi un remarquable dépôt de suie avec suivant possible risque d'incendie de la même.
Le bois frais contient environ le 60% de H_2O ,don il n'est pas convenable pour etre brule. Il faut placer ce bois dans un lieu sec et ventilé (par exemple sous un abri) pour au moins deux ans avant son emploi.
Parmi les autres, on ne peut pas brûler: charbon, découpes, déchets d'écorce et panneaux, bois humide ou traité avec vernis, matériaux en plastique; dans ce cas échoit la garantie sur l'appareil. Papier et carton doivent être utilisés seulement pour l'allumage. La combustion de déchets est INTERDITE et endommagerait en outre l'appareil et le tuyau d'évacuation de la fumée, faisant également à la santé et pouvant donner lieu à des réclamations de la part des voisins à cause des mauvaises odeurs.
Le bois n'est pas un combustible de longue durée et par conséquent un chauffage continu du poèle pendant la nuit n'est pas possible.
| Type Kg/mc kWh/kg Humidité 20% | |
| Hétre 750 4,0 | |
| Chène 900 4,2 | |
| Orme 640 4,1 | |
| Peuplier 470 4,1 | |
| Mélèze* 660 4,4 | |
| Sapin rouge* 450 4,5 | |
| Pin Silvestre* 550 4,4 | |
- BOIS RÉSINEUX PEU ADAPTÉS POUR UN POÉLE
IMPORTANT: En utilisant de façon continue et prolongée du bois aromatisé (eucalyptol, myrte, etc.), on cause rapidement des dégats (clavage) au niveau des éléments en fonte du produit.
9. ALLUMAGE
IMPORTANT: il est inévitable qu'une odeur désagreable se produit au premier allumage (suite au séchage des collants de la cordelette câblée du joint d'étanchéité et des vernis de protection), qui disparaît après une courte période d'utilisation. Il faut donc assurer une bonne ventilation du local. Au premier allumage, nous vous conseillons de charger une quantité réduite de combustible et d'augmenter progressivement le rendement calorifique de l'appareil.
Pour effectuer un premier allumage correct des produits traités avec des vernis pour haute temperatures, il faut savoir ce qui suit:
les matériaux utilisés pour la fabrication des appareils en question ne sont pas homogènes, en effet coexistent des éléments en fonte, en acier, refractaire et en faïence;
la température à laquelle le corps de l'appareil est soumis n'est pas homogène: de secteur à secteur on enregistre des températures qui varient de 300^ à 500^ .
- tout au long de sa durée de vie l'appareil est soumis à des cycles alternés d'allumage et de repos durant la même journée et à des cycles d'utilisation intense ou de repos absolu au cours des saisons;
- l'appareil neuf, avant de pouvoir se considérer rode devra être soumis à divers cycles d'allumage afin de consentir à tous ses matériaux et à la peinture de compléter les différentes sollicitations élastiques;
en particulier au tout début on pourra noter I'émission d'odeurs typiques des métaux soumis à une grande sollicitation thermique et de vernis encore frais. Ce vernis, bien qu'il soit cuit à 250^ pendant quelques heures au cours de sa fabrication, devra dépasser plusieurs fois et pendant une certaine durée la température de 350^ avant de s'incorporer parfaitement aux surfaces métalliques.
Il est donc importante de prendre ces petites précautions au cours de l'allumage:
- S'assurer qu'un renouvellement important de l'air soit garanti dans le local ou est installé l'appareil.
- Au cours des premiers allumages, ne pas charger excessivement la chambre de combustion (la moitié environ de la quantité indiquée dans le manuel d'instructions) et maintainir le produit allumé pendant au moins 6-10 heures de suite, avec les réglages moins ouverts que ce qui est indiqué dans le manuel d'instructions.
- Repeter cette opération au moins 4-5 fois ou plus, selon votre disponibilité.
- Ensuite charger de plus en plus (en suivant de toute façon les indications fournies dans le manuel d'instructions au sujet de la charge maximale) et si possible, effectuer de longues périodes d'allumage en evitant, au moins au début, des cycles d'allumage-arrêt de courte durée.
- Au cours des premiers allumages, aucun objet ne devrait etre appuye sur l'appareil et tout particulierement sur les superficies laquees. Les surfaces laquees ne doivent pas etre touchees pendant le chauffage.
- Àpès avoir terminé la période de «rodage», vous pourrez utiliser votre apparéil comme le moteur d'une voiture, en évitant de brusques échauffements avec des charges excessives.
Pour allumer le feu, nous conseillons d'utiliser du petit bois et du papier ou bien d'autres moyens vendus dans le commerce. Il est INTERDIT d'utiliser toute substance liquide comme par ex. alcohol, essence, petrole et similaires.
Le réglage pour l'air (primaire et secondaire) doit être ouvert un petit peu au même temps. Quand le bois commence à brûler, on peut charger plus de combustible et contrôler la combustion au moyen de l'air de combustion selon les indications du chap. DESCRIPTION TECHNIQUES.
Pendant cette phase, ne jamais laisser le foyer sans supervision.
Il ne faut jamais surcharger l'appareil (confrontez la fiche technique - quantité max. de combustible à charger / consommation hora) Trop de combustible et trop d'air pour la combustion peuvent causeur surchauffage et donc endommager l'appareil. Les dommages causés par surchauffe ne sont pas couverts par la garantie.
Ne jamais allumer l'appareil quand il y a des gaz combustibles dans la salle.
9.1.Allumage a BASSES EMISSIONS
La combustion sans fumée est une méthode d'allumage qui permet de réduire notablement les émissions de substances nocives. Le bois brûle progressivement du haut vers le bas, ainsi la combustion et plus lente et mieux contrôle. Les gaz brûlés, en passant à travers les flammes, brûlent presque entière. La durée d'une charge est de 6-8 h.
Metre les buches dans le foyer a une certaine distance l'une de I'autre, comme indiquedans la Figure 7 page 41. Disposer les plus grosses en bas et les plus minces en haut, ou a la verticale en cas de foyer et roit et haut. Placer I'allume-feu sur le montage, dispose des bues sur I'allume-feu perpendicularairement au tas de bois.
Mode d'allumage. Ce mode d'allumage remplace le papier ou le carton.
Préparer quatre bùches ayant une section transversale de 3cm x 3cm et une longueur de 20 cm Figure 7 page 41. Mettre les quatre bùches croisées au-dessus du tas de bois, transversalement à celui-ci, avec au milieu l'allume-feu qui peut être par exemple de la fibre de bois enduite de ciè. Une allumette suffit pour allumer le feu. Il est également possible d'utiliser des morceaux de bois plus petits: dans ce cas il en faudra un plus grand nombre.
Ouvrir la vanne d'évacuation des fumées et le registre pour l'air comburant. Àpres avoir allumé le feu faisser le registre qui regule l'air pour la combustion dans la position indiquée:
| Combustible Air PRIM | AIRE Air SECONDAIRE | |
| BOIS FERME 1/2 QUVERT |
IMPORTANT:
- ne pas ajouter recharger le poèle;
- ne pas étouffer le feu en fermant les prises d'air;
- un ramonage régulier réduit les émissions de poussières fines.
- Ces indications sont soutenues par ENERGIA Legno SUISSE www.energia-legno.ch
10. FONCTIONNEMENT NORMAL
Après avoir positionné les registres correctement, introduire la charge de bois horsaire indiqué évitant surcharges qui provoquent effort anormaux et déformations (selon les indications du chap. DESCRIPTION TECHNIQUES). Vous devez utiliser le poèle toujours avec la portefermée, pour évider des problèmes du au surchauffage (forge effet). La non observance de cette règle fait échoir la garantie. Les appareils avec ferméture automatique de la porte (type 1) doivent obligatoirement fonctionner, pour des raisons de sécurité, avec la portefour fermetée (sauf pendant le chargement du combustible ou l'enlèvement des cendres).
Les appareils sans fermeture automatique des portes (type 2) doivent etre raccordes a leur propre tuyau d'evacuation de la fumee. Le fonctionnement avec porte ouverte n'est permis que sous surveillance.
IMPORTANT: Pour des raisons de sécurité, la porte du foyer ne peut etre ouverte que pendant le chargement du combustible. Le foyer doit rester fermé pendant le fonctionnement et les périodes pendant lesquelles le poele n'est pas utilise
Les régulateurs situés sur la face avant permettent de régler l'émission de chaleur du poèle. Ils doivent être ouverts en fonction du besoin calorifique. La meilleure combustion (avec émissions minimum) s'obtient quand, en chargeant du bois, la plus grande partie de l'air pour la combustion passée à travers le régulateur de l'air secondaire. Il ne faut jamais surcharger l'appareil.
Trop de combustible et une trop grande quantite d'air peuvent provoquer la surchauffe du poele et donc l'endommager. Les dommages causés par surchauffe ne sont pas couverts par la garantie.
Il faut donc toujours utiliser le poèle avec la porte fermée (abaissee) pour éviter l'effet de forge.
Le réglage des registres, nécessaire pour obtenir la performance calorifique nominale avec une dépression à la cheminée de 12 Pa 1,2 mm de colonne d'eau) est le suivant: voir chap. DESCRIPTION TECHNIQUES. Le apparéil est un apparéil à alimentation intermittente.
Outre au réglage de l'air pour la combustion, l'intensité de la combustion et donc la performance calorifique de Toutte appareil sont influencés par la cheminée. Un bon tirage de la cheminée demande un réglage plus réduit de l'air pour la combustion, tandis qu'un tirage réduit nécessite plout d'un réglage correct de l'air pour la combustion.
Pour vérifier laonne combustion, il faut vérifier que la fumee qui sort de la cheminée soit transparente.
Si elle est blanche, cela signifie que l'appareil n'a pas ete regle correctement ou bien le bois est trop mouille; si au contraire la fumee est grise ou noire, esta signifie que la combustion n'est pas complete (il faut avoir une plus grande quantite d'air secondaire).
10.1. UTILISATION DU FOUR (ou presente)
Après avoir nettoyé la grille, chargez le combustible. L'apport d'air pour la combustion peut influencer sensiblement la température du four. Un tirage suffisant de la cheminée et des conduits bien propres pour le flux des fumées chaudes autour du four sont des conditions fondamentales pour un bon résultat de cuisson. La plaque du four peut être située à différents niveaux. Les gâteaux écais et les grands rots doivent être enfournés au niveau le plus bas, les gâteaux plats et les biscuits au niveau moyen et le niveau supérieur peut être utilisé pour rechauffer ou rissoler.
10.2. FONCTIONNEMENT PENDANT LES PÉRIODES DE TRANSITION
Pendant la période de transition, c'est-à-dire quand les températures externes sont plus élevées, en cas d'augmentation imprévue de la température, il peut se produit certaines difficultés avec le tuyau d'évacuation de la fumée qui font que les gaz de combustion ne sont pas complètement aspirés. Les gaz de décharge ne sortent plus complètement (forte odeur de gaz).
Dans de tels cas, secouez plus fréquement la grille et augmenter l'air pour la combustion. Ensuite chargez une quantité réduite de combustible en faisant en sorte que celui-ci brûle plus rapidement (avec plus de flammes) et le tirage du tuyau d'évacuation de la fumée se stabilise. Contrôlez également que toutes les ouvertures pour le nettoyage et les raccordements à la cheminée soient hermétiques. En cas d'incertitudes, renoncer à utiliser 'appareil.
11. ARRET PENDANT L'ETÉ
Après avoir réalisé le nettoyage du foyer, de la cheminée et du conduit de la fumée, en réalisant l'élimination totale de la cende et d'autres évientuels résidus, il faut fermer toutes les portes du foyer et les relatifs registres. Si l'appareil est terminé de la cheminée, il faut fermer son orifice de sortie. On conseille de réaliser l'opération de nettoyage du conduit de fumée au moins une fois par an. Il faut vérifier entre temps l'effectif état des garnitures lesquelles, si elles ne sont pas parfaitement intégrés, ne garantissant pas le bon fonctionnement de l'appareil! Dans ce cas il est nécessaire le remplacement des mêmes. En cas d'humidity de la salle ou se trouve l'appareil, il faut préparer des sels absorbants à l'intérieur du foyer. Protégger les parties en fonte, si l'on peut maintainir inaltéré dans le temps l'aspect esthétique, avec de la vaseline neutre.
12. ENTRETIEN ET SOIN
Contróler, en le nettoyant, au moins une fois par an, la prise d'air externe.
La cheminée doit être régulierement ramonnée par le ramoneur.
Faites controler par voire ramoneur de zone l'installation de la cheminee, le raccordement et I'aeration.
IMPORTANT: entretien et sein qui ne peut avoir lieu qu'vec l'appareil froid. Utiliser exclusivement des pieces de rechange expressement autorises et offertes par La NORDICA. En cas de besoin, nous vous prions de vous adresser à votre revendeur spécialise. L'APPAREIL NE POT PAS ETRE MODIFIE!
12.1. LES FAIENCES
Les faiences La NORDICA sont des produits de haute fabricationartisanale et comme tels, elles peuvent presenter de très petits grumeaux, des craquelures et des imperfections chromatiques. Ces caractéristiques sont la preuve de leur grande valeur. L'email et la faïence, pour leur différent coefficient de dilatation, produit des microfissures (draquelure) qui en démontré l'authenticité.
Pour nettoyer les faiences, nous conseillons d'utiliser un chiffon doux et sec; un détergent ou produit liquide quelconque pourrait pénétre à l'intérieur des craquelures et lesmetre en évidence.
12.2. PRODUITS EN PIERRE OLLAIRE
La pierre ollaire doit etre nettoyee avec du papier de verre trs fin ou avec une eponge abrasive. NE PAS utilise aucun detergent ou liquide.
12.3. PRODUITS VERNIS
Aprés des années d'utilisation du produit, le changement de couleur des pieces vernies est un phénomène complètement normal. Ce phénomène est provoqué par le changement brutale de la température à laquelle un produit est soumis pendant le fonctionnement et par le vieilissement de la peinture elle-même avec le passage du temps.
ATTENTION: avant toute nouvelle application de peinture, il faut pouvoir le nettoyage et enlever tout residu de la surface à peindre.
12.4. PRODUITS ÉMAILLES
Pour le nettoyage des parties peintes, utilise de I'eau savonneuse ou des détergents non abrasifs ou chimiquement non agressifs.
NE PAS laisser secher de I'eau savonneuse ou de detergent après le nettoyage. Il faut pouvoir a es faire enlever immediatement.
12.5.PIECES CHROMEES
Dans le cas les pièces chromées représentait une couleur avec reflets bleus suite à une surchauffe, utiliser un produit de nettoyage ajusté pour solutionner cet inconvenient.
12.6. PLAQUE ET CERCLES
La plaque (cuisine) et les cercles (cuisine - poêles cheminées) doivent être périodiquement frottés avec papier de verre grain 150. NO parties peintes.
12.7. NETTOYAGE DE LA VITRE
Grace a une entree specifie de l'air secondaire, la formation de depots de saleté sur la vitre de la porte est efficacement ralentie. Cependant il est impossible de I'eviter complètement avec I'utilisation des combustibles solides (en particulier le bois humide) mais ceci ne doit pas etre considere comme un defaut de I'appareil.
IMPORTANT: Il ne faut nettoyer la vitre panoramaque que quand l'appareil est froid pour en eviter l'explosion. Le nettoyage peut etre effectue avec des produits specifiques ou bien en frottant la vitre avec une boule de papier journal (quotidien) humidifié et passé dans la cende. Ne pas utiliser cependant de chiffons, produits abrasifs ou chimiquement agressifs.
La procedre correcte d'allumage, l'utilisation de la quantite et du type de combustibles adequats, la position correcte du regulateur de I'air secondaire, le tirage suffisant de la cheminee et la presence d'air comburant sont les conditions indispensablees pour le fonctionnement optimal de I'appareil et garantissant le nettoyage de la vitre.
RUPTURE DES VITRES: Les vitres sont en vitrocéramique résistante à des poussees thermiques allant jusqu'à 750^ C et ne sont donc pas sujettes à des chocs thermiques. Elles ne peuvent se rompre que par chocs mécaniques (coups ou fermeture violente de la porte, etc.) Par conséquent, le remplacement de la vitre n'est pas sous garantie.
12.8. NETTOYAGE TIROIR DES CENDRES
Tous les apparèils ont une grille foyer et un tiroir cende pour la récolte des cendres.
Nous youe cseillons de vider periodquement te tiroir cendre et d'eviter son remplissage total, pour ne pas surchauffer la grille. En outre,
nous youe conseillons de laisser always 3-4 cm de cendre dans le foyer.
ATTENTION: Les cendres enlevées du foyer doivent être placées dans un récipient de matériel ignifuge équipé d'un couvercle étanché. Le récipient doit être place sur un sol ignifuge, loin de matérieliaux inflammables jusqu'à l'extinction et refroidissement complet. Contrôler, en le nettoyant, au moins une fois par an, la prise d'air externe.
12.9. NETTOYAGE DU TUYAU D'EVACUATION DE LA FUMEE
La procedre correcte d'allumage, l'utilisation de quantités et types de combustibles appropriés, le juste positionnement du registre de l'air Secondaire, le tirage suffisant de la cheminée et la présence d'air comburant sont indispensablees pour le fonctionnement optimal de l'appareil et garantissant le nettoyage de la vitre.
Nous recomandons d'effectuer un nettoyage complet de I'appareil au moins une fois par an ou chaque fois que neccessaire (problèmes de mauvais fonctionnement avec faible rendement). Un depot excessif de suie peut provoquer des problemes de decharge des fumées et l'incendie du tuyau d'évacuation lui-même. Cette opération, qui ne peut avoir lieu qu'avac I'appareil froid, devrait être effectuee par un ramoneur qui en même temps, peut faire une inspection du tuyau d'évacuation de la fumée (verifier la presence d'eventuels depots).
Pendant le nettoyage, il faut retirer de l'appareil te tiroir cendrier, la grille et le deflecteur fumées pour favoriser la chute de la suite.
Les deflecteurs sont facilement amovibles depuis leurs sièges car ne sont pas fixés avec aucune vis. Une fois le nettoyage réalisé, les
memesdoiventetrepositionnésdansleurssieges(Figure9page42).
ATTENTION: L'absence de déflecteur provoque une forte dépression, une combustion trop rapiè et une consommation excessive de bois ayant pour conséquence une surchauffe de l'appareil.
13. DÉTERMINATION DE LA PUISSANCE THERMIQUE
Il n'existe pas de règle absolu que peut être de calculer la puissance correcte nécessaire. Cette puissance dépend de l'espace àchauffer mais aussi en grande mesure de l'isolement. En moyenne, la puissance calorifique nécessaire pour une piece ajustement isolée sera de 30 kcal/h par m³ (pour une température extérieure de 0 °C).
Etant donne que 1 kW correspond à 860 Kcal/h, nous pouvons adopter une valeur de 38 W/m³.
Supposons que vous souhaitezCHAuffer une pioc de 150 m3 (10 x 6 x 2,5 m) d'un apartement isolé, vous aurez besoin de 150 m3 x 38 W/m3 = 5700 W ou 5,7 kW. Par conséquent, comme chauffage principal, un apparéil de 8 kW sera suffisant.
| Valeur indicative de combustion | Quantité demandée par rapport à 1 kg de bois sec | |||
| Carburant Unità kcal/h kW | ||||
| Bois sec (15% d'humidité) kg 3600 4.2 | 1,00 | |||
| Bois mouillé (50% d'humidité) kg 1850 | 2.2 1,95 | |||
| Briquettes de bois kg 4000 5.0 0,84 | ||||
| Briquettes de lignite kg 4800 5.6 0,75 | ||||
| Anthracite normal kg 7700 8.9 0,47 | ||||
| Coke | kg 6780 | 7.9 0,53 | ||
| Gaz naturel | m3 | 7800 9.1 0,46 | ||
| Mazout | L | 8500 9.9 0,42 | ||
| Electricité | kW/h | 860 | 1.0 4,19 | |
1




| 1 | Canna fumaria in acciaio AISI 316 con doppià camera isolata con materiale resistente a 400°C. Efficienza 100% ottima AISI 316 steel flue with double chamber insulated with material resistant to 400°C. Efficiency 100% excellent Schornsteinrohr aus Stahl AISI 316 mit doppelter mit 400°C beständigem Material verkleideter Kammer. Wirkungsgrad 100% ausgezeichnet Conduit de fumée en acier AISI 316 avec double chambre isolée avec matériel résistant à 400°C. Efficence 100% excellente |
| 2 | Canna fumaria in refrattario con doppià camera isolata e rivestimento esterno in calce-struzzo alleggerito. Efficienza 100% ottima Refractory flue with double insulated chamber and external coating in lightweight con-crete. Efficiency 100% excellent Schornsteinrohr aus feuerfestem Material mit doppelter isolierter Kammer und Außen-verkleidlung aus Halblichtbeton. Wirkungsgrad 100% ausgezeichnet Conduit de fumée en réfractaire avec double chambre isolée et revêtement externe en béton allégé. Efficence 100% excellente |
| 3 | Canna fumaria tradizionale in argilla sezione quadrata con intercapedini. Efficienza 80%ottima Traditional clay flue square section with cavities. Efficiency 80% excellent Traditionelles Schornsteinrohr aus Ton - viereckiger Querschnitt mit Spalten. Wirkung-sgrad 80% ausgezeichnet Conduit de fumée traditionnel en argile section carrée avec séparations. Efficence 80% excellente |
| 4 | Evitare canne fumarie con sezionerettangolare interna il cui rapporto sia diverso dal disegno. Efficienza 40% mediocre Avoid flues with rectangular internal section whose ratio differs from the drawing. Effi-ciency 40% poor Schornsteinrohr mit rechteckigem Innenuquerschnitt sind zu vermeiden, dessen Verhältnis von der Zeichnung abweicht. Wirkungsgrad 40% Éviter conduits de cheminée avec section rectangulaire interne dont le rapport soit différent du dessin. Efficence 40% mediocre |
2

1

2

3

4

1
| Comignolo industriale ad elementi prefabbricati, consente un ottimo smaltimento dei fumi. |
| Industrial chimney cap with pre-fabricated elements - it allows an excellent discharge of the smokesIndustrialschornstein mit Fertigielelemente - er gestattet eine ausgezeichnete Abgasentsorgung. |
| Tete de cheminée industrielle à éléments préfabriqués, elle permet une excellente évacuation des fumées. |
| Comignolo artigianale. La giusta sezione di uscita deve essere minimo 2 volte la sezione interna della canna fumaria, ideale 2,5 volte Handicraft chimney cap. The right output section must be at least twice as big as the internal section of the flue (ideal value: 2.5 times) Handwerklicher Schornstein. Der richtige Ausgangsquerschnitt muss mindestens 2 Male des Innenquerschnites des Schornsteinrohrs betragen, idealäre: 2,5 Male. |
| Tete de cheminéeartisanale. La juste section de sortie doit être minimum 2 fois la section interne du conduit de fume, ideally 2,5 fois. |
| Comignolo per canna fumaria in acciaio con sono interno deflettore dei fumi. |
| Chimney cap for steel flue with internal cone deflector of smokes. Schornstein für Schornsteinrohr aus Stahl mit einer Kegelförmigen Rauchumlenkplatte. |
| Tete de cheminée pour conduit de fume en acier avec côte interne déflecteur des fumées. |
| In caso di canne fumarie affiancate un comignolo dovrà sovrastare l'altro d'almeno 50 cm al fine d'évitare trasferimenti di pressione tra l canne stesse. |
| In case of flues side by side, a chimney cap must be higher than the other one of at least 50 cm in order to avoid pressure transfers between the flues themselves. |
| Im Falle von naheliegenden Schornsteinrohren muss ein Schornstei den anderen um mindestens 50cm übbragen, um Druckübertragungen unter den Schornsteinrohren selbst zu vermeiden. |
| En cas de conduits de cheminée à côte, une tête de cheminée devra surmonter l'autre d'au moins 50 cm dans le but d'éviter transferts de pression parmi les conduits mêmes. |

5
La tete de cheminée ne doit pas avoir d'obstacles dans les 10 m depuis les murs, nappes et arbres. Au cas contraire il faut soulever la tete de cheminée d'au moins 1 m au dessus de l'obstacle. La tete de cheminée doit surmonter la ligne de faite du toit d'au moins 1 m.
| COMIGNOLI DISTANZE E POSIZIONAMENTO UNI 10683 CHIMNEY CAPS - DISTANCES AND POSITIONING UNI 10683 SCHORNSTEINE ABSTÄNDE UND STELLUNG UNI 10683 TETES DE CHEMINEE ET POSITIONNEMENT UNI 10683 | |
| Inclinazione del fatto Inclination of the roof Dachneigung Inclinaison du toit | a >10° |



4


B
Toutes distances minimales de sécurité sont indiquées dans l'étiquette du produit et on il NE FAUT PAS descendre audressous des valeurs indiqués (voir INFORMATIONS MARQUAGE CE).
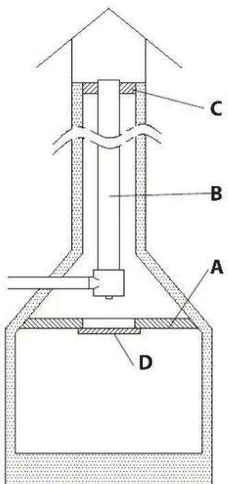
| A | Chiusura ermetica | Hermetic closure | Hermetischer Verschluss | Fermeture hermetique |
| B | Acciaio Inox | Stainless steel | Stainless steel Acier Inox | |
| C | Tamponamento | Plugging Ab | dichtung Tamponnent | |
| D | Sportello di ispezione | Inspection hatch | Inspektionsklappe | Porte inspection |

5

6



7




8
9

- DIMENSIONI
DIMENSIONS SHEETS
DIMENSIONS MABE



FULVIA 109 kg (119 kg Pietra)




FULVIA Forno 155 kg (173 kg Pietra)




GAIA 133 kg




GAIA Forno 186 kg
Cette déclaration de performance est délivrée sous la responsabilité exclusive du fabricant où au point 4.
09/06/2013 Montecchio Precalcino (VICENZA)
La Maison constructrice n'est pas tenue à respecter ces données et ces modèles: elle se réserve le droit d'apporter des modifications et des améliorations sans préavis.

La NORDICA S.p.A.
Notice Facile