D1 - Piano KORG - Notice d'utilisation et mode d'emploi gratuit
Retrouvez gratuitement la notice de l'appareil D1 KORG au format PDF.
| Caractéristique | Détails |
|---|---|
| Type de produit | Piano numérique |
| Clavier | 88 touches, toucher lourd |
| Polyphonie | 120 voix |
| Sonorités | 30 sons intégrés |
| Connectivité | USB, MIDI, sortie casque |
| Dimensions | 1 400 x 300 x 130 mm |
| Poids | 11,4 kg |
| Alimentation | Adaptateur secteur inclus |
| Utilisation | Idéal pour les pianistes débutants et avancés |
| Maintenance | Nettoyage régulier avec un chiffon doux |
| Sécurité | Éviter l'exposition à l'humidité et à la chaleur excessive |
| Garantie | 2 ans |
FOIRE AUX QUESTIONS - D1 KORG
Questions des utilisateurs sur D1 KORG
0 question sur cet appareil. Repondez a celles que vous connaissez ou posez la votre.
Poser une nouvelle question sur cet appareil
Téléchargez la notice de votre Piano au format PDF gratuitement ! Retrouvez votre notice D1 - KORG et reprennez votre appareil électronique en main. Sur cette page sont publiés tous les documents nécessaires à l'utilisation de votre appareil D1 de la marque KORG.
MODE D'EMPLOI D1 KORG
Merci d'avoir besoin la piano numérique D1 de Korg.
Afin de pouvoir exploiter au besoin toutes les possibilités offertes par l'instrument, veuillez dire attentivement ce manuel.
Manuel d'utilisation
Bedienungsanleitung
Manual del usuario
Precautions
Location
L'utilisation de cet instrument dans les endroits suivants peut en entrainer le mauvais fonctionnement.
- En plein soleil
- Endroits très chauds ou très humides
Endroits sales ou fort poussiereux - Endroits soumis à de fortes vibrations
- A proximé de champs magnétiques
Alimentation
Branchez l'adaptateur secteur mentionné à une prise secteur de tension appropriée. Evitez de brancher l'adaptateur à une prise de courant dont la tension ne correspond pas à cette pour laquelle l'appareil est concu.
Interférences avec d'autres apparaïeils électriques
Les postes de radio et de télévision situés à proximé peuvent par conséquent souffrir d'interférences à la réception. Veuillezès lors faire fonctionner cet ap-pareil à une distance raisonnable de postes de radio et de télévision.
Maniement
Pour éviter de les endommager, manipulez les commandes et les boutons de cet instrument avec soin.
Entretien
Lorsque l'instrument se salit, nettoyez-le avec un chiffon propre et sec. Ne vous servez pas d'agents de nettoyage liquides tels que du benzene ou du diluant, voire des produits inflammables.
Conservez ce manuel
Après avoir lu ce manuel, veuillez le conserver soignement pour toute referrer ultérieure.
Evitez toute intrusion d'objets ou de liquide
Ne placez jamais de recipient contenant du liquide pres de l'instrument. Si le liquide se renverse ou coule, il risque de provoquer des dommages, un court-circuit ou une electrocution.
Veillez à ne pas laisser tomber des objets métalliques dans le boîtier (trombones, par ex.). Si cela se produit, débranchez l'alimentation de la prise de courant et contactez votre revendeur korg le plus proche ou la surface où vous avez achete l'instrument.
Note concernant les dispositions (Seulement EU)

Quand un symbole avec une poubelle barreed'une croix apparait sur le produit,le mode d'emploi,les piles ou le pack de piles,ela signifie que ce produit,manuel ou piles doit etre déposé chez un représentant competent,et non pas dans une poubelle ou toute autre déchetterie convention
nelle. Disposer de cette manière, de prévenir les dommages pour la santé humaine et les dommages potentiels pour l'environnement. La bonne méthode d'élimination dépendra des lois et règlements applicables dans votre localité, s'il vous plaît, contactez votre organisme administratif pour plus de détails. Si la pile contient des metaux lourds au-delà du seuil réglemente, un symbole chimique est affché en dessous du symbole de la poubelle barrière d'une croix sur la pile ou le pack de piles.
Table des matières
Introduction 19
Principales caractéristiques 19
Parties et leurs fonctions 20
Préparats et écoute des morceaux de démonstration-21
Avant de commencer a jour- 21
Écoute des morceaux de démonstration-----23
Utilisation du D1 pour la lecture 24
Jouer un timbre (mode Single) 24
Jouer deux timbres à la fois (mode Layer)--24
Utilisation d'une pedale forte 25
Effets 25
Le metronome 25
Autres fonctions 27
Réglage du toucher 27
Fonction Transpose 27
Mode de fonctions 27
MIDI 30
Le MIDI, qu'est-ce que c'est? 30
Que peut-on faire avec le MIDI? 30
Connexions 30
Mode de fonctions MIDI 30
Appendice 32
Problèmes et solutions 32
Spécifications 32
Quand you utilisez le pied pour clavier ST-SV1 en option (vendue séparément) 33
MIDI Implementation Chart 66
Introduction
Principales caractéristiques
Trente timbres de qualite superbe
Le D1 offre 30 sons (ou "timbres") pleins d'expression et de qualite epoustouflante, dont un son stereo de piano à queue de concert. Le mode Layer permet de jour simulanément deux timbres.
Effets
Le D1 compte 3 effets numériques. Ces effets permettent de régler la brillance du son (Brilliance), de simuler l'environnement acoustique d'une salle de concert (Reverb) et de rendre le son plus ample (Chorus).
Métronome
Le métronome intégré vous permet de specifier la mesure, le tempo et le volume, et vous permet aussi d'employer le son d'une cloche comme accent.
Fonction de réglage du toucher
La réponse dynamique du clavier est une des caractéristiques les plus importantes d'un piano, et le D1 vous permet de désirir parmi cinq types différents de réponse dynamique.
Tempéraments
Afin de garantir un jeu authentique dans un vaste évendant de styles musicaux, le D1 vous permet de désir parmi neuf tempéraments, complenant la gamme temporée, les tempéraments purs (majeur et mineur), les tempéraments classiques (Kimberger et Werckmeister) ainsi que des tempéraments utilisés dans la musique traditionnelle d'Inde et du Moyen-Orient. Quand vous désissez un son de piano acoustique, l'accord étendu utilisé sur les pianos est automatiquement sélectionné.
Réglage de la hauteur
La fonction Transpose permet de modifier la hauteur du timbre, tandis que la fonction Pitch Control permet d'effectuer un accordage fin.
\section*{Caracteristiques MIDI}
Le D1 supporte le protocole MIDI, c'est a dire un protocole standard qui permet d'échéanger des données musicales entre instruments musicaux et ordinateurs. Le protocole MIDI permet à deux disposits (ou plus) de pilotier ou d'être pilotés l'un l'autre; le D1 peut ainsi fonctionner comme un générateur sonore à 16 parties multitimbres.
Parties et leurs fonctions

Panneau avant Panneau arrirée

- Prise pour casque:
Cette prise permet de brancher un casque à fiche mini-jack stéreo.
- Interrupteur d'alimentation:
Cet interrupteur permet demettre le D1 sous tension et hors tension.
- Commande VOLUME:
Cette commande regle le niveau du signal transmis à la prise LINE OUT et à la prise casque.
- Bouton PIANO SONG:
Ce bouton permet d'activer le mode de morceau de piano; le bouton s'allume quand ce mode est actif. Vous pouvez enforcer simultanement ce bouton et le bouton TRANSPOSE pour activer le mode des morceaux de démonstration de timbres.
- Bouton TRANSPOSE:
Ce bouton permet de regler la fonction de transposition. Ce bouton s'allume quand la fonction de transposition est active. Vous pouvez enforcer simultanement ce bouton et le bouton PIANO SONG pour activer le mode des morceaux de démonstration de timbres.
- Bouton FUNCTION:
Ce bouton permet d'activer le mode de fonctions (Function) et de régler la hauteur, le tempérament et d'autres paramétres. Maintenez ce bouton enforcé pour activer le mode MIDI et régler les paramétres MIDI. Le bouton s'allume quand le mode de fonctions du D1 est actif et clignote quand l'instrument passe en mode MIDI.
- Bouton TOUCH:
Selectionne la courbe de dynamique du toucher du clavier.
- Bouton BRILLIANCE:
Ce bouton permet de regler la brillance du son.
- Bouton REVERB:
Ce bouton sert à activer/couper l'effet de réverbération, utilise pour recréer divers environnements acquistiques. Quand cet effet est actif, le bouton est allumé.
- Bouton CHORUS:
Ce bouton sert à activer/couper l'effect de chorus, utilise pour rendre le son plus ample. Quand cet effet est actif, le bouton est allumé.
- Bouton et témoin BANK:
Ce bouton permet deCHOISIR la banque de timbres vouLuc. Le tEmoin de la banque active s'allumc.
- Boutons de timbres:
Ces boutons permettent de désir parmi les 30 timbres disponibles (10 × 3 banques). Vous pouvez enforcer deux boutons pour journés simultanément deux timbres (en mode Layer).
- Écran:
Affiche les réglages, comme par exemple ceux du mode de fonctions et du métronome.
- Boutons +, -
Ces boutons permettent de régler les valeurs des divers paramètres.
- Bouton METRONOME:
Ce bouton sert à activer/arrêter le métronome. Ce bouton est allumé quand vous utilisez le métronome. En outre, vous pouvez maintainir ce bouton enforcé pour activer le mode de réglage du métronome et régler divers paramètres.
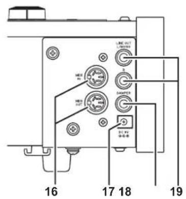
Prises pour connecter des dispositifs tels que séquences, claviers, etc.
IN: Entrée de données
(a connecter la prise MIDI OUT d'un autre dispositif MIDI).
OUT: Sortie des données
(a connecter à la prise MIDI IN d'un autre dispos-itif MIDI)
- Prise DC 9V:
Branchez ici l'adaptateur secteur foumi.
- Prise DAMPER:
Connectez à cette prise la pedale forte fournie avec le D1, ou une pedale haute DS-1H (vendue séparation).
- Prise LINE OUT (L/MONO, R):
Il s'agit des prises de sortie audio principale de l'instrument. Branchez le D1 aux prises d'entrée de moniteurs actifs ou à la prise AUX IN autres dispositifs audio avec un cable audio à prise jack standard.
Pour reglez le volume de sortie, utilisez le commande VOLUME.
Préparats et écoute des morceaux de démonstration
Avant de commencer à jour
Au sujet du pied
Cet instrument est fourni sans pied. Si vous souhaitez utiliser le D1 avec le pied ST-SV1 pour clavier disponible en option, voyaz page 33.
Connexion de l'adaptateur secteur fourni
Insérez l'extremité de la fiche de l'adaptateur secteur à la prise DC 9V sur le panneau arrêté, puis reliez la fiche secteur de l'adaptateur secteur à une prise de courant.
Faites passer le cable de l'adaptateur par le crochet prevu a cet effet pour évi ter que la fiche ne se débranche accidentellement (Ilus.1). Lorsque vous retirez le cable du crochet, évitez de tirer sur le cable avec une force excessive.
Utilisez uniquement l'adaptateur secteur fourni. L'utilisation d'un autre adaptateur risque d'entrainer des dysfonctionnements.
Veillez à brancher le produit à une prise de courant d'une tension ajustée.
Connexion d'un dispositif audio et d'un casque
Le D1 nc comporte pas de haut-parleurs integres. Pour écouter vous jeu sur le clavier, vous doivent donc relier la sortie LINE OUT du D1 à un dispositif audio comme un moniteur actif, un mélangeur ou un système stéreo, ou encore brancher un casque à la prise pour casque.
Voudevez effectuer tous les raccordements avec les appareils hors tension. Si vous ne faites pas attention, vous risque d'endommager le D1 ou le periphérique auquel il est raccardé, ou provoquer un dysfonctionnement.
Les cables de raccordement sont vendus séparément. Vous doivent les cables appropriés pour votre équipement, disponibles dans le commerce.
Utilisation d'un moniter actif ou d'un melangeur
Si vous utilisez un moniteur actif ou un mélangeur, branchez-le aux prises LINE OUT.
Reliez les sorties du D1 aux prises d'entrée d'un moniteur actif ou d'un autre dispositif audio avec des cables audio.
La sortie audio du D1 est concue pour produces un signal d'un niveau plus elevé que le matériel audio grand public conventionnel comme les lecteurs CD. Soyez donc prudent car un volume excessif risquerait d'endommager les moniteurs ou l'équipement audio connectés.
- Mettez le volume de tous les apparèils connectés sur le minimum avant la mise hors tension.
- Reliez les prises LINE OUT du D1 aux prises d'entrée de vos moniteurs actifs ou melangeur.
Si vous effectue l'écoute sur une chaîne stéreo ou un dispositif audio doté de prises d'entrée, branchez le D1 aux prises LINE IN, AUX IN ou à l'entrée externe. (Il se pourrait que vous deviez vous procurer un adaptateur ou un cable de conversion.)
Utilisation de casques
Si vous souhaitez utiliser un casque, branchez-le à la prise pour casque.
Utilisez des casques à fiche minijack stéreo de 3,5 mm.
Utilisez un casque pour jouer en soitée ou éviter de déranger votre entourage.
Pour protéger votre ouie, évitez une écoute au casque prolongée à volume elevé.



Exemple de connexion d'un casque
Mise sous tension de l'instrument
Appuyez sur l'interrupteur d'alimentation pourmettre le D1 sous tension. (Illus.2)
Quand vous mettez l'instrument sous tension, les boutons de son panneau de commande s'allument (l'interrupteur d'alimentation ne s'allume pas).
Pourmettre l'instrument hors tension,appuyeza nouveau sur son interrupteur d'alimentation.
Quand vous mettez l'instrument hors tension, toutes ses fonctions et parametes, à l'exception de la fonction de mise hors tension automatique, retrouvent leurs réglages par défaut.
Fonction de mise hors tension automatique
L'instrument est automatiquement mis hors tension quand 4 heures se sont écouées sans aucune manipulation de l'instrument niutilisation de la fonction de démonstration. Si vous ne comptez pas utiliser la fonction de mise hors tension automatique, désactive-la (voir page 29).
Réglage du volume
Tournez la commande VOLUME à droit vers "MAX" pour augmenter le volume. Tournez-la à gauche vers "MIN" pour diminuer le volume. (Illus. 3) La commande VOLUME regle le volume de la prise pour casques et des prises LINE OUT.
On conseille de toujours commencer à jour à faible volume et de l'aug-mentation par la suite.
Utilisation du pupitre
Montez le p提供优质 comme illustré sur la figure 3.

Illus. 2


Écoute des morceaux de démonstration
Le D1 propose 30 morceaux de démonstration (10 morceaux de démonstration de timbre mettent en exergue 10 timbres de haute qualité et 20 morceaux de piano bien connus offrent une démonstration des sonorités de piano).

Durant la lecture d'un morceau de démonstration de timbres, vous pouvez jourer sur le clavier; notes toutes que les boutons de timbres ne permettent pas de changer de timbre pendant la démo.

Durant la lecture d'un morceau de démonstration de timbres, les réglages d'effets (réverbération et chorus) ne peuvent pas être modifiés.
Écoute d'un morceau de démonstration de timbres
1. Appuyez simultanément sur les boutons PIANO SONG et TRANSPOSE
Le bouton PIANO SONG clignote et les boutons de timbres clignotent l'un après l'autre.
Le numero du morceau de démonstration de timbres (d01) s'affiche sur l'écran.

2. Avec environ 3 secondes, le bouton PIANO1 clignote et la lecture du morceau de démonstration de timbres correspondant à ce bouton démarre.
Quand la lecture du morceau de démonstration PIANO1 est terminée, la démo continue dans l'ordre avec les morceaux PIANO2, E.PIANO1, etc. Quand le morceau CHOIR est fini, la lecture reprend avec le morceau de démonstration PIANO1.
Écoute du morceau de démonstration souhaité
Pendant que les boutons de timbres clignotent tour à tour, appuyez sur le bouton de timbres du morceau de démonstration que vous pouze écouter.
Si, en cours de démo, vous appuyez sur un autre bouton de timbres, la lecture du morceau de démonstration de timbres correspondant demarre après quelques secondes.
En outre, vous pouvez désirir un morceau avec les boutons + et - à cote de l'écran.
3. Pour arrêter la lecture du morceau de démonstration de timbres, appuyez à nouveau sur le bouton PIANO SONG.
Listedesorceaux de démonstration de timbres
| Affichage | Sonorit | Titre du morceau | Compositeur |
| d01 | PIANO1 | À la Manière de Borodine | M.Ravel |
| d02 | PIANO2 | Someone To Watch Over Me | G.Gershwin |
| d03 | E.PIANO1 | Jam Session | Naoki Nishi |
| d04 | E.PIANO2 | In Memory | Michael Geisel |
| d05 | HARPSI/CLAV | La Joyeuse | J.P.Rameau |
| d06 | VIBES/GUITAR | Jazz in Spain | KORG original |
| d07 | ORGAN1 | Improvisation | Michael Geisel |
| d08 | ORGAN2 | Prelude and Fugue in C Major, BWV 553 | J.S.Bach |
| d09 | STRINGS | Scoring Interlude | Michael Geisel |
| d10 | CHOIR | Autumn Flares | Michael Geisel |
Écoute d'un morceau de piano
1. Appuyez sur le bouton PIANO SONG.
Les boutons PIANO SONG et PIANO1 s'allument et le numero du morceau dc piano (001) apparait sur l'affiche.

2. ÀpRES environ 3 secondes, le bouton PIANO1 se met à clignoter et la lecture du morceau de piano commence.
Quand la lecture du premier morceau de piano est terminée, la démo continue dans l'ordre avec le deuxième morceau, puis le troisième, etc. Quand le vingtième morceau de piano est fini, la lecture reprend avec le premier morceau de piano.
Écoute du morceau de piano souhaité
Vou puez selectionner le morceau de piano que vous poulez écouter avec les boutons + et - à cote de l'écran. Quand vous selectionnez un autre numero avec les boutons, et cela même quand un morceau est en cours de jeu, la lecture du morceau de piano en question démarre quelques secondes après.
3. Pour arrêter la lecture du morceau de démonstration, appuyez à nouveau sur le bouton PIANO SONG.
Listede morceaux depiano
No. Affichage Titre du morceau Compositeur
| 1 | 001 | Etude Op.10-12 | F.Chopin |
| 2 | 002 | Claire de lune C.Debussy | |
| 3 | 003 | Fantaisic-Impromptu Op.66 | F.Chopin |
| 4 | 004 | Waltz No.6 Db-major Op.64-1 | F.Chopin |
| 5 | 005 | "Prelude 1" The Well-Tempered Clavier, Book 1 | J.S.Bach |
| 6 | 006 | "Turkish March" Sonata K.331 | W.A.Mozart |
| 7 | 007 | Arabesque No.1 | C.Debussy |
| 8 | 008 | Für Elise | L.v.Beethoven |
| 9 | 009 | Liebesträume Nr.3 | F.Liszt |
| 10 | 010 | La Campanella | F.Liszt |
| 11 | 011 | Nocturne Op.9-2 | F.Chopin |
| 12 | 012 | Spring Song Op.62-6 | F.Mendelssohn |
| 13 | 013 | Reflets dans l'eau | C.Debussy |
| 14 | 014 | Gymnopédie No.1 | E.Satie |
| 15 | 015 | Etude Op.10-3 | F.Chopin |
| 16 | 016 | Old Feather Blues | KORG original |
| 17 | 017 | La fille aux cheveux de lin | C.Debussy |
| 18 | 018 | The Entertainer | S.Joplin |
| 19 | 019 | Sunflowers | KORG original |
| 20 | 020 | Amazing Grace | Hymn |
Utilisation du D1 pour la lecture
Jouer un timbre (mode Single)
Selectionner l'un des trente timbres à disposition (10 x 3 sons banques).
| Bouton | Banque | Sonorit # | |
| PIANO1 1 Piano | Piano de concert 3 | ||
| 2 Piano à queue 3 | |||
| 3 Piano pop 2 | |||
| PIANO2 1 Piano Jazz | 3 | ||
| 2 Piano Honky-Tonk 2 | |||
| 3 Piano à queue électrique 1 | |||
| E.PIANO1 | 1 | Piano électrique de stade | 1 |
| 2 Piano électrique brillant | 2 | ||
| 3 Piano électrique trémolo 1 | |||
| E.PIANO2 | 1 | Piano électrique numérique 1 | 2 |
| 2 Piano électrique numérique 2 | 2 | ||
| 3 Piano électrique des années 60 | 1 | ||
| HARPSI/CLAV | 1 Clavecin | 2 | |
| 2 Clav. | 1 | ||
| 3 | Synthé Clav. | 2 | |
| VIBES/GUITAR | 1 Vibraphone | 1 | |
| 2 Marimba | 1 | ||
| 3 Guitare acoustique | 2 | ||
| ORGAN1 | 1 Orguc jazz 1 | 2 | |
| 2 Orgue jazz 2 | 2 | ||
| 3 Orgue jazz 3 | 2 | ||
| ORGAN2 | 1 | Grandes orgues 1 | 2 |
| 2 Grandes orgues 2 | 2 | ||
| 3 Orgue positif | 2 | ||
| STRINGS | 1 | Cordes | 2 |
| 2 Cordes de cinéma | 2 | ||
| 3 Cordes analogiques | 2 | ||
| CHOIR | 1 | Chœur aah | 2 |
| 2 Voix ooh | 2 | ||
| 3 Chœur classique | 3 | ||
(#) Cette colonne détaillie le nombre d'oscillateurs par voix exploités par chaque timbre (voir "Au sujet de la polyphonie maximum" à la page 32).
- Appuyez sur le bouton de timbres du son que vous voulez jouer.
Le bouton enforcé s'allume.
- Appuyez sur le bouton BANK pour selectionner un des trois timbres.
Chaque pression sur le bouton BANK change de banque (1, 2, 3, 1, ...) et le témoin correspondant s'allume à droite du bouton BANK.
Pour selectionner le timbre de piano à queue électronique, par exemple, appuyez sur le bouton PIANO2. Son témoin s'allume.
Appuyez ensuite deux fois sur le bouton BANK pourCHOISIR LA banque 3 (Piano a queue electrique);les temoins en dessous et a droite du bouton BANK s'allument.
En outre, la banque selectionnée pour un bouton de
timbres reste en vigueur, même si un autre bouton de timbres est enforcé.

A Chaque fois que vous mettez le D1 sous tension, le timbre de la banque 1 est assigné à tous les boutons de timbres.
Jouer deux timbres à la fois (mode Layer)
Vous pouvez jouer simultanément deux timbres sur le clavier. C'est ce que nous appelons le mode Layer (ou de superposition).
Appuyez simultanément sur les deux boutons des timbres que vous VOULEZ superposer. Les deux boutons de timbres enforcés s'allument.

Le bouton de timbres le plus a gauche ou le plus haut que vous avez enforcé correspond au timbre de la couche 1, et l'autre (plus à droite ou plus bas) correspond au timbre de la couche 2 (voyez l'illustration ci-dessous).

Par exemple, si vous appuyez sur les boutons E.PIANO1 et ORGAN1, le timbre E.PIANO1 correspond à la couche 1 et le timbre ORGAN1 à la couche 2. Pour utiliser des timbres d'autres banques,CHOISSEZ d'abord les banques en mode Single (un seul timbre) pour les boutons de timbres visés.
Exemple: pour jour en superposant le timbre de piano à queue et le timbre d'orgue jazz 2, sélectionnez la banque 2 (piano à queue) pour le bouton PIANO1 et la banque 2 (orgue jazz 2) pour le bouton ORGAN1, puis enforcez simultanément les deux boutons.
Lorsque le mode Layer est selectionné, le nombre total de voix pouvant jouer simultanément est réduit, en fonction du nombre total d'oscillateurs exploités par les timbres selectionnés (voir "Au sujet de la polyphonie maximum" à la page 32).
Vous ne pouvez pas selectionner des timbres de banques differentes pour le même bouton de timbres ( comme par exemple piano de condert et piano à queue pour le bouton PIANO1).
Rétablir le mode Single
Pour rétablit le mode Single, il suffit d'appuyer sur un seul bouton de selection des timbres.
Réglages du mode Layer
En mode Layer, vous pouvez régler l'équilibre de volumé entre les deux timbres, décaler l'octave de chaque timbre et activer/désactiver la pédale Damper pour chaque timbre (voir "Mode de fonctions" à la page 27).
Utilisation d'une pedale forte
L'emploi d'une pedale permet d'obtenir un jeu plus expressif et réaliste.
Appuyer sur cette pedale permet de soutenir le son et de produit une chute du son pleine de résonance. Vous pouvez en outre appliquer l'effet de résonance au son de piano de concert, au son de piano à queue et au son de piano jazz (banques 1 et 2 de Piano1, banque 1 de Piano2).
L'utilisation d'une pédale forte en option DS-1H permet de varier l'effect de pédale forte selon le degré d'enforcement de la pédale (effet "mi-pédale").

En mode Layer, vous pouvez selectionner le ou les sons auxquels vous appliquez l'effect de pedale forte. (voir "Pedale en mode Layer" à la page 28)
Effets
Brilliance
Cet effet change la brillance du timbre.
Vous pouvez effectuer ce réglage en maintainant enforcé le bouton BRILLIANCE et en utilisant les boutons + et - à côté de l'écran.

Le réglage s'affiche à l'écran; "3" produit un son plus brillant et "1" un son plus sourd.
Le réglage de brillance est appliqué à tous les timbres et resté en vigueur jusqu'à la misc hors tension du D1. À la mise sous tension de l'instrument, le réglage par défaut (2^ ) est actif.

Le paramètre de brillance ne peut pas etre désactiver.
Réverbération
Cet effet confère de la profondeur au son et recrèc l'impression que vous jouez dans une salle de concert. Par défaut, le réglage actif/coupé ainsi que le niveau de cet effet sont sauvégardés pour chaque timbre.
Chaque pression sur le bouton REVERB active (le bouton s'allume) et coupe (le bouton s'eteint) tour à tour l'effet de réverbération.
Pour changer le niveau de l'effet, maintenez enforcé le bouton REVERB et appuyez sur le bouton + ou - à cote de l'écran.

Le réglage s'affiche à l'écran; "3" produit une réverbération prononcée et "1" un effet léger.
Quand vous choisissez un autre timbre ou mettez le D1 hors tension, le réglage actif/coupé ainsi que le niveau de cet effet retrouvent leurs valeurs d'usine (réglages par défaut).
Chorus
L'effect de Chorus module le signal et produit un son riche et ample. Par défaut, le réglage actif/coupé ainsi que le niveau de cet effet sont sauvégardés pour chaque timbre.
Chaque pression sur le bouton CHORUS active (le bou
ton s'allume) et coupe (le bouton s'eteint) tour à tour l'effet de Chorus.
Pour changer le niveau de l'effet, maintenez enforcé le bouton CHORUS et appuyez sur le bouton + ou - à cote de l'écran.

Le réglage s'affiche à l'écran; "3" produit un effet de chorus prononce et "1" un effet léger.
Quand vous choisissez un autre timbre ou mettez le D1 hors tension, le réglage actif/coupé ainsi que le niveau de cet effet retrouvent leurs valeurs d'usine (réglages par défaut).
Le métronome
Le D1 est dote d'un métronome qui vous permet d'activer un son de clochette quand vous vous entraîncz.
Lancer/arrêter le métronome
Appuyez sur le bouton METRONOME.
Le bouton s'allume et le métronome démarre.


Appuyez de nouveau sur le bouton METRONOME pour arreter le métronome. Le bouton s'estint.
Régler le tempo
Quand le tempo est affiché à l'écran (le réglage par défaut est de 120), et cela que le métronome soit activé ou non,


vous pouvez régler son tempo avec les boutons + et - à côte de l'écran (Yous pouvez aussi régler le tempo avec le mode de réglage des paramétres métronome). Plage de réglage du métronome: = 40 240
Pour retrouver le réglage de tempo par défaut, appuyez simultanément sur les boutons + et -
Régler le type de mesure, le volume, le son d'accent, le tempo et le son du métronome
Utilisez le mode de réglage des paramètres métronome pour régler les diverses fonctions du métronome.
- Maintenez enforcé le bouton METRONOME jusqu'à ce que le mode de réglage des paramètres métronome soit activé.
Le bouton METRONOME clignote.
- Appuyez sur le bouton auquel est assignée la fonction à régler.
La valeur s'affiche à l'écran.

| Réglage (Bouton) | Description | Réglage par éfait |
| Type de mesure (PIANO1) | 02 (2/4), 03 (3/4), 04 (4/4), 06 (6/4) 04 | |
| Volume (PIANO2) | 01-13 10 | |
| Son d'accent (E.PIANO1) | oFF (pas de son d'accent), on1 (son spécial pour le battement d'accent), on2 (son de clochette pour le battement d'accent) | oFF |
| Tempo (E.PIANO2) | 40-240 (identique au réglage de tempo) | 120 |
| Son (HARPSI/CLAV) | 1 (acoustique), 2 (électronique) | 1 |
3. Reglez la valeur avec les boutons +, - .
Vou pouve initiaiser les reglages suivants en maintainant enfoncés les boutons + et - simultanement.
Volume
- Tempo
- Son
4. ÀpRES avoir changé le réglage, appuyez sur le bouton METRONOME pour quitter le mode de réglage des paramètres métronome.
Quand vous quittez le mode de réglage des paramètres métronome, le bouton METRONOME retrouvce son statut (allumé ou éteint) avant l'activation du mode.
Autres fonctions
Réglage du toucher
Vous pouvez régler la sensibilité du clavier ou réponse au toucher.
Pour changer la sensibilité du clavier, maintenez enforcé le bouton TOUCH et appuyez sur le bouton + ou - à cote de l'écran.

| Affichage | Réglage du toucher |
| 001 Léger. même un jeu léger peut produit des son forts. | |
| 002 Normal. le toucher d'un piano typique. | |
| 003 Lourd. vousdezvez journé fortement pour produit des sons puissants. | |
| 004 Stable. Les nuances de volume sont réduites au profit d'un son de niveau reli-vement stable. | |
| 005 Constant. comme sur un argue, le volumedes notes est constant, indépendammentde la force de jeu. |
Lors de la mise sous tension de l'instrument, le toucher est regle à 002 (Normal).
Ces réglages s'appliquent à tous les timbres.
Fonction Transpose
Parfois, la clé d'écriture d'un morceau est particulièrement difficile (par ex. beaucoup deémols) ou vous désirez modifier la hauteur pour insérer un autre instrument ou voix. Dans ce cas, vous pouvez transposer (décaler, modifier la hauteur) de manière à facilitier le jeu ou jouer avec une hauteur différente. C'est la fonction "Transpose".
Vou puez transposer sur une plage de 11 demi-tons.
Ainsi, quand vous transposez d'un demi-ton vers le haut, l'enforcement des touches indiquées à gauche produit les notes indiquées à droite.

Lors de la mise sous tension de l'instrument, la transposition est reglee a ses valeurs d'usine.
Maintenez enforcé le bouton TRANSPOSE et enforcé la touche du clavier (Fa#6 ~ Fa7) correspondant à la transposition voulue. Si vous enforcé une touche autre que Do7, le bouton TRANSPOSE s'allume pour indiquer que le clavier est transposed.
La plage de notes entiere du clavier est transposée de l'intervalle entre Do7 et la touche enforcée.
Pour retrouver la hauteur normale du clavier, maintenez le bouton TRANSPOSE enforcé et appuyez sur la touche Do7. Le bouton TRANSPOSE s'est int et la fonction de transposition est désactivée.


| Touche Effet | |
| Fa#6 - Si6 6 ~ 1 demi-tons plus graves | |
| Do7 Accordage standard | |
| Do#7 - Fa7 1 ~ 5 demi-tons plus aigus | |
Mode de fonctions
Le mode de fonctions permet de régler le tempérament et d'autres paramètres de hauteur.
Travail en mode de fonctions
- Appuyez sur le bouton FUNCTION.
Les boutons FUNCTION et PIANO1 s'allument.
- Appuyez sur le bouton correspondant au paramètre voulu en vous reportant à l'illustration ci-dessous.
Le bouton enforcé s'illumine et le réglage actuel s'affiche sur l'écran.

- Reglez le paramètre besoin avec les boutons + et -
Voupeuiz initiaisre reglages suivants en maintenant enfoncés les boutons ^+ etsimultanement.
Hauteur
- Équilibre de volume en mode Layer
- Plage d'octave du mode Layer
- Àprous avoir effectué les réglages voulus, appuyez sur le bouton FUNCTION pour returner en mode de jeu.
Le bouton FUNCTION s'eteint.
Quand vous mettez le D1 hors tension, toutes ses fonctions, à l'exception de la fonction de mise hors tension automatique, retrouvent leurs réglages par défaut.
Listedes fonctions
| Bouton Fonction Réglage à | l'écran | |
| Description [réglage par défaut] | ||
| PIANO1 | Hauteur 27.5...52.5 | |
| 427.5...440.0...452.5Hz [40.0 : 440.0Hz] | ||
| Permet de changer la hauteur du clavier du D1 par pas de 0,5 Hz pour l'adapter à la hauteur d'un autre instrument.La = 440 Hz correspond à l'accordage standard et 40.0 au réglage par défaut. | ||
| PIANO2 | Tempérament *1 00...08 | |
| Gamine tempérée...Gamine Pelog[00: Gamme tempérée] | ||
| Voues pouvez désir parmi neuf accordages, dont la gamme tempérée, la gamme Kim-berger et la gamme Werckmeister, etc. | ||
| E.PIANO1 | Équilibre de volume en mode Layer | 1-9...9-1 |
| 1-9 (timbre 1 min.)...9-9 (timbres 1&2 max.)...9-1 (timbre 2 min.) [9-9] | ||
| Rôle la balance de volume des timbres 1 et 2.Plage de réglage: 1 - 9... 9 - 9...9 - 1; le nombre de gauche correspondant à la couche 1 et le nombre de droite à la couche 2. | ||
| E.PIANO2 | Plage d'octave du mode Layer (L1, L2) *2 | -01, 00, 01 |
| ±1 Octave [00] | ||
| Définit la plage d'octave du timbre 1 et du timbre 2 superposés.La plage de réglage est de ±1 octave pour chaque timbre et l'écran affiche “-01”, “00” et “01”. | ||
| HARPSI/CLAV | Pédale en mode Layer o-_, _o-o | |
| 1 uniquement, 2 uniquement, les deux timbres [o-o] | ||
| Sélectionne le timbre de la superposition (ou les deux moitiés du clavier) auquel l'effet de pédale forte est appliqué.Vous pouvez effectuer ce réglage pour le timbre de la couche 1 uniquement (o-), pour le timbre de la couche 2 uniquement (-o) et pour les deux timbres (o-o). | ||
| VIBES/GUITAR | Mise hors tension automa-tique *3 | oFF, on |
| Déactiver, 4 heures [on] | ||
Description des fonctions supplémentaires
*1: Temperament
Types de tempéraments
| Affichage | Tempérament |
| 00 | Gamine tempérée (réglage par défaut): Cette gamme produit un intervalle égal entre tous les demi-tons; c'est le tempérament le plus courant. |
| 01 | Tempérament pur [majeur]: Les accords MAJEurs dans la tonalité sont (Do) parfaitement accordés. |
| 02 | Tempérament pur [mineur]: Les accords mineurs dans la tonalité sont (Do) parfaitement accordés. |
| 03 | Gamme arabe: Cette gamme comporte les intervalles de quart de ton typiques de la musique arabe. |
| 04 | Gamine Pythagoricienne: Cette gamme de la Grèce Antique produit d'excellents résultats avec des méliodies. Elle comporte des intervalles de quinte juste; toute fois, d'autres intervalles – tout particulièrement la fierce majeure – sont faux. |
| 05 | Gamme Werckmeister: La gamme Werckmeister III a été créé à la fin de la période baroque pour permettre une transposition relativement libre. |
| 06 | Gamine Kirnberger: La gamme Kirnberger III sert principalement à l'accordage des clavecins. |
| 07 | Gamine Slendro: Cette gamme de gamelan indonésien compte cinq notes par octave. |
| 08 | Gamine de Pelog: Cette gamme de gamelan indonésien compte sept notes par octave. |
Strechted Tuning (cordes "pincees").
Afin de reproductive la résonance la plus naturelle, les timbres PIANO 1 et PIANO 2 utilisent la technique des "cordes pincees": les notes graves seront légerement plus alterées vers la grave que dans le tempérament égal, tandis que celles plus aigués seront légerement plus alterées vers l'aigué. C'est ainsi que les accordeurs professionnelns reglent normalément les pianos acoustiques.
*2: Plage d'octave du mode Layer (L1, L2)
- Choisissez la couche voulue avec les boutons + et - à côté de l'écran. "L1" désigne le timbre de la couche 1 et "L2" le timbre de la couche 2.
2. Appuyez sur le bouton BANK.
Le réglage d'octave (00) s'affiche à l'écran.
3. Choisissez l'octave voulu avec les boutons + et - à cote de l'écran.
Pour retrouver le réglage par défaut, appuyez simultanément sur les boutons + et -,
Pour désirer l'octave du timbre de l'autre couche, appuyez sur le bouton E.PIANO2 afin de sélectionner cette couche.
En mode monotimbre (Single), l'écran affiche "--" et ce réglage n'est pas disponible.
*3: Régler la fonction de mise hors tension automatique
L'instrument est automatiquement mis hors tension quand 4 heures se sont écoulées sans aucune manipulation du clavier de l'instrument niutilisation de la fonction de jeu automatique. Vous pouvez désactiver cette fonction enCHOISIGANT le reglage "oFF".Cette fonction est active par defaut.Le reglage de cette fonction est sauvegarde et conserve meme apres la mise hors tension du D1.
- Activez le mode de fonctions puis appuyez sur le bouton VIBES/GUITAR.
Le bouton de timbres VIBES/GUITAR s'allume et le réglage (on) s'affiche à l'écran.
- Choisissez le réglage voulu (on/off) avec les boutons + et - à côté de l'écran.

MIDI
Le MIDI, qu'est-ce que c'est?
MIDI est l'abréviation de Musical Instrument Digital Interface (interface numérique pour instruments musicaux). C'est un standard international conçu pour connecter et transférer des données entre instruments musicaux电子, ordinateurs et dispositifs divers.
Que peut-on faire avec le MIDI?
Le MIDI vous permet d'utiliser votre D1 pour piloter d'autres instruments ou d'utiliser d'autres instruments pour piloter votre D1, ainsi que d'utiliser un séquenceur pour composer des morceaux musicaux complexes. Lorsque vous jouez sur le clavier de votre D1, ou vous appuyez sur la pédale, ou vous sélectionnez un timbre, les notes, l'activation de la pédale et le changement de timbres sont transmis à l'instrument connecté ou enregistré par le séquenceur.
Connexions
Des cables MIDI disponibles dans le commerce sont utilisés pour transférer les données MIDI. Raccordez ces cables des prises MIDI du D1 aux prises MIDI du périphérique MIDI avec lequel vous souhaitez échanger des données. Il y a deux types de prises MIDI.
Prise MIDI IN
Elle recoit les messages MIDI.
La prise MIDI IN vous permet de jouer les sons du D1 sur un périphérique MIDI (e.g., un clavier ou séquenceur MIDI). Utilisez un cable MIDI pour r élier la prise MIDI IN du D1 à la prise MIDI OUT de votre périphérique MIDI.
Prise MIDI OUT
Elletransmetles messagesMIDI.
La prise MIDI OUT vous permet de contrôler La prise MIDI OUT d'un périphérique MIDI en utilisant les messages MIDI transmis par le D1. Utilisez un cable MIDI pour relier la prise MIDI OUT du D1 à la prise MIDI IN de votre périphérique MIDI.
Mode de fonctions MIDI
À la mise sous tension du D1, ses paramétres MIDI sont régles comme suit: transmission via le canal 1, réception sur tous les canaux (1 ~ 16), fonction Local On et fonction Omni Off.
Vous pouvez modifier ces réglages en mode de fonctions MIDI.
Procedure de réglage des paramètres MIDI en mode Function
- Maintenez enforcé le bouton FUNCTION (pendant au moins 3 secondes). Le bouton FUNCTION se met a clignoter et le bouton PIANO1 s'allume.
- Appuyez sur le bouton correspondant au paramètre youlu en vous reportant à l'illustration ci-dessous. Le bouton enforcé s'illumine et le réglage actuel s'affiche sur l'écran.

- Reglez le paramètre besoin avec les boutons + et -.
- Pour quitter le mode Function, appuyez sur le bouton FUNCTION.
Le bouton FUNCTION s'eteint.
Tous les réglages MIDI s'appliquent à l'ensemble des timbres.
À la mise hors tension du D1, tous les paramétres de l'instrument retrouvent en principe leurs valeurs d'usine.
Listedes fonctionsMIDI
| Bouton | Fonction | Réglage à l'écran |
| Description [réglage par défaut] | ||
| PIANO1 | MIDI Canaux *1 | C01...C16 |
| 1...16 [C01] | ||
| Définit le canal de transmission pour les messages MIDI. | ||
| PIANO2 | Local On/Off | on, oFF |
| Activation/désactivation du générateur de son du D1 [on] | ||
| Quand le paramètre Local est sur "On" et que vous jouez sur le clavier du D1, l'instrument produit les sons joués et transmet des messages MIDI. Quand le paramètre Local est sur "Off", jour sur le clavier du D1 ne produit pas de son; en revanche, l'instrument transmet des messages MIDI. En principe, le paramètre Local est régé sur "On" (réglage par défaut: On). Désactive cette fonction (en la réglant sur "off") pour éviter de l'echo MIDI (deux sons joués simultanément de manière non intentionnelle). | ||
| E.PIANO1 | Filtre des changements de programme *2 | on, oFF |
| Activation/désactivation du filtre de transmission/réception des changements de programme [oFF: transmission/réception] | ||
| Ce type de message permet au D1 de Change de programme sur un dispositif MIDI connecté. Il est aussi possible de change der Program sur le D1 en lui envoyant un changement de programme depuis le dispositif MIDI connecté. À la réception d'un changement de programme non reconnu, le timbre du D1 ne change pas. | ||
| E.PIANO2 | Filtre des changements de commande | on, oFF |
| Activation/désactivation du filtre de transmission/réception des commandes de contrôle [oFF: transmission/réception] | ||
| Vouces pouvez transmettre les messages générés quand, par exemple, vous actionnez la pédale Damper du D1 à un dispositif MIDI externe connecté afin de le piloter. Ces messages peuvent en outre être envoyés au D1 par le dispositif MIDI externe pour piloter le D1. | ||
| HARPSI/CLAV | Sons multitimbre on/off | on, oFF |
| Operating as a 16-part multi-timbral sound module [on: operating] | ||
| Le D1 peut faire office de module de sons multitimbre à 16 parties; dans ce cas, le dispositif MIDI externe connecté pilote le générateur de sons interne du D1. | ||
*1: MIDI Canaux
En mode de superposition, lechioix du canal de transmission déterminé le canal de la couche (et donc du son) 1. Le canal de transmission du son 2 est automatiquement régólé
sur le canal suivant.
Voici un exemple: si vousCHOISSEZ le canal MIDI C07 pour le son de la couche 1, le canal MIDI C08 est automatiquement assigne au son de la couche 2. Si vousCHOISSEZ le canal MIDI C16 pour le son de la couche 1, le canal C01 est assigne au son de la couche 2.
*2: Tableau des timbres et des numérios de changement de programme associés
CC0: le paramètre Bank Select (seLECTION de banque, MSB) est régèle sur 121 pour tous les timbres.
| Bouton | Banque | CC32 | PC Timbre |
| PIANO1 1 10 | Piano de | concert | |
| 200 | Piano à | queue | |
| 321 | Piano pop | ||
| PIANO2 1 0 1 | Piano jazz | ||
| 203 | Piano Honky-Tonk | ||
| 302 | Piano à | queuelectronique | |
| E.PIANO1 1 0 | 4 Piano electrique de stade | ||
| 214 | Piano electrique | brillant | |
| 334 | Piano electrique | trémolo | |
| E.PIANO2 1 0 | 5 Piano electrique numé- rique 1 | ||
| 215 | Piano electrique | numé- rique 2 | |
| 324 | Piano electrique | des années 60 | |
| HARPSI/CLAV | 106 | Clavecin | |
| 207 | Clav. | ||
| 317 | Synthé Clav. | ||
| VIBES/GUITAR | 1011 | Vibraphone | |
| 2012 | Marimba | ||
| 3024 | Guitare acoustique | ||
| ORGAN1 1 0 | 16 Orgue | jazz 1 | |
| 2116 | Orgue jazz 2 | ||
| 3017 | Orgue jazz 3 | ||
| ORGAN2 1 0 | 19 Grandes orgues 1 | ||
| 2119 | Grandes orgues 2 | ||
| 3219 | Orgue positif | ||
| STRINGS | 1 | 0 | 48 Cordes |
| 2050 | Cordes de cinéma | ||
| 3150 | Cordes analogiques | ||
| CHOIR | 1052 | Choeur aah | |
| 2152 | Voix ooh | ||
| 3252 | Choeur classique |
Appendice
Problèmes et solutions
Si lors de l'utilisation vous detectez les problèmes décrits, examinez l'instrument pour comprendre le problème et essayez de le résoudre en recourant aux conseils proposés. Si l'instrument continue à ne pas fonctionner correctement, adressez-vous à votre revendeur de confiance.
L'instrument ne s'active pas lors de la mise sous tension.
- Vérifiez que l'adaptateur secteur est correctement connecté au piano et à la prise de courant.
L'instrument n'emet aucun son.
- Contrôlez que le réglage du volume n'est pas à MIN. Dans cette évientalité, réglez-le à un niveau approprié.
- Contrôlez que la fonction MIDI Local n'est pas réglee à OFF, sinon reglez-la à ON (ou mesure hors tension et de nouveau sous tension l'instrument).
Les notes sont coupées
- Le D1 est concu pour donner la priorite aux notes jouées le plus récemment. Voir "Au sujet de la polyphonie maximum."
La hauteur tonale ou tonalité du piano semble incor-recte dans certaines zones du clavier
- Les sonorités de piano du D1 reproduisent aussi fidèlement que possible celles d'un piano réel. Cela signifie que dans certaines régions du clavier, il est possible que le son semble plus fort, ou que la tonalité ou hauteur tonale semble incorrecte. C'est un phénomène normal.
Le dispositif MIDI connecté ne répond pas aux messages MIDI transmis
- Verifiez que tous les cables MIDI sont correctement connectés. Assurez-vous que le D1 recoit les messages MIDI sur le même canal que celui utilisé par le dispositif externe.
Au sujet de la polyphonie maximum
Si le nombre de notes jouées simultanément dépasse la polyphonyonie maximum, il se pourrait que certaines notes ne soient pas jouées par l'instrument. En effet, le D1 est dote d'un mecanisme coupant une note produit pour donner la priorite aux notes suivantes (et donc aux touches enforcées ultérieurement). Certains timbres du D1, bien qu'ils correspondent à un son unique, sont en fait généres par deux oscillateurs ou plus (une note d'un circuit de génération de sons). Pour les timbres utilisant un seul oscillator, comme ceux des banques 1 et 2 sous VIBES/GUITAR, la polyphonyne maximum est de 120 notes. Les timbres utilisant deux oscillateurs, comme ceux des banques 3 sous PIANO1 et des banques 1 et 2 sous E.PIANO2, ont une polyphonyne maximum de 60 notes.
120÷ nombre d'oscillateurs de son = polyphonie maximum
Tenez donc compte de la polyphonie maximum et choisissez les timbres avec soin quand vous comptez les superposer en mode Layer ou utiliser la pédale Damper.
Specifications
Clavier RH3 ("Real Weighted Hammer 3") Clavier:88 notes (La0 Do8)
Réglage du touche 5 courbes disponibles
Hauteur Transposition, accordion fin
Tempéraments 9 types
Génération de sons Systeme PCM stereo
Polyphonie 120 notes (maximum)
Timbres 30 timbres (10 x 3 banques)
Effets Brillance,Reverbération,Chorus (chacun avec 3 niveaux)
Demonstrations 30 (morceaux de démonstration de timbres x 10, morceaux de piano x 20)
Métronome Réglages du tempo, de la mesure, de l'accent du son et du volume Commandes
Pédale résonance
prenant en charge la fonction mi-pedale (si vous utilisez la pedale DS-1H en option)
Connexions LINE OUT (L/MONO,R),MIDI (IN, OUT), Casque, Prise DAMPER, Prise DC 9V
Commandes Interrupteur d'alimentation, VO- LUME, PIANO SONG, TRANSPOSE, FUNCTION, TOUCH, BRILLIANCE, REVERB, CHORUS, BANK, boutons de timbres × 10 +,-, METRONOME
Alimentation DC 9V,Adaptateur secteur (inclus)
Consommation 1,5W
Dimensions (L× P× H) 1327× 263× 128mm (y compris les saillies de l'instrument; sans le p提供优质)
Poids 16 kg
Accessoires fournis Adaptateur secteur, pupitre, Pedale damper, Manuel d'utilisation
Accessoires (vendus séparément)
Support à clavier ST-SV1,
Pédale damper DS-1H
- Les caractéristiques et l'aspect du produit sont susceptibles d'être modifiés sans avis préalable en vue d'une amélioration.
Quand vous utilisez le pied pour clavier ST-SV1 en option (vendue séparément)
VoupeuvezutiliserleD1avecunpied pourclavier STSV1 (modèleST-SV1BKdisponiblcenoption).DanslecasdeI'utilisationavecleD1,suivezlesinstructionsci-dessousaulicudetéape8lorsdumontageduST-SV1BK.
Soulevez le D1 (A) à deux personnes et fixez-le sur le pied ST-SV1 (B).
Veillez à ce qu'une personne empêche le D1 de tomber pendant que l'autre personne aligne les vis (o) du côté gauche et droit du ST-SV1 avec les orifices des vis (n) sur le dessous du D1. À titre de guide, la plaque (f) devrait se loger parfaitement entre les deux rainures (p) au centre du dessous du D1. Veillez à ce que la plaque ne touche pas la vis (k) au centre avant du dessous du D1 et la tête de la vis (l) au centre vers l'arrière.
Alignez les orifices (n) sur le dessous du D1 avec les vis (o) du ST-SV1.

Retirez l'adaptateur secteur avant de monter le ST-SV1.
Veillez à ne pas vous pincer les doigts quand vous levez et fixez le D1 sur le ST-SV1.
Vérifiez que le D1 est fermement fixé au ST-SV1 avant de jouer. Si le pied ST-SV1 n'est pas correctement monté, le D1 risque de tomber et d'être endommagé ou de provoquer des blessures.


1

2
Vorsichtsmaßnahmen
Aufstellungssort
Ce produit a eté fabriqué suivant des specifications sévres et des besoin en tension applicables dans le pays ou ce produit doit être utilisé. Si vous avez acheté ce produit via l'internet, par vente par correspondance ou/et vente par téléphone, vous devez vérifier que ce produit est bien utilisable dans le pays ou vous résidez.
ATTENTION: L'utilisation de ce produit dans un pays autre que celui pour lequel il a été concu peut être dangereuse et annulera la garantie du fabricant ou du distributeur. Conservez bien votre récepissé qui est la preuve de votre achat, faute de quoi votre produit ne risque de ne plus être couvert par la garantie du fabricant ou du distributeur.
Notice Facile