D1 - Klavier KORG - Kostenlose Bedienungsanleitung
Finden Sie kostenlos die Bedienungsanleitung des Geräts D1 KORG als PDF.
Häufig gestellte Fragen - D1 KORG
Benutzerfragen zu D1 KORG
0 Frage zu diesem Gerät. Beantworten Sie die, die Sie kennen, oder stellen Sie Ihre eigene.
Eine neue Frage zu diesem Gerät stellen
Laden Sie die Anleitung für Ihr Klavier kostenlos im PDF-Format! Finden Sie Ihr Handbuch D1 - KORG und nehmen Sie Ihr elektronisches Gerät wieder in die Hand. Auf dieser Seite sind alle Dokumente veröffentlicht, die für die Verwendung Ihres Geräts notwendig sind. D1 von der Marke KORG.
BEDIENUNGSANLEITUNG D1 KORG
Vielen Dank, dass Sie sich für einen D1 digital-Klavier von Korg entschieden haben.
Bitte lessen Sie sich diese Anleitung vollständig durch, um bei der Bedienung alles richtig zu machen.
Vermeiden Sie das Aufstellen des Geräts an Orten, an denen
- es direkter Sonneneinstrahlung ausgesetzt ist;
- hohe Feuchtigkeit oder Extremtemperaturen auftreten können;
- Staub oder Schmutz in große Mengen vorhanden sind;
das Gerät Erschüttterungen ausgesetzt sein kann. - in der Nähe eines Magnetfeldes.
Stromversorgung
Schlieben Sie das optionale Netzteil nur an eine geeignete Steckdose an. Verbinden Sie es niemals mit einer Steckdose einer anderen Spannung.
Störeinflüsse auf andere Elektrogeräte
Dieser kann bei in der Höhe aufgestellten Rundfunkempfängern oder Fernsehgeräten Empfangsstörungen hervorrufen. Betreiben Sie solche Geräte nur in einem geeigneten Abstand von dieser Erzeugnis.
Bedienung
Vermeiden Sie bei der Bedienung von Schaltern und Reglern unangemessenen Kraftaufwand.
Reinigung
Bei auftretender Verschmutzung konnen Sie das Gehäuse mit einem trockenen, sauberen Tuch abwischen. Verwenden Sie keinerlei Flüssigreiniger wie beispelsweise Reinigungsbenzin, Verdünngsoder Spülmittel. Verwenden Sie niemals brennbare Reiniger.
Bedienungsanleitung
Bewahren Sie diese Bedienungsanleitung gut auf, falls Sie sie später noch einmal benötigen.
Flüssigkeiten und Fremdkörper
Stellen Sie niemals Behältnisse mit Flüssigkeiten in der Nähe des Geräts auf. Wenn Flüssigkeit in das Gerät gelamt, können Beschädigung des Geräts, Feuer oder ein elektrischer Schlag die Folge sein.
Beachten Sie, daß keinerlei Fremdkörper in das Gerät gelangen. Sollte ein Fremdkörper in das Gerät gelangt sein, so trennen Sie es sofort vom Netz. Wenden Sie sich dann an ihren KORG-Fachhandler.
Hinweis zur Entsorgung (Nur EU)
Wenn Sie das Symbol mit der „durchgekreuzten Mülltonne" auf ihrem Produkt, der dazugehöriger Bedienungsanleitung, der Batterie oder dem Batteriefach sehen, müssen Sie das Produkt in der vorgeschreibenben Art und Weise entsorgen. Dies bedeutet, dass diese Produkte mit elektrischen und elektronischen Komponenten nicht mit dem normalen Hausmüll entsorgt werden darf. Für Produkte dieser Art existiert ein separates, gesetzlich festgelegtes Entsorgungssystem. Gebrauchtete elektrische und elektronische Geräte müssen separat entsorgt werden, um ein umweltgerechtes Recycling sanzerzustellen. Diese Produkte müssen bei benannten Sammelstellen abgegeben werden. Die Entsorgung ist für den Endverbraucher kostenfrei!itte erkundigen sie sich bei ihrer zuständigen Behörde, wo sie diese Produkte zur fachgerechten Entsorgung abgeben konnen. Falls ihr Produkt mit Batterien oder Akkumulatoren ausgerüstet ist, müssen sie diese vor Abgabe des Produktes entfernen und separat entsorgen (siehe oben). Die Abgabe thesese Produkte bei einer zuständigen Stelle hilft ihren, dass das Produkt umweltgerecht entsorgt wird. Damit leisten sie persönlichen einen nicht unerheblichen Beitrag zum Schutz der Umwelt und der menschlichen Gesundheit vor möglichchen negativen Effekten durch unsachgemäß Entsorgung von Müll. Batterien oder Akkus, die Schadstoffe enthalten, sind auch mit dem Symbol einer durchgekreuzten Mülltonne gekennzeichnet. In der Höhe zum Mülltonnensymbol befindet sich die chemische Bezeichnung des Schadstoffes.
Cd oder NiCd steht für Cadmium, Pb für Blei und Hg für Quecksilber.
Inhalt
Einführung-35
Hauptfunktionen 35
Teile und Funktionen 36
Vorbereitung sowie Demos und Soundbeispiele 37
Bevor Sie mit dem Spielengebinnen 37
Demo-Vorführungen abspielen 39
Spielendes D1 40
Mit nur einem Klang spielten
(Single-Modus) 40
Mit zwei Klängen gleichzeitig speilen (Layer-
Modus) 40
Dampfer-/Haltepedal verwenden 41
Effekte 41
Das Metronom 41
Weitere Funktionen 43
Einstellung des Anschlagsteuerung- 43
Transponierung 43
Funktionsmodus 43
MIDI 46
WasistMIDI? 46
Was leistet MIDI? 46
Anschlisse 46
MIDI-Funktionsmodus 46
Anhang 48
Fehlerbeseitigung 48
Technische Daten 48
Bei Verwendung des als Zubehör erhältlichen Keyboardstanders ST-SV1 (getrennt erhältlich) 49
MIDI Implementation Chart 66
Einführung
Hauptfunktionen
DreiBig Spitzensounds
Das D1 betet 30 interne ausdrucksstarke Spitzensounds, darunter auch einen Stereo-Konzertflügel. Dank dem Layer-Modus konnen Sie zwei Sounds gleichzeitig spielen.
Effekte
Das D1 bietet 3 interne digitale Effekte: Brilliance dient der Regulierung der Tonbrillanz, Reverb simuliert den tatsächlichen Raumhall einer Konzerthalle und Chorus verleht dem Sound Fülle.
Metronom
Beim eingebauten Metronom konnen Sie die Taktunterleitung, das Tempo und die Lautstärke einstellen und darüber hinaus einen Glockenton zur Akzentuierungenetzen.
Anschlagsteuerung
Sie konnen fünf verschiedene Einstellungen wahlen, mit denen Sie festlegen, wie der Klang sich mit der Anschlagstarke verändern soll.
Temperierungen
Für authentisches Spieler eines weltgefacherten Spektrums an Musikstilen bietet Ihnen das D1 neun Stimmungen, davon der wohltemperierte Stimmung, reine Stimmungen (Dur und Moll), klassische Stimmungen (Kirnberger und Werckmeister) sowie Stimmungen für orientalische und indische Musik. Wenn Sie einen Akustik-Piano-Sound auswahlen, wird automatisch eine Stimmung mit Spreizung ausgewählt.
Einstellbare Tonhöhe
Die Transpose Funktion ermöglich es, die Tonhöhe des Klaviers zuändern, während die Pitch Control Funktion zur Feinabstimmung dient.
MIDI-Funktionen
Das D1 Unterstützung das MIDI Protokoll, ein Standard, mit welchem Musikdaten zwischen Musikinstrumenten und Computern ausgetauscht werden konnen Mit MIDI konnen zwei oder mehr Instrumente gsteuert werden oder zur Steuerung eingesetzt werden; das D1 kann als 16-Part multitimbraler Tongenerator eingesetzt werden.
Teile und Funktionen

Oberseite Rückseite

1. Kopfhörer-Buchse:
Stereo-Miniklinkenbuchse zum Anschluss von Kopf-hörern.
2. Einschalttaste:
Zum Ein- und Ausschalten des D1.
3. VOLUME-Regler:
Regelt die Lautstärke von LINE OUT und Kopfhörerbuchse.
4. PIANO SONG-Taste:
Taste zum Aufrufen des Piano-Song-Modus. Bei aktiviertem Modus leuchtet die Taste auf. Durch gleichzeitiges Drücken dieser Taste und der TRANSPOSE-Taste gelangen Sie in den Demosongmodus.
5. TRANSPOSE-Taste:
Taste zum Einstellen der Transposition. Wahrend der Transposition leuchtet die Taste auf. Durch gleichzeitiges Drücken dieser Taste und der PIANO SONG-Taste glangen Sie in den Demosongmodus.
6. FUNCTION-Taste:
Zur Aktivierung des Funktionsmodus, in dem Sie Ton-höhe und Stimmung angegeben und weitere Einstellungen vornehmen konnen. Durch längeres Drucken der Taste gelangen Sie in den MIDI-Funktsmodus, wo Sie MIDI-Einstellungen vornehmen konnen. Die Taste leuchtet auf, wenn das D1 in den Funktionsmodus schaltet und blinkt, wenn es in den MIDI-Funktsmodus schaltet.
7. TOUCH-Taste:
Dient zur Einstellung der Anschlagdynamik.
8. BRILLIANCE-Taste:
Zur Einstellung der Tonbrillanz.
9. REVERB-Taste:
Zum Ein-/Ausschalten des Halls, der dem Klang Räumlichkeit verleht. Bei aktiviertem Effekt leuchtet die Taste auf.
10. CHORUS-Taste:
Zum Ein-/Ausschalten des Chorus, der dem Klang Fülle verleiht. Bei aktiviertem Effekt leuchtet die Taste auf.
11. BANK-Taste/LEDs:
Zur Auswahl der gewünschten Sound-Bank. Die der aktuell angewählten Bank zugewiesene LED leuchtet.
12. Sound-Taston:
Zur Auswahl der 30 Sounds (10 x 3 Bänke). Sie konnen zwei Tasten drücken, um zwei Sounds gleichzeitig zuspielern (Layer-Modus).
13. Display:
Zeigt Einstellungen an, beispielsweise des Funktion-modus' oder des Metronoms.
14. +_ --Tasten:
Zur Auswahl der Werte diverser Einstellungen.
15.METRONOME-Taste:
Zum Ein-/Ausschalten des Metronoms. Wahrend das Metronom verwendet wird, leuchtet die Taste auf. Durch längeres Drücken der Taste gelangen Sie in den Metronom-Einstellungsmodus, wo sie diverse Einstellungen am Metronom vornehmen konnen.
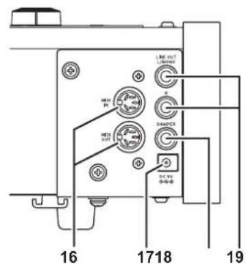
16. MIDI (IN, OUT) Buchsen:
Buchen für den Anschluss anderer MIDI Geräte (Sequenzer, Keyboards usw.).
IN: Dateneingang (muss an die MIDI OUT-Buchsc des anderen MIDI Gerats angeschlossen werden).
OUT: Datenausgang (muss an die MIDI IN-Buchse des anderen MIDI Gerats angeschlossen werden).
17. DC 9V-Buchse:
Schlieben Sie den mitgelieferten Netzteil an diese Buchse an.
18. DAMPER-Buchse:
Schlieben Sie hier das im Lieferumfang des D1 enthaltene Dampfer-/Haltepedal oder ein DS-1H (getrennt erhältlich) Dampfer-/Haltepedal an.
19. LINE OUT (L/MONO, R) Buchse:
Hierbei handelt es sich um die Haupt-Audioausgänge. Verwenden Sie ein Audiokabel mit Standarddblinkenstecker, um das D1 an die Eingänge einer Aktivbox oder den AUX IN anderer Audiogeräte anzuschreiben. Mit dem VOLUME-Regler wird die Ausgangslautstärke reguliert.
Vorbereitung sowie Demos und Soundbeispiele
Bevor Sie mit dem Spielengebinnen
Infos zum Ständer
Dieses Instrument wird ohne Ständer ausgeliefert Auf Seite 49 erfahren Sie, wie Sie das D1 mit dem (getrennt erhältlich) Keyboardstandener ST-SV1 verwenden können.
Anschluss des beiliegenden Netzteils
Verbinden Sie den DC-Stecker des Netzeils mit der DC 9V-Buchse an der Rückseite und stecken Sie den Stecker des Netzeils in eine Steckdose.
Wickeln Sie das Netzteilkabel um den Kabelhaken, um zu verhindern, dass sich der Netzanschluss aus Versehen lost (Abb. 1). Beim Entfernen des Kabels)dürfen Sie nie mit Gewalt daranziehen.
Verwenden Sie nur das beiliegende Netzteil. Bei Verwendung eines anderen Netzteils wird das Gerät eventuell beschädigt.
Verbinden Sie das Instrument ausschließlich mit einer Steckdose der geeigneten Netzspannung.
Anschluss von Audiogeräten und Kopfhörern
Das D1 verfügbar über keine eigenen Lautsprecher. Um etwas zu horen, müssen Sie das D1 über den LINE OUT an Audiograta wie einen Monitorversteller, ein Mischpult oder eine Stereoanlage anschließen oder einen Kopfhörer an die Kopfhörerbuchse anschließen.
Sie,müssen alle Verbindungen bei ausgeschalteten Geräten herstellen. Unvorsichtigige Handhabung kann das D1 oder angeschlossene Geräte beschädigen oder Fehlfunktionen verursachen.
Verbindungskabel sind getrennt erhältlich. Sie müssen die geeigneten handelsüblichen Kabel für ihre Ausrüstung besorgen.
Verwendung mit Monitorveränder oder Mischpult
Einen Monitorveränder oder ein Mischpult schlieben Sieitte an die LINE OUTBuchs den D1 an.
Verbinden Sie diese mit einem Audiokabel mit der Eingangsbuchse einer Aktivbox oder anderer Audiogeräte.
Am Audioausgang des D1 liegt ein hoherer Signalpegel an als bei haushaltsüblichen Audiogeräten wie z. B. CD-Playern. Deshalb konnen angeschlossene Laufsprecher oder Audiogeräte durch zu hohe Lautstärken beschädigt werden - also Vorsicht mit der Lautstärke!
- Regeln Sie die Lautstärke aller angeschlossenen Geräte herunter und schalten Sie sie aus.
- Verbinden Sie die LINE OUT-Buchsen des D1 mit den Eingangsbuchsen Ihres Monitorverstärkers oder Mischpults.
Falls Sie eine Stereoanlage oder einen Audioplayer mit externen Eingängen nutzen, verbinden Sie das D1 mit den als LINE IN, AUX IN oder sonst als externer Eingang markierten Buchsen. (Hierbei kann die Verwendung eines geeigneten Adapters erforderlich sein.)
Kopfhörerbetrieb
Kopfhöreritte nur an die Kopfhörerbuchseanschlieben.
Verwenden Sie Stereokopfhörer mit einem 3,5mm Stereo-Miniklinkenstecker.
Spiel den sie nachs oder wenn Sie andere nicht storen wollen mit Kopfhorer.
Bedenken Sie, dass ein hoher Wiedergabepegel im Kopfhörer schon nach kurzer Zeit zu Hörschäden führen kann.



Anschlussbeispiel Kopfhörer
Instrument einschalten
Drücken Sie die Einschalttaste, um das D1 einzuschalten. (Abb. 2)
Wenn das Instrument eingeschaltet wird, leuchten die Tasten im Bedienfeld auf (Die Einschlattaste leuchtet nicht).
Zum Ausschalten des Instruments drucken Sie erneut die Einschalttaste.
Wenn das Instrument ausgeschaltet wird, kehren alle Funktionen mit Ausnahme der Energiesparfunktion zur Standardeinstellung zusück.
Energiesparfungtion
Nach 4 Stunden ohne Eingaben des Nutzers oder ohne Demo-Wiedergabe schaltet sich das Instrument automatisch aus. Sie konnen dies verhindern, indem Sie die Energiesparfungtion deaktivieren (siehe Seite 45).
Einstellen der Lautstärke
Drehen Sie den VOLUME-Regler befindem Netzschalter in Richtung, MAX", um die Lautstärke anzuheiten. Drehen Sieihn nach links (zu MIN), um die Lautstärke zu verringn. (Abb. 2)
Der VOLUME-Regler bestimmt den Pegel der Kopfhörerbuchse und LINE OUT-Buchsen.
Beim Ausschalten des Instruments werden alle Parameter zurückgesetzt.
Notenpult aufstellen
Bringen Sie das Notenpult wie in Abb. 3 gezeigt an.

Abbildung. 2

Demo-Vorführungen abspielen
Das D1 hat insgesamt 30 Demos und Soundbeispiele (10 Sound-Demosongs mit 10 ausdrucksstarken Sounds und 20 bereits Piano-songs zur Vorstellung der Pianosounds).

Während der Wiedergabe eines Sound-Demosongs können Sie diesen auf der Tastatur begleiten, allerdings können Sie den Sound mit den Sound-Tasten nicht ändern.

Während der Wiedergabe eines Sound-Demosongs konnen die Einstellungen der Effekte (Reverb und Chorus) nicht geändert werden.
Sound-Demosongs anhoren
- Drücken Sie gleichzeitig die PIANO SONG-Taste und die TRANSPOSE-Taste.
Die PIANO SONG-Taste blinkt und die Soundtasten blinken der Reihe nach.
Zusätzlich wird die Nummer des Sound-Demosongs (d01) im Display angezeigt.




- Nach etwa 3 Sekunden blinkt die PIANO1-Taste und die Wiedergabe des dieser Taste entsprechenden Songs beginnt.
Wenn die Wiedergabe des PIANO1-Demosongs endet, werden der Reihe nach PIANO2, E.PIANO1 etc. wiedergegeben. Endet die Wiedergabe des CHOIR-Demosongs, beginnnt die Wiedergabe von vorne mit dem PIANO1 Song.
Einen bestimmen Demosong anhoren
Wenn die Soundtasten der Reihe nach blinken, konnen Sie durch Drücken der entsprechenden Soundtaste den gewünschten Demosong wiedergeben. Wir während der Wiedergabe eines Sound-Demosongs eine andere Sound-Taste gedrückt, beginnnt nach weniger Sekunden die Wiedergabe des entsprechenden Sound-Demosongs.
Sie können zudem auch mit den + und --Tasten befind dem Display einen Song auswahlen.
- Zum Anhalten der Wiedergabe eines Sound-Demosongs drücken Sie die PIANO SONG-Taste erneut.
ListederSound-Demosongs
Display Taster Songtitel Komponist
| d01 | PIANO1 | À la Manière de Borodine | M.Ravel |
| d02 | PIANO2 | Someone To Watch Over Me | G.Gershwin |
| d03 | E.PIANO1 | Jam Session | Naoki. Nishi |
| d04 | E.PIANO2 | In Memory Michael.Geisel | |
| d05 | HARPSI/CLAV | La Joyeuse J.P.rameau | |
| d06 | VIBES/GUITAR | Jazz in Spain | KORG-Original |
| d07 | ORGAN1 | Improvisation | Michael.Geisel |
| d08 | ORGAN2 | Prelude and Fugue in C Major, BWV 553 | J.S.Bach |
| d09 | STRINGS | Scoring Interlude | Michael.Geisel |
| d10 | CHOIR | Autumn Flares | Michael.Geisel |
Piano-Songs anhoren
- Drucken Sie die PIANO SONG-Taste.
Die PIANO SONG-Taste und die PIANO1-Taste leuchten auf, und im Display erscheint die Nummer des Pianosongs (001).




- Nach etwa 3 Sekunden blinkt die PIANO1-Taste, und die Wiedergabe des Pianosongs beginnt.
Wenn die Wiedergabe des ersten Piano-Songs endet, werden der Reihe nach der zweite, dritte, usw. wie der gegeben. Endet die Wiedergabe des zwanzigsten Piano-Songs, beginnt die Wiedergabe von vorne mit dem ersten Piano-Song.
Einen bestimmten Piano-Song anhoren
Mit den + und -Tasten befindem Display konnen Sie die Nummer des Piano-Songs auswahlen, den Sie horen möchten. Falls durch Drucken der Tasten eine andere Nummer ausgewählt wird, beginnnt die Wiedergabe des entsprechenden Piano-Songs, selbst wenn gerade ein Song wiedergegeben wird.
- Zum Anhalten der Wiedergabe eines Demosongs drücken Sie die PIANO SONG-Taste erneut.
Piano-Song-Gruppen
| Nr. | Display | Songtitel | Komponist |
| 1 | 001 | Etude Op.10-12 | F.Chopin |
| 2 | 002 | Claire de lune | C.Debussy |
| 3 | 003 | Fantaisie-Impromptu Op.66 | F.Chopin |
| 4 | 004 | Waltz No.6 Db-major Op.64-1 | F.Chopin |
| 5 | 005 | „Prelude 1" The Well-Tempered Clavier, Book 1 | J.S.Bach |
| 6 | 006 | „Turkish March" Sonata K.331 | W.A.Mozart |
| 7 | 007 | Arabesque No.1 | C Debussy |
| 8 | 008 | Für Elise | L.v.Beethoven |
| 9 | 009 | Liebestraume Nr.3 | F.Liszt |
| 10 | 010 | La Campanella | F.Liszt |
| 11 | 011 | Nocturne Op.9-2 | F.Chopin |
| 12 | 012 | Spring Song Op.62-6 | F.Mendelssohn |
| 13 | 013 | Reflets dans l'eau | C Debussy |
| 14 | 014 | Gymnopédie No.1 | E.Satie |
| 15 | 015 | Etude Op.10-3 | F.Chopin |
| 16 | 016 | Old Feather Blues | KORG original |
| 17 | 017 | La fille aux chevexus de lin | C Debussy |
| 18 | 018 | The Entertainer | S.Joplin |
| 19 | 019 | Sunflowers | KORG original |
| 20 | 020 | Amazing Grace | Hymn |
Spiel des D1
Mit nur einem Klang spielen (Single-Modus)
Sie konnen einen der dreiig im Instrument enthaltenen Klänge auswahlen (10 x 3 Sounds Banken).
| Taster Bank Klang # | |||
| PIANO1 1 Konzertflügel | 3 | ||
| 2 Flügel 3 | |||
| 3 Pop Piano 2 | |||
| PIANO2 1 Jazz Piano 3 | |||
| 2 Horky-Tonk 2 | |||
| 3 Elektr. Flügel 1 | |||
| E.PIANO1 | 1 | Stage E-Piano | 1 |
| 2 Bright E-Piano 2 | |||
| 3 Tremolo EP 1 | |||
| E.PIANO2 | 1 | Dig.E-Piano | 2 |
| 2 DigE-Piano2 2 | |||
| 3 60's E-Piano 1 | |||
| HARPSI/CLAV | 1 Harpsichord 2 | ||
| 2 Clav 1 | |||
| 3 Synth Clav 2 | |||
| VIBES/GUITAR | 1 Vibraphon 1 | ||
| 2 Marimba 1 | |||
| 3 Akustikgitarre 2 | |||
| ORGAN1 | 1 | Jazzorgel 1 | 2 |
| 2 Jazzorgel 2 2 | |||
| 3 Jazzorgel 3 2 | |||
| ORGAN2 | 1 Pfeifenorgel 1 2 | ||
| 2 Pfeifenorgel 2 2 | |||
| 3 Positivorgel 2 | |||
| STRINGS | 1 | Streicher | 2 |
| 2 Kinoastreicher 2 | |||
| 3 Analoge Streicher 2 | |||
| CHOIR | 1 | Aah Chor | 2 |
| 2 Ooh Stimmen 2 | |||
| 3 Klassischer Chor 3 | |||
(#) In diesen Spalten ist die Anzahl der Oszillatoren pro Stimme angegeben, die von den einzelnen Klängen bernutzt werden (siehe auch „Hinweise zur maximalen Polyphonyne" auf Seite 48).
- Drücken Sie die Sound-Taste des Sounds, den Sie spielen möchten.
Die gewähltte Taste leuchtet auf.
- Drücken Sie die BANK-Taste, um einen der drei Sounds auszuwahlen.
Mit jedem Druck auf die BANK-Taste geraten Sie in der Reihenfolge 1,2,3,1,...zur nachsten Bank, wobei die entsprechende LED rechts der BANK-Taste aufleucht. Wollen Sie beispelsweise den elektrischen Flugelsound, drucken Sie erst die PIANO 2-Taste: deren Taste nun leuchtet
Anschliebend drücken Sie zweimal die BANK-Taste, um Bank 3 (Elektr. Flügel) auszuwahlen: die unterste
LED rechts besoin der BANK-Taste leuchtet.
Die für die jeweilige Sound-Taste gewählte Bank bleibt bestehen, auch wenn Sie eine andere Sound-Taste drucken.

Bei jedem Einschalten des D1 wird für alle Sound-Tasten Bank 1 ausgewählt.
Mit zwei Klängen gleichzeitig speiten (Layer-Modus)
Sie können zwei Sounds gleichzeitig auf der Tastatur spei- len. Diese Spielweise wird Layer-Modus genannt.
Drücken Sie gleichzeitig die beiden Sound-Tasten der Sounds, die Sie gleichzeitig spielen möchten. Die beiden gewährten Soundtasten leuchten auf.

Die am weitesten links oder oben liegende Taste ist Layer 1, die andere (am weitesten rechts oder unten) ist Layer 2 (siehe Diagramm unter).

Sind zum Beispiel E.PIANO1 und ORGAN1 ausgewählt, ist E.PIANO1 Layer 1 und ORGAN1 Layer 2. Um Sounds in verschiedene Banken zu verwenden, wahlen Sie zuerst im Single-Modus die Bänke der entsprechenden Sound-Tasten.
Um beispielweise den Flügel und die Jazzorgel 2 zu layern, wahlen Sie Bank 2 (Flügel) für die PIANO 1-Taste und Bank 2 (Jazzorgel 2) für die ORGAN1-Taste. Drücken Sie anschließende beiden Tasten gleichzeitig.
Wenn Sie den Layer Modus selektieren, ist die Anzahl der Stimmen, die gleichzeitig spelien konnen, herabgesetzt. Dies hangt von der Gesamtzahl der vom selektierten Klang benutzten Oszillatoren ab (siehe auch „Hinweise zur maximalen Polyphonie" auf Seite 48).
Esistnichtmoglich,zweiSoundsinunderschiedlichen BankenderselbenSound-Tasteauszuwahlen(z.B. KonzertflugelundFlugelderPIANO1-Taste).
Zum Single Modus zurückkehren
Um zum Single-Modus zugruckzukehren, drücken Sie einfach einen beliebigen Klangauswahltaster.
Layer-Modus-Einstellungen
Im Layer-Modus kann das Lautstärkeverhältnis zwischen den Sounds eingestellt werden, die Oktave jeder Sounds kann verschiben werden, und für jeder Sound kann das Dämpferpedal aktiviert oder deaktiviert werden (siehe auch „Funktionsmodus" auf Seite 43).
Dämpfer-/Haltepedal verwenden
Mit einem solchen Pedal konnen Sie Ihr Spiel ausdrucks-stärker und realistischer gestalten.
Durch Drücken these Pedals wird der Klang gehalten und klingt mit einem satten Nachhall aus. Sie konnen die Halteresonanz auch dem Konzertflügel, dem Flügel und dem Jazz-Piano zuweisen (Bank 1 und 2 von Piano1, Bank 1 von Piano2).
Mit dem als Zubehor erhältlichen Dämpfer-/Haltepedal DS-1H konnen Sie den Grad der Dämpfung über den Pedalweg bestimmen ("half-pedaling").

Im Layer-Modus konnen Sie den/die Sound/s auswahlen, die mit dem Dämpfer-Effekt bearbeitet werden. (siche auch „Pedal des Layer-Modus" auf Seite 44).
Effekte
Brilliance
Diescr Effektändert die Brillanz des Tons.
Durch Gedrückthalten der BRILLIANCE-Taste bei gleichzeitigem Drucken der + oder --Taste halten dem Dsiplayändern Sie die Einstellungen thesese Effekt.

Die jeweilige Einstellung wird im Display angezeigt: 3 produziert einen brillanten, hohenbetonten Sound, bei 1 ist der Klang weniger brillant.
Die gewählte Einstellung gilt für alle Sounds und bleibt aktiviert, bis das D1 ausgeschaltet wird. Beim Einschalten des Instruments ist werksseitig die 2 voreingestellt.

Brilliance kann nicht deaktiviert werden.
Reverb
Dieser Effekt verleht dem Sound Raum und Tiefe und vermittelt das Gefühl, in einer Konzerthalle zuspielen. Werksseitig ist für jeder einzelnen Sound gespeichert, ob dieser Effekt ein- oder ausgeschaltet ist und in welcher Einstellung er sich befindet.
Durch Drücken der REVERB-Taste schalten Sie den Halleffekt ein (Taste leuchtet auf) bzw. aus (Taste erlischt).
Zum Ändern der Einstellungen halten Sie die REVERB-Taste gedrückt und drucken Sie gleichzeitig die + oder -Taste halten dem Display.

Die jeweilige Einstellung wird im Display angezeigt: 3 produziert einen starken, 1 einen leichten Halleffekt.
Falls ein anderer Sound ausgewählt oder das D1 ausgeschaltet wird, werden die vorgenommenen Änderungen (ein/aus, Einstellung) auf die werksseitigen Einstellungen zurückgesetzt.
Chorus
Chorus fegt dem Sound Modulation hinzu und macht den Klang fälliger. Werkssheit wird für jeder einzelnen Sound gespeichert, ob dieser Effekt ein- oder ausgeschaltet ist und in welcher Einstellung er sich befindet.
Durch Drücken der CHORUS-Taste schalten Sie den Choruseffekt ein (Taste leuchtet auf) bzw. aus (Taste erlischt).
Zum Ändern der Einstellungen halten Sie die CHORUS-Taste gedrückt und drücken Sie gleichzeitig die + oder --Taste kein dem Display.

Die jeweilige Einstellung wird im Display angezeigt: 3 produziert einen starken, 1 einen leichten Choruseffekt.
Falls ein anderer Sound ausgewählt oder das D1 ausgeschaltet wird, werden die vorgenommenen Änderungen (ein/aus, Einstellung) auf die werksseitigen Einstellungen zurückgesetzt.
Das Metronom
Das D1 ist mit einem Metronom ausgestellt, das für ein angenehmeres Üben zu einem Glockenton umgeschaltet werden kann.
Metronom ein-/ausschalten
Drucken Sie die METRONOME-Taste. Die Taste leuchtet auf, und das Metronom beginnnt zu laufen.

Drücken Sie die METRONOME-Taste erneut, um das Metronom anzuhalten. Die Taste erlischt.
Tempo einstellen
Wenn im Display das Tempo angezeigt wird (Standardeinstellung 120) kann das Tempo sowohl bei einge

schaltetem als auch bei ausgeschalteten Metronom mit den + und -Tasten neben dem Display eingestellt werden (Sie können das Tempo auch im Metronom-Einstellungenmodus vorgegeben). Der Einstellbereich beträgt = 40 - 120 Um zur Standardeinstellung zurückzugelangen, drücken Sie die + und --Tasten gleichzeitig.
Vorgabe von Taktart, Lautstärke, akzentuiertem Klang, Tempo und Klang
Der Metronom-Einstellungsmodus dient zur Einstellung der diversen Funktionen des Metronoms.
-
Halten Sie die METRONOME-Taste gedrückt, bis der Metronomeinstellungen-Modus aufgerufen ist. Die METRONOME-Taste blinkt.
-
Drücken Sie die der einzustellenden Funktion zugewiesene Taste.
Der Wert entscheidt im Display.

| Rahmen (Taste) | Beschreibung | Standar- deinstellung |
| Taktart (PIANO1) | 02 (2/4), 03 (3/4), 04 (4/4), 06 (6/4) 04 | |
| Lautstärke (PIANO2) | 01-13 10 | |
| Akzentuierter Klang (E.PIANO1) | oFF (kein akzentuierter Klang), on1 (Akzentuierter Beat ist lauter), on2 (akzentuierter Beat erklingt als Glocke) | oFF |
| Tempo (E.PIANO2) | 40-240 (entspricht der Tempoeinstellung) | 120 |
| Klang (HIARPSI/CLAV) | 1 (akustisch), 2 (elektronisch) | 1 |
- Mit den Tasten + und - stellen Sie den Wert ein.
Wenn Sie die Tasten + und - gleichzeitig drücken, werden folgende Einstellungen auf die Werkseinstellung zurückgesetzt.
Lautstärke
- Tempo
Klang
- Nachdem Sie ihre Einstellungen vorgenommen haben, drücken Sie die METRONOME-Taste, um den Metronomeinstellungen-Modus zu verlassen.
Nachdem der Metronomeinstellungen-Modus verlassen ist, hört die METRONOME-Taste auf zu blinken und leuchtet bzw. erlischt (je nach ihrem vorherigen Status).
Weitere Funktionen
Einstellung des Anschlagsteuerung
Die Anschlagempfindlichkeit der Tastatur kann verändert werden.
Zum Ändern der Einstellungen halten Sie die TOUCH-Taste gedrückt und drücken Sie gleichzeitig die + oder -Taste können dem Display.

| Display | Einstellung des Anschlagsteuerung |
| 001 Leicht. Selfbst bei leichtem Anschlag konnen laute Noten gespielt werden. | |
| 002 Normal. Normaler Klavieranschlag. | |
| 003 Schwer. Nur bei sehr starkem Anschlag werden laute Noten gespielt. | |
| 004 Stabil. Die Anschlagsempfindlichkeit ist reduziert und es wird ein relativ stabiler Klang erzeugt. | |
| 005 Gleichfürmig. Wie bei einer Orgel werden unge-achtet der Anschlagstärke gleichfürmige Noten erzeugt. | |

Beim Ausschalten des Instruments wird wieder die normale Anschlagempfindlichkeit (002) eingestellt.

Die Einstellungen gelten für alle Sounds.
Transponierung
Bisweilen kommt es vor, dass Stücke in einer schwierig zu spielenden Tonart geschrieben sind (z.B. mit vielen schwarzen Tasten) oder die Tonhöhe zur Abstimmung auf ein anderes Instrument oder einen Sänger verändert werden muss. In diesen Fälle konnen Sie transponieren (Tonhöhe verändern), um die Fingerläufe zu vereinfachen oder mit denselben Fingerläufen in einer anderen Tonhöhe zuspielern. Diese Funktion wird Transponierung genannt. Sie konnen die Transponierung in einem Bereich von 11 Haltbönen vornehmen. Bei einer Transponierung um einen Haltbon nach oben werden beim Spieler der links abgebildeten Noten die rechts abgebildeten Töne erzeugt.


Beim Ausschalten des Instruments wird die Transponierung wieder aufgehoben.
Halten Sie die TRANSPOSE-Taste gedrückt und drücken Sie eine Taste der Tastatur (F6-F7) für die gewünschte Transposition. Wirde eine andere Klaviaturtaste als C7 gedrückt, leuchtet die TRANSPOSE-Taste auf und zeigt an, dass die Tastatur transponiert worden ist.
Die Transponierung der Tastatur erfolgt gemäß des Verhältnisses der gedrückten Tastaturtaste zu C7.
Um zur normalen Tonhöhe zurückzukehren, halten Sie die TRANSPOSE-Taste gedrück und drücken Sie auf der Tastatur die C7. Die TRANSPOSE-Taste erlischt, und die Transposition ist zurückgesetzt.


| Note Effekt | |
| F#6-B6 6-1 Haltböne nach unten | |
| C7 Standardstimmung | |
| C#7-F7 1-5 Haltböne nach oben |
Funktionsmodus
Die Stimmung sowie andere Tonhohen-Einstellungen konnen im Funktionmodus geändert werden.
Einstellen von Funktionen im Funktionsmodus
- Drucken Sie die FUNCTION-Taste.
Die FUNCTION-Taste und die PIANO1-Taste leuchten auf.
- Drücken Sie eine der unten gezeigten Tasten, um den gewünschten Parameter zu wahlen.
Die Taste leuchtet und im Display erscheint die aktuelle Einstellung.

- Wahlen Sie mit der + oder -Taste eine Einstellung aus.
Wenn Sie die Tasten + und - gleichzeitig drücken, werden folgende Einstellungen auf die Werkseinstellung zurückgesetzt.
Referenzton
Lautstärkebalance im Layer-Modus
- Oktave des Layer-Modus
- Nachdem Sie die gewünschten Einstellungen vorgenommen haben, drücken Sie die FUNCTION-Taste, um zum Spielmodus zurückzukehren.
Die FUNCTION-Taste erlischt.

Wenn das D1 ausgeschaltet wird, kehren alle Funktionen mit Ausnahme der Energiesparfunktion zur Standardeinstellung zurück.
Listeder Funktionen
| Taster Funktionen Anzeige im | Display | |
| Beschreibung [Standardeinstellung] | ||
| PIANO1 | Referenzton 27.5...52.5 | |
| 427.5...440.0...452.5Hz [40.0 : 440.0Hz] | ||
| Um den Referenzton des C1/C1 Air an den e- nes anderen Instruments anzupassen, können Sie diesen in Schritten von 0,5 Hz ändern. Standardtonhöhe ist A = 440 Hz, die Standar- deinstellung lautet 40.0. | ||
| PIANO2 | Stimmung *1 00...08 | |
| Wohltemperierte Stimmung...Pelog Tonleiter [00: Wohltemperierte Stimmung] | ||
| Sie können unter nunc verscheden Stim- mungen auswahlen, darunter u. a. die wohl- temperierte, die Kirnberger- und Werckmeis- ter-Stimmung. | ||
| E.PIANO1 | Lautstärkebalance im Layer- Modus | 1-9...9-1 |
| 1-9 (Layer 1 min.)...9-9 (Beide max.)...9-1 (Layer 2 min.) [9-9] | ||
| Regelt das Lautstärkeverhältnis zwischen den Sounds von Layer 1 und Layer 2. Der Einstellbereich beträgt 1 - 9 ... 9 - 9... 9 - 1, wobei die Zahl links für Layer 1 und die Nummer rechts für Layer 2 gilt. | ||
| E.PIANO2 | Oktave des Layer-Modus (L1, L2) *2 | -01, 00, 01 |
| ±1 Oktaven [00] | ||
| Legt den Tonumfang für Layer 1 und Layer 2 fest. Der Einstellbereich für jeder Sound beträgt ±1 Oktave, im Display angezeigt durch -01, 00 und 01. | ||
| HARPSI/ CLAV | Pedal des Layer-Modus | o- , -o, o-o |
| Nur 1, Nur 2, Beide Layer [o-o] | ||
| Wählt den Layer, auf die sich der Dämperef- fekt auswirkt. Folgende Einstellungen sind möglich: nur auf den Sound von Layer 1 (o - ), nur auf den Sound von Layer 2 (- o), auf beide Sounds (o - o). | ||
| VIBES/ GUITAR | Energiesparfungtion *3 | oFF, on |
| Disable, 4 Stunden [on] | ||
Zusätzliche Funktionen und Beschreibungen
*1: Stimmung
Stimmungsarten
| Display | Stimmung |
| 00 | Wohltemperierte Stimmung (Standardeinstellung): Meistübliche Stimmung, bei der alle Hõne in gleiche Tonhöhenintervalle aufgeteilt sind. |
| 01 Reine Stimmung [Dur]: Die Durtõne der Tasten (C) sind perfect gestimmt. | |
| 02 | Reine Stimmung [Moll]: Die Molltõne der Tas-ten (C) sind perfect gestimmt. |
| 03 | Orientalisch: Stimmung nach Vierteltoninter-vallen für orientalische Musik. |
| 04 | Pythagoreisch: Antike griechische Stimmung, die sehr effektiv zum Spielen von Melodien ist. Sie ist absolut quartenrein, andere Intervalle hin-gegen – vor allem die Dur-Terz – sind unrein. |
| 05 Werckmeister: Die Werckmeister III Tonleiter entstand in der Zeit des Spätbarocks zur Ermög-lichung relativ freier Transponierungen. | |
| 06 Kirnberger: Die Kirnberger III Tonleiter dient hauptsächlich zum Stimmen von Cembali. | |
| 07 | Slendro Tonleiter: Indonesische Gamelan-Ton-leiter mit fünf Noten pro Oktave. |
| 08 | Pelog Tonleiter: Indonesische Gamelan-Tonlei-ter mit sieben Noten pro Oktave. |
alb-
Zum Thema "gedehnte Stimmung"
Zur Erzielung möglichst tatsächcher Resonanzen wird bei den Klängen PIANO 1 und PIANO 2 eine "gedehnte Stimmung" verwendet, um die Noten in den tiefen Bereichen etwas dunkler und in den hohen Bereichen heller klangen zu halten. Akustische Klaviere werden von professionellen Klavierstimmern normalerweise auf diese Weise gestimmt.
*2: Oktave des Layer-Modus(L1, L2)
- Wahlen Sie den Layer mit der UP oder DOWN-Taste geben dem Display.
L1 bezeichnet Layer 1, L2 bezeichnet Layer 2.
- Drucken Sie die BANK-Taste.
Im Display erscheint die aktuell eingestellte Oktave (00).
Um zur Standardeinstellung zusückzugelangen, drucken Sie die + und -Tasten gleichzeitig.
Um die Oktave des anderen Layers zuändern, drücken Sie die E.PIANO2-Taste, um den entsprechenden Layer auszuwahlen.
Falls der Single-Modus eingestellt ist, erscheint im Display --, und es kann keine Einstellung vorgenommen werden.
*3: Energiesparfungtion deaktivieren und aktivieren
Falls 4 Stunden lang keine Taste gedrück wird oder falls solange keine automatische Wiedergabe erfolgt, schaltet sich das Instrument automatisch aus. Sie können diese Funktion deaktivieren (oFF). Werkseiteig ist diese Funktion aktiviert. Falls Sie diese Einstellungändern, wird die neue Einstellung gespeichert und bleibt auch nach dem Ausschalten des D1 gültig.
- Rufen Sie den Funktionsmodus auf und drucken Sie die VIBES/GUITAR-Taste.
Die VIBES/GUITAR-Soundtaste leuchtet auf, und im Display erscheint die Einstellung (on).
- Schalten Sie die Funktion mit der + oder --Taste neben dem Display aus bzw. ein, falls Sie diese wieder aktivieren wollen.

MIDI
WasistMIDI?
MIDI ist die Abkürzung für Musical Instrument Digital Interface. Dies ist ein internationaler Standard für die Verbindung und die Datenübertragung zwischen elektronischen Instrumenten, Computern und anderen Geräten.
Was leistet MIDI?
Dank MIDI konnen Sie das D1 zur Steuerung anderer Instrumente, oder umgekehrt, andere Instrumente zur Steuerung des D1 einsetzen und einen Sequenzer zur Kreation komplexer Musikkstücke benutzen.
Wenn Sie die Tastatur oder das Pedal des D1 benutzen oder einen Klang selektieren, werden die Noten, die Pedalaktivierung und die Klangänderungen an ein anderes Instrument übertragen oder von einem Sequenzer aufgenommen.
Anschlüsse
Im Fachhandel erhältliche MIDI-Kabel dieren zur Übertragung von MIDI-Daten. Verbinden Sie mit diesen Kabeln die MIDI-Buchsen am D1 mit den MIDI-Buchsen des externen MIDI-Geräts, mit dem MIDI-Daten ausgetaucht werden sollen. Es gibt zwei Typen von MIDI-Buchsen.
MIDI IN-Buchse
Dieser Anschluss empfängt MIDI-Meldungen.
Die MIDI IN-Buchse erlaubt es Ihnen, Sounds vom D1 von einem externen MIDI-Gerät zuspielen (z.B. MIDIKeyboard oder Sequenzer). Verwenden Sie ein MIDI-Kabel zum Verbinden der MIDI IN-Buchse des D1 mit der MIDI OUT-Buchse des externen MIDI-Gerats.
MIDI OUT-Buchse
Dieser Anschluss gibt MIDI-Meldungen aus.
Die MIDI OUT-Buchse erlaubt Steuerung eines externen MIDI-Geräts mit vom D1 ausgegebenen MIDI-Meldungen. Verwenden Sie ein MIDI-Kabel zum Verbinden der MIDI OUT-Buchse des D1 mit der MIDI IN-Buchse des externen MIDI-Geräts.
MIDI-Funktionsmodus
Beim Einsatz des D1 sind die MIDI-Parameter auf Sendekanal 1, sümttliche Empfangskanäle (1-16), Local On und Omni Off eingestellt.
Sie können diese Einstellungen im MIDI-Funktionsmodus ändern.
Einstellen von Parametern im MIDI-Funktionsmodus
-
Halten Sie die FUNCTION-Taste mindestens 3 Sekunden lang gedrückt. Die FUNCTION-Taste blinkt und die PIANO1-Taste leuchtet.
-
Drücken Sie eine der unter gezeugten Tasten, um den gewünschten Parameter zu wahlen. Die Taste leuchtet und im Display erscheint die aktuelle Einstellung.

-
Wahlen Sie mit der + oder --Taste eine Einstellung aus.
-
Beenden Sie den Funktionmodus mit der FUNC TION-Taste. Die FUNCTION-Taste erlischt.
Alle MIDI-Einstellungen werden allen Sounds zuge-wiesen.
Beim Ausschalten des D1 werden sãmtliche Parameter auf die Werkseinstellungen zurückgesetzt.
Liste der MIDI-Funktionen
| Taster Funktionen | Anzeige im Display | |
| Beschreibung [Standardeinstellung] | ||
| PIANO1 | MIDI-Kanäle *1 | C01...C16 |
| 1...16 [C01] | ||
| Wählt den Canal zur Übertragung von MIDI-Daten. | ||
| PIANO2 | Local On/Off | on, oFF |
| Aktiviert bzw. deaktiviert die Klangquelle des D1. [on] | ||
| Ist Local On eingestellt, werden beim Spiel-len der Tastatur des D1 sowohl ein Sound wiedergegeben als auch MIDI-Daten gesen-det. Ist Local Off eingestellt, ist beim Spiel-len der Tastatur des D1 nichts zu hören - es werden allein MIDI-Daten gesendet. Normalerweise ist dieser Parameter auf Local On eingestellt (Standardeinstellung: on).itte deaktivieren (Auf „oFF" stellen), um ein Rückecho zu vermeiden (zwlei unbeabsichtigt gleichzeitig wiedergegebene Sounds). | ||
| E.PIANO1 | PC-Filter *2 | on, oFF |
| Aktiviert bzw. deaktiviert Filterung von Pro-gram Change-Befehlen [oFF: keine Filterung] | ||
| Durch Senden einer MIDI-Change-Nummer können Sie von Ihrem D1 aus zwischen Pro-grammen angeschlossener MIDI-Instrumente wechseln.Umgelkehrt können Sie auch durch Empfangen einer MIDI-Change-Nummer vom angeschlossenen MIDI-Instrument zwi-schen Programmen Ihres D1 wechseln.Wird eine inkompatible Program Change Nummer empfangen, ändert sich der Sound des D1 nicht. | ||
| E.PIANO2 | CC Filter | on, oFF |
| Aktiviert bzw. deaktiviert Filterung von Con-trol Change-Befehlen [oFF: keine Filterung] | ||
| Es konnen auch Steuerungsbefehle, beispies-weise durch Bedienung des Dümpferpedals des D1 an ein angeschlossenes externes MIDI-Instrument gesendet werden; umgekehrt konnen Sie auch das D1 vom externen MIDI-Instrument aus steuern. | ||
| HARPSI/CLAV | Multitimbrales On/Off | on, oFF |
| Betrieb als 16-fach multitimbralen Soundmo-dul [on: Betrieb] | ||
| Sie konnen das D1 als 16-teiliges multitimb-rales Soundmodul nutzen, indem Sie seinen internen Klanggenerator von einem externen MIDI-Instrument aus steuern. | ||
*1: MIDI-Kanäle
Im Layer-Modus bestimmen Sie durch Auswahr des Sendekanals den Kanal für Layer 1. Als Sendekanal für Layer 2 wird automatisch der nachste Kanal eingestellt. Haben Sie beispiselsweise MIDI-Kanal C07 für den Sound von Layer 1 ausgewählt, wird automatisch MIDI-Kanal C08 dem Sound von Layer 2 zugewiesen.
Haben Sie den MIDI-Kanal C16 für den Sound von Layer 1 ausgewählt, wird Kanal C01 dem Sound von Layer 2 zugewiesen.
*2: Tabelle der Sounds und der entsprechenden Program-Change-Nummern
CC0: Bank Select (MSB) für alle Sounds ist eingestellt auf 121.
| Taster | Bank | CC32 | PC | Klang |
| PIANO1 1 10 Konzertflüge | ||||
| 200 Flügl | ||||
| 3 2 1 Pop-Piano | ||||
| PIANO2 1 0 1 Jazz | Piano | |||
| 203 Honky-Tonk | ||||
| 302 Elektr. Flügel | ||||
| E.PIANO1 1 0 4 Stage | age E-Piano | |||
| 214 Bright E-Piano | ||||
| 334 Tromolo EP | ||||
| E.PIANO2 1 0 5 D | g. E-Piano1 | |||
| 215 Dig. E-Piano2 | ||||
| 32460's E-Piano | ||||
| HARPS/CLAV 1 | 06 Harpsichord | |||
| 207 Clav. | ||||
| 317 Synth Clav | ||||
| VIBES/GUITAR | 1011 Vibraphone | |||
| 2012 Marimba | ||||
| 3024 Akustikgitarre | ||||
| ORGAN1 | 1 | 0 | 16 | Jazzorgel 1 |
| 2116 Jazzorgel 2 | ||||
| 3017 Jazzorgel 3 | ||||
| ORGAN2 | 1 | 0 | 19 | Pfeifenorgel 1 |
| 2119 Pfeifenorgel 2 | ||||
| 3219 Positivorgel | ||||
| STRINGS | 1 | 0 | 48 | Streicher |
| 2050 Kinostreicher | ||||
| 3150 Analoge Streicher | ||||
| CHOIR | 1 | 0 | 52 | Aah Chor |
| 2152 Ooh Stimmer | ||||
| 3 | 2 | 52 | Klassischer Chor | |
Anhang
Fehlerbeseitigung
Sollte während des Gebrauchs des Instruments eines der nachfolgenden beschriebenen Probleme auftreten, kontrollierten Sie es sorgfältig und versuchen Sie, die Störung anhand der Vorschläge und Tipps zu beseitigen. Wenn das Instrument weiterhin nicht einwandfrei funktionierenden sollte, wenden Sie sichitte an ihren Handler.
Das Instrument kann nicht eingeschaltet werden
- Schliefen Sie das Netzteil ordnungsgemäß an das D1 und die Steckdose an.
Instrument bleibt stumm
- Versichert Sie sich, dass die Lautstärke nicht auf MIN eingestellt ist. Regulieren Sie die Lautstärke ggf. auf ein angemessenes Niveau.
- Versichert Sie sich, dass die MIDI Local Funktion nicht auf OFF eingestellt ist. Sollethis der Fall sein, stellen Sie ON ein (oder schalten Sie das Instrument aus und anschließend wieder ein).
Noten sind unterbrochen
- Sie haben die maximale Polyphonie überschritten. Sie im Abschnitt „Hinweise zur maximalen Polyphonie."
Die Tonlage oder der Ton des Klavies klingt in manchen Tonalregionen falsch
Die Piano-Sounds des D1 replizieren den Sound eines echten Klaviers so treu wie möglich. Das bedeutet, dass in manchen Regionen der Tastatur das Gefühl entstehen kan, dass die Obertone stärker erschieren oder Ton oder Tonlage falsch wirkt. Dies ist keine Fehlfunktion.
Das angeschlossene MIDI-Instrument reagiert nicht auf gesendete MIDI-Daten.
- Überprüfen Sie, ob alle MIDI-Kabel korrekt angeschlossen sind. Überprüfen Sie, ob das D1 die MIDI-Daten auf dem gleichen Kanal empfangt, wie das MIDI-Instrument.
Hinweise zur maximalen Polyphonie
Falls die Anzahl der gleichzeitig gespieften Noten die maximale Polyphonie überschreitet, gehen einige Noten verloren, da das D1 mit einem Algorithmus ausgestellt ist, der die ersten gespiefte Note stoppt, um den später gespielen Noten Prioriät einzuräumen. Manche Einzelsounds des D1 werden von zwei oder mehreren Oszillatoren generiert (die zur Klangerzeugung einer Note zusammengeschalte sind).
Sounds, die von nur einem Oscillator generiert werden, beispelsweise die Sounds in den Bäken 1 und 2 von VIBES/GUITAR, haben eine maximale Polyphonie von 120 Noten.
Sounds, die von zwei Oszillatoren generiert werden, beispelsweise die Sounds in den Banken 3 von PIANO1 sowie in den Banken 1 und 2 von E.PIANO2, haben eine maximale Polyphonie von 60 Noten.
120 ÷ Anzahl der Soundoszillatoren = Maximale Polyphonie Sie sollenen sich der maximalen Polyphonie stets bewusst sein und vor allem im Layer-Modus oder bei der Verwendung eines Dampferpedals die Sounds dementsprechend auswahlen.
Technische Daten
Tastatur RH3 (gewichtete Hammertastatur 3)
Tastatur: 88 Tastatur (A0-C8)
Anschlagsteuerung Fuf
Tonhöhe Transponierung, Feinstimmung
Stimmung Neun Stimmarten
Klangerzeugung Stereo PCM System
Polyphonie 120 Noten (max.)
Sounds 30 Sounds (10 x 3 Bänke)
Effekte Brilliance,Reverb,Chorus (jeweils 3 Stufen)
Demo 30 (Sound-Demosong x 10, Piano-Song x 20)
Metronom Regler für Tempo, Taktart, Metronom-klangs, Betonung und Lautstärke
Pedal Dampferpedal half-pedaling understands (Bei Verwendung des als Zubehör erhältlichen DS-1H.)
Anschluse LINE OUT (L/MONO, R),MIDI (IN, OUT), Kopflorer, DAMPER-Buchsc, DC 9V-Buchse
Regler Netzschalter, VOLUME, PIANO SONG, TRANSPOSE, FUNCTION, TOUCH, BRILLIANCE, REVERB, CHORUS, BANK, Sound × 10 , +, -, METRONOME
Stromversorgung DC 9V (Netzteil mitgeliefert)
Leistungsaufnahme 1,5 W
Abmessungen (B× T× H) 1327× 263× 128mm (Überstände des Instruments mit eingerechnet, ohne beiliegendes Notenpult)
Gewicht 16kg
Lieferumfang Netzteil, Notenpult, Dampferpedal, Bedienungsanleitung
Zubehör (separatehältnich) ST-SV1 Keyboardständer, DS-1H Dampferpedal
- Änderungen der technischen Daten und des Designs ohne vorherige Ankündigung vorbehalten.
Bei Verwendung des als Zubehör erhältlichen Keyboardstandeners ST-SV1 (getrennt erhältlich)
Das D1 kann mit einem ST-SV1 Keyboardständer verwendent werden (im Fachhandel erhältliche Modelle ST-SV1 BK). Um den Ständer mit dem D1 zu verwenden, montieren Sieihn bis Schritt 8 (ST-SV1 BK) und fahren Sie dann wie folgt vor:
Heben Sie das D1 zu zweiit hoch (A), und setzen Sie es auf dem ST-SV1(B) ab.
Während eine Person das D1 festhalt, damit es nicht herunterfällig, bringt die andere die Schrauben (o) links und rechts am ST-SV1 mit den Schraublochern (n) an der Unterseite des D1 in Deckung. Hierbei sollte die Führungsplatte (f) möglich zwischen die beiden Aussparungen (p) in der Mitte der Unterseite des D1 passen. Achten Sie darauf, dass die Platte nicht die Schraube (k) im vorderen und den Schraubkopf (i) im hinteren Mittelbereich der Unterscite des D1 berührt.
Bringen Sie nun die Locher (n) unten am D1 mit den
Schauben (o) des ST-SV1 zur Deckung.
Entfernen Sie vor Befestigen des ST-SV1 das beiliegen de Netzeil.
Achten Sie darauf, ihre Finger nicht zu quetschen, wenn Sie das D1 anheben und auf den ST-SV1 setzen.
Achten Sie daraufuf, dass das D1 sicher am ST-SV1 befestigt ist, bevor Sie daraufufspielen. Ansonsten konnte das D1 vom ST-SV1 fallen und Sie verletzen oder selbst beschädigt werden.



Precauciones
Ubicación
WICHTIGER HINWEIS FÜR Kunden
Dieses Produkt wurde unter strenger Beachtung von Spezifikationen und Spannungsanforderungen hergestellt, die im Bestimmungsfand gelten. Wenn Sie these Produkt über das Internet, per Postversand und/oder mit Telefonischer Bestellung gekauft haben, müssen Sie bestätigten, dass these Produkt für Ihr Wohngebiet ausgelegt ist.
WARNING: Verwendung these Products in einem anderen Land als dem, für das es bestimmt ist, verwendet wird, kann gefährlich sein und die Garantie des Herstellers oder Importeurs hinfällig halten werden.itte bewahren Sie diese Quittung als Kaufbeleg auf, da andernfalls das Produkt von der Garantie des Herstellers oder Importeurs ausgeschlossen werden kann.
EinfachAnleitung