PVS3102N - Congélateur Pelgrim - Notice d'utilisation et mode d'emploi gratuit
Retrouvez gratuitement la notice de l'appareil PVS3102N Pelgrim au format PDF.
| Caractéristiques techniques | Congélateur vertical, capacité de 310 litres, classe énergétique A+ |
|---|---|
| Dimensions | Hauteur : 185 cm, Largeur : 60 cm, Profondeur : 65 cm |
| Poids | Poids net : 70 kg |
| Volume utile | Volume utile de 310 litres |
| Nombre de tiroirs | 5 tiroirs transparents pour un rangement facile |
| Fonctionnalités supplémentaires | Fonction de congélation rapide, alarme de température |
| Utilisation | Idéal pour stocker des aliments congelés, facile à utiliser avec un thermostat réglable |
| Entretien | Dégivrage manuel, nettoyage régulier recommandé |
| Sécurité | Système de verrouillage, alarme en cas de température anormale |
| Informations générales | Garantie de 2 ans, consommation annuelle d'énergie de 250 kWh |
FOIRE AUX QUESTIONS - PVS3102N Pelgrim
Questions des utilisateurs sur PVS3102N Pelgrim
0 question sur cet appareil. Repondez a celles que vous connaissez ou posez la votre.
Poser une nouvelle question sur cet appareil
Téléchargez la notice de votre Congélateur au format PDF gratuitement ! Retrouvez votre notice PVS3102N - Pelgrim et reprennez votre appareil électronique en main. Sur cette page sont publiés tous les documents nécessaires à l'utilisation de votre appareil PVS3102N de la marque Pelgrim.
MODE D'EMPLOI PVS3102N Pelgrim
Notice d'utilisation
Consignes de sécurité 25
Bandeau de commande 27
Première utilisation 29
Utilisation quotidienne 29
Conseils 29
Entretien et nettoyage 30

Sous réserve de modifications
Que faire si... 31
Caractéristiques techniques 32
Installation 32
En matière de sauvegarde de
l'environnement 36

Consignes de sécurité
Pour votre sécurité et garantir une utilisation correcte de l'appareil, lisez attentivement cette notice, y compris les conseils et avertissements, avant d'installer et d'utiliser l'appareil pour la première fois. Pour éviter toute erreur ou accident, veillez à ce que toute personne qui utilise l'appareil connaisse bien son fonctionnement et ses fonctions de sécurité. Conservez cette notice avec l'appareil. Si l'appareil doit être vendu ou cédé à une autre personne, veillez à remettre cette notice au nouveau propriétaire, afin qu'il puisse se familiariser avec son fonctionnement et sa sécurité.
Pour la sécurité des personnes et des biens, conservez et respectez les consignes de sécurité figurant dans cette notice. Le fabricant décline toute responsabilité en cas de dommages dus au non-respect de ces instructions.
Sécurité des enfants et des personnes vulnérables
- Cet appareil n'est pas destiné à être utilisé par des enfants ou des personnes dont les capacités physiques, sensorielles ou mentales, ou le manque d'expérience et de connaissance les empêchent d'utiliser l'appareil sans risque lorsqu'ils sont sans surveillance ou en l'absence d'instruction d'une personne responsable qui puisse leur assurer une utilisation de l'appareil sans danger.
Empêchez les enfants de jouer avec l'appareil.
- Ne laissez pas les différents emballages à portée des enfants. Ils pourraient s'asphyxier.
- Si l'appareil doit être mis au rebut, veillez à couper le câble d'alimentation électrique au ras de l'appareil pour éviter les risques
d'électrocution. Démontez la porte pour éviter que des enfants ne restent enfermés à l'intérieur.
- Cet appareil est muni de fermetures magnétiques. S'il remplace un appareil équipé d'une fermeture à ressort, nous vous conseillons de rendre celle-ci inutilisable avant de vous en débarrasser. Ceci afin d'éviter aux enfants de s'enfermer dans l'appareil et de mettre ainsi leur vie en danger.
Sécurité générale

Attention Veillez à ce que les orifices de ventilation ne soient pas obstrués.
- Cet appareil est destiné uniquement à la conservation des aliments et à un usage domestique normal. Ne l'utilisez pas à des fins commerciales ou industrielles ou pour d'autres buts que celui pour lequel il a été conçu.
- N'utilisez pas d'appareils électriques, d'agents chimiques, de dispositifs mécaniques ou autres moyens artificiels pour dégivrer ou accélérer le dégivrage de votre appareil.
- Ne faites pas fonctionner d'appareils électriques (par exemple : sorbetières électriques, mélangeurs ou sèche cheveux) à l'intérieur de votre appareil.
- N'endommagez pas le circuit de refroidissement.
- Conformément au règlement UTE-C-73-997 de juillet 2006, seules les personnes ayant reçues une formation spécifique aux fluides inflammables peuvent intervenir sur cet appareil qui contient des hydrocarbures. Ce gaz est néanmoins inflammable.
Pendant le transport et l'installation de votre appareil, assurez-vous qu'aucune partie du circuit n'est endommagée.
Si un composant du circuit réfrigérant est endommagé : - évitez les flammes nues (briquet) et toute autre source d'allumage (étincelles)
- aérez la pièce dans laquelle se trouve l'appareil
- Ne modifiez pas ou n'essayez pas de modifier les caractéristiques de cet appareil. Un cordon d'alimentation endommagé peut être la cause de courts-circuits, d'incendies et/ou d'électrocutions.
Avertissement Les composants électriques (cordon d'alimentation, prise, compresseur) doivent être remplacés par un électricien qualifié.
- N'utilisez pas de rallonge au niveau du câble d'alimentation.
- Assurez-vous que la prise n'est pas écrasée ou endommagée par l'arrière de l'appareil. Une prise de courant endommagée peut s'échauffer et causer un incendie.
- Assurez-vous de pouvoir accéder à la prise secteur de l'appareil.
- Ne tirez pas sur le câble d'alimentation.
- Si la fiche du cordon d'alimentation est desserrée, ne la branchez pas dans la prise murale. Risque d'électrocution ou d'incendie.
-
N'utilisez pas l'appareil si le diffuseur de l'ampoule d'éclairage n'est pas présent 9) pour l'éclairage intérieur.
-
Cet appareil est lourd. Faites attention lors de son déplacement.
- Ne touchez pas avec les mains humides les surfaces givrées ou les produits congelés ; la température très basse à laquelle ils se trouvent peut provoquer des brûlures ou un arrachement de la peau.
- Évitez les expositions prolongées de l'appareil aux rayons solaires.
9) si l'appareil en est équipé 10) Si l'appareil est sans givre
Utilisation quotidienne
- Ne posez pas d'éléments chauds sur les parties en plastique de l'appareil.
- Ne stockez pas de gaz ou de liquides inflammables dans l'appareil (risque d'explosion).
- Ne placez pas d'aliments directement contre la partie arrière de l'appareil. ^10)
- Un produit décongelé ne doit jamais être recongelé.
- Conservez les aliments emballés conformément aux instructions de leur fabricant.
- Respectez scrupuleusement les recommandations de conservation. Consultez les chapitres correspondants dans cette notice d'utilisation.
- Ne placez ni bouteilles ni boîtes de boissons gazeuses dans le compartiment congélateur, elles pourraient éclater.
- Ne consommez pas certains produits tels que les bâtonnets glacés dès leur sortie de l'appareil ; la température très basse à laquelle ils se trouvent peut provoquer des brûlures.
Entretien et nettoyage
- Avant tout entretien, mettez l'appareil à l'arrêt et débranchez-le. Si vous n'avez pas accès à la prise, coupez le courant.
- N'utilisez pas d'objets métalliques pour nettoyer l'appareil.
- N'utilisez pas d'objet tranchant pour gratter la couche de givre. N'employez pour cela qu'une spatule en plastique.
Installation
Important Avant de procéder au branchement électrique, respectez scrupuleusement les instructions fournies dans cette notice.
- Déballez l'appareil et vérifiez qu'il n'est pas endommagé. Ne branchez pas l'appareil s'il est endommagé. Signalez immédiatement au revendeur de l'appareil les dommages constatés. Dans ce cas, gardez l'emballage.
-
Il est conseillé d'attendre au moins quatre heures avant de brancher l'appareil pour que le circuit frigorifique soit stabilisé.
-
Veillez à ce que l'air circule librement autour de l'appareil pour éviter qu'il ne surchauffe. Pour assurer une ventilation suffisante, respectez les instructions de la notice (chapitre Installation).
- Placez l'appareil dos au mur pour éviter tout contact avec le compresseur et le condenseur (risque de brûlure).
- Placez de préférence votre appareil loin d'une source de chaleur (chauffage, cuisson ou rayons solaires trop intenses).
- Assurez-vous que la prise murale reste accessible après l'installation de l'appareil.
- Branchez à l'alimentation en eau potable uniquement. ^11)
Maintenance
- Les branchements électriques nécessaires à l'entretien de l'appareil doivent être réalisés par un électricien qualifié ou une personne compétente.
- Cet appareil ne doit être entretenu et réparé que par un Service après-vente au-
torisé, exclusivement avec des pièces d'origine.
Protection de l'environnement

Le système frigorifique et l'isolation de votre appareil ne contiennent pas de C.F.C. contribuant ainsi à préserver l'environnement. L'appareil ne doit pas être mis au rebut avec les ordures ménagères et les déchets urbains. La mousse d'isolation contient des gaz inflammables : l'appareil sera mis au rebut conformément aux règlements applicables disponibles auprès des autorités locales. Veillez à ne pas détériorer les circuits frigorifiques, notamment au niveau du condenseur. Les matériaux utilisés dans cet appareil identifiés par le symbole sont recyclables.
Bandeau de commande

- Touche Marche/Arrêt
- Afficheur
-
Touche Fonctions
-
Thermostat
Afficheur

- Indicateur d'alarme porte ouverte
- Indicateur de température positif ou négatif
- Afficheur de température
- Fast Freeze Symbole
Mise en marche
Branchez l'appareil. Si l'afficheur ne s'allume pas, appuyez sur la touche Marche/Arrêt pour mettre l'appareil sous tension.
Dès que l'appareil est mis en fonctionnement, les signaux suivants apparaissent sur le bandeau de commande :
11) Si un branchement sur le réseau d'eau est prévu
- L'indicateur de température sera positif, indiquant que la température est positive
- L'afficheur clignote, le fond d'écran est éclairé en rouge et l'alarme sonore retentit.
Pour désactiver l'alarme, appuyez sur la touche Fonctions (consultez aussi le paragraphe "Alarme de température").
Placez le thermostat sur une position médiane. L'appareil est réglé pour fournir la température suivante :
environ -18°C dans le compartiment congé- lateur.
Menu Fonctions
Chaque fois que vous appuyez sur la touche Fonctions, les fonctions ci-après sont activées de gauche à droite :
- Fast Freeze Fonction
- aucun symbole : fonctionnement normal.
Mise à l'arrêt
En appuyant sur la touche Marche / Arrêt pendant plus de 1 seconde, l'appareil est mis à l'arrêt.
L'afficheur effectue un décompte de 3 à 1. Lorsque l'appareil est mis à l'arrêt, l'afficheur s'éteint également.
Réglage de la température
La température régnant à l'intérieur de l'appareil est contrôlée par un thermostat situé au-dessus de l'appareil.
Pour faire fonctionner l'appareil, procédez comme suit :
- tournez le thermostat sur la position maximum (dans le sens des aiguilles d'une montre) pour obtenir plus de froid
- tournez le thermostat sur la position minimum (dans le sens inverse des aiguilles d'une montre) pour obtenir moins de froid.
Une position médiane est la plus indiquée Toutefois, le réglage doit être choisi en tenant compte du fait que la température à l'intérieur de l'appareil dépend de plusieurs facteurs :
- la température ambiante
- la fréquence d'ouverture de la porte
- la quantité de denrées stockées
- l'emplacement de l'appareil.
Fast Freeze Fonction
Pour congeler des aliments frais, vous devez activer la fonction Fast Freeze.
Appuyez sur la touche Fonctions (plusieurs fois, si nécessaire) jusqu'à ce que le symbole correspondant apparaisse.
Cette fonction s'arrête automatiquement au bout de 52 heures.
Il est possible de désactiver la fonction à n'importe quel moment en appuyant sur la touche Fonctions (reportez-vous au chapitre "Fonctions du Menu").
Alarme température excessive
Une augmentation de la température dans le compartiment congélateur (par exemple lors d'une coupure de courant) est indiquée par :
• le clignotement de la température
- le clignotement du compartiment congélateur (Indicateur d'alarme porte ouverte)
- l'éclairage rouge de l'afficheur
- le déclenchement d'une alarme sonore
• le symbole d'alarme.
Une fois rétablies les condition normales de fonctionnement, vous noterez ce qui suit :
• le signal sonore s'éteint
- la température clignote
- l'afficheur reste allumé en rouge.
Pour désactiver l'alarme, appuyez sur la touche Fonctions. La température maximum régnant dans le compartiment apparaît sur l'afficheur 88 pendant quelques secondes.
A ce stade, l'afficheur passe d'un affichage clignotant à un affichage fixe et change de couleur : il devient blanc.
Alarme porte ouverte
Une alarme sonore se déclenche si la porte est restée ouverte pendant plus de 1 minute. Les conditions d'alarme porte ouverte sont signalées par :
- le clignotement de l'indicateur d'alarme porte ouverte
- l'éclairage rouge de l'afficheur
- le déclenchement d'une alarme sonore.
Pour désactiver l'alarme sonore, appuyez sur la touche Fonctions.
Au rétablissement des conditions normales (porte fermée), l'alarme sonore s'arrête.
Première utilisation
Nettoyage intérieur
Avant d'utiliser l'appareil pour la première fois, nettoyez l'intérieur et tous les accessoires internes avec de l'eau tiède savonneuse pour supprimer l'odeur caractéristique du "neuf" puis séchez soigneusement.
Important N'utilisez pas de produits abrasifs, poudre à récurer, éponge métallique pour ne pas abîmer la finition.
Utilisation quotidienne
Congélation d'aliments frais
Le compartiment congélateur est idéal pour congeler des denrées fraîches et conserver les aliments surgelés ou congelés pendant longtemps.
Pour congeler des aliments frais, activez la fonction Fast Freeze 24 heures avant d'introduire les denrées fraîches.
Placez les denrées fraîches à congeler dans le troisième compartiment.
La quantité maximale de denrées que vous pouvez congeler par 24 heures est spécifiée sur la plaque signalétique, petite étiquette située à l'intérieur de l'appareil.
Le temps de congélation est de 24 heures : aucune autre denrée à congeler ne doit être ajoutée pendant cette période.
Au bout de 24 heures, une fois le processus de congélation terminé, revenez à la température requise (voir "Réglage de la température").
Conservation des aliments congelés
À la mise en service ou après un arrêt prolongé, placez le thermostat sur la position Max pendant 2 heures environ, avant d'introduire les produits dans le compartiment.
Important En cas de dégivrage accidentel, dû par exemple à une panne de courant, si la panne doit se prolonger plus longtemps qu'il n'est indiqué à la rubrique "temps d'augmentation" dans la section
Caractéristiques techniques, consommez les aliments décongelés le plus rapidement
possible ou recongelez-les après les avoir cuits (une fois refroidis).
Guide de congélation

text_image
1-2 3-4 3-6 3-6 3-6 3-6 10-12 10-12 10-12 10-12Les symboles indiquent différents types d'ali-ments congelés.
Les numéros indiquent les temps de conservation en mois correspondant aux différents types d'aliments congelés. La validité du temps de stockage maximum ou minimum indiqué dépend de la qualité des aliments et de leur traitement avant la congélation.
La décongélation
Les aliments surgelés ou congelés peuvent être décongelés dans le compartiment réfrigérateur ou à température ambiante, avant d'être utilisés, en fonction du temps disponible pour cette opération.
Les petites pièces peuvent même être cuites sans décongélation préalable : dans ce cas, la cuisson est plus longue.
Cet appareil est équipé d'un ou de plusieurs bacs à glaçons. Remplissez d'eau ces bacs et mettez-les dans le compartiment congélateur.
Important N'utilisez pas d'instruments métalliques pour décoller les bacs du congélateur.
Conseils
Conseils pour la congélation
Pour obtenir les meilleurs résultats, voici quelques conseils importants :
- l'identification des emballages est importante : indiquez la date de congélation du
produit et respectez la durée de conservation indiquée par le fabricant.
- Les glaçons consommés dès leur sortie du congélateur peuvent évnetuellement provoquer des brûlures ;
- les aliments maigres se conservent mieux et plus longtemps que les aliments gras ; le sel réduit la durée de conservation des aliments ;
- ne laissez pas des aliments frais, non congelés, entrer en contact avec des aliments déjà congelés afin d'éviter que la température de ces derniers n'augmente ;
- enveloppez les aliments dans des feuilles d'aluminium ou de polyéthylène et assurez-vous que les emballages sont étanches ;
- préparez les aliments en petites portions pour une congélation rapide et uniforme et de façon à pouvoir décongeler par la suite uniquement la quantité nécessaire ;
- congelez seulement des aliments de qualité supérieure et frais, après les avoir soigneusement nettoyés ;
- le temps de congélation est de 24 heures. Aucune autre denrée à congeler ne doit être ajoutée entre-temps ;
- L'identification des emballages est importante : indiquez la date de congélation du
Entretien et nettoyage

Attention débrancher l'appareil avant toute opération d'entretien.

Cet appareil contient des hydrocarbures dans son circuit réfrigérant : l'entretien et la recharge ne doivent donc être effectués que par du personnel autorisé.
Nettoyage périodique
Cet appareil doit être nettoyé régulièrement :
- nettoyez l'intérieur et tous les accessoires avec de l'eau tiède savonneuse.
- vérifiez régulièrement les joints de porte et nettoyez-les en les essuyant pour éviter toute accumulation de déchets.
- rincez et séchez soigneusement.
Important Ne pas tirer, déplacer ou endommager les tuyaux et/ou câbles qui se trouvent à l'intérieur de l'appareil.
Ne JAMAIS utiliser de produits abrasifs ou caustiques ni d'éponges avec grattoir pour nettoyer l'intérieur de façon à ne pas l'abîmer et laisser de fortes odeurs.
Nettoyer le condenseur (grille noire) et le compresseur situés à l'arrière de l'appareil avec une brosse ou un aspirateur. Cette opé- produit, et respectez la durée de conservation indiquée par le fabricant.
Conseils pour la conservation des produits surgelés et congelés du commerce
Pour une bonne conservation des produits surgelés et congelés, vous devez :
- vous assurer qu'ils ont bien été conservés au magasin ;
- prévoir un temps réduit au minimum pour leur transport du magasin d'alimentation à votre domicile ;
- éviter d'ouvrir trop souvent la porte du congélateur et ne la laisser ouverte que le temps nécessaire.
- une fois décongelés, les aliments se détériorent rapidement et ne peuvent pas être recongelés.
- respecter la durée de conservation indiquée par le fabricant.
ration améliore les performances de l'appareil et permet des économies d'énergie.
Important Attention à ne pas endommager le système de réfrigération.
De nombreux détergents pour la cuisine recommandés par les fabricants contiennent des produits chimiques qui peuvent attaquer/endommager les pièces en plastique utilisées dans cet appareil. Il est par conséquent recommandé d'utiliser seulement de l'eau chaude additionnée d'un peu de savon liquide pour nettoyer la carrosserie de l'appareil.
Après le nettoyage, rebranchez l'appareil.
Dégivrage du congélateur
Le compartiment congélateur de ce modèle est "sans givre". Cela signifie qu'il n'y a aucune formation de givre pendant son fonctionnement, ni sur les parois internes si sur les aliments.
L'absence de givre est due à la circulation continuelle de l'air froid à l'intérieur du compartiment, sous l'impulsion d'un ventilateur à commande automatique.
En cas d'absence prolongée ou de non-utilisation
Prenez les précautions suivantes :
- débranchez l'appareil
• retirez tous les aliments - dégivrez ^12) et nettoyez l'appareil et tous les accessoires
- laissez la porte/les portes entrouverte(s) pour prévenir la formation d'odeurs désagréables.
Si, toutefois, vous n'avez pas la possibilité de débrancher et vider l'appareil, faites vérifier régulièrement son bon fonctionnement pour éviter la détérioration des aliments en cas de panne de courant.
Que faire si...

Avertissement Avant de résoudre les problèmes, débranchez l'appareil. La résolution des problèmes, non mentionnés dans le présent manuel, doit être exclusivement confiée à un électricien qualifié ou une personne compétente.
Important Certains bruits pendant le fonctionnement (compresseur, système réfrigérant) sont normaux.
| Anomalie Cause possible Remède | ||
| L'appareil ne fonctionne pas. Le voyant ne clignote pas. | L'appareil est éteint. Mettez l'appareil en marche. | |
| La fiche n'est pas correctement | branchée sur la prise de courant. | Branchez correctement la fiche sur la prise. |
| Le courant n'arrive pas à l'appa-reil. | La prise de courant n'est pas alimentée. | Branchez un autre appareil électrique à la prise de courant.Faites appel à un électricien qualifié. |
| Le voyant s'allume. L'appareil ne fonctionne pas cor-rectement. | Faites appel à un électricien qualifié. | |
| Le voyant Alarme cligno-te. | La température du congélateur est trop élevée. | Consultez le paragraphe "Alarme Température excessive" |
| Le compresseur fonction-ne en permanence. | La température n'est pas bien ré-glée. | Sélectionnez une température plus élevée. |
| La porte n'est pas bien fermée. | Consultez le paragraphe "Ferme-ture de la porte". | |
| La porte a été ouverte trop sou-vent. | Ne laissez pas la porte ouverte plus longtemps que nécessaire. | |
| La température du produit est trop élevée. | Laissez le produit revenir à tempé-rature ambiante avant de le ranger dans le congélateur. | |
| La température ambiante est trop élevée. | Réduisez la température ambiante. | |
| La fonction Fast Freeze est acti-vée. | Consultez le paragraphe "Fonction Fast Freeze ". | |
| La température du con-gélateur est trop basse. | Le bouton du thermostat n'est pas bien réglé. | Sélectionnez une température plus élevée. |
| La fonction Fast Freeze est acti-vée. | Consultez le paragraphe "Fonction Fast Freeze ". | |
12) si cela est prévu.
| Anomalie Cause possible Remède | ||
| La température du con-gélateur est trop élevée. | Le bouton du thermostat n'est pas bien réglé. | Sélectionnez une température plus basse. |
| La porte n'est pas bien fermée. | Consultez le paragraphe "Ferme-ture de la porte". | |
| La température du produit est trop élevée. | Laissez le produit revenir à tempé-rature ambiante avant de le ranger dans le congélateur. | |
| Trop de produits ont été intro-duits simultanément. | Introduisez moins de produits en même temps. | |
| Les produits sont trop près les uns des autres. | Stockez les produits de façon à permettre la circulation de l'air froid. | |
| Il y a trop de givre. | Les aliments ne sont pas correctement emballés. | Enveloppez les aliments correctement. |
| La porte n'est pas bien fermée. | Consultez le paragraphe "Ferme-ture de la porte". | |
| Le bouton du thermostat n'est pas bien réglé. | Sélectionnez une température plus élevée. | |
Fermeture de la porte
- Nettoyez les joints de la porte.
-
Si nécessaire, ajustez la porte. Consultez le paragraphe "Installation".
-
Si nécessaire, remplacez les joints défectueux. Contactez le Service Après-vente.
Caractéristiques techniques
| Dimensions de la niche d'encas-trement | ||
| Hauteur 1030 mm | ||
| Largeur 560 mm | ||
| Profondeur 550 mm | ||
| Temps de remontée en tempé-rature | 19 h |
Les caractéristiques techniques figurent sur la plaque signalétique située sur le côté gau-
che à l'intérieur de l'appareil et sur l'étiquette d'énergie.
Installation
Pour votre sécurité et le bon fonctionnement de l'appareil, veuillez lire attentivement les "Consignes de sécurité" avant d'installer l'appareil.
Emplacement
Installez cet appareil à un endroit où la température ambiante correspond à la classe climatique indiquée sur la plaque signalétique de l'appareil :
| Classe climati-que | Température ambiante |
| SN +10 à + 32 °C | |
| N +16 à + 32 °C | |
| ST +16 à + 38 °C | |
| T | +16° à + 43 °C |
Branchement électrique
Contrôlez, avant de brancher l'appareil, si la tension et la fréquence indiquées sur la plaque signalétique correspondent à celles de votre réseau.
L'appareil doit être relié à la terre. La fiche du câble d'alimentation comporte un logement pour mise à la terre. Si la prise de courant murale n'est pas mise à la terre, branchez l'appareil sur une prise de terre conformément aux normes en vigueur, en demandant conseil à un électricien qualifié.
Le fabricant décline toute responsabilité en cas d'incident suite au non-respect des consignes de sécurité sus-mentionnées.
Cet appareil est conforme aux directives communautaires.
Réversibilité de la porte
L'appareil est livré avec l'ouverture de la porte à droite. Si vous voulez que la porte s'ouvre à gauche, conformez-vous aux instructions ci-dessous avant d'installer l'appareil :
- Dévissez et enlevez le pivot supérieur.
- Enlevez la porte.
- Enlevez l'entretoise.
- À l'aide d'une clé, desserrez la tige supérieure.

- Serrez le pivot inférieur.
- Installez l'entretoise.
- Installez la porte.
- Serrez le pivot supérieur.

La circulation d'air derrière l'appareil doit être suffisante.

text_image
min. 200 cm² min. 200 cm²Installation de l'appareil
Attention Veillez à ce que le cordon d'alimentation soit accessible après avoir installé l'appareil.
Procédez comme suit :
- Installez l'appareil dans la niche.
Poussez l'appareil dans le sens des flèches (1) jusqu'à ce que le cache supérieur bute contre le meuble de cuisine.
Veillez à laisser un espace de 44 mm entre l'appareil et le bord avant du placard. Poussez l'appareil dans le sens des flèches (2) contre le placard sur le côté opposé de la charnière. Laissez un espace de 4 mm entre l'appareil et le placard.

- Ajustez l'appareil dans la niche.
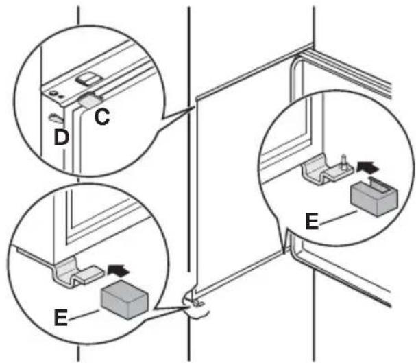
Le cache charnière inférieure (dans le sac d'accessoires) sert à maintenir la bonne distance entre l'appareil et le meuble de cuisine.
Ouvrez la porte. Placez le cache charnière inférieure.

text_image
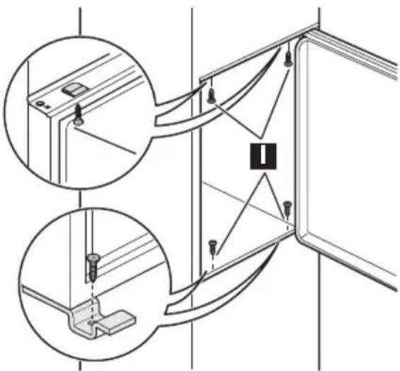
4mm 44mm- Fixez l'appareil à la niche à l'aide de 4 vis.

- Poussez la bande isolante entre l'appareil et le meuble adjacent.

- Enlevez la partie correspondante du cache charnière (E). Veillez à enlever la partie DX, s'il s'agit de la charnière de droite, la partie SX dans le cas contraire.

- Fixez les caches (C, D) aux éléments de fixation et aux orifices de la charnière.
Fixez les caches charnière (E) à la charnière.

- Détachez les pièces (Ha), (Hb), (Hc) et (Hd).

- Installez la pièce (Ha) sur la face intérieure du meuble de cuisine.

text_image
ca. 50 mm 90° 21 mm 90° ca. 50 mm 21 mm- Poussez la pièce (Hc) sur la pièce (Ha).

text_image
Ha Hc- Ouvrez la porte de l'appareil et la porte du meuble de cuisine à 90°. Insérez le petit carré (Hb) dans la glissière (Ha). Unissez la porte de l'appareil et la porte du meuble et marquez les trous.

- Sortez les supports et plantez le clou (K) à 8 mm du bord extérieur de la porte.

- Placez de nouveau le petit carré sur la glissière et fixez-le avec les vis fournies. Alignez la porte du meuble de cuisine et la porte de l'appareil en ajustant la pièce Hb.

- Appuyez la pièce (Hd) sur la pièce (Hb).

text_image
Hb HdVérifiez enfin que :
- Toutes les vis sont serrées.
- La bande isolante magnétique est fermement fixée à l'armoire.
Important Si la température ambiante est basse (en hiver, par exemple), le joint diminue de taille. La taille du joint augmente lorsque la température ambiante augmente. Vous pouvez utiliser un sèche-cheveux pour que le joint augmente de taille.
En matière de sauvegarde de l'environnement
Le symbole sur le produit ou son emballage indique que ce produit ne peut être traité comme déchet ménager. Il doit être remis au point de collecte dédié à cet effet (collecte et recyclage du matériel électrique et électronique).
En procédant à la mise au rebut de l'appareil dans les règles de l'art, nous préservons l'environnement et notre sécurité, s'assurant ainsi que les déchets seront traités dans des conditions optimum.
Pour obtenir plus de détails sur le recyclage de ce produit, veuillez prendre contact avec
les services de votre commune ou le magasin où vous avez effectué l'achat.
Inhalt
Numéro de téléphone du service après-vente et
des pièces détachées
Pelgrim S.A. Belgique
Zone Industrielle, Keerstraat 1
B-9420 Erpe-Mere
Tél.: (053) 80 62 08
Fax: (053) 80 60 57
Notice Facile