Hyperextension - Vélo d'appartement Maxxus - Notice d'utilisation et mode d'emploi gratuit
Retrouvez gratuitement la notice de l'appareil Hyperextension Maxxus au format PDF.
| Caractéristiques | Détails |
|---|---|
| Type de produit | Vélo d'appartement |
| Dimensions | À préciser selon le modèle |
| Poids maximal utilisateur | À préciser selon le modèle |
| Système de résistance | À préciser selon le modèle |
| Fonctionnalités | Compteur de vitesse, distance, calories |
| Utilisation | Idéal pour l'entraînement cardio et le renforcement musculaire |
| Maintenance | Vérifier régulièrement les vis et les pièces mobiles |
| Sécurité | Utiliser sur une surface plane et stable |
| Garantie | À préciser selon le modèle |
| Accessoires inclus | À préciser selon le modèle |
FOIRE AUX QUESTIONS - Hyperextension Maxxus
Questions des utilisateurs sur Hyperextension Maxxus
0 question sur cet appareil. Repondez a celles que vous connaissez ou posez la votre.
Poser une nouvelle question sur cet appareil
Téléchargez la notice de votre Vélo d'appartement au format PDF gratuitement ! Retrouvez votre notice Hyperextension - Maxxus et reprennez votre appareil électronique en main. Sur cette page sont publiés tous les documents nécessaires à l'utilisation de votre appareil Hyperextension de la marque Maxxus.
MODE D'EMPLOI Hyperextension Maxxus
Defaticamento après l'allenamento
| Index 32 | |
| Consignes de sécurité 33 | |
| Vue d'ensemble de l'appareil et avertissements 34 | |
| Matériel de fixation 34 | |
| Assemblage 35 – 37 | |
| Nettoyage et maintenance 37 | |
| Mise au rebut 37 | |
| Informations d'entrainment 38 | |
| Vue éclatée 39 | |
| Liste des pieces détachées 39 | |
| Garantie 40 |
Contrat de maintenance 41
© 2019 par MAXXUS Group GmbH & Co. Société en commandite
Tous droits réservés
Ce document ne peut etre reproduit, conservedans un systeme de recherche ou transmis en tout ou en partie, sous quelle forme ou parquelque moyen que ce soit, electronique, mecanique, photocopie, enregistrement ou autre, sans l'autorisation ecrite prealable de Maxxus Group GmbH & Co. KG.
La reproduction, y compris sous forme electronique, n'est autorise qu'vec l'autorisation ecrite préalable et directe de MAXXUS Group GmbH & Co. KG. Sous reserve de modifications techniques, de couleurs et d'erreurs.
Avant de commencer à vous entraîner, assurez-vous d'avoir lu le manuel d'utilisation en entier. Une attention particulière doit être accordée aux consignes de sécurité, de maintenance et d'entretien, et d'entrainment.
Assurez-vous également que toute personne utilisant l'appareil d'entraînement se soit familiarisée avec ces consignes.
Conservez ce manuel précieusement. Il comprend des informations relatives au nettoyage et à l'entretien de l'appareil, et à la commande de pieces détachées.
Il est essentiel de suivre toujours soigneusement les consignes de sécurité et de maintenance contenues dans ce manuel.
Une utilisation de cet équipement à d'autres fins que celles prévues, qui sont l'entraînement physique pour adults, peut entraîner un risque d'accident, une atteinte à la santé ou un endommagement de l'appareil, pour lesquels le fournisseur ne pourrait être tenu responsable.
Environnement d'entraînement
- Choisissez un emplacement ajustat pour votre apparéil sportif offrant un espace libre optimal et une sécurité maximale.
Lorsque you choisissez un emplacement, assurez-vous que la capacité de charge du plancher ou du sol est suffisante. - Ne placez pas l'appareil dans une piece fréquement utilisée ou à proximé immediate d'un passage (sorties de secours, portes et couloirs, etc.).
- Voire appareil ne convient pas pour une utilisation en extérieur. Il doit ettre utilisé et range uniquement dans un lieu tempere, sec et propre. L'appareil ne peut etre utilise ou range dans un endroit humide, comme une piscine, un sauna, etc.
Assurez-vous que votre apparéil soit sur un sol fixe, plat et propre, qu'il soit utilisé ou non. Toutinégalité du sol doit être retiree ou compensée. - Afin de protégé les sols fragiles tels que le parquet, le stratifié, le carrelage, etc., il est recommandé de toujours placer un tapis de protection MAXXUS™ sous l'appareil.
- Ne placez pas l'appareil sur une moquette ou un tapis de couleurs claires car les pieds de celui-ci peuvent laisser des traces.
Assurez-vous que vous appeareil ne soit pas en contact avec des surfaces chaudes et qu'il soit place a une distance sure de toute source de chaleur, telle qu'un radiateur, un poele, un four ou une cheminée ouverte.
Consignes de sécurité de la personne lors de l'entrainment
- Il est conseilé d'effectuer une visite Médicale avant de commencer l'entraînement.
- Interrompez immédiatement l'entraînement si vous ressentez un malaise ou des difficultés respiratoires.
- Commencez toujours vos séances par un effort moindre et augmentez progressivement et régulierement l'intensité. Réduisez à nouveau l'intensité vers la fin de votre séance d'entrainment.
Assurez-vous de porter des vêtements et des chaussures adéquates. Veuillez noter que des vêtements larges pourrait se coincer dans les éléments de l'appareil. - Voitre équipement sportif ne peut etree utilise que par une seule personne a la fois.
Vérifiez toujours que vous appeareil est en parfait état avant de commenceraire seance. Ne l'utilise jamais s'il presente une anomalie ou s'il est defectueux.
-若您 n'étés autorisé à effectuer des réparations qu'avçc l'autorisation préalable de notre service de réparation. Vous doivent utiliser exclusivement les pieces de rechange originales. - Les réparations inappropriées et les changements structurels (assemblage de pieces non approvées, désassemblage d' éléments d'origine, etc.) ne sont pas autorisés, car ils pourraient avoir des conséquences négatives sur la sécurité de l'appareil et pourrait être dangereux pour l'utilisateur.
- Voire appareil doit etre nettoy e apres chaque utilisation. Veillez particulierement a nettoyer les impuretes dues à la transpiration ou autres liquides.
Assurez-vous qu'aucun liquide (boisson, transpiration, etc.) n'entre en contact avec l'appareil ou le cockpit, cela pourrait endommager les éléments mécaniques et électroniques. - Notre apparéil d'entrainment n'est pas adapté aux enfants.
- Les tiers, et particulièrement les enfants et les animaux, doivent être tenus à une distance de sécurité raisonnable pendant vos séances d'entrainment.
Vérifiez avant chaque séance si des objets se trouvent sous l'appareil et retirez-les absolument. N'utilise jamais l'appareil si des objets se trouvent dessous. - N'autorisez jamais des enfants à grimper sur l'appareil ou à l'utiliser comme un jouet.
Assurez-vous qu'aucune partie de votre corps ou de celui d'un tiers n'entre en contact avec le mecanisme de mouvement. - Informez les tiers, sur tout les enfants, présents pendant l'entrainment, quils doivent etre conscients des risques potentiels. Particulierement en ce qui concerne I'amplitude des mouvements, lors de I'utilisation de disques ou de blocs de poids.
Vérifiez régulierement (au moins une fois par mois) que tous les éléments (vis, écrous, boulons) sont fixés et sécurisés correctement.
La construction de cet apparéil d'entrainment est basée sur une technologie de pointe et des standards techniques de sécurité modernes. Cet apparéil doit être utilisé exclusivement par des femmes ! Une utilisation extrème, inadaptée et/ou imprévue peut porter atteinte à votre santé !
Toutes les manipulations et interventions sur l'appareil, qui ne sont pas décrites ou expliquées dans ce manuel, peuvent endommager l'appareil d'entrainment oumettre en danger les personnes. Si vous aze des questions ou des doutes, contactez voire revendeur ou le service technique de MAXXUS qui sera heures de vous aider.

ATTENTION :
Une utilisation de cet équipement à d'autres fins que celles prévues peut entraîner un risque d'accident pour l'utilisateur. Suivez attention les instructions et les informations décrites dans ce manuel d'assemblage et d'utilisation. Tenez à l'écart de cet apparéil les enfants et les animaux.
Matériel de fixation

Pierre 12 - boulon à tête hexagonale M10x75 (4)

Pierre 13 - boulon à tête hexagonale M10x65 (2)

Pierre 19 - boulon à tête hexagonale M10x50 (2)

Pierre 14 - boulon à tete hexagonale M8x20 (4)

Pierre 17 - ecrou de serrage M10 (8)

Piece 16 - rondeille 8 (4)

Piece 15 - rondelle 0 10 (16)
Déballez soigneusement toutes les pièces fournies. Ayez quelqu'un pour vous aider, certaines pièces de l'appareil d'entrainment sont lourdes et volumineuses. Vérifiez que toutes les pièces et tout le matériel de fixation (vis, écrous, etc.) ont été livrés, avant de commencer l'assemblage.
Assembliez les pièces avec soin, tout dommage ou défaut survenant en raison d'erreurs commises au moment de l'assemblage ne sont pas couverts par la garantie ou l'assurance. Par conséquent, lisez attentivement les consignes d'assemblage avant de commencer, suivez chaque étape d'assemblage exactement comme décrit et suivez l'ordre d'assemblage comme indiqué. L'assemblage de l'appareil d'entrainment doit être soigneusement réalisé par des adultes uniquement.
Assembliez l'appareil d'entrainment sur un lieu plat, propre et dégagé d'obstacles. 2 personnes sont nécessaires pour effectuer l'assemblage. Veuillez notes que pendant l'assemblage et lorsque vous utilisez des outils, il existe un risque de blessure. Pour cette raison, soyez toujours attentif et précis dans vos gestes, lorsque vous assembliez cet appleil. Portez des gants de travail ou de protection adaptés. Serrez d'abord les vis à la main, pour chaque étape d'assemblage, ensuite vérifie qu'elles sont toutes positionnées correctement. Les écrous de serrage doivent toujours être serrés à la main, pour commencer, et ensuite à l'aide d'une clé. Veuillez notes que les écrous de serrage sont inutilisables s'ils se détachent, la fonction de serrage ayant subi des dégats. Si les écrous de serrage sont desserrés, ils doivent être remplacés. L'entrainment ne peut commencer qu'une fois l'appareil complètement assemblé.
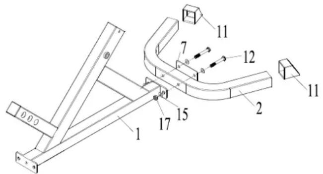
Assemblage - étape 1 :
Insérez les deux capuchons (11) aux extrémités du socle courbé (2). Utilisez deux boulons à tête hexagonale M10x75 (12), quatre rondelles M10(15) et deux écrous de serrage M10 (17), pour fixer la plaque de renfort (7) sur le socle courbé (2) au support avant du support principal (1).

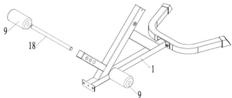
Assemblage - étape 2 :
Faites glisser le tube en mousse (18) à travers l'un des trois trous du support principal (1) (vous可以选择 de la taille de votre corps et peut être réglé à tout moment). Ensuite, faites glisser l'un des deux rouleaux en mousse (9) dans chacune des extrémités du tube en mousse (18).

Assemblage
Assemblage - étape 3 :
Insérez un capuchon (11) dans chaque extrémité du socle avant (3).

Assemblage - étape 4 :
Fixez le repose-pied (4), en utilisant deux boulons à tête hexagonale M10x50 (19), quatre rondelles M10 (15) et deux écrous de serrage M10 (17), au support inclé sur le socle avant (3).

Assemblage - étape 5 :
Fixez le socle avant (3) au support arrière du support principal (1) en utilisant la plaque de renfort (7), deux boulons à tête hexagonale M10x75 (12), quatre rondelles M10 (15) et deux écrous de serrage M10 (17).

Assemblage - étape 6 :
Fixez le cadre du guidon (6) au support supérieur du support de réglage (5) en utilisant la plaque de renfort (7), deux boulons à tête hexagonale M10x65 (13), quatre rondeilles M10 (15) et deux écrous de serrage M10 (17).

Assemblage - étape 7 :
Fixez les deux coussins (8), en utilisant deux boulons à tête hexagonale M8x20 (14) et quatre rondelles M8 (16), aux supports du cadre du guidon (6).

Assemblage - étape 8 :
Insérez les supports régables (5) dans le tube de guidage du support principal (1) et réglez-les à la taille désirée, en utilisant la goupille rapide (10). Pour ce faire, tournez doucement la goupille (10) et tirez-la vers l'extérieur. Réglez à la hauteur désirée et relâché z la goupille. Enfin, resserrez la goupille rapide.
ATTENTION:
Assurez-vous que, avant chaque entrainement, la goupille rapide est correctement positionné et serrée.

Entretien et nettoyage
Nettoyage :
Nettoyez l'appareil après chaque entrainement avec un chiffon humide et du savon. Ne pas utiliser de solvent. Un nettoyage régulier aide à maintainir votre apparéil en bon état et contribue à allonger sa durée de vie.
Les dommages causés par la transpiration du corps et d'autres liquides ne seront enaucun cas couverts par la garantie.
Maintenance :
Contrôle des fixations
Vérifiez au moins une fois par mois la fixation des vis et des écrous, et serrez-les, si nécessaire.
Mise au rebut
Cet apparéil est recyclable. À la fin de son cycle de vie, vous doivent vous en débarrasser correctement. Ne mettez pas votre apparéil d'entrainment au rebut avec les ordures menagères ordinaires.
Veuillez porter vore appareil à la décharge communale ou le confier à un service de mise au rebut certifié.
Respectez les directives en vigueur. En cas de doute, renseignez-vous dans votre mairie sur une mise au rebut de votre apparéil appropriée et conforme aux impératifs écologiques.
Préparation avant l'entrainment
Avant de commencer l'entrainment, assurez-vous non seulement que votre apparéil d'entrainment est en parfait état, mais aussi que votre corps est pré à s'entrainer. Si vous n'avez pas fait d'entrainment d'endurance depuis un moment, vous devriez consulter toute médecin traitant et subir un bilan de santé. Discutez aussi avec lui de toute objectif d'entrainment, il peut vous donner des informations et conseils précieux. Cela concerne particulièrement les personnes âgées de plus de 35 ans, en surpoids et qui doivent des problèmes de cœur ou cardio-vasculaires.
Programme d'entrainment
L'essentiel pour un entrainment efficace, orienté vers des objectif précis et motivant, est d'avoir un programme prévisionnel. Programmez votre entrainment comme partie intégrante de votre quotidien. Si vous n'vez pas de programme bien définit, l'entrainment peut rapidement devenir une nuisance ou être continuèlement reporté pour d'autres raisons.
Si possible, créez un programme mensuel à long terme et pas seulement jour après jour ou semaine après se-maine. Un programme d'entrainment doit être aussi suffisamment motivant et amusant pendant les séances. Regarder la télévision pendant l'entrainment est un moyen idéal de se distraître, par les images et par le son. Assurez-vous également de vous récompenser et établissez des objectifs réalisistes, comme perdre 1 ou 2 kg en quatre semaines ou augmentez le temps d'entrainment de 10 minutes par séance. Si vousatteignez vos objectifs, alors récompensez-vous, par exemple, avec un bon repas.
Echauffement avant l'entraînement
Echauffez-vous sur votre apparéil d'entrainmentpendant 3 à 5 minutes, avec une résistance minimale, afin de préparer votre corps pour l'effort à partir.
Décrassage après l'entraînement
Ne descendez jamais de votre apparéel d'entrainment immEDIATement après avoir terminé votre séance. De même que pour l'échauffement, effectuez un décrassage de 3 à 5 minutes avec une résistance minimale. ÀpRES l'entrainment, étirez vos muscles complètement.
Hydratation
Hydratez-vous suffisamment avant et pendant l'entrainment. Pendant une séance d'entrainment de 30 minutes, il est possible de perdre jusqu'à 1 litre d'eau. Pour compenser cette perte, vous pouvez boire un mélange composé d'un tiers de jus de pomme et de deux tiers d'eau pour replacer les electrolytes et les mineraux que votre corps perd par la transpiration. 30 minutes avant de débuter votre entrainment, buvez environ 330ml de liquide. Assurez-vous de boire suffisamment pendant l'entrainment.
Fréquence d'entraînement
Les experts recommend de faire des entrainements d'endurance 3 à 4 jours par semaine pour maintainir votre système cardiovasculaire en bonne santé. Bien sur, vous atteindre vos objectifs d'entrainment plus rapidement, si vous vous entraînez plus régulièrement. Prévoyez suffisamment de pauses dans votre programme d'entrainment pour donner le temps à votre corps de recupérer et de se regénérer. Àpres chaque séance d'entrainment, prenez au moins un jour de repos. La règle du « moins on en fait, mieux c'est » s'applique même à la remise forme et aux entrainements d'endurance!
Carnet d'entrainment
Pour élaborer et évaluer votre entrainment de façon optimisée et efficace, il est conseilé de préparer un programme d'entrainment par écrit ou en créé un tableau sur toute ordinateur. Consignez les données de vos séances d'entrainment, telles que la distance parcourue, le temps d'entrainment, la résistance et le rythme cardiaque. Notez également les données personnelles, par ex. le poids, la pression arterielle, le rythme cardiaque au repos (mesuré le matin juste après le réveil) et le bien-être personnelpendant l'effort.
Voici une proposition de programme hebdomadaire.
Listedespiecesdetachées
| Pièce N. Description Qté | |
| 1 Main Support 1 | |
| 2 Bent Base 1 | |
| 3 Front Base 1 | |
| 4 Foot Plate 1 | |
| 5 Adjustable Support 1 | |
| 6 Handlebar 1 | |
| 7 Reinforcement Plate 3 | |
| 8 Cushion 2 | |
| 9 Foam Roller 2 | |
| 10 Fast Pin 1 |
| Pierre N. Description Qté | ||
| 11 End | Cap 4 | |
| 12 Bolt | M10x75 4 | |
| 13 Bolt | M10x65 2 | |
| 14 Bolt | M8x20 4 | |
| 15 Washer 10 | 16 | |
| 16 Washer 8 | 4 | |
| 17 Lock Nut M10 | 8 | |
| 18 Foam tube | 1 | |
| 19 Bolt M10x50 2 | ||
Pour que le service clientèle de MAXXUS® puisse vous aider aussi vite que possible, nous aurons besoin de certaines informations au sujet de vous et de votre apparéil d'entraînement. Pour才知道 les pieces de rechange adaptées, nous aurons besoin du nom du produit, de la date de l'achat et du nombre de série. Nous vous invitons à visiter notre rubrique Service sur le site www.maxxus.com pour plus d'informations.
Si necessaire, veuillez remplir le formualer du Contrat de service joint au present Manuel d'utilisation ou disponible en ligne.
Zones d'utilisation et périodes de garantie
Selon le modele, les appeareils d'entrainement de MAXXUS® sont adaptés à une utilisation dans différentes zones. Trouvez la zone adaptée à l'utilisation de votre apparéil d'entrainement, à partir des «données techniques» de ce manuel d'utilisation.
Usage domestique :
Uniquement pour un usage personnel
Période de garantie : 2 ans
Usage semi-professionnel :
Utilisation, selon les instructions, dans les hotels, les cabinets de physiotherapie, etc. L'utilisation dans une salle de gym ou un établissement similaire est strictement interdit!
Période de garantie: 1 an
Usage professionnel :
Utilisation dans une salle de gym ou un établissement similaire, sous la supervision d'un entraineur personnel.
Période de garantie: 1 an
L'utilisation de votre apparéil d'entrainment dans une zone non appropriée entraînera l'extinction immédiate de sa garantie et annulera votre droit à revendiquer la garantie !
L'usage personnel exclusif et la période de garantie de 2 ans supposent que la facture d'achat est établie pour l'utilisateur final.
Preuve d'achat et numero de série
Pour réclamer vos croit de bénéficier de notre service durant la période de garantie, nos demanders dans tous les cas une preuve d'achat. Conservez vos preuve ou facture d'achat en lieu sur et en cas de recours à la garantie, envoyez-nous une copie en même temps que vos Contrat de service. Cela nous permettra d'engager notre service aussi vite que possible. Pour pouvoir identifier quelle version du modele nécessite d'être réparé correctement, nos vous demanders : le nom du produit, le numero de série et la date d'achat.
Termes et conditions de garantie :
La période de garantie de votre apparéil d'entrainment débute à la date de l'achat et s'applique uniquement aux produits qui ont été achété directement auprès de MAXXUS Group GmbH & Co. KG ou auprès de l'un des distributeurs partenaires, certifié directement par MAXXUS Group GmbH & Co. KG.
La garantie couvreet les defauts de production et de materiel, et s'applique uniquement aux apparreils achetés en Allemagne. La garantie ne s'applique pas aux dommages ou defauts causés par une utilisation inappropriée et coupable, une négligence ou une destruction délibérée, un manque ou une insuffisance dans l'entretien et/ou le nettoyage, la force majeure, l'utilisation et l'usure normale, les dommages causés par la pénétration de liquides, des réparations ou des modifications faites avec des pieces de rechange d'un autre fournisseur. La garantie ne s'applique pas aux dommages dus à une erreur d'assemblage ou qui apparaissent à cause d'une erreur d'assemblage. Certaines pieces sont s'user pendant l'utilisation ou du fait de l'usure normale. Cela comprend, par exemple :
Roulements à billes • Coussinet de palier • Roulements • Courroies d'entrainment
- Interrupteurs et touches - Tapis roulants (tapis de course) - Plateforme de course (tapis de course) - Rouleaux Les signes d'usure sur les pieces usées ne font pas partie des éléments couverts par la garantie.
Pour obtenir l'aide du service de garantie ou pour des demandes de réparation sous garantie pour des appareils ne se trouvant pas en Allemagne, veuillez contacter notre SAV à MAXXUS Group GmbH & Co KGM, en envoyant un email à : service@maxxus.de et nous serons ravis de vous aider.
IMPORTANT :
Veuille mentionner le nom du produit,Vote nom et voyage adresse postale,et un numero de telephone auquel nous pouvons
vous contacter.
Service en dehors de la garantie et commande de pieces de rechanges
Le service client de MAXXUS® est heures de vous assister pour résoudre les problèmes liés aux defaults qui pouraient appar-. raître après l'expiration de la période de la garantie ou dans les cas de defaults non couverts par la garantie.
Dans ce cas, veuillez nous contacter par email à cette adresse :
service@maxxus.de
Les commandes pour des pieces de rechange ou usées doivent être envoyées, accompagnées des informations sur le nom du produit, la description et le nombre des pieces de rechanges, et la quantité requise, à l'adresse suivante :
spareparts@MAXXUS.de
Veuillez noter que le matériel de fixation, tel que les vis, les boulons, les rondelles, etc. n'est pas fournis dans la livraison de pieces détachées. Il doit être commandé séparément.
MAXUS
Informations sur le produit
Nom du produit : Hyperextension
Catégorie de produit : Machine de musculation
Nombre de série :
Numero de facture :
Date d'achat :
Lieud'achat:
Accessoires:
Domaine d'utilisation :
Usage domestique
□ Usage commercial
Detalls personnel
Entreprise :
Interlocuteur:
Prénom :
Nom :
Rue :
Numero:
Code postal / ville :
Pays :
E-Mail:
Tel.:
Mobile*:
Fax.*:
*Ces informations sont optionnelles ; tous les autres champs d'information sont obligatoires et doivent etre renseignes.
Description du défaut
Veuillez déscrie le défaut de manière concise et aussi précise que possible :
(Par ex. Quand, ou et comment est apparu le défaut, est-ce un problème récurrent, persistant sur une courte/longue durée, au cours de quel genre d'utilisation, etc.).

Je joins une copie de la preuve d'achat / facture / reçu.
Je reconnais avoir pris connaissance des conditions generales de vente de la société MAXXUS® Group GmbH & Co. KG.
Je commande par la presente à la société MAXXUS® Group GmbH & Co. KG d'effectuer les réparations concernant le défaut mentionné ci-dessus.
En cas de garantie, les frais ne me seront pas factures. Les frais de réparation engendrés par un défaut exclu de la garantie des vices matériels me seront factures et doivent être régles immédiatement. En cas de réparations effectuees sur place, notre personnel est autorisé à percevoir les payements. Je confirme cet accord par ma signature.
Date
Lieu
Signature
Veuillez noter que les demandes ne peuvent etre traitees seulement si ce formuale est dument et entierement complete.Assurez-vous de fournir la copie de voire facture d'achat. Veuillez envoyer voire Contrat de maintenance pour dommages a:
- Veuillez affranchir suffisamment - les lettres non affranchies ne pourront malheureusement pas etre acceptees.
** Une soumission par E-Mail n'est possible que par document scanned, représentant la signature originale.
Nous you invitons à utiliser le formulaire «Contrat de maintenance», que you trouvez sous le chapitre «Service», à www.maxxus.com
FRA
MAXUS

Maxxus Group GmbH & Co. KG
Zeppelinstr. 2
D-64331 Weiterstadt
Germany
E-Mail: info@maxxus.com
www.maxxus.com
Notice Facile