Hyperextension - Exercise bike Maxxus - Free user manual and instructions
Find the device manual for free Hyperextension Maxxus in PDF.
User questions about Hyperextension Maxxus
0 question about this device. Answer the ones you know or ask your own.
Ask a new question about this device
Download the instructions for your Exercise bike in PDF format for free! Find your manual Hyperextension - Maxxus and take your electronic device back in hand. On this page are published all the documents necessary for the use of your device. Hyperextension by Maxxus.
USER MANUAL Hyperextension Maxxus
© 2019 by Maxxus Group GmbH & Co. KG
This publication may not be reproduced, stored in retrieval system, or transmitted on whole or in part, in any form or by any means, electronic, mechanical, photocopying, recording, or otherwise, without the prior written permission of MAXXUS Group GmbH & Co. KG. Technical and or color modifications and errors excepted.
| Index 12 | |
| Safety Instructions 13 | |
| Overall View of the Device &Warnings 14 | |
| Fixing Material 14 | |
| Assembly 15 - 17 | |
| Cleaning & Maintenance 17 | |
| Disposal 17 | |
| Training Recommendations 18 | |
| Exploded Drawing 19 | |
| Spare Parts List 19 | |
| Warranty 20 | |
| Service Contract 21 |
© 2019 MAXXUS Group GmbH & Co. KG
All rights reserved / All rights reserved
This publication may not be reproduced, stored in a retrieval system, or transmitted in whole or in part, in any form or by any means, electronic, mechanical, photocopying, recording, or otherwise without the prior written permission of Maxxus Group GmbH & Co. KG.
Errors, colour and technical modification subject to change, reproduction as well as electronic duplication only with written permission of MAXX-US Group GmbH & Co. KG.
Before you start exercising, be sure to read the entire operating manual, especially the Safety Information, the Maintenance and Cleaning Information and the Training Information. Also make sure that anyone else who uses this training device is familiar with this information and observes it. Keep this manual in a safe place as it includes information about maintenance and cleaning and ordering of spare parts.
Always follow the maintenance and safety instructions in this manual very carefully.
This training device may only be used for its specific intended use which is body training for adults. Any misuse can cause risk of possible accident, damage to health or damage to the device for which the Distributor will not assume any liability.
Training Environment
- Select a suitable space for your training device to provide an optimum amount of free space and highest level of safety.
- When selecting a suitable space, make sure that the load capacity of the floor or ground is sufficient
- Do not locate the device in busily frequented rooms or in the immediate vicinity of walkways (emergency exits, doors and passageways etc).
- Your training device is not suitable for outside use and so storage and training can only take place in a temperate, clean dry room. Do not operate or store your training device in wet areas such as in swimming pools, saunas etc.
- Make sure that your training device is kept on flat, hard, clean ground both in operation and at rest. Any uneven surfaces must be removed or made good.
To protect damageable floors such as laminate, tiles etc from being scratched it is recommended always to have a MAXXUS™ floor protection mat under the device. - Do not put this training device on pale or white coloured carpets or rugs as the feet of the device may leave marks.
- Make sure that your training device is kept out of contact with hot surfaces and is kept at a safe distance from any sources of heat e.g. central heating, hot stoves, furnaces, ovens or open fires.
Personal Safety Instructions for Training
You should have a health check carried out by your doctor before you start any training
- Stop training immediately if you feel physically unwell or are experiencing any breathing difficulties.
Always start your training session at a low workload increasing it slowly but steadily throughout. Reduce the workload again towards the end of your training session.
Suitable sports shoes and clothes should always be worn during training sessions. Make sure that loose clothes do not get caught up in the treadmill belt or rollers.
- Your training device is only to be used by one person at a time.
- Check each time before a training session to see if your device is in perfect condition. Never use your training device if it is faulty or defective.
You are only permitted to carry out repairs to the device yourself after having contacted our Service Department and on receipt of explicit permission to do so. Only original spare parts may be used at any time.
- Improper repairs and structural changes (mounting or non-approved parts, disassembly of original components etc) are not permitted as this can have a negative effect on the technical safety of the device and be dangerous for the user.
- Your training device must be cleaned after each use. Remove all dirt including body sweat or any other liquids.
Always make sure that liquids (drinks, body sweat, etc.) do not get onto the device or into the cockpit as this can cause damage to the mechanical and electronic components.
- Your training device is not suitable for use by children.
Third parties, especially children and animals, must be kept at an appropriate safety distance during training.
- Check if there are any items underneath the training device before each training session and remove them without fail. Never use the training device when items are underneath it.
- Do not allow children to use your training device as a toy or climbing frame at any time.
- Ensure that no body parts of your own or of third parties ever come in contact with any of the moving mechanisms.
Inform other persons, especially children, who are present during training that they must be aware of the potential hazards. This is especially true to the range of motion when using weight plates or weight blocks.
- Check at regular intervals (at least once a month) that all components, screws, nuts and bolts are secure and fixed properly.
The construction of this training device is based on state-of-the-art technology and highest modern technical safety standards. This training device is to be used by adults only! Extreme misuse and/or unplanned training can cause damage to your health! All manipulations or interventions on the device not described or explained here can damage the training device or endanger people. If you have any questions or doubts, please contact your dealer or the MAXXUS service team who will be happy to help you.

CAUTION:
This training device is to be used for its specific intended use only. If improperly used there is a risk of injury to the user. Read the assembly and operating instructions carefully and observe all instructions and information. Keep children and pets well away from this training device.
Fixing Materials

Part 12 - hexagon bolt M10x75 (4 pcs)


Part 13 - hexagon bolt M10x65 (2 pcs)
Part 19 - hexagon bolt M10x50 (2 pcs)

Part 14 - hexagon bolt M8x20 (4 pcs)

Part 17 - lock nut M10 (8 pcs)

Part 16 - washer 08 (4 pcs)

Part 15 - washer 0 10 (16 pcs)
Carefully unpack all delivered parts. Have someone there to help you as some of the training device parts are bulky and heavy. Check against the parts and fixing material lists above that all the parts and fixing materials (screws, nuts, etc.) have been delivered before you start with assembly. Assemble the parts carefully as any damages or defects occurring due to mistakes made at the time of assembly are not covered by the warranty or guarantee. Therefore, read through the assembly instructions carefully before you start assembling, follow each assembly step exactly as described and keep to the correct sequence of assembly as instructed. Assembly of the training device must be carried out thoroughly by an adult person only.
Assemble the training device in a location which is level, clean and clear of obstructions. 2 people are required to carry out the assembly. Please note that during assembly work and any time you use tools that there is a possible risk of injury. For this reason, always be careful and thorough in your actions when assembling this device. Wear suitable work or protective gloves. First only tighten the screws for each assembly step by hand and then check that they are all positioned correctly. Lock nuts should always only be hand tightened to start with and then tightened with a wrench. Please note that lock nuts become unusable if they are undone as this causes damage to the locking function. If lock nuts are loosened, they must be replaced with new ones. Training can only start once the training device has been fully assembled.
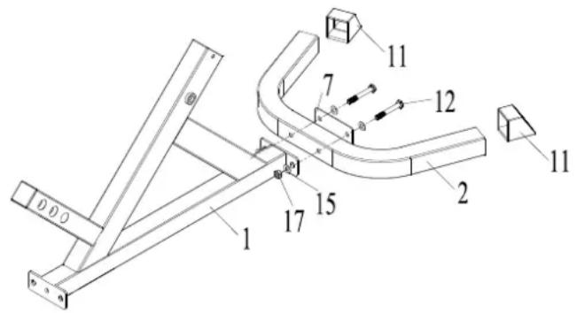
Assembly Step 1:
Push the two end caps (11) onto both ends of the bent base (2). Using two hexagon bolts M10x75 (12), four washers M10(15) and two lock nuts M10 (17), attach reinforcement plate (7) on the bent base (2) to the front mount on the main support (1).

Assembly Step 2:
Slide the foam tube (18) through one of the three holes on the main support (1) – your choice will depend on your body size and can be adjusted at any time to fit. Now slide one of the two round foam rollers (9) onto each end of the foam tube (18).

Assembly
Assembly Step 3:
Slide an end cap (11) onto each end of the front base (3).

Assembly Step 4:
Fix the foot plate (4) using two hexagon bolts M10x50 (19), four washers M10 (15) and two lock nuts M10 (17) to the slanted mount on the front base (3).

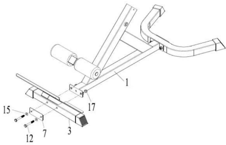
Assembly Step 5:
Fix the front base (3) to the rear mount of the main support (1) using reinforcement plate (7), two hexagon bolts M10x75 (12), four washers M10 (15) and two lock nuts M10 (17).

Assembly Step 6:
Fix the handle bar frame (6) to the top mount of the adjustable support (5) using reinforcement plate (7), two hexagon bolts M10x65 (13), four washers M10 (15) and two lock nuts M10 (17).

Assembly Step 7:
Fix the two cushions (8) using two hexagon bolts M8x20 (14) and two washers M8 (16) to the mounts on the handle bar frame (6).

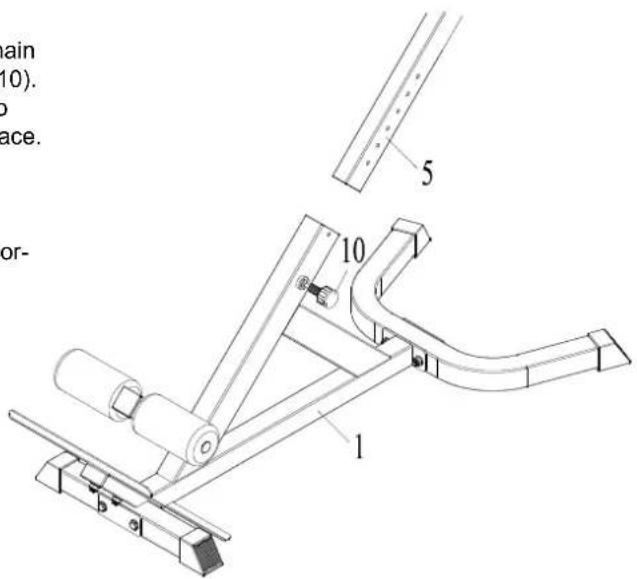
Assembly Step 8:
Insert the adjustable support (5) into the guide tube of the main support (1) and set to the desired height using the fast pin (10). To do this, turn fast pin (10) slightly and pull outwards, set to correct height position and then let go so that it locks into place. Then tighten the fast pin again.
CAUTION:
Make sure before each training session that the fast pin is correctly locked into place and tightened securely.

ENG
Cleaning & Maintenance
Cleaning:
Clean the training device each time after training with a damp cloth and soap. Do not use solvents. Regular cleaning helps to keep your device in good condition and therefore also significantly contributes to the length of its service life.
Damages caused by sweat or other liquids will not be covered in any way by the warranty.
Maintenance:
Checking the Fixing Materials
You must check at least 1 x monthly that the screws and nuts are tightened securely and tighten them if necessary.
Disposal
This device is recyclable. At the end of its service life you must dispose of it properly. Do not dispose the device in the normal household rubbish. Disposethe device at a communal waste disposal facility or at a registered waste disposal company. Observe current regulations which apply accordingly. If in doubt seek advice from your local government office or county council as to where you can dispose of the device properly and in an environ-. mentally sound manner.
Preparation Before Training
Before you start training make sure that not only your training device is in perfect condition, your body must also be prepared for training. Therefore, if you have not done any endurance training for some time, you should consult your GP and undergo a fitness check-up. Also discuss your training target; they will certainly be able to give you valuable advice and information. This applies particularly to people who are over 35, are overweight, have heart or circulatory system problems.
Training Plan
Essential to effective, target orientated, and motivating training is to have a forward-looking training plan. Plan your fitness training as an integral part of your daily routine. If you don't have a fixed plan, training can easily interfere with regular commitments or continually be put off to another unspecified time.
If possible, create a long-term monthly plan and not just from day to day or week to week. A training plan should also include sufficient motivation and distraction during training sessions. An ideal distraction is to watch TV during training as this diverts your attention both visually and acoustically. Make sure that you reward yourself and set realistic targets such as to lose 1 or 2kgs in four weeks or to increase your training time by 10 minutes within two weeks for example. If you reach your targets, then reward yourself with a favourite meal which you have not allowed yourself till then.
Warm-Up Before Training
Warm-up on your training device for 3-5 minutes at minimum resistance. This will best prepare your body for the up-coming exertion in training.
Cool-Down After Training
Do not just get off your training device immediately the training session is finished. Like with the warm-up stage you should continue for 3-5 minutes at minimum resistance to cool down. After training you should stretch your muscles thoroughly.
Intake of Liquids
The intake of sufficient liquids before and during training is vital. During a 30-minute training session it is possible to lose up to 1 litre of liquid. To compensate for this loss, you can drink a mix of one third apple juice to two thirds water to replace all electrolytes and minerals which your body loses through sweat. 30 minutes before you begin training you should drink approx. 330ml . Make sure that you take in enough liquids during training.
Training Frequency
Experts recommend doing endurance training 3 to 4 days a week to keep your heart and circulatory systems fit. You will of course reach your training target quicker if you train more regularly.
Make sure that you allow for sufficient breaks in your training plan to give your body time to recover and regenerate. After each training session you should take at least a one-day break. The rule of "less is often more" even applies to fitness and endurance training!
Training Records
To optimise your training and make it as effective as possible you should work out a training plan, before you start training, which you either write down or create a table for in your computer. Here you should make a record of training session with distance travelled, training time, resistance and pulse rate as well as personal data e.g. body weight, blood pressure, resting pulse (taken in the morning as soon as you awake), and how you feel during the training session.
Here is a recommended weekly plan.
| Calendar Week: _Year: 20_ | |||||||
| Date Exercise | Exercise Sequence 1 Sequence | Sequence 2 Sequence 3 | Sequence 4 Comments | ||||
| __kg__Rep.__kg__Rep.__kg__Rep.__kg__Rep.__kg__Rep.__kg__Rep.__kg__Rep.__kg__Rep.__kg__Rep.__kg__Rep.__kg__Rep.__kg__Rep.__kg__Rep.__kg__Rep.__kg__Rep.__kg__Rep.__kg__Rep.__kg__Rep.__kg__Rep.__kg__Rep.__kg__Rep。 | |||||||
| __kg__Rep.__kg__Rep.__kg__Rep.__kg__Rep.__kg__Rep.__kg__Rep.__kg__Rep.__kg__Rep.__kg__Rep.__kg__Rep.__kg__Rep.__kg__Rep.__kg__Rep.__kg__Rep.__kg__Rep.__kg__Rep.__kg__Rep.__kg__Rep.__kg__Rep。 | Rep. | ||||||
| __kg__Rep.__kg__Rep.__kg__Rep.__kg__Rep.__kg__Rep.__kg__Rep.__kg__Rep.__kg__Rep.__kg__Rep.__kg__Rep.__kg__Rep.__kg__Rep.__kg__Rep.__kg__Rep.__kg__Rep.__kg__Rep.__kg__Rep.__kg__Rep.__kg__Rep. ______kg__Rep.__kg__Rep.__kg__Rep.__kg__Rep.__kg__Rep.__kg__Rep.__kg__Rep.__kg__Rep.__kg__Rep.__kg__Rep.__kg__Rep.__kg__Rep.__kg__Rep.__kg__Rep.__kg__Rep.__kg__Rep.__kg__Rep.__kg__Rep.__kg__Rep.__kg__Rep. ______kg__Reep.__kg__Rep.__kg__Rep.__kg__Rep.__kg__Rep.__kg__Rep.__kg__Rep.__kg__Rep.__kg__Rep.__kg__Rep.__kg__Rep.__kg__Rep.__kg__Rep.__kg__Rep.__kg__Rep.__kg__Rep.__kg__Rep.__kg__Rep.__kg__Rep.__kg__Rep.__kg__rep. | |||||||
Rep. = Repetition

ENG
Spare Parts List
| Part No. | Description Qty | |
| 1 Main | Support 1 | |
| 2 Bent | Base 1 | |
| 3 Front | Base 1 | |
| 4 Foot | Plate 1 | |
| 5 Adjustable Support 1 | ||
| 6 Handlebar 1 | ||
| 7 Reinforcement Plate 3 | ||
| 8 Cushion 2 | ||
| 9 Foam Roller 2 | ||
| 10 Fast Pin 1 | ||
| Part No. | Description Qty | |
| 11 End | Cap 4 | |
| 12 Bolt | M10x75 4 | |
| 13 Bolt | M10x65 2 | |
| 14 Bolt | M8x20 4 | |
| 15 Washer 10 | 16 | |
| 16 Washer 8 | 4 | |
| 17 Lock | Nut M10 | 8 |
| 18 Foam tube | 1 | |
| 19 Bolt | M10x50 2 |
For MAXXUS® Support Team to help you as quickly as possible with service, we will require certain information about your fitness device and about you. To find the exact spare parts required, we will need the product name, date of purchase and serial number.
If necessary, please fill out completely the Service Contract form attached to this User Manual and send it to us by post or you are welcome to use our online form "Service Contract" which you will find under the "Service" section at www.maxxus.com
Areas of Application & Warranty Periods
Depending on the model, fitness devices from MAXXUS® are suitable for use in different areas. Find the appropriate area of use for your fitness device from the "Technical Data" in this User Manual.
Home Use:
Exclusively for private use
Warranty Period: 2 Years
Use under instruction in hotels, physiotherapy practices, etc.
Use in a fitness studio or similar establishment is hereby excluded!
Warranty Period: 1 Year
Professional Use:
Use in a fitness studio or similar establishment under supervision by trained personnel.
Warranty Period: 1 Year
Use of your training device in an area which is not suitable for your device will cause immediate expiry of its guarantee and cancel your right to claim warranty!
Sole private use and warranty period of 2 years assumes that the purchase invoice is made out to the end user.
Proof of Purchase and Serial Number
To claim your right to service works within the warranty period we will in each case require proof of purchase. Keep your proof or purchase or purchase invoice in a safe place and in warranty cases send us a copy together with your Service Contract. This will ensure that we can process the service work as quickly as possible. So that we can identify which model version requires to be serviced correctly, we will require; Product Name, Serial Number and Date of Purchase.
Terms and Conditions of Warranty:
The warranty period for your training device starts on the date of purchase and applies solely to products which were purchased directly from the MAXXUS Group GmbH & Co KG or one of the MAXXUS Group GmbH & Co KG direct and authorised distribution partners.
The warranty covers defects caused by production or material faults and only apply to devices purchased in Germany. The warranty does not apply to damages or defects caused by culpable improper use, negligent or purposeful destruction, lack or failure to carry out maintenance and/or cleaning measures, force majeure, operational causes and to normal wear and tear, damages caused by penetration of liquids, damage caused by repairs or modifications made with spare parts from a different supplier. The warranty also does not apply for damages due to faulty assembly or damages which occur because of faulty assembly. Certain component parts will wear out during use or from normal wear and tear. This includes for example:
Ball bearings Bearing bushings Bearings Drive belts Rollers
- Switches and push Buttons - Treadmill belts (bands) - Treadmill decks (running deck)
Signs of wear and tear on wearing parts are not items covered under the warranty.
For assistance with warranty service or warranty repair enquiries for devices not in Germany, please contact our Service Department at MAXXUS Group GmbH & Co KGM by sending an Email to: service@maxxus.de and we will be happy to help.
Service Outside the Warranty and Ordering Spare Parts
The MAXXUS® Service Team is happy to be of assistance to help solve any problems with faults which may arise following expiry of the warranty period, or in cases of defects arising which are not covered by the warranty.
In this case please contact us by email direct to:
service@maxxus.de
Orders for Spare Parts or Worn Parts should be sent along with information on the Product Name, spare part description and number and the quantity required to:
spareparts@maxxus.de
Please be informed that additional fixing materials such as screws, bolts, washers etc are not included in the scope of delivery for individual spare parts. These should be ordered separately.
MAXXUS
Device Details
Product Name: Hyperextension
Product Group: Back trainer
Serial Number:
Invoice Number:
Date of Purchase:
Where Purchased:
Accessories:
Type of Use:
Private Use
Commercial Use
Personal Details
Company:
Contact Person:
First Name:
Second Name:
Street:
House Number:
Post Code / Town/City:
Country:
E-Mail:
Tel.No.:
Fax.No.*:
Mobile No.*:
- The fields marked with an asterisk are optional. The remaining fields are mandatory fields that must be completed.
Fault Description
Please enter a short description of the error as precisely as possible below:
(For example, when, where and how does the error occur? Frequency, after which period, at what Use, etc....)
A copy of the proof of purchase / invoice / receipt is attached.
□ I accept the General Terms and Conditions of MAXXUS® Group GmbH & Co. KG.
I hereby instruct the company MAXXUS® Group GmbH & Co. KG to repair the above defects. In Warranty cases I will not be charged for the cost. The costs for repairs which are excluded from liability for defects in quality will be charged to me and must be settled immediately. In cases of repairs carried out on site, our staff are entitled to collect payment. This agreement is confirmed with here with my signature.
Date
Location
Signature
Please be aware that contracts can only be processed if this form has been completed in full. Be sure to attach a copy of your purchase invoice. Send the fully completed Service Contract to:
Post*: Maxxus Group GmbH & Co KG, Service Department, Zeppelinstr. 2, 64331 Weiterstadt
Fax: +49 (0) 6151 39735 400
E-Mail**: customerservice@maxxus.com
- Please stamp with sufficient postage – letters which are not sent postage paid will unfortunately not be accepted.
** Submission by E-Mail is only possible as a scanned document with original signature.
You are welcome to use our online form "Service Contract" which you will find under the "Service" section at www.maxxus.com
#
Indice 22
| Semaine N° : | ||||||
| Date Exercise S\uquence 1 S\uquence | S\uquence 3 | S\uquence 4 Commentaires | ||||
| kg_Rep. | kg_Rep. _kg | Rep. _kg | Rep. | |||
| kg_Rep. | kg_Rep. _kg | Rep. _kg | Rep. | |||
| kg_Rep. | kg_Rep. _kg | Rep. _kg | Rep. | |||
| kg_Rep. | kg_Rep. _kg | Rep. _kg | Rep. | |||
| kg_Rep. | kg_Rep. _kg | Rep. _kg | Rep | |||
| kg_Rep. | kg_Rep. _kg | Rep. _kg | Rep. | |||
| kg_Rep. | kg_Rep. _kg | Rep. _kg | Rep. | |||

FRA
EasyManual