Hyperextension - Cyclette Maxxus - Manuale utente e istruzioni gratuiti
Trova gratuitamente il manuale del dispositivo Hyperextension Maxxus in formato PDF.
Domande degli utenti su Hyperextension Maxxus
0 domanda su questo apparecchio. Rispondi a quelle che conosci o fai la tua.
Fai una nuova domanda su questo apparecchio
Scarica le istruzioni per il tuo Cyclette in formato PDF gratuitamente! Trova il tuo manuale Hyperextension - Maxxus e riprendi in mano il tuo dispositivo elettronico. In questa pagina sono pubblicati tutti i documenti necessari per l'utilizzo del tuo dispositivo. Hyperextension del marchio Maxxus.
MANUALE UTENTE Hyperextension Maxxus
Istruzioni di sicurezza 23
Avvertenze e panoramicica dell'attrezzo 24
Materiali per il montaggio 24
Montaggio 25-27
Cura, pulizia e manutenzione 27
Smaltimento 27
Suggerimenti per l'allenamento 28
Disegno esploso 29
Lista componenti 29
Garanzia 30
Contratto di assistenza 31
Prima di iniziare ad allenarsi, assicuratevi di averere letto con cura questo manuale di istruzioni, specificamente lesezioni che riguardano sicurezza, manutenzione e pulizia dell'attrezzo, e i programmi diAllenamento. Assicuratevi inolte che chiunque utilizzi l'attrezzo sua conoscenza di queste informazioni e le osservi durante l'uso.Conservare questo manuale in un luogo sicuro in quanto contiene informazioni utili per la manutenzione e pulizia,e per il riordino di parti di ricambio.
E di estrema importanza seguire attendamente le istruzioni per la riparazione e manutenzione containe nel manuale. Questo attrezzo deve essere usato solo per l'utilizzo per cui è stato progettato, ovvero l'allenamento fisico per persona adulte. Se l'attrezzo viene utilizzato per un uso diverso da quanto indicate, l'utilizzato si espone a rischi per la salute, l'incomità fisica o possibili danni all'attrezzo stesso. Questi casi non sono coperti alla garanzia e il distributore non è legally responsable.
Posizionamento dell'attrezzo
- Scegliere uno spazio adeguato per l'attrezzo in modo da garantire libero accesso e le migliori condizioni di sicurezza.
- Nella scelta del posizionamento, verificare che la superficie di appoggio ed il pavimento siano idonei a sostortare il peso dell'attrezzo.
Non posizionare l'attrezzo in ambienti affollati, ne in corrispondenza di porte, corridoi, passaggi, uscite di emergenza.
L'attrezzo non è progettato per l'uso o il deposito all'aperto, le sessioni di allenamento si devono tenere in ambiente interno, asciutto e pulito. Non è possible l'utilizzo e il deposito dell'attrezzo in ambienti umidi come piscine, saune, ecc. - Assicurarsi che l'attrezzo sia posizionato su una superficie piana, resistente e pulita, sia durante l'uso che in stand-by. In caso di superfici irregulari, correggere il difetto prima di posizionale l'attrezzo.
- É consigilable procurars una copertura per il pavimento (tappeto in tessuto o materiale sintetico) da posizione tanto all'attrezzo per evitare possibili danni a pavimenti delicati come parquet, laminati, piastrelle ecc. Assicurarsi che il tappeto sia anticrivolo. Consigliamo l'uso dei tappetini protettivi MAXXUS.
Non posizionare l'attrezzo su tappeti di colore chiaro in quanti i sostegni possono lasciare traccce e segnii sulla superficie.
Assicurarsi che l'attrezzo non entri in contatto con oggetti caldi, e che venga tenuto ad una distanza di sicurezza da qualiasi fonte di calorie, ad esempio caloriferi, fornelli o fornì da cucina, fiamme libere o caminetti accesi.
Istruzioni per la sicurezza personale durante l'allenamento
- Prima di iniziare ad allenarsi con l'attrezzo, consultare il proprio medico di base per valutare la forma fisica.
- Sospendere immediamente l'allenamento in caso di malessere fisico o qualiasi difficoltà respiratoria.
- Iniziare l'allenamento con ritmo lento per incrementare gradualmente e lentamente lo sforzo. Ridurre lo sforzo gradualmente al termine della sessione.
- Indossare indumenti e scarpe adatte alla corsa. Evitare capi larghi o con pieghe di tessuto che possono impigliarsi nei meccanismi dell'attrezzo.
-L'attezzo devese essereutilizzato dauna persona alla volta. - Prima di anni sessione diallenamento,verificare che l'attrezzo sia in condizioni ottimali.Nonutilizzare in alcun caso la cyclette se danneggiata o guasta.
- Eventuali riparazioni da parte dell'utente vanno preventivamente autorizzate in forma scritta dal nostro Servizio Clienti. Usare solo pezzi di ricambio originali.
Riparazioni eseguite in modo non corretto, o modifiche strutturali come l'aggiunta di parti non originali, o la rimozione di componenti, non sono consentite in quanto possono causare effetti negativi sulla sicurezza dell'attrezzo e rappresentare un rischio per l'utilizzatore. - L'attrezzo va pulito dopo agli utilizzato. Rimuovere accuramente sporcizia e sudore.
Assicurarsi in agli giorni che gli ingranaggi e il pannello di controllo non vengano a contatto con liquidi (sudore, bevande, ecc.) in quanto quosti potrebbero danneggiare componenti elettronici o meccanici.
L'attezzo non è progettato per l'uso da parte di bambini.
Persone, in particolare i bambini, e gli animali, devono essere tenuti ad una distanza di sicurezza dall'attrezzo durante l'allenamento. - Prima di agli sessione di allenamento, assicurarsi che non vi siano oggetti estranei sotto all'attrezzo, er rimuovere eventuali oggetti prontamente. Non utilizzare l'attrezzo se ci sono oggetti sotto la base.
Non consentire mai ai bambini di usare l'attrezzo come gioco o per arrampicarsi sui supporti.
Assicurarsi di non far entrare in contatto nessuna superficie o meccanismo mobile dell'attrezzo con parti del corpo dell'utilizzatore o di altre persone presenti dello stesso ambiente. - Informare le personne presenti, specificamente i bambini, dei potenziali rischi di sicurezza. Questo consiglio è particolarmente valido in caso di allenamento dinamico con manubri o bilanciere.
- Verificare regolarmente (almeno una volta al mese) che tutti i componenti, viti, dadi e bulloni siano fissati saldamente.
Questo attrezzo è progettato ed assemblato in base alla migliorie technologia e standard di sicurezza presenti sul mercato. Questo attrezzo va utilizzato esclusivamente da persone adulte! L'utilizzo non corretto e/o un allenamento non controllato possono causare danni alla salute! Qualsiasi intervento o modifica non riportati in quello manuale possono causare un danno all'attrezzo stesso, o rappresentare un serio rischio di sicurezza per l'utilizzatore. In caso di dubbi o richieste, siete pregati di contattare il rivenditore o il servizio assistenza MAXXUS, e saremo lieti di aiutarvi.

ATTENZIONE:
Questo attrezzo devese usato solo per l'utilizzo per cui è stato progettato. Se l'attrezzo viene utilizzato per un uso diverso da quanto indicato, l'utilizzatore si espone a rischi per la salute, l'incomità fisica o possibili danni all'attrezzo stesso. Leggere con cura questo manuale d'uso ed installmente, e seguire tutte leindicazioni qui riportare. Tenere bambini e animali domestici a distanza dall'attezzzo.
Materiali per il montaggio

Art. 12 - vite a testa esagonale M10x75 (4 pz)

Art. 13 - vite a testa esagonale M10x65 (2 pz)

Art. 19 - vite a testa esagonale M10x50 (2 pz)

Art. 14 - vite a testa esagonale M8x20 (4 pz)

Art. 17 - dato autobloccante M10 (8 pz)

Art. 16 - rondella 08 (4 pz)

Art. 15 - rondella 10 (16 pz)
Disimballare con cura tutte le parti contenute nella confezione. Procurarsi un aiuto in quanto alcuni componenti dell'attrezzo sono pesanti e hanno grande dimensioni. Verificare che tutti i componenti e materiali (viti, dadi, ecc.) per l'assemblaggio siano inclusi nella confezione come da elenco qui sopra. Assemblare tutti i componenti con cura in quanto qualsiasi danno o malfunzionamento dovuto ad un montaggio non corretto non è coperto alla garanzia. Per questo motivo, leggere conattenzione le istruzioni di montaggio prima di procedere, seguire con cura agli passaggio esattamente come descritto, e seguire la sequenza di montaggio. Il montaggio dell'attrezzo deve essere eseguito con cura, ed esclusivamente da parte di persone adulte. Il montaggio dell'attrezzo deve essere eseguito con cura, ed esclusivamente da parte di persone adulte.
Montare l'attrezzo su una superficie piana, pulita e libera da altri materiali. Il montaggio richiede la presenza di due persone. Fare attenzione al rischio di ferite accidentali durante il montaggio dell'attrezzo. Per quello motivo, agire con cautela durante le fasi di montaggio dell'attrezzo, e indossare quanti protettivi. Come primo passo, stringere con poca forza le viti per agli passaggio descritto nelle istruzioni, verificare il corretto posizionamento dei vari componenti, e solo in seguito stringere a fondo ciascuna vite. I dadi autobloccanti vanno inserti a mano e solo in seguito stretti con la chiave in dotazione. I dadi autobloccanti perdono aderenza quando vengono smontati, ed il meccanismo di blocco si deteriorata causando un rischio di sicurezza. In caso di rimozione dei dadi autobloccanti,QUESTI VANNOSOSTITUII con dadi nuovi di iguale specifica. Iniziare gliAllenamenti solo dopo avere completato il montaggio dell'attrezzo.
Passo 1:
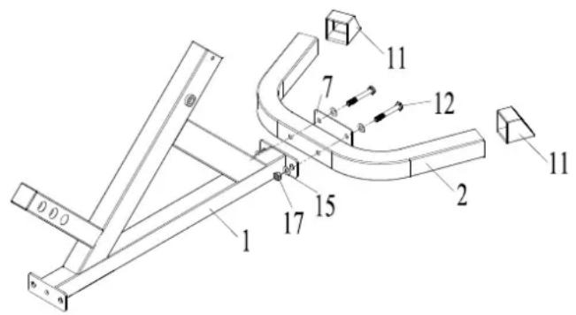
Inserire i due tappi di copertura (11) alle due estremita della base di appoggio ad U (2). Fissare la barra di rinforzo (7) alla base di appoggio ad U (2) e al supporto anteriore della barra principale (1) usando due viti a testa esagonale M10x75 (12), quattro rondelle M10 (15) e due dadi autobloccanti M10 (17).

Passo 2:
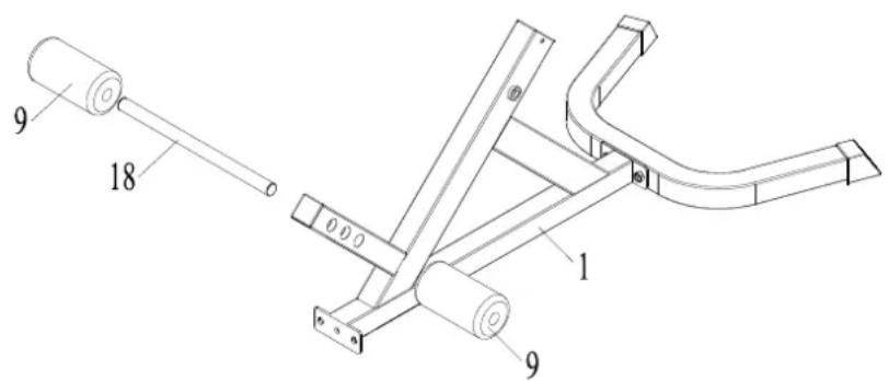
Inserire l'asse per le imbottiture cilindrique (18) atraverso uno dei tre fori presenti sulla barra principale (1), scegliendo in base all'altezza dell'utilizzatore e con la possibilità di modificare in qualsiasi momento il posizionamento. A questo punto, insere un'imbottitura cilindrica (9) su ciascun lato dell'asse (18).

Passo 3:
Inserire i due tappi di copertura (11) alle due estremita della base di appoggio anteriore (3).

Passo 4:
Fissare la base di appoggio per i piedi (4) al supporto inclinato presente sulla base di appoggio anteriore (3) usando due viti a testa esagonale M10x50 (19), quattro rondelle M10 (15) e due dadi autobloccanti M10 (17).

Passo 5:
Fissare la base di appoggio anteriore (3) al supporto della barra principale (1) usinga la barra di rinforzo (7), due viti a testa esagonale M10x75 (12), quattro rondelle M10 (15) e due dadi autobloccanti M10 (17).

Passo 6:
Fissare il telaio dell'impugnatura (6) sul supporto superiore dell'elemento regolabile (5) usingauna barra di rinforzo (7),due viti a testa esagonale M10x65 (13),quattro rondelle M10 (15) e due dadi autobloccanti M10 (17).

Passo 7:
Fissare le due imbottiture (8) ai supporti posti sul telaio dell'impugnatura (6) usando due viti a testa esagonale M8x20 (14) e due rondelle M8 (16).

Passo 8:
Inserire l'elemento regolabile (5) nella guida posta sulla barra principale (1) posizionandolo all'altezza corretta per mezzo del perno di fissaggio rapido (10). Svitare lievamente il perno di fissaggio rapido (10) e tirarlo verso l'esterno, posizionare l'elemento regolabile all'altezza corretta e quindi rilasciare il perno in modo che si incastri automaticamente in posizione. Fissare quindi il perno avvitandolo.
ATTENZIONE:
Prima di anni sessione diallenamento,verificare il corretto positi-zionamento e fissaggio del perno.

ITA
Cura, pulizia e manutenzione
Pulizia:
Pulire l'attrezzo con cura dopo agli sessione di allenamento, using an un panno umido e detergente neutro. Non utilizzato solventi o detergenti aggressivi. Una pulizia regolare contribuisce in modo significativo al corretto funzionamento e a una vita utile più lunga per l'attrezzo.
Eventuali danni provocati dal contatto con liquidi o sudore non sono in alcun caso coperti alla garanzia.
Manutenzione:
Verifica degli elementi di fissaggio
Verificare che le viti, dadi e bulloni siano correttamente saldati almeno una volta al mese, e stringerli se necessario.
Smaltimento
Questo attrezzo e riciclabile. Al termine della vita utile dell'attrezzo, quello va smaltito in conformità con le disposizioni in vigore. Non smaltire l'attrezzo nei rifiuti solidi domestici. Smaltire in discarica comunale o presso ditta certificata per il ritiro e smaltimento. Seguire le norme locali in vigore per lo smaltimento di rifiuti ingombranti. Per informazioni sulle corrente modalità di smaltimento, rivolgersi alle autorità locali oagli ufficiamenti preposti.
Preparazione prima dell'allenamento
Prima di iniziare ad allenarsi, è necessario verificare non solo il corretto funzionamento dell'attrezzo, maanche che il corso si preparato allo sforzo. Per quello motivo, se non vi siete allenati per un lungo periodo, dovreste consultare il vostro medico di base e sottoporvi ad un esame della forma fisica. Discutete con il medico il programma diAllenamento previsto, in modo da ricevere informazioni e consigli utili. Questo sugerimento è particolarmente utile per le persone che hanno più di 35 anni, sono sovrappeso, oppure soffrono di patologie circolatrice o cardiache.
Programma di allenamento
Avere un programma di allenamento a lungo termine è fondamentale per l'efficacia della prestazione fisica, il raggiungimento di risultati apprezabili e una corretta motivazione all'esercizio.
Pianificate gli allenamenti come parte degli impegni quotidiani. In mancanza di un piano prestabilito, l'allenamento spesso alla in confitto con altri impegni, e viene posticipato indefinitamente.
Se possibile, create un programma mensile di allenamento, e non limitatevi a programmare gli allenamenti di giorno in giorno o per singola settimana. Guardare la television durante l'allenamento è un modo ideale per distagliere l'attenzione visiva ed acustica dalso sforzo.
Assicuratevi di ricompensare lo sforzo compiuto per l'allenamento, e di programmare risultati realistici, ad esempio la perdita di 1-2 kg di peso nell'arco di quattro settimane, oppure l'incremento di 10 minuti nella durata dell'allenamento nell'arco di due settimane. Se raggiungete I'obiettivo programmatico, ricompensatevi con un pasto gradito e che non vi siete concessions finora.
Riscaldamento prima dell'allenamento
Riscaldare i muscoli sull'attrezzo per 3-5 minuti con minimo sforzo. Questo prepara i muscoli del corso al meglio per lo sforzo da sostenere nell'altenamento che segue.
Non scendere subito dall'attrezzo al termine dell'allenamento. Come nel caso del riscaldamento, è utile continuare per 3-5 minuti al termine di agli sessione, per un corretto defaticamento a velocità minima. Dopo l'allenamento, fare stretching per tutti i gruppi muscolari coinvolti.
Assunzione di liquidi
L'assunzione di liquidi in quantità adeguata prima e durante l'allenamento è di importanza fondamentale. Durante un allenamento di 30 minuti, è possible perdere fino a 1 litre di liquidi. Per compensare questa perdita, potete bere una bevanda composta per un terzo di succo di melà e due terzi di acqua, che consente di ripristinare elettroliti e minerali dispersi dal corpo con il sudore. 30 minuti prima di iniziare l'allenamento, bere circa 330 ml. Assicurarsi di assumere liquidi in modo adeguato durante l'allenamento.
Frequenza di allenamento
Gli esperti consiglio di allenarsi per incrementare la resistenza 3 o 4 volte a settimana in modo da mantenere il cuore ed ilsystema circolatorio in forma. Se vi allenate più di frequente, ovviamente potrete raggiungere i vostri obietti vi più rapidamente.
Assicuratevi di consentire pause e riposo sufficienti tra un allenamento ed il successivo, in modo che il corpo recuperi correttamente dello sforzo. Dopo agli sessione di allenamento, lasciare passare almeno un giorno prima di allenarsi nuovamente. La regola "Chi va piano va sano e va lontano" si può essere applicare all'allenamento di mantenimento e per incrementare la resistenza fisica!
Registrazione degli allenamenti
Per ottimizzare i risultati degli allenamenti e renderi più efficaci possible, dovreste programmare unAllenamento sistematico, preparando un foglio dove tenere traccia delle sessioni di allenamento, manually o in formato digitale. Segnate per agli allenamento la distanza, durata, resistenza e battiti cardiaci, e indicate anche i vostri dati fisici come il peso, pressione sanguigna, pulsazioni a riposo (misurate al mattino appena svegli), ed eventuali sensazioni fisiche provate durante l'allenamento.
Qui di seguito trovate un esempio di pianificazione settimanale per le sessioni di allenamento.
| Settimana: _ Anno: 20 _ | ||||||
| Data Esercizio Sequenza 1 | Sequenza 2 Sequenza 3 Sequenza 4 Note | |||||
| kg Rip. | ||||||
| kg Rip. | kg Rip. | kg Rip. | ||||
| kg Rip. | kg Rip. | kg Rip. | ||||
| kg Rip. | kg Rip. | kg Rip. | ||||
| kg Rip. | kg Rip. | kg Rip. | ||||
| kg Rip. | kg Rip. | kg Rip. | ||||
| kg Rip. | kg Rip. | kg Rip. | ||||
| kg Rip | kg Rip. | kg Rip. | ||||

ITA
Lista parti di ricambio
| Art. N. Descrizione Qtà | |
| 1 Main Support 1 | |
| 2 Bent Base 1 | |
| 3 Front Base 1 | |
| 4 Foot Plate 1 | |
| 5 Adjustable Support 1 | |
| 6 Handlebar 1 | |
| 7 Reinforcement Plate 3 | |
| 8 Cushion 2 | |
| 9 Foam Roller 2 | |
| 10 Fast Pin 1 |
| Art. N. Descrizione Qtà | ||
| 11 End | Cap 4 | |
| 12 Bolt | M10x75 4 | |
| 13 Bolt | M10x65 2 | |
| 14 Bolt | M8x20 | 4 |
| 15 Washer 10 | 16 | |
| 16 Washer 8 | 4 | |
| 17 Lock | Nut M10 | 8 |
| 18 Foam tube | 1 | |
| 19 Bolt | M10x50 2 | |
Per consentire al Supporto Clienti di MAXXUS® di rispondere rapidamente alle richieste, chiediamo che vengano fornite informazioni personali e sul dispositivo. Inoltre, per fornire le parti di ricambio richieste, è necessario fornire il modello del prodotto, la data di acquisto e il numero di serie.
In caso di necessità, compiling in modo completeness il modulo "Contratto di assistenza" allegato in questo manuale, ed INViate- lo al nostro indirizzo via posta ordinaria o fax, oppure usate il modulo che "Contratto di assistenza" che trovate online nella sezione "Service" del site www.maxxus.com.
Durata e condizione della garanzia
A seconda del modello, gli attrezzi per l'allenamento forniti da MAXXUS® sono destinati ad usi in diversi contesti. Scoprite I'ambito di utilizzo del vostro attrezzo nella sezione "Dati tecnici" compresa nel manuale.
Utilizzo domestico:
Perutilizzatoesclusivoin ambientedomestico/privato
Durata della garanzia: 2 anni
Utilizzo semi-professionale:
Utilizzo consentito in base alle istruzioni presso hotel, studi di fisiotapia ecc.
L'utilizzo in ambiente professionale come un centro fitness, palestra o simile è escluso e non previsto!
Durata della garanzia: 1 anno
Utilizzo professionale:
Utilizzo in un centro fitness, palestra o simile, sotto la supervisione di personale addestrato.
Durata della garanzia: 1 anno
L'utilizzo dell'attrezzo in un'area non idonea causa l'immediata decadenza della garanzia e del vosto diritto di richiedere assistenza in caso di guasti al prodotto!
L'utilizzo esclusivo da parte di privati e il periodo di garanzia di 2 anni prevedono che la fattura di acquisito sia intestata a persona fisica.
Prova di acquireo numero di seri
Per richiedere assistenza in garanzia durante il periodo di validità della stessa, è necessario in agli caso fornire la prova di acquisto del prodotto. Conservate lo scontrino o fattura di acquisto in un luogo sicuro, ed inviatene copia unitamente al "Contratto di assistenza" in caso di richieste di assistenza in garanzia. In quello modo sare possibile procedere con la richiesta di assistenza in tempi rapidi. Per consentirci di identificare il modello e la versione e fornire l'assistenza corretta, serviranno i seguenti dati: modello acquistato, numero di series e data di acquisto.
Termini e condizioni di garanzia:
La durata della garanzia ha effetto a partire alla data di acquisito e si applica unicamente ai prodotti acquistati direttamente da MAXXUS Group GmbH & Co KG oppure da uno dei distributori diretti ed autorizzati di MAXXUS Group GmbH & Co KG.
La garanzia copre i difetti di produzione e dei componenti, e si applica solo per articoli acquistati in Germania. La garanzia non copre danni o guasti dovuti ad uso improprio, causati direttamente per negligenza o di proposito, dovuti a mancata o incorretta manutenzione e/o pulizia, forza maggiore, danni dovuti all'utilizzo o causati alla normale usura, danni causati dal contatto con liquidi, danni causati da riparazioni o sostituzioni di componenti con parti di ricambio non originali. La garanzia inoltre non copre danni dovuti ad un assemblaggio incorretto, o dati che si verificano in seguito ad un assemblaggio incorretto dell'attrezzo. Alcuni componenti si usurano nel tempo per la regolare attività, come ad esempio:
-cuscinetta sfera -boccole dei cuscinetti -cuscinetti
- cinghie di trasmissione - interruptori e pulsanti - nastro del tapis roulant (nastro in gomma)
-base di appoggio del nastro (base per la corsa) -rulli
Segni di normale usura su quosti componenti non sono coperti alla garanzia.
Per assistenza o riparazione in garanzia di attrezzi al di fuori della Germania, siete pregati di contattare il nostro Servizio Clienti presso MAXXUS Group GmbH & Co KGM, inviando una email a: service@maxxus.de e saremo lieti di esservi di aiuto.
IMPORTANT:
Nel contatto via email, per favore includete il nome del prodotto, il vostro nome ed indirizzo, ed un numero di Telefono per potervi richiamare.
Assistenza fuori alla garanzia e ordinazione di parti di ricambio
Il servizio clienti di MAXXUS® è lieto di fornire assistenza per la risoluzione di qualsiasi problema e guasto che si possa presentare dopo la scadenza della garanzia, o in caso di guasti non coperti alla garanzia.
In questo caso siete pregati di contattarci direttamente via email a: service@maxxus.de
Ordini per parti di ricambio o per sostituzione di parti usurate devono essere inoltratiindicando il nome del prodotto, quantità, descrizione e numero identificativo della parte di ricambio ordinata, scrivendo a: spareparts@maxxus.de
Vi informiamo che elementi di fissaggio quali viti, bulloni, rondelle, ecc, non sono ordinabili individualmente, e vanno richieste con ordine separato.
MAXUS
Dettagli del prodotto
Nome prodotto: Hyperextension
Tipodi prodotto:Panca per sollevamento pesi
Numero di serie:
Numero fattura:
Data di acquireo:
Rivenditore:
Accessor:
Tipodiutilizzato:
Utilizzo privato
Utilizzo professionale
Dati personali
Azienda:
Contatto:
Nome:
Cognome:
Indirizzo:
Numero civico:
CAP/Citta:
Nazione:
E-Mail:
Tel.:
Cell*:
Fax.*:
- Questi dati sono facoltativi, tutti gli altri dati sono obbligatori e devono essere essere compilati correttamente.
Descrizione del guasto
Per favore fornite una breve ed accurata descrizione del guasto o problema riscontrato:
(ad esempio, quando, dove e come si è verificato il guasto, con che regolarità, per quanto tempo, e durante che tipo di utilizzo dell'attezzo, ecc...).

Un copia dello scontrino / fattura / prova di acquisto è allegata a questo modulo.
Sono a conoscenza ed approvo le Condizioni Generali di Vendita di MAXXUS® Group GmbH & Co. KG.
Con la mia firma, incarico la ditta MAXXUS® Group GmbH & Co. KG alla riparazione del guasto qui descripto. In caso di riparazione coperta dalla garanzia, non mi sareo addebitato il relative costo. In caso di riparazione non coperta dalla garanzia, il relativo costo mi sareo addebitato e dovra essere saldato a vista fattura. In caso di riparazioni eseguite a domicilio, il personale incaricato è autorizzato a riscuotere il pagamento. Questo contratto è confirmato con la mia firma apposta in calce.
Data
Luogo
Firma
Vi informiamo che i contratti di riparazione e le richieste di intervento vengono accetti solo se completingi in agli Campo. Assicuratevi di allegare una copia della prova di acquisto. Inviate il contratto di assistenza a:
Via posta*: Maxxus Group GmbH & Co KG, Service Department, Zeppelinstr. 2, DE-64331 Weiterstadt, Germania
Fax: +49 (0) 6151 39735 400
E-Mail**: customerservice@maxxus.de
- Inviare con affrancatura adeguata – lettere non affrancate in modo corretto saranno respinte.
** L'invio via email è possible solo per copie firmate in originale e digitalizzate per l'invio.
Per contattarci siete invitati adutilizzare il modulo online "Contratto di assistenza", disponibile nella sezione "Assistenza" sul site www.maxxus.com
ManualeFacile