Hyperextension - Heimtrainer Maxxus - Kostenlose Bedienungsanleitung
Finden Sie kostenlos die Bedienungsanleitung des Geräts Hyperextension Maxxus als PDF.
Benutzerfragen zu Hyperextension Maxxus
0 Frage zu diesem Gerät. Beantworten Sie die, die Sie kennen, oder stellen Sie Ihre eigene.
Eine neue Frage zu diesem Gerät stellen
Laden Sie die Anleitung für Ihr Heimtrainer kostenlos im PDF-Format! Finden Sie Ihr Handbuch Hyperextension - Maxxus und nehmen Sie Ihr elektronisches Gerät wieder in die Hand. Auf dieser Seite sind alle Dokumente veröffentlicht, die für die Verwendung Ihres Geräts notwendig sind. Hyperextension von der Marke Maxxus.
BEDIENUNGSANLEITUNG Hyperextension Maxxus
| Index 2 | |
| Sicherheitshinweise | 3 |
| Geräteübersicht & Warnhinweise 4 | |
| Befestigungsmaterial | 4 |
| Montage | 5 - 7 |
| Pflege, Reinigung & Wartung | 7 |
| Entsorgung | 7 |
| Trainingsempfehlungen 8 | |
| Explosionszeichnung | 9 |
| Teileliste | 9 |
| Gewährleistung | 10 |
| Serviceauftrag | 11 |
Alle Rechte vorbehalten / All rights reserved
Die Verwertung der Texte und Bilder, auch auszugsweise, ist ohne die schriftliche Zustimmung der MAXXUS Group GmbH & Co. KG urheberrechtswidig und strafbar. Dies gilt auch für Vervielfaltung; Mikroverfilmung und die Verarbeitung mit elektronischen Systemen. irrümer, technische und/oder barfliche Änderungen vorbehalten.
Bevor Sie mit der Montage und dem ersten Training beginnen, machen Sie sichitte unbedingt mit der gesamten Bedienungsanleitung, insbesondere den Sicherheitsinformationen, den Wartungs- & Reinigungsinformationen und den Trainingsinformationen vertraut. Sorgen Sie auch davon, dass jeder der these Trainingsgerat nutzt, ebenfalls mit diesen Informationen vertraut ist und diese beachtet. Bewahren Sie die eine Anleitung zur Information, Wartungs- und Reinigungserbeiten oder Ersatzteilbestellungen sorgsam auf.
Halten Sie unbedingt die Wartungs- und Sicherheitsanweisungen dieser Anleitung exakt ein.
Dieses Trainingsgerat darf ausschlieBlich fur seinen bestimmen Einsatz, das heiBt fur das Körpertraining erwachsener Personen genutzt werden.
Eine zweckentfremdete Nutzung ist unzulässig und kann möglicherweise ein Risiko für Unfälle, Schäden der Gesundheit oder die Beschädigungen des Trainingsgerätes bewirken. Der Vertreiber kann nicht für Schäden verantwortlich gemacht werden, die durch eine unsachgemäß und nicht bestimmungsgemäß Handhabung verursucht werden.
Trainingsumgebung
- Wahlen Sie eine Stellfläche, die Ihnen auf allen Seiten des Trainingsgerätes optimalen Freiraum und großmögliche Sicherheit bietet.
- Beachten Sie bei der Auswahr der Stellfläche, das die Belastbarkeit des Bodens bzw. Untergrundes ausreichend ist.
- Achten Sie auf eine gute Belüftung und optimale Sauerstoffversorgung während des Trainings. Zugluft ist hierbei zu vermeiden.
- Als Stellfläche ist ein Bereich in stark frequentierten Räumen bzw. in unmittelbarer Höhe zu Hauptlaufrichtungen (Notausgabe, Türen, Durchgänge, etc.) nicht zulässig.
- Ihr Trainingsgerät ist nicht für eine Nutzung im Freien geeignet, deshalb ist die Lagerung und das Training mit dem Herrem Gerät nur innerhalb temperierter, trockener und sauberer Räume möglich.
- Der Betrieb und die Lagerung Ihres Trainingsgerätes in Nassbereichen, wie z.B. Schwimmbadern, Saunen, etc. ist nicht möglich.
- Achten Sie daraufuf, dass Ihr Trainingsgerät während des Betriebes und im Ruhezustand immer auf einem befestigten, ebenen und sauberen Untergrund stehen. Unebenheiten im Untergrund müssen halten bzw. ausgegliedchen werden.
- Um empfindliche Böden, wie Holz, Lamina, Fliesen, etc. zu schonen und vor Beschädigungen wie Kratzer schützen, empfeht es sich eine MAXXUS™ Bodenschutzmatte dauerhaft unter das Gerät zu legen.
Achten Sie darauf, dass die Unterlage gegen ein mögliches Verrutschen gesichert ist. - Stellen Sie das Trainingsgerät nicht auf helle oderitive Teppichboden oder Teppiche, da die Standfähige des Gerätes abfärben können.
- Achten Sie daraufuf, dass Ihr Trainingsgerät nicht mit bereits Gegenständen in Kontakt kommt und ein ausreichender Sicherheitsabstand zu samslichen Wärmequelle, wie z.B. Hezung, Öfen, offene Kamine, etc. eingehalten wird.
Persönliche Sicherheitschinweise für das Training
- Sie sollen vor Beginn Ihres Trainings einen Gesundheitscheck bei Ihr dem Arzt durchfuhren.
- Bei körperlichem Unwohlsein bzw. Atemproblemen beenden Sie das Trainingsofar.
- Beginnen Sie Ihr Trainingseinheiten immer mit einer niedrigen Belastung und steigern Sie diese im Verlauf Ihr's Trainings gleichmäßig und schonend. Reduzieren Sie gegen Ende ihrer Trainingseinheit die Belastung wieder.
- Achten Sie darauf, dass Sie während des Trainings geeignete Sportbekleidung und Sportschuhe-Tragen.
Beachten Sie, dass weite Kleidungsstücke sich während des Trainings in beweglichen Bauteilen verfangen kann. - Ihr Trainingsgerät kann ausschließlich nur von einer Person gleichzeitig benutzt werden
- Prufen Sie vor jedem Training, ob sich Ihr Gerät in einem einwandfrei zustand befindet. Benutzen Sie Ihr Trainingsgerät niemals, wenn es Fehler oder Defekte aufweist.
- Selfständige Reparaturarbeiten können nur nach Absprache und Genehmigung durch unserer Serviceabteilung und ausgeführten werden. Hierbei dürfen nur Original-Ersatzteile verwendet werden.
- Unsachgemäß Reparaturen und bauliche Veränderungen (Anbau von nicht zulässigen Teilen, Demontage von Original-Bauteilen, etc.) sind nicht zulässig. Hierdurch kann die technische Sicherheit des Gerätes negativ beeinflusst werden und für den Benutzer Gefahren entstehen.
- Ihr Trainingsgerät muss nach jeder Nutzung gereinigt werden. Entfern den Sie insbesondereSAMTliche Verunreinigungen, die durch Körperschweiz oder andere Flüssigkeiten hervorgerufen wurden.
- Ihr Trainingsgerät ist für die Nutzung durch Kinder nicht geeignet.
- Wahlend des Trainings mussen Dritte - insbesondere Kinder und Tiere - einen ausreichenden Sicherheitsabstand einhalten.
- Prufen Sie vor jedem Training ob sich Gegenstände unter Ihrm Trainingsgerat oder dem Trainingsbereich befinden und entfern. Sie diese in jedem Fall. Trainieren Sie niemals mit Ihrm Trainingsgerat, wenn sich Gegenstände darunter befinden.
- Achten Sie immer daraufuf, dass Ihr Trainingsgerät nicht von Kindern als Spielzeug oder Klettergerät zweckentfremdet wird.
- Achten Sie daraufuf, dass Sie und Dritte niemals Körperteile in die Nähe von beweglichen Mechanismen bringen.
- Weisen Sie Personen, insbesondere Kinder, die während des Trainings anwesend sind, auf eine mögliche Gefährung während des Trainings hin. Dies gilt besonderss für den Bewegungsraum von Gewichtsscheiben des Gewichtsf blocks oder von Hantelscheiben.
- Überprüfen Sie in regelmäßigen Abständen (mindestens einmal pro Monat) alle Bauteile und den sicheren Sitz von Schrauben und Muttern.
Die Konstruktion these Trainingsgerätes beruht auf dem aktuellsten technischen und Sicherheitstechnischen Stand.
Dieses Trainingsgerät sollte ausschließlich von erwachenen Personen genutzt werden!
Extremes, falsches und/oder ungeplantes Training kann zu Gesundheitsschäden führen!
Alle hier nicht beschriebenben bzw. erläuternden Manipulationen oder Eingriffe am Gerät können eine Beschädigung des Trainingsgerätes bewirken oder eine Gefährdung für Personen bedeuten.
Bei Fragen oder im Zweifelsfall wenden Sie sichitte an ihren Fachhändler oder das MAXXUS Serviceteam. Diese halten Ihnen-.
gerne weiter.

Warnhinweis :
Benutzen Sie das Trainingsgerät ausschließlich für seinen bestimmen Zweck.
Bei unsachgemäßen Gebrauch besteht die Möglichkeit der Gefährdung des Benutzers.
Lesen Sie ausfuhrlich die Montage- & Bedienungsanleitung und beachten Sie alle Hinweise und Informationen.
Halten Sie Kinder und Haustiere fern von diesen Trainingsgerät.
Befestigungsmaterial

Teil 12 - Sechskantschraube M10x75 (4 Stück)

Teil 13 - Sechskantschraube M10x65 (2 Stück)

Teil 19 - Sechskantschraube M10x50 (2 Stück)

Teil 14 - Sechskantschraube M8x20 (4 Stück)


Teil 17 - Sicherungsmutter M10 (8 Stück)
Teil 16 Unterlegscheibe 8 (4 Stück)

Teil 15/ Unterlegscheibe 0 10 (16 Stück)
Packen Sie alle Teile des Lieferumfanges vorsichtig aus. Greifen Sie hierbei unbedingt auf die Hilfe einer zweiten Person zurück, da eine Bauteile Ihres Trainingsgerätes sperrig und schwer sind.
Überprüfen Sie vor der Montage die Vollständigkeit des Befestigungsmaterials (Schrauben, Muttern, etc.) und der Bauteile anhand der Materialalliste dieser Anleitung.
Führer Sie die Montage sorgsam aus, da Beschädigungen bzw. Mängel, die aufgrund von Montagefehlern entstanden sind, in keinem Fall durch die Gewährleistung bzw. Garantie abgedeckt werden. Lesen Sie deshalb die Anleitung vor der Montage einzel durch, halten Sie die Abfolge der Montageschritte exakt ein und befolgen Sie die Anweisungen der einzelnen Montageschritte.
Die Montage des Trainingsgerätes muss gewissenhaft von erwachsenen Personen durchgeführt werden.
Fuhren Sie die Montage Ihres Trainingsgerät an einem Ort aus, der eben, sauber und frei von, bei der Montage behindernden Gegenständen ist. Fuhren Sie die Montage mit zwei Personen aus.
Beachten Sieitte das bei Montagearbeiten und bei jeder Benutzung von Werkzeugen immer ein mögliches Verletzungsrisiko besteht. Seien Sie daher immer sorgfaltig und umsichtig bei der Montage这点es Trainingsgerätes.
Achten Sie bei den einzelnen Montageschritten darauf, dass Sie vorab alle Teile nur handfest miteinander verschrauben und erst wenn alle Bauteile passgenau sitzen die Schrauben festanziehen.
Erst nach vollständig beendeter Montage Ihres Trainingsgerätes kann mit dem Training begonnen werden.
Montageschritt 1:
Stecken Sie die beiden Endkappen (11) auf die Enden des gebogenen Standrohres (2). Befestigen Sie das gebogene Standrohr (2) mit der Halteplatte (7), zwei Sechskantschrauben M10x75 (12), vier Unterlegscheiben M10 (15) und zwei Sicherungsmattern M10 (17) an der vorderen Aufnahme des Basisrahmens (1).

Montageschritt 2:
Schieben Sie das Rohr (18) durch eine der drei Öffnungen am Basisrahmen (1) - die Wahl der Öffnung hangt von der Körpergroße ab und kann im Nachhinein immer wieder individuell verändert werden. Schieben Sie dann die beiden runden Polster (9) rechts und links auf das Rohr (18).

Montage
Montageschritt 3:
Schieben Sie je eine Endkappe (11) rechts und links auf das Standrohr (3).

Montageschritt 4:
Befestigen Sie die Fußplatte (4) mit zwei Sechskantschrauben M10x50 (19), vier Unterlegscheiben M10 (15) und zwei Sicherungsmuttern M10 (17) an der schrägen Aufnahme des Standrohres (3).

Montageschritt 5:
Befestigen Sie das Standrohr (3) mit der Halteplatte (7), zwei Sechskantschrauben M10x75 (12), vier Unterlegscheiben M10 (15) und zwei Sicherungsmuttern M10 (17) an der hinteren Aufnahme des Basisrahmens (1).

Montageschritt 6:
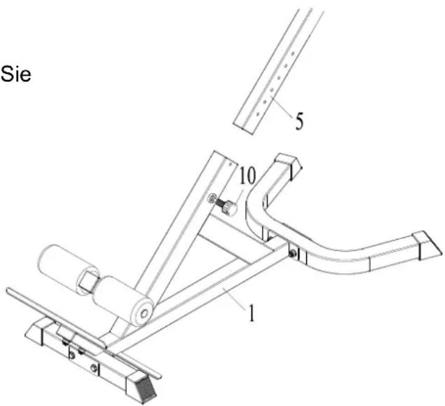
Befestigen Sie den Handgriffrahen (6) mit der Halteplatte (7), zwei Sechskantschrauben M10x65 (13), vier Unterlegscheiben M10 (15) und zwei Sicherungsmuttern M10 (17) an der oberen Aufnahme des Rohres mit Hohenverstellung (5).

Montageschritt
Montageschritt 7:
Befestigen Sie die beiden Ablagepolster (8) mit je zwei Sechskantschrauben M8x20 (14) und zwei Unterlegscheiben M8 (16) am den Aufnahmen des Handgriffrahmens (6)

Montageschritt 8:
Setzen Sie das Rohr mit Höhenverstellung (5) in das Führungsrohr des Basisrahmens (1) ein und fixieren Sie die gewünschte Höhe mit dem Handrad (10). Hierzu das Handrad (10) leicht aufdrehen und nach außenziehen, dann die gewünschte Höhe einstellen, dass Handrad losen{lassen, so das es einrastet und dann fest andreiben.
ACHTUNG:
Vergewissern Sie sich vor jedem Training dass das Handrad korrekt eingerastet fest angezogen ist.

DEU
Pflege, Reinigung & Wartung
Reinigung
Reinigen Sie Ihr Trainingsgerät nach jeder Trainingseinheit. Benutzen Sie hierzu ein feuchtes Tuch und Seite. Verwenden Sie auf keinen Fall Lösungsmittel.
Das regelmäßige Reinigenträgt maßgeblich zum Erhalt und Langlebigkeit Ihres Trainingsgerätes bei.
Beschädigungen, die durch Körperschweiß oder andere Flüssigkeiten entstanden sind, werden in keinem Fall durch die Gewährleistung abgedeckt.
Wartung
Überprüfung des Befestigungsmaterials
Prufen Sie mindestens 1x im Monat den festen Sitz der Schrauben und Mattern. Ziehen Sie diese, falls notig, wieder fest an.
Entsorgung
Dieses Gerät ist recyclebar. Führn Sie esDMAr am Ende seiner Nutzungsdauer einer sachgerechten Entsorgung zu. Entsorgen Sie Ihr Trainingsgerät in keinem Fall über den normalen Hausmull. Entsorgen Sie das Gerät ausschließlich über einen communalen oder zugelassenen Entsorgungsbetrieb. Beachten Sie hierbei die aktuell geltenden Vorschriften. Erkundigen Sie sich im Zweifelsfall bei ihrer Stadt- bzw. Gemeindeverwaltung nach einer sach- und umweltgerechten Entsorgungsmöglichkeit.
Trainingsvorbereitungen
Bevor Sie mit Ihrem Training beginnen muss nicht nur Ihr Trainingsgerät sich in einem einwandfrei Trainingszustand befinden, auch Sie bzw. Ihr Körper sollte ebenfalls für das Training bereit sein. Daher sollen den Sie, wenn Sie seit längerer Zeit kein Ausdauertraining mehr absolviert haben, vor Beginn Ihr's Trainings in jedem Fall ihren Hausarzt konsultieren und ein Fitness-Check-Up durchführren. Besprechen Sie auch mit Ihrem Arzt Ihr Trainingsziel; sicher kann er ihren wertvolle Tipps und Informationen geben. Insbesondere gilt dies für Personen die über 35 Jahre alt sind, Personen die Übergewicht und/oder Probleme mit dem Herz-/Kreislaufsystem haben.
Trainingsplanung
Das A und O für ein effektives, Zielorientiertes aber auch motivierendes Training ist ein vorausschauende Trainingsplanung.
Planen Sie dazu Ihr Fitnessstraining in den normalen Tagesablauf als festen Bestandteil ein. Ungeplantes Training kann sich nern zum Storfaktor werden, oder fur eine andere Aufgabe auf unbestimmte Zeit verschoben werden.
Erstellen Sie diese Planung möglichst langfristig auf Monate bezogen und nicht nur von Tag zu Tag, oder Woche zuWoche. Zur Trainingsplanung gehort auch, dass Sie fur ausreichend Motivation während des Trainings sorgen. Ideal hierzu ist Musik während des Trainings. Sorgen Sie auch fur Trainingsbelohnungen. Setzen Sie sich realistische Ziele, wie zum Beispiel in vier Wcien 1 kg abzunehmen, innerhalb von sechs Wcien das Trainingsgewicht um 10 kg zu steigern, etc.. Wenn Sie thises Ziel dann erreicht haben belohnen Sie sich selbst in dem Sie sich zum Beispiel eine Mahlzeit gonnen, auf die Sie bisher verzuchtet haben.
Warm-Up vor dem Training
Absolvieren Sie ein Warm-U vor jeder Trainingseinheit. Wärmen Sie Ihr Körper auf, in dem Sie 5 - 7 Minuten vor der eigentlichen Trainingseinheit bei geringer Belastung mit einem Heimtrainer, Crosstrainer oder ähnlichem trainieren. So bereiten Sie Ihr Körper optimal auf die bevorstehende Belastung vor.
Cool-Down nach dem Training
Hören Sie nie direkt nach der Beendigung Ihres eigentlichen Trainingsprogramms sofort mit dem Training auf. Lassen Sie,ähnlich wie bei der Aufwärmfphase noch 5 - 7Minuten bei geringer Belastung Ihr Training auf einem Heimtrainer, Crosstrainer, etc. locker auslaufen. Danach sollen den Sie in jedem Fall ihre Muskulatur gut dehnen.
Flüssigkeitszufuhr
Vor und während des Trainings ist eine ausreichende Flüssigkeitszufuhr unerlässlich. Wahrend einer Trainingsheit von 60 Minuten ist es durchaus möglich bis zu 0,5 Liter Flüssigkeit zu verlieren. Um diesen Flüssigkeitsverlust auszugleichen ist Apfelschorle im Mischverhältnis von einem Drittel Apfelsaft und zwei Dritteln Mineralwasser ideal, da sie alle Elektrolyte und Mineralien enthalt und ersetzt, die der Körper über den Schweiß verliert.
30 Minuten vor Beginn ihrer Trainingsinheit sollenn Sie ca. 330 ml trinken. Sorgen Sie während des Trainings für eine ausgewogene Flüssigkeitszufuhr.
Trainingshäufigkeit
Experten empfehlen an 3 bis 4 Tagen in der Wochie ein Krafttraining zu absolvieren. Sicherlich werden Sie Ihr gesetztes Trainingsziel umso Schneller erreichen, je früfiger Sie trainieren. Beachten Sie aber bei ihrer Trainingsplanung ausreichende Trainingspausen einzuplanen, die Ihrkörper genug Zeit zur Erholung und Regeneration geben. Nach jeder Trainingsinheit sollen den Sie mindestens einen Tag pausieren. Auch für das Fitness- und Krafttraining gilt:
Weniger ist of mehr!
Trainingsdokumentation
Um Ihr Training optimal und werkungsvoll gestalten und bewerteten zu konnen, sollen Sie sich vor Beginn Ihres Trainings einen Trainingsplan in schriftlicher Form oder als Computertabelle erstellen.
Hier sollen den Sie≦es Training dokumentieren. Daten, wie zurückgelegte Strecke, Trainingszeit, Bremskrafteinstellung und Pulswerte sollenn ebenso festgehalten werden wie personliche Daten, z.B. Körpersgewicht, Blutdruck, Ruhepuls (am Morgen direkt nach dem Aufwachen gemessen) und des personlichen Befindens während des Trainings.
Anbei finden Sie eine Empfehlung fur einen Wochenplan
| Kalenderwoche: _______ Jahr: 20________ | ||||||
| Datum | Übung 1. Satz | 2. Satz 3. Satz | 4. Satz | Commentare | ||
| __kg__WH | __kg__WH | kg__WH__kg | __WH | |||
| __kg__WH | __kg__WH | kg__WH__kg | __WH | |||
| __kg__WH | __kg__WH | kg__WH__kg | __WH | |||
| __kg__WH | __kg__WH | kg__WH__kg | __WH | |||
| __kg__WH | __kg__WH | kg__WH__kg | __WH | |||

DEU
| Teile-Nr. | Bezeichnung | Menge |
| 1 MAIN | SUPPORT 1 | |
| 2 BEND | BASE 1 | |
| 3 FRONT | BASE 1 | |
| 4 | FOOT PLATE | 1 |
| 5 ADJUSTABLE SUPPORT 1 | ||
| 6 HANDLE BAR 1 | ||
| 7 REINFORCEMENT PLATE 3 | ||
| 8 CUSHION 2 | ||
| 9 | FOAM ROLLER | 2 |
| 10 | FAST PIN | 1 |
| 11 | END CAP | 4 |
| 12 | BOLT M10*75 | 4 |
| 13 | BOLT M10*65 | 2 |
| 14 BOLT M8*20 4 | ||
| 15 WASHER 10 16 | ||
| 16 WASHER 8 | 4 | |
| 17 | LOCK NUT M10 | 8 |
| 18 FOAM TUBE 1 | ||
| 19 | BOLT M10*50 | 2 |
Damit das MAXXUS Group GmbH & Co. KG Service-Team in der Lage ist Ihnen im Servicefall schnell halten zu können, benötigten wir eine Daten von Ihrem Fitnessgerät bzw. von Ihnen. Um Ihr dem Fitnessgerät die exakten Ersatzteile zuorden den zu können, benötigen wir in jeder Fall die Produktbezeichnung, das Kaufdatum und die Seriennummer.
Bitten fullen Sie im Bedarfsfall Serviceauftrag这点es Benutzerhandbuches vollständig aus und senden这点 an uns per E-Mail, Post oder Fax ein. Alternatively konnen Sie auch theirs unser Onlineformular „Serviceauftrag" unter www.maxxus.com im Bereich „Service" nutzen.
Einsatzbereiche & Gewährleistungszeiten
Die Fitnessgeräte von MAXXUS Group GmbH & Co. KG sind je nach Modell für entsprechende Einsatzbereiche geeignet.
Heimbereich - Gewährleistungsduer: 2 Jahre
AusschlieBlich private Nutzung
Semiprofessioneller Bereich - Gewährleistungsdaeuer: 1 Jahr
Nutzung unter Anleitung in Hotels, Krankengymnastik-praxen, etc.
Dieutzung in einem Fitnessstudio, oder einer ahnlichen Einrichtung ist hierbei ausgeschlossen!
Professioneller Bereich - Gewährleistungs dauer: 1 Jahr
Nutzung in einem Fitnessstudio oder einer ähnlichen Einrichtung unter Aufsicht von Fachpersonal.
Bei einerutzung Ihres Trainingsgerat in einem, fur das Trainingsgerat nicht vorgesehen Bereich erlischt gegebenenfalls ein Garantie- oder Gewahrleistungsanspruch! Eine ausschlieblich privateutzung und damit eine Gewahrleistungsduer von 2 Jahren setzt voraus, dass die Rechnung beim Kauf des Gerates auf einen Verbrauchen ausgestellt ist.
Kaufbeleg und Seriennummer
Um ihren Anspruch auf Serviceleistungen innerhalb der Gewährleistung zu wahren, bereitsigen wir von Ihnen in jeder Fall einen Kaufnachweis. Bewahren Sie dazu beschreiben ihren Kauf- bzw. Rechnungsbeleg immer auf und senden Sie uns eine Kopie im Gewährleistungsfall als Anhang Ihres Reparaturauftrags/Schadenmeldung unaufgefordert mit ein. Damit gewährleisten Sie eine schelle Bearbeitung Ihres Servicefalles. Damit wir ihre Modellversion eindeutig identifizieren können, bereitsigen wir für eine Serviceleistung die Angabe des Produktnamens, der Seriennummer und des Kaufdatumss.
Gewährleistungsbedingungen
Die Gewährleistungszeit für Ihr Trainingsgerät beginnt ab dem Kaufdatum und gilt ausschließlich für Produkte die direkt bei der MAXXUS Group GmbH & Co. KG oder einem direkten und autorisierten Vertriebspartner der MAXXUS Group GmbH & Co. KG erworben wurden. Die Gewährleistung umfasst Mängel, die auf Fertigungs- oder Materialfehler berufen. Sie gilt nur für in Deutschland erworbene Geräte. Sie gilt nicht für Schäden und Mängel, die durch schuldchaft unsachgemäßigen Gebrauch, fahrlässige oder mutwillige Zerstörung, mangelnde oder unterlassene Wartungs- und/oder Reinigungsmaßnahmen, höhere Gewalt, betriebsbedingte und dadurch normale Abnutzung, Schäden die durch das Eindringen von Flüssigkeiten, Reparatur oder Veränderung von Ersatzteilen fremder Herkunft verursacht werden. Die Gewährleistung gilt entsprechens nicht für eine fehlerhafte Montage bzw. Beschädigungen die durch eine falsche Montage entstehen. Bestimmte Bauteile unterliegen einem gebrauchsbedingten Verschleib bzw. einer normalen Abnutzung. Zu diesen Bauteilen zahlen zum Beispiel:
- Kugellager - Lagerbuchsen - Lager - Antriebsriemen - Schalter und Tasten - Laufrollen Verschleiberscheinungen an diesen Verschleibeiten sind nicht Gegenstand der Gewährleistung.
Sollte das Trainingsgerät aufgrund einer Reparatur bei ihren abgeholt werden, so ist die Demontage und Bereitstellung, sowie auch der Empfang und die Wiederaufstellung des Gerätes notwendig. Grundsätzlich fallen diese Leistungen nicht unter die Gewährleistungen. Bei Einzelteilen müssen die defekten Teile an unsere Serviceadresse gut verpackt und nach vorheriger Absprache versendet werden.
Serviceleistungen außerhalb der Gewährleistung & Ersatzteilbestellung
Das MAXXUS Group GmbH & Co. KG Serviceteam steht Ihnen selbstverständlich auch frembe bei der Problemlösung zur Verfugung, wenn Fälle eines Mangels nach Beendigung der Gewährleistungen, oder Fälle, die nicht durch die Gewährleistungen abgedeckt werden, auftreten.
In einem solchen Fall wenden Sie sichitte direkt per Email an: service@maxxus.de
Bestellungen über Ersatz- und/oder Verschleibeile senden Sieitte unter Angabe des Produktnamens, der Ersatzteilbezeichnungen, der Ersatzteilnummern und der benotigten Bestellmengen an: service@maxxus.de
Bite beachten Sie, dass zusätzlich benotigtes Befestigungsmaterial, wie Schrauben, Unterlegscheiben, etc. nicht im Lieferumfang der einzelnen Ersatzteilen enthalten ist und separat bestellt werden muss.
Serviceauftrag
Geräte-Daten
Produktname: Hyper Extension Produktgruppe: Kraftgerät
Seriennummer: Rechnungsummer:
Kaufdatum: Wo gekauft
Zubehör:
Nutzungsart
Private Nutzung
Gewerblicheutzung
Persönliche Daten
Firma: Ansprechpartner:
Vorname: Nachname:
StraBe: Hausnummer
PLZ/Ort: Land:
E-Mail: Tel-Nr.:
Fax-Nr.*: Handy-Nr.*:
*Bei den mit Stem markierten Feldern handelt es sich um freiwillige Angaben, die restlichen Felder sind Pflichtfelder, die unbedingt ausgefallt werden müssen.
Fehlerbeschreibung
Bitte tragen Sie nachfolgend eine kurze, möglichst genau Fehlerbeschreibung ein: (Z.B. Wann, wo und in welcher Form tritt der Fehler auf? Häufigkeit, nach welchem Zeitraum, bei welcher Nutzung, etc....)
Die Kopie des Kaufnachweises / Rechnung /Quittung ist beigefugt.
Tch erkenne die Allgemeinen Geschäftsbedingungen der MAXXUS Group GmbH & Co. KG an.
Hiermit beauftrage ich die MAXXUS Group GmbH & Co KG mit der Beseitigung der oben genannten Mängel. Im Gewährleistungsfall entstehen mir dadurch keine Kosten. Reparaturkosten, die durch die Sachmangelhaftung nicht abgedeckt sind, gehen zu unseren Lasten und sind umgehend zu begleichen. Im Falle einer vor Ort-Reparatur sind unsere Mitarbeiter inkassoberechtigt. Mit是我的er Unterschrift bestätige ich diese Vereinbarung.
Datum
Ort Unterschrift
Bitte beachten Sie, dass nur vollständig ausgefüllte Aufträge beareritet werden können. Legen Sieitte unbedingt eine Kopie des Kaufbelegs bei. Senden Sie die vollständig ausgefüllte Reparaturauftrag / Schadensmeldung per...
...Post* an: MAXXUS Group GmbH & Co KG, Service Abteilung, Zeppelinstr. 2, D-64331 Weiterstadt
...Fax an: +49 (0) 6151 39735 - 400
...E-Mail: service@maxxus.de
...Online: Nutzen Sie das Formular „Serviceauftrag" im Bereich „Service" unter www.maxxus.com
*Briefmenteausreichendfarkieren-unfrankierteBriekekonnenleidernichtangenommenwerden!
Index
Semi-Professional Use:
Poste*: Maxxus Group GmbH & Co KG, Service Department, Zeppelinstr. 2, D-64331 Weiterstadt, Allemagne
Fax: +49 (0) 6151 39735 400
E-Mail**: service@maxxus.de
EinfachAnleitung