Lavatherm T 58860 - Sèche-linge AEG-ELECTROLUX - Notice d'utilisation et mode d'emploi gratuit
Retrouvez gratuitement la notice de l'appareil Lavatherm T 58860 AEG-ELECTROLUX au format PDF.
| Caractéristiques | Détails |
|---|---|
| Type de produit | Sèche-linge à condensation |
| Capacité de séchage | 8 kg |
| Classe énergétique | B |
| Niveau sonore | 65 dB |
| Dimensions (HxLxP) | 85 x 60 x 60 cm |
| Poids | 45 kg |
| Programmes de séchage | 10 programmes, dont délicat, coton, synthétique |
| Fonctionnalités supplémentaires | Départ différé, affichage du temps restant, filtre à peluches |
| Entretien | Nettoyage régulier du filtre à peluches et du réservoir d'eau |
| Sécurité | Protection contre la surchauffe, verrouillage enfant |
| Informations générales | Garantie de 2 ans, consommation annuelle d'énergie de 561 kWh |
FOIRE AUX QUESTIONS - Lavatherm T 58860 AEG-ELECTROLUX
Questions des utilisateurs sur Lavatherm T 58860 AEG-ELECTROLUX
0 question sur cet appareil. Repondez a celles que vous connaissez ou posez la votre.
Poser une nouvelle question sur cet appareil
Téléchargez la notice de votre Sèche-linge au format PDF gratuitement ! Retrouvez votre notice Lavatherm T 58860 - AEG-ELECTROLUX et reprennez votre appareil électronique en main. Sur cette page sont publiés tous les documents nécessaires à l'utilisation de votre appareil Lavatherm T 58860 de la marque AEG-ELECTROLUX.
MODE D'EMPLOI Lavatherm T 58860 AEG-ELECTROLUX
Nos you remercions d'avoircision l'un de nos produits de qualite.
Afin de garantir une performance optimale et constante de votre apparéil, veuilles dire attentivement cette notice d'utilisation. Il vous permettra d'utiliser correctement et efficacement toutes les fonctions de l' apparéil. Nous vous recommendons de conserver cette notice à proximé pour une utilisation rapide et optimale. Si l' apparéil nevez été vendu ou cédé à une autre personne, assurez-vous que la notice d'utilisation l'accompagne.
Nous vous souhaitons beaucoup de plaisir avec votre nouvel apparéil.
Sommaire
Notice d'utilisation
Avertissements importants
Environnement
Description de l'appareil
Bandeau de commande
Bandeau de commande 37
Affichage 37
Avant d'utiliser le seche-linge pour la première fois
Tableau des programmes
Utilisation quotidienne
Tri du linge 41
Poids moyendulinge 42
Mise sous tension de l'appareil / de
I'clairage 43
Ouverture de la porte / chargement du
linge 43
Sélection du programme 43
HUMIDITE RESIDUELLE 43
T/MIN 44
Sélection des options complémentaires 44
MINUTERIE 45
DEPART DIFFERE 45
Sécurité des ébants 46
Demarage du programme 46
Modification du programme 46
Retrait du linge 35 47
Entretien et 36
47
Nettoyagles filtrres 47
Nettoyage du joint de porte 49
Vidage du bac d'eau de condensation 49
Nettoyage du condenseur 50
Nettoyage du tambour 51
Nettoyage du bandeau de commandes et de
la carrosserie 51
En cas d'anomalie de fonctionnement ... 51
Réglages de l'appareil 54
Caracteristiques techniques 55
Conseils pour les organismes d'essay 56
Installation 56
Emplacement 56
Retrait des protections de transport 57
Branchements electriques 57
Reversibilité de la porte 57
Accessoires speciaux 59
Maintenance 59
Notice d'utilisation
Avertissements importants

Pour toute personne qui utilise l'appareil connaisse bien son fonctionnement et ses options de sécurité. Conservez ces instructions et transmettez-les en cas de changement de propriétaire, afin que toutes les personnes amènées à utiliser l'appareil soient correctement informées sur son utilisation et les consignes de sécurité à observer.
Sécurité générale
- Il est interdigit de modifier ou d'essayer de modifier les caractéristiques techniques de cet apparéil.
- Cet apparéil n'est pas destiné à être utilisé par des enfants ou des personnes dont les capacities physiques, sensorielles ou mentales, ou le manque d'expérience et de reconnaissance les empêchent d'utiliser l' apparéil sans risque lorsqu'ils sont sans surveillance ou en l'absence d'instruction d'une personne responsable qui puisse leur assurer une'utilisation de l' apparéil sans danger.
Veillez a empêcher vos animaux familiers de se glisser dans le tambour. Pour éviter cela, vérifie l'intérieur du tambour avant chaque utilisation de l'appareil. - Les objets tels que les pieces de monnaie, les épingles de sutureté, les clous, les vis, les cailloux ou tout autre object dur, tranchant, peuvent provoquer d'importants dégats et ne doivent pas être placés dans l'appareil.
- Pour éviter les risques d'incendie dus à un séchage excessif, n'utilise pas l'appareil pour le séchage des pieces de linge suivantes : coussins, oreillers, couvertures matelassées et similaires (ces pieces accumulent la chaleur).
- Les pieces contenant de l'éponce de caoutchouc (mousse de latex), les bonnets de bains, tissus imperméables, articles renforcés de caoutchouc ou vêtements et taies d'oreiller rembours d'éponce de caoutchouc ne doivent pas être séchéés dans un seche-linge.
- Débranche toujours l'appareil après son utilisation, nettoyage et entretien.
- N'essayez enaucun cas de réparer l'appareil vous-meme. Les réparations effectuees par du personnel non qualifié peuvent provoquer des blessures ou le mauvais fonctionnement de I'appareil.Contactez le service après-vente de votre magasin vendeur.Exigez des pieces de rechange certifiées Constructeur.
- Le linge sale, taché d'huile culinaire, d'acétone, d'essence, de kerosène, de produit déta-chant, de térébenthine, de cire ou de decapant pour cire doit être lavé à l'eau chaude avec une plus grande quantité de dessive avant d'être séché dans le sèche-linge.
- Risque d'explosion :ne sechez jamais du linge qui serait entree en contact avec des solvants inflammables (essence, alcohol denature, fluide de nettoyage a sec et similaire). Ils pourraient provoquer une explosion. Ne sechez que du linge lavé à l'eau.
-
Risque d'incendie :le linge taché ou imbibé d'huile végétale ou d'huile culinaire peut être à l'origine d'un incendie et ne doit pas être placé dans le seche-linge.
-
Si le linge a eté lavé avec un produit détachant, effectuez un cycle de rinceage supplémentaire avant de lemettre dans le sèche-linge.
- Vérifiez que les poches des vêtements à secher ne contiennent pas de briquet à gaz ni d'allumettes

AVERTISSEMENT
N'arrêtez jamais le séche-linge avant la fin du cycle de séchage à moins de sortir immeditatement tout le linge et de le déplier pour mieux dissiper la chaleur. Risque d'incendie!
- Risque de chocoléctrique!N'utilisez jamais d'appareils à vapeur ou à haute pression pour nettoyer l'appareil.
- Le cycle de séchage se termine par une phase sans chauffage (cycle de refroidissement) pour éviter que le linge ne reste longtemps à haute température et ne subisse des dommages.
- Ne sechaç jamais dans l'appareil d'articles ayant été traités avec des produits chimiques, tels que les produits utilisés pour le nettoyage à sec.
- Aérez suffisamment la piece pour éviter le reflux de gaz provenant d'appareils utilisant d'autres combustibles.
Installation
- Cet apparéil est lourd. Faites attention lors de son déplacement.
- Déballez l'appareil et vérifie qu'il n'est pas endommagé. En cas de doute, ne l'utilise pas et contactez le magasin vendeur.
- Avant d'utiliser l'appareil, enlevez tous les éléments de protection de transport. En cas de non-respect de cette recommmandation, l'appareil ou les accessoires risquent d'être sérieusement endommages. Voir le chapitre correspondant dans cette notice d'utilisation.
- Ne confiez les travaux électriques de votre habitation nécessaires à l'installation de votre(AP)appareil qu'a un electricien qualifié.
Veillez à ne pas écraser le cordon d'alimentation avec l'appareil. - Si l'appareil est place sur une moquette, ajustez les pieds afin de permettre à l'air de circuler librement sous l'appareil.
- ÀpRES avoir installé l'appareil, vérifie qu'il n'écrase pas le cordon d'alimentation.
- Si le s'este-linge est placé au-dessus d'un lave-linge, utilisez le kit de superposition (accessaire en option).
Usage
- Cet apparéil est destiné à un usage particulier. Ne l'utilise pas à des fins commerciales ou industriielles ou pour d'autres buts que celui pour lequel il a été lié.
- Ne séchez en machine que les articles pouvant supporter ce traitement. Suivez les indications se trouvant sur l'étiquette dont chaque article est muni.
- N'introduisez dans le sèche-linge que du linge propre.
- Ne surchargez pas l'appareil. Voir le chapitre correspondant dans cette notice d'utilisation.
- Ne placez pas de linge non essoré dans le seche-linge.
-
Ne séchez pas en machine les articles entrés en contact avec des detachants volatiles. Si de tels detachants sont utilisés avant le lavage en machine, il faudra attendre que le produit se soit evaporé avant d'introduire les articles dans l'appareil.
-
Le cordon d'alimentation ne doit jamais être tiré au niveau du cordon ; mais toujours au niveau de la prise.
- N'utilisez jamais le sèche-linge si le cordon d'alimentation, le bandeau de commande, le plan de travail ou la base sont endommages et permettent l'accès à l'intérieur de l'appléil.
- Les assouplissants ou autres produits similaires doivent être utilisés conformément aux instructions de leur fabricant.
- Attention - surface chaude : Ne touchez pas le cache de l'ampoule d'éclairage de porte quand l'éclairage est en fonctionnement.
(Uniquement les sèche-linge avec éclairage interieur du tambour)
Sécurité des enfants
- Cet apparéil ne doit pas être utilisé par de jeunes enfants ou des personnes infirmes sans supervision.
- Cet apparéil n'est pas destiné à être utilisé par des enfants ou des personnes dont les capacities physiques, sensorielles ou mentales, ou le manque d'expérience et de reconnaissance les empêchent d'utiliser l' apparéil sans risque lorsqu'ils sont sans surveillance ou en l'absence d'instructions d'une personne responsable qui puisse leur assurer une utilisation de l' apparéil sans danger. Veillez à ce que les enfants ne jouent pas avec l' apparéil.
- Les matériaux d'emballage (par ex. les films plastiques, le polystyrene) représentent un danger pour les enfants - risque d'asphyxie! Conservez-les hors de la portée des enfants.
- Rangez les détergents en lieu sûr, hors de la portée des enfants.
Assurez-vous que les enfants ou vos animaux domestiques ne penètrent pas dans le tambour.
Environnement
Le symbole sur le produit ou son emballage indique que ce produit ne peut etre traité comme déchet menager. Il doit etre remis au point de collecte dédié à cet effet (collecte et recyclage du matériel électrique et électronique).
En procédant à la mise au rebut de l'appareil dans les régles de l'art, nous présvours l'environnement et notre sécurité, s'assurant ainsi que les déchets seronttraités dans des conditions optimum.
Pour obtenir plus de détails sur le recyclage de ce produit, veuilles prendre contact avec les services de votre commune ou le magasin où vous avez effectué l'achat.
Conseils relatifs à l'environnement
- Le sèche-linge rend le linge duveteux et doux. Il est par conséquent inutile d'utiliser un adoucissant lors du lavage.
-
Le sèche-linge fonctionne le plus économique possible si vous :
-
laissez constamment dégagée la grille d'aération située sur le socle du seche-linge;
- respectez les charges individues dans le tableau récapitulatif des programmes ;
- aérrez suffisamment la piece;
- nettoyez les filtres fin et microfin après chaque cycle de séchage ;
- essorez suffisamment le linge avant de le sécher.

La consommation d'énergie dépend de la vitesse d'essorage du lave-linge. Plus la vitesse d'essorage est élevé plus la consommation d'énergie est BASSE.
Informations liées à la protection de l'environnement
Les matériaux d'emballage respectent l'environnement et sont recyclables. Les éléments en plastique sont identifiés par les sigles >PE <, >PS <, etc. Veuillez jeter les matériaux d'emballage dans le conteneur approprié du centre de collecte des déchets de votre commune.

AVERTISSEMENT
Si vous n'utilisez plus votre apparéil :
- Débranchez-le.
- Coupe le cordon d'alimentation au ras de l'appareil et jetez-le avec la prise.
- Eliminez le loquet de la porte ;ILAevitera aux enfants de s'enfermer dans l'appareil et de mettre ainsi leur vie en danger.
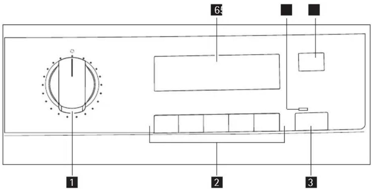
1 bandeau de commande
2 sac d'eau de condensation
3 clairage du tambour
4iltrefin
5iltre grossier
6 lftres a peluches
7 Plaque signalétique
8 Porte (reversible)
9 Portillon de l'échangeur de chaleur
10 Touche d'ouverture de la trappe du filtre
11 Grille d'airation
12 Pieds réglables
Bandeau de commande
Bandeau de commande

1 Selecteur de programmes et touche Marche/Arrêt
2 Touches de fonction
3 DEPART PAUSE Touche
4 DEPART DIFFERE Touche
5 /oyant
6 Affichage
Affichage
1 emps restant / message d'erreur
2 phase du cycle
3 options
4 advertisements
5 itesse d'essorage
6 legré de séchage

| Description de l'affichage | |||
| AUTO | MIN | MEI | MAX |
| HUMIDITE RESIDUELLE par défaut | minimum HUMIDITE RESIDUELLE | moyen HUMIDITE RE-SIDUELLE | maximum HUMIDITE RESIDUELLE |
| 800 | 800 - 1800 | 1800 | |
| T/MIN par défaut minimum T/MIN | T/MIN (par palier de 200 tr/min) | maximum T/MIN | |
| 3 | 4 | 5 | 6 |
| préts à repasser (voyant du cycle de séchage) | légèrement humide (voyant du cycle de sé-chage) | préts à ranger (voyant du cycle de séchage) | très sec (voyant du cycle de séchage) |
| 5 | 6 | - | |
| extra sec (voyant du cycle de séchage) | refroidissement (voyant du cycle de sécha-gen) | anti-froissage (voyant du cycle de séchage) | - |
| 7 | 8 | 9 | 10 |
| vider le bac d'eau de condensation (avertis-sement) | nettoyer le condenseur (avertissement) | nettoyer les filtres (avertissement) | sécurities enfants |
| 8 | 9 | 10 | 11 |
| délicat anti-froissage sensible alarme | |||
| 9 | 10 | 11 | 12 |
| départ différé durée du cycle | programme chrono-métrique (10 min - 3h) | départ différé | |
Les options 串 delicat et sensible ne peuvent pas etre selectionnées simultanement.
Avant d'utiliser le sèche-linge pour la première fois
Avant la première utilisation de votre sèche linge, faites-le fonctionner (30 minutes environ) en chargeant le tambour de quelques chiffons humides (essorés) ceci afin d'éliminer d'eventuelles traces de poussières ou deGRAisses..
Tableau des programmes
| Programmes | Charge maximum (poids à sec) | Utilisation/propriétés Options | Étiquettes d'en-tretien | |
| COTON | ||||
| TRES SEC 8 kg | Séchage complet des textiles épais ou multicouches (par ex. linge en tissu éponge, peignoirs de bain). | toutes 1) sauf MINU-TERIE | © | |
| SEC INTENSIF 8 kg | Séchage complet des textiles épais, par ex. du linge en tissu éponge ou des serviettes éponge. | toutes 1) sauf MINU-TERIE | © | |
| PRET A RANGER 8 kg | Séchage complet de textiles d'une épaissur homogène, par exemple, linge en tissu éponge, des ser-viettes éponge ou des lainages. | toutes 1) sauf MINU-TERIE | © | |
| PRET A REPASSER 8 kg | Pour le linge en cotton ou en lin d'épaissur normale (p.ex. le linge de lit ou de table). | toutes 1) sauf MINU-TERIE | © | |
| SYNTHETIQUES | ||||
| TRES SEC 3 kg | Séchage complet des textiles épais ou multicouches (par ex. pull-overs, linge de lit, linge de ta-ble). | toutes 1) sauf MINU-TERIE | ©2 | |
| PRET A RANGER 3 kg | Pour les tissues fins ne nécessitant pas de repassage (par ex. chemises en textiles mélangés, linge de ta-ble, vêtements de bébé, chausset-tes, lingerie à baleines ou arma-tures). | toutes 1) sauf MINU-TERIE | ©2 | |
| PRET A REPASSER 3 kg | Pour les tissues fins à repasser (par ex. lainages, chemises). | toutes 1) sauf MINU-TERIE | ©2 | |
| SPECIAL | ||||
| MINUTERIE 8 kg | Pour sécher des pieces de linge séparées. | délicat, an-ti-froissa- | © | |
| ge,alarme, MINUTERIE, DEPART DIF-FERE | ||||
| RAFRAICHIR 1 kg | Pour les textiles qui nécessitent d'être rafraîchis. | délicat, anti-froissage,alarme, DEPART DIF-FERE | ©00 | |
| 55 MIN. - 3KG 3 kg | Pour le séchage rapide des textiles en coton avec une réduction du froissage. Résultat de séchage : prét à ranger. | anti-froissage,alarme, DEPART DIFFERE | ©00 | |
| SPORT 2 kg | Pour tenues de sports, textiles fins, polyester, ne nécessitant pas de repassage. | tous 3) sauf sensitif et MINUTERIE | ||
| DRAPS 3 kg | Linge de lit (draps, taires d'oreillers, couvre-lits, housses de couettes). | tous sauf sensitif et MINUTERIE | ©00 | |
| JEANS 8 kg | Programme spécial pour vêtements de sport comme les jeans, les sweatis, etc., en tissus de résistances diverses (ex. au niveau du poignet et du col ou des coutures). | toutes 1) sauf MINUTERIE | ©00 | |
| MICROFIBRE 1 kg | Pour tissus fins, polyester et polyamide, ne nécessitant pas de re-passage. | toutes 3) sauf sensiblement et MINUTERIE | © | |
| CHEMISES | 1,5 kg (ou 7 chemises) | Programme spécial doté d'un mécanisme anti-froissage pour un léger repassage de textiles mélan-gès tels que les chemises et les cordages ; pour un repassage sans peine. Le résultat dépend du type de textile et de sa qualité. Placez le linge dans le seche-linge im-médiatement après l'essorage ; enlevez le linge immédiatement après le séchage et suspendez-le sur un cintre. | tous 3) sauf sensible et MINUTERIE | ©00 |
| FACILE A REPASSER | 1 kg (ou 5 chemises) | Programme spécial doté d'un mécanisme anti-froissage pour un léger repassage de textiles mélan- | tous 3) sauf sensible et MINUTERIE | ©00 |
| gés tels que les chemises et les cordages; pour un repassage sans peine. Le résultat dépend du type de textile et de sa qualité. Placez le linge dans le sèche-linge imédiatement après l'essorage; enlevez le linge immédiatement après le séchage et suspendez-le sur un cinctre. | ||||
| LAINE 1 kg | Programme spécial afin de secher les textiles laineux après le lavage avec de l'air chaud sans grossse charge mécanique (consultez le chapitre "Tri et préparation du linge"). Recommendation: Sortez le linge de l'appareil une fois qu'il est sec, vous évitez ainsi qu'il ne se froisse. | HUMIDITE RESIDUELLE, T/MIN, ALARME, DEPART DIF-FERE 3) | ||
| SILENCE PLUS SYN-THETIQUES | 3 kg | Pour un séchage peu bruyant et délicat des synthétiques Recommendé pour un séchage de nuit. | HUMIDITE RESIDUELLE, T/MIN, anti-froissa-ge,alarme, DEPART DIF-FERE | ©©© |
| SILENCE PLUS COTON 8 kg | Pour un séchage peu bruyant et délicat du cotton. Reconnexe pour un séchage de nuit. | HUMIDITE RESIDUELLE, T/MIN, anti-froissa-ge,alarme, DEPART DIF-FERE | ©©© | |
1) Les options DELICAT et SENSIBLE ne peuvent pas etre selectionnées simultanement
2) selectionnez DELICAT
3) délicat régèle par défaut
Utilisation quotidienne
Tri du linge
-
Triez le linge par type de textile :
-
Coton/lin pour les programmes de type COTON.
-
Textiles mixtes et synthétiques pour les programmes de type SYNTHETIQUES.
-
Triez le linge en fonction du type d'étiquette : Les étiquettes d'entretien signifient :

Sechage en seche-linge possible dans tous les cas

Sechage en tambour à haute température

Sechage a tempéature modérée

Sechage dans un seche-linge non autorisé

N'introduisez pas dans l'appareil de linge humide n'était pas désigné sur l'étiquette d'entretien comme pouvant être séché en seche-linge.
Cet apparéil peut être utilisé pour tous les articles dont l'étiquette mentionne qu'ils peuvent être séchés en seche-linge.
- Ne sechaç pas de vêtements neufs de couleur avec du linge de couleur claire. Les textiles pourraient déteindre.
- Ne sechez pas les lainages et la bonneterie à l'aide du programme TRES. Risque de rétrésuscissement!
- La laine et les textiles à base de laine peuvent être séchés à l'aide du programme LAINE. Il convient de bien essorer les vêtements en laine avant le cycle de séchage (maximum 1200 tr/min). Séchéz uniquement les textiles en laine ensemble s'ils sont similaires en texture, couleur et poids, et s'ils peuvent supporter ce traitement. Séchéz le linge en laine très lourd séparément.
Préparation du linge
- Pour éviter que le linge ne s'enroule et forme des noeuds : fermez les fermétures éclair, boutonnez les housses de couettes et nouez les cordons ou les rubans (par ex. ceintures de tabliers).
- Videz les poches. Enlevez toutes les pieces métalliques (trombones, épingles de suture, etc.).
- Retournez sur l'envers les articles doublés (par ex. les anoraks avec doublure en coton : la doublure doit être à l'extérieur). Ces tissus secheront mistroux.

Ne surchargez pas l'appareil. Ne chargez pas plus de 8kg.
Poids moyen du linge
| peignoir 1 200 g | |
| housse de couette 700 g | |
| tabliers de travail pour homme 600 g | |
| pyjamas homme 500 g | |
| drap 500 g | |
| nappe 250 g | |
| chemise homme 200 g | |
| chemise de nuit 200 g | |
| taie d'oreiller 200 g | |
| drap de bain 200 g | |
| chemisier 100 g | |
| sous-vêtements femme 100 g | |
| sous-vêtements homme 100 g | |
| serviette 100 g | |
| torchon 100 g |
Mise sous tension de l'appareil / de l'éclairage
Tournez le selectiveur de programmes sur n'importe quel programme ou sur ECLAIRAGE. L'appareil est mis sous tension. Quand la porte est ouverte, le tambour est éclairé
Ouverture de la porte / chargement du linge
- Ouvrez la porte :
Appuyez fortement sur la porte (point de pression) pour l'ouvrir
2. Chargez votre linge sans le tasser.
1
Assurez-vous que le linge ne reste pas coincer lors de la fermeture de la porte. Le linge pourrait etre endommage.
3. Refermez la porte en appuyant fortement.
Le verrouillage doit être audible.

Selection du programme
Sélectionnez un programme à l'aide du sélecteur de programmes. La fenêtre d'affichage indique la
2.32
(heures.minutes).
Pendant le cycle, le temps restant est décompté par paliers d'une minute.

HUMIDITE RESIDUELLE
Cette fonction améliore le degré de séchage du linge. La durée du cycle de séchage augmente à me

sure que vous passez de
- Choisissez le programme de séchage.
- Appuyez sur la touche HUMIDITE RESIDUELLE

(1) jusqu'à ce que le degré de sechage souhaité
MIN M's'affiche.
Si le programme可以选择 ne permet pas le réglage de l'humidité résiduelle, le symbole suivant s'affiche.
T/MIN
Vous pouvez régler le sèche-linge sur la vitesse d'essorage utilisée lors du cycle de lavage. La durée du programme sera d'autant plus courte que la vitesse d'essorage est rapide. Appuyez plusieurs fois sur la touche T/MIN (2) jusqu'à ce que la vitesse d'essorage utilisée lors du cycle de lavage s'affiche. Aucune valeur ne s'affiche si la vitesse d'essorage n'a pas été sélectionnée.
La sélection de vitesse d'essorage n'a aucun effet lors de la sélection de programmes chronométriques: cette fonction ne peut alors pas être sélectionnée et trois tirets s'affichent. Sélections possibles :

Sélection des options complémentaires
Les options complémentaires proposées pour les programmes de sechage sont délicat, anti-froissage, sensible et alarmé
- Tournez le sélection pourCHOISIR un programme de sechage.
- Pour selectionner une option, appuyez sur la touche OPTION (3). Les options s'affichent à l'écran sous forme de symboles :




délicat anti-froissage sensible alarmé
Le symbole délicat clignote. Un symbole clignotant signifie : que vous avez sélectionné l'option mais que celle-ci n'est pas activée. Pour activer l'option sélectionnée, appuyez sur la touche OK (4). Une option activée s'affiche sous la forme d'un symbole clignotant souligné d'un tret.
- Appuyez à plusieurs reprises sur la toucheOPTION (3) pour sélectionner les options appropriées et sur la touche OK (4) pour les activer. Les options activées sont toujours affichées sous forme de symboles soulignés d'un tiret.
- Le mode de selection des options prend fin lorsque vous avez parcouru toutes les options ou lorsque vous arrêtez la sélection. Seuls les symboles des options activées sont affichés.

Certaines options ne peuvent pas etre selectionnées en meme temps que les options delicat et sensible. Certaines d'entre elles ne peuvent pas etre selectionnee avec certains programmes

Pour annuler la selection, effectuez la même démarche. Le symbole de l'option disparaît.
delicat
Ce programme permet de secher les tissus particulièrement délicats désignés par l'étiquette d'entretien, ainsi que les textiles sensibles à la chaleur (par exemple en acrylique ou en viscose). Ce programme diffuse une température réduite.
delicate ne convient que pour des charges de 3kg maximum.
Lorsque l'option est active, le symbole delicate s'affiche.
anti-froissage
Si vous scélectionnez cette fonction complémentaire, la phase anti-froissage prolonge de 60 minutes la phase anti-froissage (30 minutes) à la fin du cycle de séchage. Au cours de cette phase, le tambour tourne par intermittence. Ainsi, le linge ne se tasse pas et ne se froisse pas. Cette phase dure effectivement 90 minutes. Au cours de la phase anti-froissage, le linge peut être retire à tout instant.
Lorsque l'option est activée, le symbole anti froissage s'affiche.
sensible
Ce programme permet de secher delicatement des textiles fréquèment portés. Il démarre à pleine puissance de chauffage, puis la chaleur diminue au fur et à mesure que le cycle se poursuit, ce qui permet de secher le linge en douceur.
Lorsque l'option est activée, le symbole sensitive s'affiche.
alarme
L'appareil est livre avec la fonction buzzer désactivée.
Pour l'activer, selectionnez l'options alarme.
Lorsque l'option est activée, le symbole alarme s'affiche.
Le signal sonore indique :
- la fin du programme
- le début et la fin de la phase anti-froissage
- un arrêt de cycle anormal
-unealarme
MINUTERIE
Selectionnez la durée du programme après avoir choisi MINUTERIE. Vous pouvez seLECTIONner une durée de séchage de 10 minutes à 3 heures par paliers de 10 minutes.
-
Tournez le sélecteur sur MINUTERIE. Le chiffre clignotant au-dessus de la touche MINUTERIE s'affiche, (correspondant à la phase de refroidissement).
-
Appuyez sur la touche MINUTERIE (5) jusqu'à ce que la durée du programme souhaité apparaissé sur l'écran d'affichage, par exemple, correspond à un programme de 20 minutes.
Si la durée du programme n'est pas précisé, une durée de 10 minutes est automatiquement selectionnée (par défaut).
DEPART DIFFERE

La touche DEPART DIFFERE (7) permet de retarder le départ d'un programme de 30 minutes (30^) à 20 heures maximum (20h).
-
Sélectionnez le programme et les fonctions complémentaires.
-
Appuyez sur la touche DELAY START (7) jusqu'à ce que l'heure de départ différé apparaissé sur l'affichage, par exemple, 12h si le programme doit demarrer dans 12 heures.

Si l'écran d'affichage indique 20 h et si vous appuyez à nouveau sur cette touche, le départ différé est annulé. L'écran affiche alors 0' puis la durée du programme sélectionné.
- Pour activer le départ différé, appuyez sur la touche DEPART PAUSE (6). Le décompte du départ différé s'affiche continulement (ex. 15 h, 14 h, 13 h, ... 30' etc.).
Sécurité des enfants
La sécurité enfants permet d'éviter le départ d'un programme par inadvertance et la modification par inadvertance d'un programme en cours. La sécurité enfants verrouille toutes les touches et le sélection de programmes. La sécurité enfants peut être activée ou désactivée en appuyant simultanément sur les touches OPTION (3) et OK (4), et en les maintainant appuyées pendant 5 secondes.

- Avant le départ du programme : l'appareil ne peut pas etre utilisé
- Àprou le départ du programme : le programme en cours ne peut pas être modifié
Le symbole apparait sur l'écran d'affichage pour indiquer que la sécurité enfants a été activée.
La sécurité enfants restera activée jusqu'à la fin du programme.
Si vous souhaitez selectionner un nouveau programme, vous devez d'abord désactiver la sécurité enfants.
Démarrage du programme
Appuyez sur la touche DEPART PAUSE (6). Le programme démarre.
Des symboles de déroulement de programme vous indiquent les différentes phases du programme en cours. De.gauche à droite, du symbole iron dry au symbole anti-crease selon le cycle de séchage choisi. Ex. si un programme prét à ranger a été seLECTIONné, les symboles suivants s'affichent: la déroulement du programme est signalé par des tirets clignotants sous les symboles. Quand une phase du cycle est terminée, le tiret correspondant resté fixe et le tiret sous le symbole suivant clignote.
Modification du programme
Pour modifier un programme en cours, il faut d'abord annuler celui-ci en tournant le sélecteur de programmes sur ARRETpuis sélectionner le nouveau programme.

Après le départ du programme, il n'est plus possible de modifier le programme directement. Si vous tournez le sélectionner de programmes sur un autre programme lorsque l'appareil est en cours de fonctionnement, les voyants d'affichage de déroulement de programme et les indicateurs d'alarme clignotent. Si vous sélectionnez une option (à l'exception de l'option alarme), Err s'affiche. Toutefois, le programme de séchage se poursuit normalement (protection du linge).
Retrait du linge
Quand le cycle de séchage est terminé, le symbole clignote à l'écran et un tiret s'affiche sous le symbole anti-froissage. Si l'option alarme a été seLECTIONnée, un signal sonore retentit à intervalles réguliers pendant environ une minute.

Les cycles de séchage sont automatiquement suivis d'une phase d'anti-froissage qui dure environ 30 minutes. Au cours de cette phase, le tambour tourne par intermittence. Ainsi, le linge ne se tasse pas et ne se froisse pas. Au cours de la phase anti-froissage, le linge peut être retire à tout instant. (Il est recommendé de sorting le linge au plus tard vers la fin de la phase anti-froissage pour éviter qu'il ne se froisse). Si l'option anti-froissage a été sélectionnée, la phase anti-froissage est prolongée de 60 minutes.
- Ouvrez la porte.
- Avant dePTRirer le linge, retirez les peluches du filtre microfin. Il est conseillé d'enlever les peluches de préference avec un chiffon humide. (Reportez-vous au chapitre "Entretien et nettoyage".)
- Sortez le linge.
- Tournez le sélecteur de programmes sur ARRET.

Après chaque cycle de séchage :
-Nettoyez les filtres fin et microfin
- Videz le bac de récapération de l'eau de condensation
(Reportez-vous au chapitre "Entretien et nettoyage".)
- Fermez la porte de chargement.
Entretien et nettoyage
Nettoyage des filtrés
Les filtres retiennent toutes les peluches qui s'accumulent pendant le séchage. Pour assurer un fonctionnement correct du séche-linge, il est nécessaire de nettoyer les filtres (filtres microfin et fin) après chaque cycle de séchage.
Le symbole correspondant vous le rappelle.

ATTENTION
N'utilisez jamais votre sèche-linge sans avoir installé les filtres ou avec des filtres endomagés ou obstrués.
- Ouvrez la porte
- Nettoyez le filtrre microfin qui se trouve au bas du hublot avec un chiffon humide.

- ÀpRES un certain temps, les filtres se couvrent d'une patine due aux résidus de dessive sur le linge. Pour éliminer cette patine, nettoyez les filtres à l'eau chaude en les frottant à l'aide d'une brosse. Retirez le filtre situé dans l'ouverture de la porte. Pour le remettre en place, veillez à orienter la languette vers la gauche ou la droite).
N'oubliez pas de remettre le filtrer en place après son nettoyage.
- Appuyez sur la touche de déverrouillage située sur le filtrtre grossier. Le filtrtre grossier se détache.


- Sortez le filtré fin.
- Enlevez les peluches du filtré fin. Il est conseillé d'enlever les peluches de préférence avec un chiffon humide.


Nettoyez l'ensemble de la zone du filtré
Il n'est pas nécessaire de nettoyer l'ensemble de la zone du filtrre après chaque cycle de séchage, mais elle doit être régulièrement contrôle et, le cas échéant, les peluches enlevées.
- Pour cela, saisissez le filtré grossier par le haut et tirez-le vers l'avant jusqu'à ce qu'il se détache de ses deux supports.
- Enlevez les peluches de l'ensemble de la zone du filtré. Il est conseilé d'utiliser un aspirateur pour cette opération.
- Appuyez des deux côtes du filtré grossier jusqu'à sa fixation.
- Remettez le filtré fin en place.

- Appuyez sur le filtré grossier jusqu'à son verrouillage.

Si le filtré fin n'est pas en place, le filtré grossier ne se verrouille pas et il n'est pas possible de fermer la porte.

Nettoyage du joint de porte
Nettoyez le joint de porte à l'aide d'un chiffon humide immédiatement après chaque cycle de sechage.
Vidage du bac d'eau de condensation
Videz le bac d'eau de condensation après chaque cycle de séchage.
Si le bac est plein, le programme en cours s'interrompt automatique et le symbole correspondant s'affiche à l'écran. Il est nécessaire de vider le bac d'eau de condensation avant de poursuivre le programme.

AVERTISSEMENT
L'eau de condensation n'est pas potable et ne doit pas etre utiliser pour la préparation des aliments.
- Sortez le bac d'eau de condensation.

-
Versez l'eau condensée dans une bassine ou tout autre填补ant similaire.
-
Reinstallez le bac d'eau de condensation.
Si le programme s'était interrompu parce que le bac était plein : Appuyez sur la touche DEPART PAUSE afin que le cycle de sechage continue.


Le bac d'eau de condensation contient environ 4,5 litres, ce qui est suffisant pour environ
8 kg de linge préalablement essore à 1000 tours/ minute.

L'eau de condensation peut être utilisée comme de l'eau distillée (par ex. dans un fer à repasser à vapeur). Il est toute fois nécessaire, avant d'utiliser l'eau condensée, de la filtrer (par ex. avec un filtré à café) pour enlever les résidus et les petites peluches.
Nettoyage du condenseur
Si le symbole du condenseur s'affiche, cela signifie qu'il faut nettoyer le condenseur.

ATTENTION
Ne faites pas fonctionner le sèche-linge sans condenseur ou avec un condenseur contenant des peluches au risque de l'endommager. Cela augmente par ailleurs la consommation d'énergie.
-
Ouvrez la porte.
-
Ouvrez la trappe. Pour cela, appuyez sur la touche de déverrouillage sur la partie supérieure de la trappe et ouvre celle-ci vers la gauche.
-
Nettoyez l'intérieur du portillon et la partie avant de la base du condenseur. Nettoyez le joint du portillon à l'aide d'un chiffon humide.

- Tournez les deux butées vers l'intérieur.

- Retirez le condenseur en le saississant par sa poignée. Maintenez-le à l'horizontal pour éviter de renverser l'eau résiduelle.
- Tenez-le verticalément au-dessus de l'évier pour le vider.

ATTENTION
N'utilisez pas d'objets pointus pour le nettoyage du condenseur. Vous risqueriez de l'endommager.

7.Nettoyage du condenseur.
Nettoyez le condenseur avec un Brosse et rincez eventuèlement à l'aide d'une douchette.
- Remettez le condenseur à sa place (tournez les deux butées vers le haut jusqu'à ce qu'elles se bloquent).
- Refermez la trappe.

ATTENTION
N'utilisez jamais votre sèche-linge sans le condenseur.
Nettoyage du tambour

ATTENTION
N'utilisez pas de produits abrasifs ou caustiques pour nettoyer le tambour.

Le calcaire contenu dans l'eau ou les résidus de produits de lavage peuvent laisser un dépôt à peine visible à l'intérieur du tambour. Dans ce cas, le détecteur d'humidity ne peut plus alors reconnaître de manière fiable le taux d'humidity. Ce qui peut expliquer que lorsque vous enlevez le linge, il risque d'être plus humide que prévu.
Nettoyez l'intérieur et les nervues du tambour à l'aide d'un détergent doux et d'un chiffon humide.
Nettoyage du bandeau de commandes et de la carrosserie

ATTENTION
N'utilise jamais de produits abrasifs ou caustiques.
Lavez la carrosserie et le bandeau de commandes à l'eau savonneuse. Rincez et séchez soigneusement.
En cas d'anomalie de fonctionnement ...
Guide de dépannage
Si au cours du fonctionnement de l'appareil, un code d'erreur E_· · suivi d'un chiffre ou d'une lecture s'affiche dans la fenetre d'affichage : Mettez l'appareil hors tension puis de nouveau sous tension. Re-sélectionnéz le programme. Appuyez sur la touche DEPART PAUSE (6). Si l'erreur se produit, contactez le service après-vente de votre magasin vendeur et indiquez-lui le code d'erreur.
| Anomalie Cause possible Solution | ||
| Le sèche-linge ne démarre pas. | L'appareil n'est pas branché ou le fusible est grillé. | Branchez l'appareil sur le sec- their. Contrôlez le fusible dans la boîte à fusibles (installation domestique). |
| La porte de chargement est ou- verte. | Fermez la porte de chargement. | |
| Avez-vous appuyé sur la tou- che DEPART PAUSE (6)? | Appuyez de nouveau sur la tou- che DEPART PAUSE (6). | |
| Les résultats de séchage ne sont pas satisfaisants. | Le programme choisi ne con- vient pas au linge. | Lors du prochain séchage, sé- lectionnez le programme adé- quat (consultez le "Tableau des programmes"). |
| Les filtres à peluches sont obs- trués. | Nettoyez les filtres à peluches. | |
| Le filtré de l'échangeur de cha- leur est obstrué. | Nettoyez le filtré de l'échan- geur de chaleur. | |
| L'échangeur de chaleur est obs- trué par des peluches. | Nettoyez l'échangeur de cha- leur. | |
| Le volume de linge est excessif. | Conformez-vous aux charges recommendées. | |
| Les fentes d'aération dans le bas de l'appareil sont bouchées. | Libérique les fentes d'aération. | |
| L'intérieur et les nervures du tambour sont couverts de rési- dus. | Nettoyez l'intérieur et les ner- vures du tambour. | |
| Effectuez un réglage avec la fonction HUMIDITE RESIDUEL- LE (1) (voir le chapitre "Utilisa- tion quotidienne") 1) | ||
| La conductivité de l'eau du lieu d'installation ne correspond pas au réglage standard de l'appareil. | Reprogrammez les paramètres standard de séchage (voir le chapitre 'Options de program- mation'). | |
| La porte ne ferme pas. | Le filtré fin n'est pas installé et/ ou le filtré grossier n'est pas verrouillè. | Mettez les filtres bien en place. |
| Si vous appuyez sur une touche, Errs'affiche dans la fenêtre d'affichage. | Protection. ÀpRES le démarrage du programme, il n'est plus possible de seLECTIONner des options. | Tournez le sélecteur de pro- gramsmes sur ARRET. Sélection- nez à nouveau le programme. |
| L'éclairage du tambour ne fonctionne pas. | Le sélecteur de programmes est sur la position ARRET. | Tournez le sélecteur de pro- gramsmes sur ECLAIRAGE ou sur n'importequel programme. |
| Anomalie Cause possiblible Solution | ||
| L'ampoule d'éclairage est dé-fectueuse. | Remplacez l'ampoule (voir sec-tion suivante). | |
| L'indication du temps restant change en permanence ou ne rouge pas pendant un certain temps. | Le temps restant est constam-ment corrigé en fonction du ty-pe de linge, de la charge et du degré d'humidité. | C'est un processus automatique ; l'appareil n'est pas pour autant défectueux. |
| Le programme s'immobilise, le symbole correspondant à la v-dange du bac d'eau de condensation ≈ s'affiche. | Le bac d'eau de condensation est plein. | Videz le bac d'eau de condensation puis lancez le programme en appuyant sur la touche DEPART PAUSE (6). |
| Le cycle de séchage s'accrite peu de temps après le démarrage du programme. | Vous n'avez pas chargé une quantité suffisante de linge ou le linge chargé est trop sec pour le programme sélectionné. | Sélectionnez un programme chronométrique ou un degré de séchage supérieur (par ex.TRES SECou SECau lieu de PRET A RANGER). |
| La durée du cycle de séchage est anormalement longue. Re-marque : après environ 5 heures, le cycle de séchage s'accrite automatiquement (voir la sec-tion "Cycle de séchage complet"). | Le filtre à peluches est obstrué. | Nettoyez le filtre à peluches. |
| Le filtre de l'échangeur de cha-leur est obstrué. | Nettoyez le filtre de l'échan-geur de chaleur. | |
| Le volume de linge est excessif. | Réduisez la charge. | |
| Le linge n'a pas été suffis-amment essoré. | Essorez suffisamment le linge avant de lemettre dans lesè-che-linge. | |
| La température ambiente est particulièrement élevé. | Il s'agit d'une fonction automatique et l'appareil ne pré-sente aucun défaut. Si possible,abaissez la température de lapiece. | |
1) seulement pour les sèche-linge disposant de la fonction HUMIDITE RESIDUELLE
Remplacement de l'ampoule d'éclairage interieur
Utilisez exclusivement une ampoule spéciale pour sèche-linge. Vous pouvez vous la procurer auprès du service après vente ET no. 112 552 000-5.

Lorsque l'appareil est sous tension, l'éclairage interieur s'eteint automatiquement au bout de 4 minutes après l'ouverture de la porte.

AVERTISSEMENT
N'utilisez pas d'ampoule standard! Elles émettent trop de chaleur et peuvent endommager l'appareil!
Avant de remplaçer l'ampoule, l'appareil doit être débranché ; en cas de raccordement fixe : dévissez complètement le fusible ou désactivez-le.
- Dévissez le cache de l'ampoule (il se trouve immédiatement derrière le hublot, en haut; voir chapitre "Description de l'appareil")
- Remplacez l'ampoule defectueuse.
- Revissez soigneusement le cache.
Avant de revisser le cache, vérifie que le joint torque est à la bonne place. N'utilise pas le sèche-linge en l'absence du joint torque.

AVERTISSEMENT
Par mesure de sécurité, assurez-vous que le cache est bien visse. Dans le cas contraire, vous ne devez pasmettre en fonctionnement le sèche-linge.
Réglages de l'appareil
| Réglage RÉalisation | |
| Alarmé allumée/étéinte en permannce | 1. Tournez le sélecteur de programmes sur n'importé quel programme. 2. Appuyez simultanément sur les touches HUMIDITE RESIDUELLE (1) et T/MIN (2) et maintenez-les appuyées pendant environ 5 secondes. 3. L'alarme sera par défaut désactivée. Vous pouvez utiliser l'options alarme pour activer ou désactiver l'alarme, mais l'appareil ne méyorise pas la sélection. |
| Dureté de l'eau L'eau, selon les zones géographiques, contient en quantité variable des sels calcaires et mineraux qui changent la valeur de la conductivité. Des variations importantes de la con- ductivité, par rapport aux valeurs affi- chées en usine, pourraient légèrement influencer l'humidité résiduelle à la fin du séchage. Voiture séche-linge permet de régler la sensibilité du capteur con- ductimétrique sur la base de la valeur de la conductivité de l'eau. | 1. Tournez le sélecteur de programmes sur n'importé quel programme. 2. Appuyez simultanément sur les touches HUMIDITE RESIDUELLE (1) et MINUTERIE (5) et maintenez-les appuyées pendant environ 5 secondes. Le réglage courant s'affiche : - faible conductivité <300 μS/cm - conductivité moyenne 300-600 μS/cm - conductivité élevé >600 μS/cm 3. Appuyez sur la touche DEPART PAUSE (6) jusqu'à ce que le niveau souhaïte s'affiche. 4. Pour+mémoriser le réglage, appuyez simultanément sur les touches (1) et HUMIDITE RESIDUELLEMINU- TERIE (5) ou tournez le sélecteur sur la position AR- RET |
| Vider le bac de récapération de l'eau de condensation - message d'alarme toujours désactivé Si vous utilisez une vidange externe pour l'eau condensée. | 1. Tournez le sélecteur de programmes sur n'importé quel programme. 2. Appuyez simultanément sur les touches T/MIN (2) et MINUTERIE (5) et maintenez-les appuyées pendant environ 5 secondes. Le réglage courant s'affiche : -symbole d'avertissement ≈ et message d'avertissement __○ désactivé -symbole d'avertissement ≈ et message d'avertissement __● ↑ activé Par défaut, le message d'avertissement est activé et s'alume toujours à la fin du cycle de séchage ou pendant le cycle si le bac de récapération de l'eau de condensation est plein. |
\section*{Caracteristiques techniques}

Cet apparéil est conforme aux directives européennes suivantes :
- Directive 2006/95/CE du 12.12.2006 relative à la base tension
- Directive 89/336/CEE du 03.05.1989 modifiée par la directive 92/31/CEE relatives à la compatibilité electromagnétique
- Directive 93/68/CEE du 22.07.1993 relative au marquage CE
| Hauteur x Largeur x Profondeur 85 x 60 x 58 cm | |
| Volume du tambour 108 l | |
| Profondeur avec porte ouverte 109 cm | |
| Possibilité de réglage en hauteur 1,5 cm | |
| Poids à vide environ 40 kg | |
| Charge (en fonction du programme)1) | max. 8 kg |
| Tension 230 V | |
| Fusible nécessaire 16 A | |
| Puissance totale 2350 W | |
| Classe d'efficacité energétique | B |
| Consommation d'énergie (8 kg de coton, pré-alablement essoré à 1000 tr/min)2) | 4,48kWh |
| Consommation d'énergie annuelle moyenne 282 | kWh |
| Usage Domestique | |
| Température ambiente autorisée + 5°C à + 35°C | |
| Données de consommation Les consommations ont été mesurées dans des conditions d'essai normalisées. Les consommations réelles dépendant des conditions d'utilisation de l'appareil. | |
| Programme | Consommation d'énergie en kWh / temps de séchage moyen en minutes |
| COTON PRET A RANGER2) | 4,48 / 135 (8 kg de linge préalablement essoré à 1000 tr/min) 4,3 (8 kg de linge préalablement essoré à 1200 tr/min) 4,0 (8 kg de linge préalablement essoré à 1400 tr/min) 3,5 (8 kg de linge préalablement essoré à 1800 tr/min) |
| COTON PRET A REPASSER2) | 3,8 / 108 (8 kg de linge préalablement essoré à 1000 tr/min) |
| SYNTHETIQUES PRET A RANGER2) | 1,3 / 45 (3 kg de linge préalablement essoré à 1200 tr/min) |
1) Les charges indiquées peuvent varier d'un pays à un autre en fonction des méthodes de mesure différentes.
2) conformément à la norme EN 61121
Conseils pour les organismes d'essay
Paramètres pouvant être contrôlés par les organismes d'essay :
- Consommation d'énergie (corrigeé en fonction de l'humidité résiduelle) pendant un cycle Coton prét à ranger avec charge nominale.
- Consommation d'énergie (corrige en fonction de l'humidité résiduelle) pendant un cycle Coton prét à ranger avec demi-charge.
- Humidité finale (pendant un cycle Coton prét à ranger, Coton prét à repasser et Entretien facile prét à ranger)
- Efficacité de condensation (corrige en fonction de l'humidité résiduelle) pendant un cycle Coton prét à ranger avec charge nominale et demi-charge
Tous les cycles doivent être contrôlés en conformité avec la norme EN 61121 (sèche-linge à tambour pour usage domestique - Méthodes de mesure des performances).
Installation
Emplacement
- Par commodité, il est conseilé d'installer l'appareil pres de votre lave-linge.
- Le sèche-linge doit être installé dans un lieu propre, à l'abri de la poussière.
- L'air doit pouvoir circuler librement tout autour de l'appareil. N'obstruez pas la grille d'aération frontale ou les grilles d'entrée d'air à l'arrête de l'appareil.
- Pour limiter au minimum les vibrations et le bruit pendant le fonctionnement du séchelinge, installez-le sur une surface robuste et parfaitement horizontal.
- ÀpRES l'installation du sèche-linge, mettez-le d'aplomb à l'aide d'un niveau à bulle. S'il n'est pas d'aplomb, rectifiez en vissant ou dévissant les pieds de réglage.
- Les pieds ne doivent jamais être retirees. Veillez à ne pas limiter la circulation de l'air au sol par des tapis à longs poils, des morceaux de bois, etc. Il pourrait se produit une accumulation de chaleur qui nuirait au fonctionnement du moteur et risquérer de l'endommager.

La température de l'air chaud dégagé par le sèche-linge peut atteindre 60^ . L'appareil ne doit donc pas être installé sur des sols non résistants aux températures élevées.
Pendant le fonctionnement du seche-linge, la température ambiente ne doit pas être inférieure à +5 °C ou supérieure à +35 °C pour ne pas compromètre le bon fonctionnement de l'appareil.

AVERTISSEMENT
Si l'appareil doit être déplace, transportez-le verticalément.

AVERTISSEMENT
L'appareil ne doit pas etre installe derriere une porte a serrure, une portecoulissante ou une portebattante avec charniere du cote opposed de celle de l'appareil.
Retrait des protections de transport

ATTENTION
Avant demettre l'appareil en service, il est impere- ratif d'enlever tous les elements constitutifs de la protection de transport.
- Ouvrez la porte
- Enlevez les rubans adhésifs à l'intérieur du tambour.
- Enlevez la gaine plastique avec le rembourse en polystyrene de l'appareil.


Branchements électriques
Contrôlez les caractéristiques électriques de l'appareil (tension d'alimentation, type de courant, fusibles, etc.) sur la plaque signalétique. La plaque signalétique est située après la porte (voir la "Description du produit").
Branchez l'appareil sur une prise avec terre, conformément aux normes et reglementations en vigueur.

AVERTISSEMENT
Le fabricant decline toute responsabilité en cas de dommage ou blessure, suite au non-respect des consignes de sécurité mentionnées ci-dessus.
Si le cordon d'alimentation de l'appareil doit être remplaced, faites appel au Service après-vente.

AVERTISSEMENT
Il est nécessaire que la prise murale reste accessible une fois que l'installation est terminée.
Réversibilité de la porte

AVERTISSEMENT
Avant de changer le sens d'ouverture de la porte, débranchez votre apparéil.
- Ouvrez la porte.
- Devissez la charnière A située sur la façade avant de l'appareil et demontez la porte.
- Retirez les plaques de revêtement B. Pour ce faire, insérez un tournevis plat dans les fentes, comme indiqué sur l'illustration, puis poussez un peu vers le bas pour enlever les plaques.
- Detachez le gong de fermeture C à l'aide d'un outil approprié en exerçant une pression sur le cran, enlevez-le et remettez-le en place sur le cote opposé en le faisant tourner de 180^
- Devissez la charnière A de la porte, faites-la tourner de 180^ , replacez-la sur le cote opposé et revissez-la soigneusement.
- Tournez les caches B de 180^ et replaces les respectivement sur le cote opposé.

- Devissez les caches D de la façade avant de l'appareil, tournez-les de 180^ et revissez-les sur le côte opposé.
- Dévissez le dispositif de verrouillage de la porte E, appuyez légèrement vers le bas et enlevez-le de la façade avant de l'appareil.
- Enforcez le fermoir F vers le bas, abaissez le cache légerement et enlevez-le de la façade de l'appareil.
- Montez le connecteur du verrouillage E sur le cote opposé et vissez soigneusement le dispositif de verrouillage de la porte.
- De l'autre côté, insérez le cache F jusqu'à enclenchement du fermoire.
- Montez la porte avec les charnières placées dans les logements sur la façade avant de l'appareil et vissez soignement.

Remarque concernant la sécurité : La sécurité du fonctionnement de l'appareil n'est de nouveau assurée que lorsque toutes les pieces en matière isolante ont ete remontees.
Accessoires spéciaux
- kit de superposition

Disponible auprès du service après-vente de votre magasin vendeur
Ces kits de superposition permettent d'incluter en colonne un sèche-linge et un lavelinge (60 cm de largeur, à chargement frontal) afin de gagner de l'espace. Le lave-linge doit être posé sur le sol et le sèche-linge installé au-dessus.
Lisez attentivement la notice fournie avec le kit.
kit d'évacuation

Disponible auprès du service après-vente de votre magasin vendeur
Kit d'installation qui permet de vidanger directement dans l'évier ou un siphon l'eau de condensation qui se forme pendant chaque cycle de séchage. il n'est plus nécessaire de vider le bac d'eau de condensation mais celui-ci doit rester en place dans l'appareil.
Lisez attentivement la notice fournie avec le kit.
- socle à tiroir

Disponible auprès du service après-vente de votre magasin vendeur
Pour placer le sèche-linge à une hauteur optimale et dispose de plus d'espace de rangement (par ex. pour le linge).
Lisez attentivement la notice fournie avec le kit.
Maintenance
En cas d'anomalie de fonctionnement, vérifiez d'abord si vous ne pouvez pas remédier vous-même au dysfonctionnement à l'aide de la notice d'utilisation (chapitre "En cas d'anomalie de fonctionnement").
Si vous ne parvenez pas à remédier au dysfonctionnement, veuillez contacter le service après-vente.
Pour un dépannage dans les plus brefs déliés, nous vous recommendons de nous fournir les informations suivantes :
- Description du modele
- Numéro de produit (PNC)
- Numéro de série (S No.) (le numéro de série est indiqué sur la plaque signalétique)
- Type de dysfonctionnement
- Eventuellement le message d'erreur affiché par l'appareil
Pour avoir les numéroes d'identification de l'appareil sous la main, nous vous recommendons de les inscrite ici :

Description du modele:
Code produit (PNC) :
Numéro de série :
Vouss pouvez commander des accessoires, consommables et pieces détachées via notre magasin online sur:
www.aeg-electrolux.be
Notice Facile