Lavatherm T 58860 - Wasdroger AEG-ELECTROLUX - Gratis gebruiksaanwijzing en handleiding
Vind de handleiding van het apparaat gratis Lavatherm T 58860 AEG-ELECTROLUX in PDF-formaat.
Gebruikersvragen over Lavatherm T 58860 AEG-ELECTROLUX
0 vraag over dit apparaat. Beantwoord die u kent of stel uw eigen vraag.
Stel een nieuwe vraag over dit apparaat
Download de handleiding voor uw Wasdroger in PDF-formaat gratis! Vind uw handleiding Lavatherm T 58860 - AEG-ELECTROLUX en neem uw elektronisch apparaat weer in handen. Op deze pagina staan alle documenten die nodig zijn voor het gebruik van uw apparaat. Lavatherm T 58860 van het merk AEG-ELECTROLUX.
GEBRUIKSAANWIJZING Lavatherm T 58860 AEG-ELECTROLUX
Gebruiksaanwijzing Condensdroger Notice d'utilisation Sèche-linge à
condensation
Wij danken u voor uw keuze voor een van once producten van hoogwaardige kwaliteit.
Lees deze gebruiksaanwijzing alstublieft zorgvuldig door, zo kunt u zeker zijn van optimale en professionele prestaties van uw apparaat. De handleiding za u in staat stellen om alle processen perfect en op de meest efficiente wijze te lately verlopen. Wij adviseren u deze handleiding op een veilige plaats te bewaren, danUCT u hem te allen tijde raadplegen. Geef deze handleiding ook aan een eventuele toekomstige eigenaar van het apparaat.
Wij wensen u veel plezier met uw nieuwe apparaat.
Inhoud
Gebruiksaanwijzing
Belangrijke veiligheidsinformatie
Milieu
Productbeschrijving
Bedieningspaneel
Bedieningspaneel 8
Display 8
Voordat u de droger in gebruik neemt
Programmaoverzicht
Dagelijks gebruik
Wasgoed sorteren 12
Gemiddeld gewicht van wasgoed 13
Machine inschakelen / lampje inschakelen 14
Vuldeur openen / wasgoed in de trommel doen 14
Hetprogrammakiezen 14
DROOGTEGRAAD 14
T/MIN 15
Extra OPTIE selectoren 15
TIJD PROGR. 16
STARTUITSTEL 16
Kinderslot 17
Hetprogramma starten 17
Hetprogramma3veranderen 17
De trommel leeghalen 17
Onderhoud en reiniging 18
Het pluizenfilter reinigen 18
De deurpakking schoonmaken 20
Het waterreservog leegmaken 20
De warmtewisselaar reinigen 21
De trommel reinigen 22
9 Het bedieningspaneel en de behuizing schoonmaken 22
Wat te doen als... 10 22
Machine-instelingen 25
Tips voor testinstanties 27
Installatie 27
Plaatsing van het apparatus 27
Verwijdering van de transportbeveiliging
28
Elektrische aansluiting 28
De draairichting van de deur veranderen 28
Speciale accessoires 30
Onderhoud 30
Wijzigingen voorbehonden
Gebruiksaanwijzing
Belangrijke veiligheidsinformatie

In het belang van uw verilheid en om een correct gebruik te konnen waarborgen is het van belang dat u, alvorens het apparaat te installereren en in gebruik te nemen, deze gebruiksaanwijzing, inclusief de tips en waarschuwingen, grondig doorleest. Om onnodige vergissingen en oncevallen te voorkomen is het belangrijk ervoor te zorgen dat alle mensen die het apparaat gebruiken, volledig bekend zich met de werkung ervan en de verilgheidsvoorzieningen. Bewaar deze instructies en zorg ervoor dat ze bij het apparaat blijven als het worden verplaatst of verkocht, zodateen die het apparaat gedurendeijken gehele levensduur gebruikt maar behoren is geinformeerd over het gebruik en de verilgheid van het apparaat.
Algemene veiligkeit
- Het is gevaarlijk om de specificaties te wijzigen of op enigerlei wijze te proberen veranderingen aan dit apparaat aan te brengen.
- Dit apparaat is Niet bedoeld voor gebruik door Personen (waaronder begrepen kinderen) met verminderde fysieke, zintuiglijke vermogens of een gebrek aan ervaring en kennis, tenzij dit gebeurt onder toezicht van een persoon die voor hun verilgheid verantwoordelijk is of zich van een dergelijk persoon instructies hebben ontvangen over het gebruik van het apparaat.
- Zorg ervoor datkleine huisdieren Niet in de trommel klimmen. Controller om dit te voorkomen de trommel voor gebruik.
- Voorwerpen als munten, veiligheidsspelden, spijkers, schroeven, stenen of andere harde, scherpe materialen können große schade aan het apparaat toebrengen en mogen nicht in het apparaatterechtkommen.
- Om brandgevaar door te lang drogen te voorkomen, dient het apparaat Niet gebruikt te worden om de volgende voorwerpen te drogen: Kussens, gewatteerde ekens en dergelijke (deze artikelen zorgen voor ophoping van hitte).
- Artikelen van schuimrubber (latexschuim), douchemutsjes, waterdichte kleding, artikelen met een rubber binnenkant en kleding of kussens met vulling van schuimrubber dieneniet in de droogtrommel te worden gedroogd.
- Het apparaat dient na gebruik, bij reiniging en bij onderhoud algid afgesloten te worden van de stroomvoorziening.
- Probeer in geen geval zich de machine te repareren. Reparations die door Niet-deskundige personen uitgevoerd worden, können tot schade of letsel leiden. Neem contact op met een klantenservice bij u in de buurt. Vraag.altijd om originele verrangingsonderdelen.
-
Artikelen die+zijn bevuild met stoffen als spijsolie, aceton, benzine, petroleum, vlekkenverwijderaars terpentine, boenwas en boenwasverwijderaars dienen alvorens in de droogtrommel te worden gedroogd, te worden gewassen in heet water met een extrahoeveelheid wasmiddel.
-
Explosiegevaar:Droog nooit artikelen in de droogtrommel die in contact hebben gestaan met ontvlambare oplosmiddelen (petroleum, spiritus, producten voor chemische reiniging en soortgelijke producten). Daar deze bestanddelen vluchtig zijn, können ze een explosie veroorzaken. Droog alleen voorwerpen in de droogtrommel die met water gewassen zijn.
- Brandgevaar:voorwerpen die vlekken bevatten of gedrenkt zich in plantaardige of bak-olie vormen een gevaar voor brand en dwellen nicht in de droogtrommel geplaatst te worden.
- Als u uw was met vlekkenwater heeft gewassen, moet u een extra spoelcyclus uitvoeren voordat u uw was in de droogtrommel laadt.
- Zorg ervoor dat er geen aanstekers of lucifers in de zakken zijn achtergebleven van kleding die in de droogtrommel geladen worden

WAARSCHUWING!
Stop een droogtrommel nooit voor het einde van een droogcyclus, tenzij alle voorwerpen snel uit het apparaat verwijderd en uitgehangen worden, zodat de hitte zich kan verspreiden. Brandgevaar!
- Pas op voor elektrische schokken!Spuit geen waterstralen op het apparaat.
- Het LASTDEEL van een droogtrommelcylclus vindt plaats zonder warmte (koelcylclus) om ervoor te zorgen dat de artikelen uiteindelijk een temperatuur hebben waar bij is gewaarborgd dat de artikelen Niet worden beschadigd.
- De droogtrommel mag Niet worden gebruikt als voor het reinigen industrielle chemicalien zichen gezruikt.
- Zorg voor goede ventilatie in de ruimte waar het apparaat geinstalleerd is, om te voorkomen dat gassen in de ruimte terugstromen van apparaten die andere brandstoffen verbruiken (inclusief open vuur).
Installatie
- Dit apparaat is zwaar. Wees voorzichtig als u het verplaatst.
- Controller bij het uitpakken van het apparaat of het Niet is beschadigd. Gebruik het apparaat bij twijfel Niet en neem contact op met de Klantenservice.
- Alle verpakkingsmaterialen要去en voor het gebruik worden verwijderd. Als dit worden nagelaten kan dit ernstige schade aan het product en andere eigendommen tot gevolg hebben. Zie het desbetreffende hoofdstuk in de gebruiksaanwijzing.
Eventuele voor de installmentie van het apparaatoodzakelijkke elektrotechnische werkzaamheden, moeten worden uitgevoerd door een gekwalificierde elektricien of deskundig persoon. - Zorg ervoor dat het apparaat Niet op het aansluitsnoer komt te staan.
- Als het apparaat op een tapijtvloer worden geplaatst, dient de hoogte van de stelpootjes zo te worden afgesteld dat de lucht goed onder het apparaat kan circuleren.
- Controller na de installment van het apparaat of het Niet op het aansluitsnoer drukt of staat.
- Als de droogtrommel bovenop een wasmachine worden geplaatst, is hetoodzakelijk de stapelkit te gebruiken (optioneel accessoire).
Gebruik
-
Dit apparaat is bestemd voor huishoudelijk gebruik. Het is Niet toegestaan het apparaat te gebruiken voor andere doeleinden dan waarvoor het is bestemd.
-
Droog in de machine alleen textiel dat geschikt is voor machinaal drogen. Volg de instructies op het wasetiket in de kleding.
- Droog geen ongewassen artikelen in de droogtrommel.
- Doe nicht teveel wasgoed in de machine. Zie het desbetreffende hoofdstuk in de gebruiksaanwijzing.
- Kleding die druipend nat is mag nicht in de droger worden gedaan.
- Kledingstukken die in aanrakingঀ geweest met vluchtige petroleumproducten mogen nicht in de machine gedroogd worden. Als vluchtige reinigingsvloeistoffenঀ gebruikt, dient u ervoor te zorgen dat de vloeistof uit het kledingstuk is verwijderd voordat u het in de droger doet.
- Trek de stekker nooit aan het snoeruit het stopcontact, maar aan de stekker zichl.
- Gebruik de droogtrommel nooit als het aansluitsnoor, het bedieningspaneel, het bovenblad of de sukkel beschadigd zijn waardoor de binnenkant van de droogtrommel toe-gankelijk is.
- Wasverzachters of soortgelijke producten dieren te worden gebruikt zoals gespecifieerd in de wasverzachterinstructies.
- Let op - heet oppervlak: Raak het dekseltje van de deurverlichting Niet aan wanneer de verlichting ingeschakeld is
(alleen drogers voorzien van trommelverlichting).
Veiligheid van kinderen
- Deze machine is nicht bedoeld voor gebruik doorjonge kinderen of verstandelijk gehandicapten zonder toezicht.
- Kinderen zich vaak Niet bewust van de bevaren die elektrische apparaten met zich meebrengen. Houd kinderen uit de buurt, om te voorkomen dat ze met het apparaat spelen.
- De verpakkingsmaterialen (zoals plasticfolie en polystyreen) konnen gevaarlijk zijn voor kinderen - verstikkingsgevaar! Houd deze materialen buiten het bereik van kinderen.
- Berg alle wasmiddelen op een veiligeplaats op, buiten het bereik van kinderen.
- Zorg ervoor dat kinderen of huisdieren Niet in de trommel kuren klimmen.
Milieu
Het symbol op het product of op de verpakking wijst erop dat dit product nicht als huishoudafval mag worden behandeld, maar moet worden afgegeven bij een verzamelpunt waar elektrische en elektronische apparatuur wordt gerecycled. Als u ervoor zorgt dat dit product op de juiste manier worden verwijderd, voorkomt u möglichke negatieve gevolgen voor mens en milieu die zich zonden+kennen voordoen in geval van verkeerde afvalverwerking. Voor gedetailleerdere informatie over het recyclen van dit product,(Intu contact opnemen met de gemeente, de gemeentereiniging of de winkel waar u het product hebt gekocht.
Mileutips
- In de droger worden uw wasgoed pluizig en zacht. Daarom heeft u bij het wassen geen wasverzachter nodig.
Uw droger werkthet zuinigst als u:
- de ventilatieopeningen in de sukkel.altijd vrijhoudt
- zich houdt aan de in het programma-overzicht aanbevolen laadvolumes
- zorgt voor goede ventilatie in de ruimte waar het apparaat geinstalleer is
- het microfilter en de fijnze zeef na elke droogcyclus reinigt
- het wasgoed goed centrifugeert voordat u het in de droger doet.

Het energieverbruik is afhankelijk van het ingestelde centrifugetoerental van de wasmachine. Hogere centrifugeersnelheid - lager energieverbruik.
Milieu-informatie
De verpakkingsmaterialen zijn milieuvriendelijk en{kunnen gerecycled worden. De kunststofonderdelenijk gemarkeerd, bv. >PE<, >PS<, enz. Gooi het verpakkingsmateriaal in de waarvoordedoe container bij uwplaatselijke afvaldienst.

WAARSCHUWING!
Als het apparaat Niet meer worden gebruikt:
- Trek de stekker uit het stopcontact.
- Snijd de voedingskabel en stekker van het apparaat en gooi ze weg.
- Verwijder het slot van de deur. Zo voorkomt u dat kinderen zichself insluiten en hun leven in gevaar brengen.
Productbeschrijving

1 Sedieningspaneel
2 Waterreservoir
3 rommelverlichting
4 ijne pluizenfilters
5 Brove pluizenfilters
6 luizenfilters
7ypeplaatje
8 fuldeur (omkeerbaar)
9 Deur warmtewisselaar
10 Toets om het deurtje in de sokkel te openen
11 Luchtrooster
12 Verstelbare pootjes
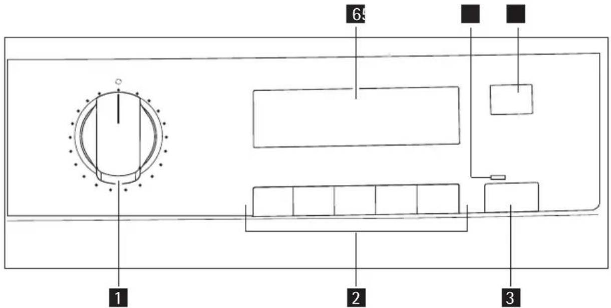
Bedieningspaneel

Bedieningspaneel
1Programmakeuzeknop en aan/uit-schakelaar
2 Functietoetsen
3 START/PAUZEtoets
4 STARTUITSTEItoets
5 Statuslampje
6 Display
Display
1 eindtijd / foulmelding
2 status cyclusfase
3 DPTIE
4 waarschuwingen
5 selectie centrifugeersnelheid
6 selectie droogtegraad

| Beschrijving display | |||
| AUTO | MIN | MED | MAX |
| DROOGTEGRAADstaard | minimale DROOGTE- GRAAD | gemiddelde DROOG- TEGRAAD | maximale DROOGTE- GRAAD |
| 800 | 800 - 1800 | 1800 | |
| T/MINstandaard minimale T/MIN | T/MINbereik (stappen van 200 tsp) | maximale T/MIN | |
| 3 | 田 | ||
| strijkdroog (droogfa-se-indicator) | licht droog (droogfa-se-indicator) | kastdroog (droogfase-indicator) | zeer droog (droogfase-indicator) |
| 图 | - | ||
| extra droog (droogfa-se-indicator) | afkoelen (droogfase-indicator) | kreukbeveiliging (droogfase-indicator) | - |
| waterreservoir legen (waarschuwing) | condensor reinigen (waarschuwing) | filters reinigen (waarschuwing) | kinderslot |
| 图 | |||
| fijne was lang antikreuk behoedzaam zoemer | |||
| 4 | 2.32 | 103.00 | 30'20 |
| uitgestelde start cyclusduur | duurijdprogramma (10 min - 3 u) | duur uitgestelde start | |

De OPTIE fijn was en behoedzaam hunen Niet tegelijkertijd worden geselecteerd.
Voordat u de droger in gebruik neemt
Verwijder eventueleijdens de fabricage ontstane restanten door de trommel van de droger met een vochtige doek af te vegen of een korte droogcylus uit te voeren (ca. 30 min.) met enkele vochtige doeken in de machine.
Programmaoverzicht
| Programma's | max. be-lading (droog gewicht) | Toepassing/eigenschappen OPTIE | Waseti-ket | |
| KATOEN | ||||
| EXTRA DROOG 8 kg | Grondig drogen van dik of meer- laags textiel, bv. badstof artikelen, badjassen. | alle 1)behal- ve TIJD PROGR. | ||
| INTENSIEF DROOG 8 kg | Grondig drogen van dik textiel, bv. badstof artikelen, handdoeken. | alle 1)behal- ve TIJD PROGR. | ||
| KASTDROOG 8 kg | Grondig drogen van textiel van gelijke dikte, bv. badstof artikelen, gebreide artikelen, handdoeken. | alle 1)behal- ve TIJD PROGR. | ||
| STRIJKDROOG 8 kg | Voor katoenen of linnen wasgoed van normale dikte, bv. bedde- ngoed, tafellinnen. | alle 1)behal- ve TIJD PROGR. | ||
| SYNTHETISCH | ||||
| EXTRA DROOG 3 kg | Grondig drogen van dik ofmeer- laags textiel, bv. truien, bedde- ngoed, tafellinnen. | alle 1)behal- ve TIJD PROGR. | ||
| KASTDROOG 3 kg | Voor dun textiel dat nicht gestre- ken hoeft te worden, bv. strijkvrije overhemden, tafellinnen, baby- kleertjes, Sokken, lingerie met ba-leinen of beugels. | alle 1)behal- ve TIJD PROGR. | ||
| STRIJKDROOG 3 kg | Voor dun textiel dat gestreken moet worden, bv. Gebrede artike- len, overhemden. | alle 1)behal- ve TIJD PROGR. | ||
| SPECIAL | ||||
| TIJD PROGR. 8 kg Drogen van losee artikelen. | fijne was, lang anti- kreuk, zoem, TIJD PROGR., STARTUIT-STEL | |||
| OPFRISSEN 1 kg | Opfrissen van textiel dat langere tijd opgeborgen is geweest. | fijne was, lang anti- kreuk, zoem, STAR-TUITSTEL | ||
| COTON 3KG QUICK 3 kg | Snel drogen van katoen, zo min mogelijk gekreukt. Droogresul-taat: waar om opgeborgen te worden. | lang anti-kreuk, zoem-mer, STAR-TUITSTEL | ||
| LICHTE SPORTKLEDING 2 kg | Voor sportkleding, dun textiel, pol-lyester, dat Niet gestreken hoeft te worden. | alle 3) beha-ve behoed-zaamen TJD PROGR. | ||
| BEDLINEN 3 kg | Beddengoed (een- en tweeper-soons lakens, kussenslopen, sprei-en, dekedobertrekken). | alle behalve behoed-zaamen TJD PROGR. | ||
| JEANS 8 kg | Voor vrijijdskleding, zoals jeans of sweatshirts, van verschillende materiaaldikte (bv. bij de kraag, manchetten en naden). | alle 1) beha-ve TJD PROGR. | ||
| MICROFIBRE 1 kg | Voor dun textiel, polyester en po-lyamide, dat Niet gestreken hoeft te worden. | alle 3) beha-ve behoed-zaamen TJD PROGR. | ||
| HEMDEN | 1,5 kg (of 7 over-hemden) | Speciaal programma met anti-kreukmechanisme, voor strijkvrij stoffen zoals overhemden en blouses; om makkelijker te kun-nen strijken. Het resultaat is af-hankelijk van het soort stof en de afwerking. Doe het wasgoed on-middelijk na het centrifugeren in de droger. Haal overhemden zo-dra ze gedroogd zijn direct uit de droger en hang ze op een kleer-hanger. | alle 3) beha-ve behoed-zaamen TJD PROGR. | |
| GEMAKKELIJK STRIJ-KEN PLUS | 1 kg (of 5 overhemden) | Speciaal programma met anti-kreukmechanisme, voor strijkvrij stoffen zoals overhemden en blouses; om makkelijker te kun-nen strijken. Het resultaat is af-hankelijk van het soort stof en de afwerking. Doe het wasgoed on-middelijk na het centrifugeren in de droger. Haal overhemden zo-dra ze gedrooggelijk direct uit de droger en hang ze op een kleer-hanger. | alle 3) beha-ve behoed-zaamen TJD PROGR. | |
| WOL 1 kg | Drogen van wollen stoffen nadat ze gewassen zijn, met gebruik van warme lucht en een minimale mechanische belasting (zie de para-graaf "Wasgoed sorteren en voor-bereiden"). Advies: er volgt geen antikreukprogramma, dus verwij-der de artikelen direct na het dro-gen. | DROOGTE-GRAAD, T/MIN, ZOE-MER, STARTTUTSTEL 3) | ||
| CYCLE DE NUIT SYN-THETISCH | 3 kg | Zeer zicht en voorzichtig drogen van synthetische stoffen. Aanbe-volen als 's nachts worden ge-droogd. | DROOGTE-GRAAD, T/MIN, lang antikreuk, zoemer, STARTTUT-STEL | |
| CYCLE DE NUIT KA-TOEN | 8 kg | Zeer zicht en voorzichtig drogen van katoen. Aanbevolen als 'snachts worden gedroogd. | DROOGTE-GRAAD, T/MIN, lang antikreuk, zoemer, STARTTUT-STEL | |
1) De OPTIE fjne was en behoedzaam konnen Niet tegelijkertijd worden geselecteerd.
2) kiezen BEHOEDZAAM
3) fîne was standard ingesteld
Dagelijks gebruik
Wasgoed sorteren
-
Sorteren op weefseltype:
-
Katoen/linnen voor programma's in de programmekappie KATOEN.
-
Gemengde en synthetische stoffen voor programma's in de programme groep SYNTHETISCH.
-
Sorteren op wasetiket: Betekenis van de wasetiketten:

Drogen in de droogtrommel in principe möglichk

Drogen op normale temperatuur

Drogen op lage temperatuur

Drogen in de droogtrommel niedtogelijk

Doe geen nat wasgoed in de droger dat Niet op het wasetiket gespecifieerd is als geschikt voor drogen in de droogtrommel.
Dit apparaat kan gebruikt worden voor alle soorten nat wasgoed dat gelabeld is als geschikt voor drogen in de droogtrommel.
- Droog zich, gekleurd textiel Niet samen met lichtgekleurd wasgoed. De kleuren van het textiel konnen aufgeven.
- Droog geen tricot engebrie deikelen op hetprogramma EXTRA.Deze artikelen kuren krimpen!
- Wollen en wolachtige stoffen können gedroogd worden met het WOL-programma. Centrifugeer de wollen articiken voor de droogcyclus zo goed möglichk (max. 1200 tsp). Droog alleen wollen articiken samen die qua materiaal, kleur en gewicht vergelijkkaar of hetzelfde zich. Droog zware wollen articiken apart.
Wasgoed voorbereiden
- Voorkom dat het wasgoed verstrikt raakt: sluit ritsen, knoop dekbedovertrekken zich en sluit losese riemen of strikken (bv. van schorten).
Maak zakken leeg. Verwijder metalen voorwerpen (paperclips, veiligheidsspelden enz.). - Keer voorwerpen met dubbellaagse weefsels binnenstebuiten (bv. bij met katoen afgewerkte anoraks要去 de katoenlaag aan de buitenkant zitten). Deze weefsels drogen dan better.

Doe nicht teveel wasgoed in de machine. Houd een max. belading van 8kg aan.
Gemiddeld gewicht van wasgoed
| badjas 1200 g | |
| dekbedovertrek 700 g | |
| herenwerkoverhemd 600 g | |
| herenpyjama 500 g | |
| laken 500 g | |
| tafelkleed 250 g | |
| herenoverhemd 200 g | |
| nachthemd 200 g | |
| kussensloop 200 g | |
| badstof handdoek 200 g | |
| blouse 100 g | |
| damesslip 100 g | |
| herenslip 100 g | |
| servlet | 100 g |
| theedoek 100 g |
Machine inschakelen / lampje inschakelen
Draai de programmakeuzeknop op een willekeurig programa of op LICHT AAN. De machine is ingeschakeld. Als de vuldeur worden geopend,.gaat de trommelverlichting aan.
Vuldeur openen / wasgoed in de trommel doein
- Vuldeur openen:
Duw met kracht gegen de vuldeur (drukpunt).
2. Vul de trommel met wasgoed (druk het Niet aan).

LET OP!
Laat het wasgoed Niet:tussen de deur en derubber pakking terecht komen.
3. Doe de vuldeur goed zich. U moet een duidelijk klik horen.

Hetprogrammakiezen
Gebruik de programmakeuzeknop om het gewensteprogramma te selecteren. De geschatte tijdsduur tot het einde van het programma verschijnt
op het display, bv. 2.32 (uren, minutes). Tijdens de cyclus verstrikt de tijd in stappen van een minuut.

DROOGTEGRAAD
Deze functie verbetert de droogtegraad van het wasgoed. Het wasgoed wordt droger door te ver

- Kies het droogprogramma.
- Druk herhaaldelijk op de toets DROOGTEGRAAD(1) tot de gewenste droogtegraad

(MIN)op hertdisplay wordt weergegeven.
Als het betreffende programme Niet voorzien is van een vochtigheidsinstelling, worden het pictogram op het display weergegeven.
T/MIN
Als het wasgoed in de wasmachine gecentrifugeerd is voor het begin van de droogcyclus, kan de droger ingesteld worden in overeenstemming met de centrifugeersnelheid van de oorspronkelijke afpompprocedure. Hoe hoger de centrifugeersnelheid, des te korter duurt het programma voor de droogcyclus.
Druk een aantal keren op de toets T/MIN(2) totdat de gewenste centrifugesnelheid van het oorspronkelijke centrifugetoerental worden weergegeven. Er worden geen waarde weerge
geven als er geen centrifugeersnelheid is gekozen.
In bepaalde programma's is de centrifugeersnel-heid Niet van invloed (tijdgestuurde cyclli). De centrifugeersnelheid kan dan Niet geselecteerd worden en er worden drie streepjes weergegeven. Beschikbare keuzemogelijkheden:

Extra OPTIE selectoren
De extra opties die beschikbaar zijn voor de droogprogramma's, zich fijne was, lang anti-kreuk, behoedzaamen zoemer
- Draai de knop om een droogprogramma te kiezen.
- Druk op de toets OPTIE (3) om de optie in te stellen. Op het scherm ziet u de beschikbare OPTIE weergegeven als pictogrammen:




fijne was lang antikreuk behoedzaam zoemer
pictogram fijnewas knippert. Een knipperend pictogram betekent: geselecteerd maar nicht actief. Druk op de toets OK(4) om de geselecteerde optie te activeren. De geactiveerde optie worden weergegeven als een knipperend pictogram met.daaronder een streepje.
- Druk afwisselend op de toets OPTIE(3) om de juiste optie te selecteren en op OK(4) om deze te activeren. Actieve OPTIE worden alkijd weergegeven als een knipperend pictogram methaaronder een streepje.
- De optiekeuzemodus worden beeingd zodra u alle OPTIE heeft doorlopen of stopt met kiezen. Alleen geactiveerde optiepictogrammen zijn aan.

Sommige OPTIE kuren nicht samen worden gekozen als fijne wasen behoedzaam. Sommige OPTIE kuren nicht worden geselecteerd met bepaalde programma's

Om een optie uit te schakelen volgt udezelfde stappen. Het optiepictogram verdwijnt.
fijne was
Voor bijzonder voorzigachtig drogen van kwetsbare stoffen met het wasetikenet voort temperatuurgevoelig textiel (bv. acryl, viscose). Het programme worden uitgevoerd met gereduceerde warmte.
fijne was is alleen geschikt voor gebruik bij ladingen tot 3kg
Als deze optie actief is, brandt het pictogram fijne was 念
lang antikreuk
Met de functie lang antikreuk worden de antikreukfase (30 min.) na het drogen uitgebrecht met 60 minutes. De trommel draait gedurende deze fase met onderbrekingen. Hierdoor blijft het wasgoed los en kreukt het Niet. Deze fase duurt in totaal 90 minutes. Het wasgoed kanijdens de antikreukfase te allen tjnde uit de machine gehaald worden.
Als deze optie actief is, brandt het pictogram lang antikreuk
behoedzaam
Voor het voorzichtig drogen van weefsels die vaak gedragen worden. Het programma begint op de volle warmte-instelling, die verwolgens verlaagd worden的那一armate het programma vordert.
Als deze optie actief is, brandt het pictogram behoedzaam
zoemer
Het apparatus wordt geleverd met uitgeschakelde ZOEMER-functie.
Kies de optie zoemerom de zoemer te activeren.
Als deze optie actief is, brandt het pictogram zoemer
De zoemer maar een signalaof een melodietje horen bij:
- het einde van de cyclus
- de antikreukfase en aan het begin of einde van de fase
- onderbreking van de cyclus door een waarschuwing
- a l a r m
TIJD PROGR.
Om de programmaduur te selecteren nadat het TIJD PROGR.is ingesteld. U=kunt een programmaduur selecteren van 10 minute tot 3 eer, in stappen van 10 minutes.
- Draai de programmakeuzeknop op het Tijd PROGR.. Boven de toets wordt knipperend Tijd PROGR.weergegeven (behorend bij de afkoelfase).
- Druk herhaaldelijk op de toets TIOD PROGR.(5) tot de gewenste programmaduur op het
display wordt weergegeven, bv. 20 voor een programma van 20 minutes.
Als er geen programmaduur is geseleerd, worden de duur automatisch ingesteld op 10 minutes.
STARTUITSTEL

Met de toets STARTUITSTEL(7) kunt u de start van een programma uitstellen met minimaal 30 minutes (30') tot maximaal 20 uur (20h).
- Selecteer het programme en de extra functies.
- Druk herhaaldelijk op de toets STARTUITSTEL(7) totdat de gewenste uitgestelde start
op het display worden weergegeven, bv. als het programma over 12aar moet starten.

Als op het display 20h worden weergegeven en u de toets nogmaals indrukt, worden de uitgestelde start geannuleerd. Op het display verschijnt 0^ en cervolgens de programmaduur van het geselecteerde programma.
- Druk op de toets START/PAUZE(6) om de uisteltimer te activeren. De resterendeijd tot het moment dat het programma volgens de instelling moet starten, worden continu weergegeven (bv. 15h, 14h, 13h, ... 30' enz.).
Kinderslot
Het kinderslot kan ingesteld worden om te voorkomen dat een programma per ongeluk worden gestart of dat een lopend programma onbedoeld worden veranderd. De kinderslotfunctie blokkeert alle toetsen en de programmakeuzeknop. Het kinderslot kan in- of uitgeschakeld worden door gedurende 5 seconden de toetsen OPTIE(3) en OK(4) tegelijkkertijd ingedrukt te honden.

- Voordat het programme is gestart: het apparaat kan nicht worden gezruikt
- Nadat het programme is gestart: het lopende programme kan nicht worden verandered
Op het display verschijnt het pictogram om aan te geben dat het kinderslot ingeschakeld is.
Het kinderslot worden nicht uitgeschakeld als het programme is afgelopen.
Als u een新产品 programma wilt instellen, moet u eerst het kinderslot uitschakelen.
Hetprogramma starten
Druk op de toets START/PAUZE(6). Het programma worden gestart.
Het programmaverloop worden op het display weergegeven door de bijbehorende set pictogrammen. Van links maar rechts, van strijkdroog 品 tot antikreuk hangt het pictogram af van de gekozen droogcyclus. In het programme kastdroogzijn bijvoorbeeld de volgende pictogrammen zichtaar: 品 HEt tuele verloop van de cyclus worden aangegeven door een knipperend streepje onder het pictogram. Wanner het betreffende deel van de droogcyclus is voltooid, gaat het streepje continu branden en begint er een streepje onder het volgende pictogram te knipperen.
Hetprogrammaveranderen
Om een programma te veranderen dat per ongeluk is gekozen,要去 u eerst de programmakeuzeknop op UIZteten en dan het programma opnieuw instellen.

Als hetprogramma eenmaal begonnen is, kan het Niet meer veranderd worden. Als u desondanks toch probeert het programma te veranderen door aan de programmakeuzeknop te draaien, gaan het programmavoortgangdisplay en de controelampjes knipperen. Als u op een optietoets (behalte de toets zoemer) drukt, worden op het display Ernweergegeben. Het droogprogramma worden hierdoorECHTER NIET beivloed (wasgoedbescherming).
De trommel leeghalen
Zodra de droogcylus voltooid is, verschijnt er een knipperende op het display, en onder het antikreuk pictogram verschijnt een streepje. Als de optie zoemeris ingesteld, klinkt er gedurende ongeveer een minuut met:tussenpozen een geluidssignaal.

De droogcycli worden automatisch gevolgd door een antikreukfase die onceveer 30 minu- nuten duurt. De trommel draait gedurende deze fase met onderbrekingen. Hierdoor blijft het wasgoed los en kreukt het Niet. Het wasgoed kan tijdens de antikreukfase te allen tijde uit de machine gehaald worden. (het wasgoed moet op zich首先要 gegen het einde van de antikreukfase uit de machine worden gehaald om te voorkomen dat het gaat kreuken). Als de optie lang antikreuk is ingesteld, worden de antikreukfase met 60 minutes verlengd.
- Open de deur.
- Verwijder het Plains van het microfilter voordat u het wasgoeduit de trommel haalt. U kunt dat het beste met een vochtige hand doein. (zie het hoofdstuk "Onderhoud en reiniging").
- Haal het wasgoed UIT de trommel.
- Draai de programmakeuzeknop op UIT.

Na elke droogcyclus:
- Beinig het microfilter en het fjne filter
- Maak het condenswaterreservoir leeg
(zie het hoofdstuk "Onderhoud en reiniging").
- Sluit de deur.
Onderhoud en reiniging
Het pluizenfilter reinigen
De filters verzamelen al het pluis datijdens het drogen vrijkomt. Om ervoor te zorgen dat de droger perfect blijft werken,要去en de pluizenfilters (microfilter en fijnzeef) na elke droogcylus schoongemaakt worden.
Het waarschuwingspictogram herinnert u daaraan.

LET OP!
Gebruik de droger nooit zonder pluizenfilters of met beschadigde of verstopte pluizenfilters.
- Open de vuldeur.
- Maak het microfilter schoon met een vochtige hand (het filter is in het onderste deel van de vuldeur ingebouwd).

- Na verloop vanijd ontstaat er op de fil- ters aanslag van wasmiddel dat op het wasgoed is achtergebleven. Wanner dit gebeurt, moeten de filters gereinigd te worden met warm water en een borstel. Verwijder het filter uit de deur door het maar buiten te trekken. Het filter kan met het vleugeltje�ak links ofaar rechts worden geplaatst.
Vergeet het Niet na reiniging terug te zetten.
- Druk de ontgrendelknop op het filter met grote mazen in.
Het filter met große mazen springt maar buiten.


- Neem de fjne zeef uit.
- Verwijder het Plains van de fijnzeef. U kunt dat het beste met een vochtige hand doen.

Verwijder het Plains van het gehele filtergebied
Het gebied rond de zeef hoeft nicht na elke droogcyclus schoongemaakt te worden, maar dient wel regelmatig gecontroleerd te worden en, indienoodzakelijk, moet het pleas verwijderd worden.

- Hiertoe pakt u de bovenkant van het filter met grote mazen vast en trekt u het waar voren totdat het loskomt van de twee beugels.
- Verwijder het plus van het gehele filtergebied. U(Int) dat het beste met een stofzuiger doen.
- Druk beiden uitsteeksels van het filter met grote mazen in de beugels van de vuldeur tot ze vastklikken.
- Plaats de fijnne zeef terug.
- Duw het filter met große mazen vast in de vergrendeling.

Als de fîjne zèef nièt geplaatst is, zal het filter met大切 mazen nièt op+zijn plaats vergrendeld worden en kan de vuldeur nièt gesloten worden.


De deurpakking schoonmaken
Veeg de deurpakking meteen na afloop van de droogcyclus met een vochtige doek af.
Het waterreservoir leegmaken
Maak het waterreservoir na elke droogcyclus leeg.
Als het waterreservoir vol is, worden een actief programme automatisch afgebrozen en gaat op het display het pictogram reservoir leegmaken branden. Om verder te konnen.gaan met het programma, moet het waterreservoir eerst leeggemaakt worden.

WAARSCHUWING!
Het condenswater is nicht geschikt als drinkwater of om voedsel te bereiden.
- Trek het waterreservoir helemaal maar buiten.

- Giet het condenswater in een teil of andersoor opvangbak.
- Schuif het waterreservoir weer op+zijn plaats.
Als het programma onderbroken is odomat het condenswaterreservoir vol was: druk op de toets START/PAUZEom verder te gaan met de droogcyclus.


Het waterreservoir heeft een inhoud van ongeveer 4,5 liter. Dit is voldoende voor ongeveer 8kg wasgoed dat voorafgaand gecentrifugeerd is op 1000 toeren/minuut.

Het condenswater kan gebruikt worden als gedistilleerd water, bv. voor een stoomstrijkijzer. Filter het water wel eerst (bv. via een koffieffilter) om eventuele restanten enklee pluisjes te verwijderen.
De warmtewisselaar reinigen
Als het pictogram warmtewisselaar wordt weergegeven,要去 de warmtewisselaar worden gereinigd.

LET OP!
Als u de droger LAST werken terwijl de warmtewisselaar verstopt is met pleas, kan dat schade toebrengen aan de droger. Het verhoegt ook het energieverbruik.
- Open de deur.
- Open het deurtje in de sokkel. Druk hier-voor op de ontgrendelingsknop aan de onderkant van de deuropening en trek het deurtje in de sokkelaar links open.
- Verwijder pluis van de binnenkant van de deur en de voorkamer van de warmte-wisselaar. Veeg de deurpakking af meteen vochtige doek.
- Draai de beiden vergrendelingsschuiven\ aar binnen.


- Gebruik de handgreep om de warmtewisselaaruitde onderkantetrekkenendraag hem horizontal om te voorkomendat er restwater gemorst worden.
- Houd de warmtewisselaar verticaal boven een opvangbak om deze leeg te make.

LET OP!
Gebruik geen scherpe voorwerpen om te reinigen. De warmtewisselaar kan daardoor aanlekken.
- Reinig de warmtewisselaar.
U kunt hiervoor het Beste een borstel gebruiken, of hem grondig afspoelen met een handdouche.
8. Plaats de warmtewisselaar terug en vergrendel hem op+zijn plaats (draai de beiden vergrendelingsschuiven maar buiten tot ze vastklikken).
9. Sluit het deurtje in de sokkel.

LET OP!
Laat de droger nooit werken zonder de warmtewisselaar.
De trommel reinigen

LET OP!
Gebruik geen schuurmiddelen of staalwol om de trommel schoon te make.

Kalk in het water of reinigingsproducten konnen een nauwelijks zichbare aanslag op de binnenkant van de trommel achterlaten. De waarneming van de droogtegraad van het wasgoed is dan Niet meer betrouwbaar. Het wasgoed is vochtiger dan verwacht wanneer het uit de droger worden gehaald.
Gebruik een standardhuishoudelijk reinigingsmiddel (bijv. een op azijn gebaseerd reinigingsmiddel) om de binnenkant van de trommel en de trommelribben af te vegen.
Het bedieningspaneel en de behuizing schoonmaken

LET OP!
Gebruik geen meubelreiners of agressieve reinigingsmiddelen om de machine schoon te make.
Gebruik een vochtige doek om het bedieningspaneel en de behuizing af te vegen.
Watte doen als...
Zelf problemen oplossen
Alsijdens de werkung de foutcode E_· · plus een cijfer of letter op het display worden weergegeven: schakel de machine uit en weeer aan. Reset het programma. Druk op de toets START/PAUZE(6). Als de fout nog steeds worden weergegeven, neem dan contact op met de dichtst bijzijnde klantenservice en vermeld de foutcode.

| Probleem Mogelijk | oorzaak Oplossing | |
| Droger doet het Niet. | Stekker is Niet in het stopcontact of de zekering werkstiet op de juiste manier. | Steen de stekker in het stop-contact. Controleer de zekering in de zekeringkast (huishoude-lijke installmentatie). |
| De vuldeur staat open. Sluit de vuldeur. | ||
| Heeft u op de toets START/PAU-ZE(6) gedrukt? | Druk nogmaals op de toets START/PAUZE(6). | |
| Droogresultaten Niet maar te-vredenheid. | Verkeerde programma geselec-teerd. | Selecteer een ander programma wonneer u de volgende koer droegt (zie het hoofdstuk: "Programmatabel"). |
| Grove pluizenfilters verstopt. Reinig de pluizenfilters. | ||
| Fijne pluizenfilter verstopt. Reinig het pluizenfilter. | ||
| Warmtewisselaar verstopt met pluis. | Reinig de warmtewisselaar. | |
| Te grote hoeveelheid wasgoed. | Houd u aan de geadviseerde beladingsvolumes. | |
| Ventilatiesleuven in de sokkel afgedekt. | Maak de ventilatiesleuven vrij. | |
| Aanslag op het oppervlak aan de binnenkant van de trommel of op de trommelribben. | Reinig het oppervlak aan de binnenkant van de trommel en de trommelribben. | |
| Verander de instelling met be-hulp van de functie DROOGTE-GRAAD(1) (zie hoofdstuk "Da-gelijks gezbruik") 1) | ||
| Geleiding van water op instal-atieplaats verschilt van stan-daardinstelleningen van machine. | Herprogrammeer de stan-daardinstelling voor de droog-tegraad (zie het hoofdstuk "Programma-OPTIE"). | |
| Vuldeur sluit Niet. | Fijne zeef of filter met groete mazen Niet op hun plaats ver-grendeld. | Plaats de zeven en/of klik het filter met groete mazen op+zijnplaats. |
| Als er een toets worden inge-drukt, verschijt Err op het dis-play. | Wasbeveiliging. Na de start van het programmekan deze optie Niet meer worden ingesteld. | Draai de programmakeuzeknop op UIT. Stel het programme op-nieuw in. |
| Trommelverlichting doet het Niet. | Programmakeuzeknop staat in stand UIT. | Draai de programmakeuzeknop op LICHT AANof op een wille-keurig programma. |
| Lampje defect. | Vervang het lampje (zie de vol-gende paragraaf). | |
| Weergegeben programmaduur verandert steeds of verandert gedurende lange:tijd Niet. | De programmaduur worden au-tomatisch gecorrigeerd afhan-kelijk van het soort en de hoe-veelheid wasgoed en de voch-tigheidsgraad. | Automatisch proces, er is niets mis met het apparaat. |
| Programma werkst Niet, picto-gram waterreservoir legen ◆brandt. | Waterreservoir is vol. | Maak het waterreservoir leeg en start dan het programma met de toets START/PAUZE(6). |
| Droogcyclus eindigt kort nadat het programme start. | Niet voldoende wasgoed gel-a-den of de geladen was is te droog voor het geselecteerdeprogramma. | Selecteer een tijdgestuurd pro-gramma of een hogere droog-tegraad (bv. EXTRA DROOGof INTENSIEF DROOGinplaats van KASTDROOG);. |
| De droogcyclus duurt once-woon lang. Opmerking: Na on-geveer 5aar stopt de droogcy-clus automatisch (zie "Droog-cyclus compleet"). | Grove pluizenfilter verstocht. Reinig het pluizenfilter. | |
| Fijne pluizenfilter verstocht. Reinig het pluizenfilter. | ||
| Laadvolume te groot. Verminder | laadvolume. | |
| Wasgoed Niet voldoende ge-centrifugeerd. | Het wasgoed要去 voldoende gecentrifugeerd�n. | |
| Kamertemperatuur uitzonder-lijk hoog. | Automatisch proces, er is niets mis met het apparaat. Verlaag indien mogelijk de kamertem-peratuur. | |
1) alleen voor drogers met de functie DROOGTEGRAAD
Het lampje van de binnenverlichting verrangen
Gebruik alleen lampjes die special ontworpen zijn voor wasdrogers. Deze speciale lampjes zijn verkrijgbaar bij de Klantenservice, ET nr. 112 552 000-5.

Als het apparaat is ingeschakeld, gaat de binnenverlichting 5 minutes nadat de deur is gesloten automatisch UIT.

WAARSCHUWING!
Gebruik geen standardlampjes! Deze ontwikkelen te veel warmte en{kennen de machine beschadigien!
Haal Voordat u het lampje verrangt de stekker uit het stopcontact. Bij een permanente aansluiting: draai de zekering helemaal los of haal hem weg.
- Schroef het dekseltje van het lampje los (het dekseltje bevindt zich directchyter de vuldeur, aan de bovenkant; raadpleeg het hoofdstuk "Beschrijving van de machine").
- Vervang het defecte lampje.
- Schroef het dekseltje weeer vast.
Controleer of de o-ringpakking correct geplaatst is voordat u het dekseltje van de deurverlichting wee vastschroeft. Gebruik de droger Niet als de o-ringpakking op het dekseltje van de deurverlichting ontbreekt.

WAARSCHUWING!
Voordat u het lampje verrangt, de stekker uit het stopcontact halen; bij een permanente aansluiting: de zekering losdraaien of weghalen.
Machine-installingen
| Instelling Uitvoering | |
| Zoemer permanent aan/uit | 1. Draai de programmakeuzeknop op een willekeurigprogramma. 2. Druk tegelijkkertijd op de toetsen DROOGTEGRAAD (1)en T/MIN (2) en houd deze ongeveer 5 seconden langinedrukt. 3. Standaard staat de zoemer altijd uit. U=kunt de optiezoemer gebruiken om het geluid in- of uit te scha-kelen, maar deze selectie worden door de machine nichtin het geheugen opgeslagen. |
| Waterhardheid Water bevat een variabele hoeveelheid kalksteen en minerale zouten (afhan- kelijk van de geografische locatie) enderhalve variëren ook de geleidings- waarden ervan. Relevante variabies van de watergelei- ding ten opzichte van de door de fabrikant ingestelde waarden+kunnen de restvochtigheid van het wasgoed aan het einde van de cycluslicht beinvloeden. Met uw droger+kunt u de gevoelig- heid van de droogsensor afstellen op de geleidingswaarden van het water. | 1. Draai de programmakeuzeknop op een willekeurigprogramma. 2. Druk tegelijkkertijd op de toetsen DROOGTEGRAAD (1)en TIJD PROGR. (5) en houd deze ongeveer 5 secon- den lang ingedrukt. De huidige instilling worden op het display weergegeven: - lage geleiding <300 μS/cm - gemiddelde geleiding 300-600 μS/cm - hoch geleiding >600 μS/cm 3. Druk herhaaldelijk op de toets START/PAUZE (6) tot- dat het gewenste niveau is ingesteld. 4. Druk tegelijkkertijd op de toetsen DROOGTEGRAAD (1)en TIJD PROGR. (5) om deinstilling op te slaan, ofdraai de knop op stand UIT |
| Waarschuwingsbericht waterreser- voir reinigen permanent uit Bij gebruik van een externe afvoer voor het condenswater. | 1. Draai de programmakeuzeknop op een willekeurigprogramma. 2. Druk tegelijkkertijd op de toetsen T/MIN (2) en TIJDPROGR. (5) en houd deze ongeveer 5 seconden langinedrukt. De huidige instilling worden op het display weerge- geven: - waarschuwingspictogram en waarschuwings- bericht is uit - waarschuwingspictogram en waarschuwings- bericht is ingeschakeld Standaard is het waarschuwingsbericht ingeschakeld enwordt het altijd weergegeven aan het einde van de droogcyclus of tijdens de cyclus als het waterreservoir vol is. |
Technische gegevens

Dit apparaat voldoet aan de volgende EG-richtlijnen:
- 2006/95/EG van 12-12-2006 Richtlijlaagspanning
- 89/336/EEG van 03-05-1989 EMC-richtlijn inclusief de geamendeerde richtlijn 92/31/ EEG
- 93/68/EEG van 22-07-93 CE-markeringsrichtlijn
| Hoogte x bredte x diepte 85 x 60 x 58 cm | |
| Volume trommel 108 l | |
| Diepte met vuldeur open 109 cm | |
| De hoogte kan worden afgesteld met 1,5 cm | |
| Leeg gewicht ca. 40 kg | |
| Laadvolume (afhankelijk van het programme)1) | max. 8kg |
| Spanning 230 V | |
| Benodigde zekering 16 A | |
| Totaal vermogen 2350 W | |
| Energie-efficiëntieklasse | B |
| Energieverbruik (8 kg katoen, vooraf gecentrifugeerd bij 1000 tsp)2) | 4.48kWh |
| Gemiddeldaarliks energieverbruik 282 kWh | |
| Gebruik Huishoudelijk | |
| Toegestane omgevingstempoatuar + 5°C tot + 35°C | |
| Verbruikswaarden De verbruikswaarden zijn vastgesteld op basis van standardcondities en{kunnen afwijken bij gebruik van de machine in huishoudelijk omstandigheden. | |
| Programma | Energieverbruik in kWh / gemiddelde droog-tijd in min. |
| KATOEN KASTDROOG2) | 4.48/ 135 (8 kg lading voorgecentrifugeerd bij 1000 tsp) 4.3 (8 kg lading voorgecentrifugeerd bij 1200 tsp) 4.0 (8 kg lading voorgecentrifugeerd bij 1400 tsp) 3.5 (8 kg lading voorgecentrifugeerd bij 1800 tsp) |
| KATOEN STRIKDROOG2) | 3.8/ 108 (8 kg lading voorgecentrifugeerd bij 1000 tsp) |
| SYNTHETICA KASTDROOG2) | 1.3/ 45 (3 kg lading voorgecentrifugeerd bij 1200 tsp) |
1) In sommige landen können andere laadvolumegegevens nodig zich, vanwege andere meetmethoden.
2) in overeenstemming met IEC 61121
Tips voor testinstanties
Parameters die gecontroleerd können worden door testinstances:
- Energieverbruik (gecorrigeerd met uiteindelijke vochtigheidsgraad)ijdens de cyclus koeten kastdroog met nominale lading.
- Energieverbruik (gecorrigeerd met uiteindelijke vochtigheidsgraad)ijdens de cyclus ko toen kastdroog met halve lading.
- Uiteindelijke vochtigheidsgraad (tijdens katoen kastdroog, katoen strijkdroog en kastdroog strijkvrij)
- Condensatie-efficiente (gecorrigeerd met uiteindelijke vochtigheidsgraad)ijdens de cyclus katoen kastdroog met nominale en halve lading.
Alle cycli要去en gecontroleerd worden in overeenstemming met IEC 61121 (Wasdrogers voor huishoudelijk gebruik - Methodes voor het meten van de prestatie).
Installatie
Plaatsing van het apparatus
- Voor uw gemak worden geadviseerd de machine dichtbij de wasmachine teplaatsen.
- De wasdroger moet op een schoneplaats worden geinstalleerd, waar geen vuilophoping kanplaatsvinden.
- Lucht要去 vrij hunnen circuleren rond het hele apparaat. Belemmer het voorste luchtrooster en het achterste luchtrooster Niet.
- Om trillingen en geluid tot een minimum te beperken wanner de droger in gebruik is,要去 deze op een stabel horizontal vlak geplaatst worden.
- Zodra het apparaat op zijn definitieve plaat staat, dient gecontroleerd te worden of de droger wel helemaal horizontaal staat met behulp van een luchtbelwaterpas. Is dit nicht het geval, stel dan de stelpootjes af totdat dit wel het geval is.
- De pootjes moogen nooit verwijderd worden. Belemmer de speling:tussen het apparaat en de vloer Niet met hoogpolig tapijt, houten strips of dergelijkke. Hierdoor kan er dit worden opgebouwd die storing kan verroorzaken bij de bediening van dit apparaat.

De hete lucht die door de wasdroger worden uitgestoten kan temperaturen bereiken tot 60^ . Het apparaat mag waarom Niet geinstalleerd worden op vloeren die nicht bestendig zich tegen hoch temperaturen.
Bij het bedieren van de wasdroger mag de kamertemperatuur Niet lager liggen dan +5^ en Niet hoger dan +35^ , waar dat dit de prestaties van het apparaat in de weg kan staan.

WAARSCHUWING!
Als het apparaat verplaatst moet worden要去 dit vertical gebeuren.

WAARSCHUWING!
Het apparaat mag Niet worden geplaatst awhile een afluitbare deur, een schuifdeur of een deur met scharnieren aan de tegenovergestelde ziche als die van het apparaat.
Verwijdering van de transportbeveiliging

LET OP!
Voordat u de droger in gebruik neemt moeten alle transportbeveiligingen verwijderd worden.
- Open de vuldeur.
- Trek de repen plakband los van de binnenkant van de machine, boven op de trommel.

- Verwijder de plasticfolie en de polystyreenvulling van de machine.

Elektrische aansluiting
Gegevens over het voltage, het stroomtype en de zekeringen vindt u op het typeplaatje. Het typeplaatje is vlak bij de vulopening gemonteerd (zie hoofdstuk "Productbeschrijving"). Sluit de machine aan op een geaard stopcontact, in overeenstemming met de geldende bedrangingsvoorschriften.

WAARSCHUWING!
De fabrikant kan nicht aansprakelijk worden gesteld voor schade of letsel die voortkomt uit het Niet opvolgen van bovengenoemde verilgheidsmaatregelen.
Indien de voedingskabel要去 worden verrangen, dan dient dit te gebeuren door once klantenservice.

WAARSCHUWING!
Het aansluitsnoer要去egankelijk zijn na het installereren van de machine.
De draairichting van de deur veranderen

WAARSCHUWING!
Haal voordat u de draairichting van de deur verandert de stekker uit het stopcontact .
- Open de vuldeur.
- Schroef scharnier A aan de voorkant van de machine los en verwijder de vuldeur.
- Verwijder de afdekplaten B. Steek hier voor een smalle schroevendraaier in de openingsen (zie afbeelding), duw een Klein stukje omlaag en de wrik de afdekplaten los.
- Gebruik geschickt gereedschap en oefend drukuit om het vergrendelingsblokje C los te makev van de bevestiging.Neem het blokjeuit,draai het 180^ om en monteer het aan de andere kant van de deur.
- Schroef scharnier A van de vuldeur los, draai het 180^ ,plaats het aan de andere kant en schroef het vast.
- Draai de afdekplaten B 180^ en zet ze vast aan de andere kant.

- Schroef afdekplaat D los van de voorkant van de machine, draai deplaat 180^ en schroef hem aan de andere kant vast.
- Schroef de deurvergrendeling F los, duw hem enigszinsaar beneden en verwijder hem van de voorkant van de machi-ne.
- Druk de knop F in enaar beneden, duw de afdekplaat enigszinsaar beneden en verwijder hem van de voorkant van de machine.
- Monteer de deurvergrendeling E aan de andere kant en schroef de vergrendeling vast.
- Plaats aan de andere kant de afdekplaat F en klik de knop vast.
- Plaats de vuldeur en scharnieren in de openings aan de voorkant van de machine en schroef ze vast.

Opmerking betreffende contactbescherming: De machine kan alleen veilig worden gebrukt als alle kunststof onderdelen gemonteerd+zijn.
Verkrijgbaar bij de klantenservice of uw gespecialiseerde dealer
Deze installmentesets können gebruikt worden om de droger bovenop een wasmachine (60 cm breed, voorlader) teplaatsen, om ruimte te konnen besparen. De droger worden bovenop de wasmachine geplaatst.
Lees de bij de kit geleverde gebruiksaanwijzing zorgvuldig door.
- afvoerkit

Verkrijgbaar bij de klantenservice of uw gespecialiseerde dealer
Afvoerset om het condenswater recktstreeks af te voeren in een bak, sifon, gootsteen, enz. Het condenswaterreservoir hoeft dan Niet meer geleegd te worden, maar要去 wel op de waarvoor bedoelde plaat in de machine blijven zitten.
Lees de bij de kit geleverde gebruiksaanwijzing zorgvuldig door.
- sukkel bij de droger

Verkrijgbaar bij de klantenservice of uw gespecialiseerde dealer
Hiermee kan de droger op een optimale hoogte worden geplaatst, om ruimte over te houden om垦s op te bergen (bv. wasgoed).
Lees de bij de kit geleverde gebruiksaanwijzing zorgvuldig door.
Onderhoud
Indien zich technische storingen voordoen, probeer dan eerst of u het problem zich kunt oplossen met behulp van de gebruiksaanwijzing (Hoofdstuk "Wat要去 u doein als..."). Kunt u het probleem Niet zich oplossen, neem dan contact op met de dichtst bijzijnde klantenservice.
Om u snel te{kunnen helpen, hebben wij de vol-gende gegevens nodig:
- Modelbeschrijving
- Productnummer (PNC)
- Serienummer (S No.) (zie typeplaatje voor den nummers)
- Aard van de storing
- Eventuele foulmelding die door het apparatus wordt aangegeven
Om de nodige gegevens van uw apparaat bij de hand te hebben, adviseren wij u ze hieronder te noteren:
Modelbeschrijving:
U kan toebehoren, verbruiksprodukten en onderdelen bestellen via once webwinkel op:
SimpelGids