CDCL72MT - Radio MT Logic - Notice d'utilisation et mode d'emploi gratuit
Retrouvez gratuitement la notice de l'appareil CDCL72MT MT Logic au format PDF.
| Caractéristique | Détails |
|---|---|
| Type de produit | Radio |
| Fréquences prises en charge | FM, AM |
| Connectivité | Entrée AUX, Bluetooth (si applicable) |
| Alimentation | Secteur ou piles (selon modèle) |
| Dimensions | Dimensions spécifiques (à vérifier sur la fiche produit) |
| Poids | Poids spécifique (à vérifier sur la fiche produit) |
| Utilisation | Écoute de stations de radio, utilisation d'entrées audio externes |
| Maintenance | Nettoyage régulier, vérification des connexions |
| Sécurité | Ne pas exposer à l'humidité, utiliser des adaptateurs conformes |
| Informations générales | Vérifier la compatibilité des accessoires, garantie |
FOIRE AUX QUESTIONS - CDCL72MT MT Logic
Téléchargez la notice de votre Radio au format PDF gratuitement ! Retrouvez votre notice CDCL72MT - MT Logic et reprennez votre appareil électronique en main. Sur cette page sont publiés tous les documents nécessaires à l'utilisation de votre appareil CDCL72MT de la marque MT Logic.
MODE D'EMPLOI CDCL72MT MT Logic
Afin d'eviter les risques d'incendie ou d'électrocution, n'exposez pas ce radio réveil avec lecteur CD à la pluie, ou à l'humidité ainsi qu'aux gouttes ou éclaboussures de liquides généralement qualconques.
Evitezdonedeplacerdescontenants(vases,tasses,verresetc...)sur l'appareil.
La ventilation normale de l'appareil ne devrait pas etre obstruée en recouvrant les ouvertures permettant la ventilation normale de I'appareil par des objets tels que journaux, nappes, ridesaux etc...
Afin d'éviter les risques d'incendie, ne placez pas l'appareil en un endroit exposé directement à la chaleur ou à une flamme.
Evitez également d'exposer l'appareil au contact de flammes nues telles que des bougies allumées, ou dans l'environnement immédiat de celles-ci.
Le cordon d'alimentation de l'appareil doit pouvoir ettre disconnected aisement et rapidement de la prise de courant domestique 230V en cas de necessities.
La pile de sauvegarde de l'heure, se trouvant dans l'appareil, ne peut pas etre exposée a une source de chaleur, telles les rayons du soleil, une plaque de cuisson etc...
Avertissement.
Les circuits de l'élément du lecteur CD de l'appareil peut induire des interférences dans la réception radio d'un autre apparéil fonctionnant dans l'environnement direct du lecteur CD.
Dans ce cas éloigner les deux apparèils l'un de l'autre.

Ce signe averti l'utilisateur de la presence d'une tension electrique dangereuse, et non isolée à l'intérieur du boîtier de l'appareil, d'une magnitude suffisante pour constituer un risque de chocoléctrique important.
AVERTISSEMENT
RISQUE DE CHOC ELECTRIQUE
AVERTISSEMENT : AFIN D'EVITER LE RISQUE DE CHOC ELECTRIQUE, NE PAS TENTER D'OUVRIR LE BOITIER DE CET APPAREIL, AUCUNE PIECE POUVANT ETRE REPAREER PAR L'UTILISATEUR NE SE TROUVE A L'INTERIEUR .REFEREZ VOUS A UN SERVICE OU A DU PERSONNEL QUALIFIE POUR REPARER L'APPAREIL.

Ce signal averti l'utilisateur qu'il est recommandé de lite attentivement le mode d'emploi joint afin de prendre connaissance des instructions de fonctionnement et d'entretien importantes se trouvant dans ce manuel.
DANGER

RISQUE D'EXPOSITION AU RAYON INVISIBLE DU LASER LORSQUE L'ON PENETRE OU LORSQUE LE BOITIER DE L'APPEARI EST ENDOMMAGE
Le rayon laser : prudence
Cet apparéil utilise un rayon laser optique, équipé de système de sécurité interne, dans la partie du lecteur CD. Ne tentez pas de démonter le boîtier de l' apparéil pour entraîr dans ce mécanisme. Faites appel à du personnel qualifié. S'exposer au rayon invisible du laser peut endommager sérieusement les yeux.
CE PRODUIT UTILISE UN LASER DE CLASSE 1. MODIFIER LES PROCEDURES OU LES FONCTIONS POUR LESQUELLES L'APPAREIL EST ETUDIE ET FABRIQUE PEUT ENTRAINER DES RISQUES D'EXPOSITIONS AU RAYON DU LASER.
Indications relatives à la protection de l'environnement


Au terme de sa durée de vie, ce produit ne doit pas être éliminé avec les ordures meagères mais doit être remis à un point de collecte destiné au recyclage des appareils électriques et électroniques. Le symbole figurant sur le produit, la notice d'utilisation ou l'emballage vous indique cela.
Les matériaux sont recyclables conformément à leur marquage. Vous apportez une large contribution à la protection de l'environnement par le bias du recyclage, de la réutilisation matérielle ou par les autres formes de réutilisation des appareils usages.
Veuillez vous adresser à la municipalité pour connaître la déchetterie compétente.

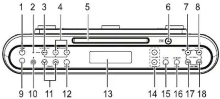
Localisation des touches de contrôle et indicateurs de fonctions
Vue face avant

Vue face inférieure

- Entrée pour apparéil auxiliaire, bouton de mise en fonction.
- Témoin d'activation de la minuterie
- Touche démarrage/arret de la minuterie
- Touche d'ajustement +/- de la minuterie
- Portillon du compartment CD
- Touche d'ouverture/fermeture du portillon du lecteur CD
- Touche d'arrêt de lecture CD / mise hors fonction du lecteur CD
- Touche de mise en fonction du lecteur CD / lecture / mise en pause
- Connexion d'entrée pour apparéil auxiliaire (jack)
- Fenêtre de réception des signaux de la commande à distance
-
Touches de selection croissant/ décroissant des stations préselectionnées (A)
-
Touche de mise en fonction de la radio
- Ecran digital (LCD)
- Réglage puissance volume + / -
- Touche d'affichage de l'heure
- Selecteur du mode CD/ touche de programmation
- Fonction CD: saut plage, retour débutophage ou plage precedente.
Fonction radio: recherche decroissant de stations
Réglage de l'heure: réglage décroissant
- Fonction CD: saut plage, vers plage suivante
Fonction radio: recherche croissant des
stations
Réglage de l'heure: réglage croissant.
- Haut parleur
- Cordon d'alimentation 230V
- Portillon du compartment pile
- Fil d'antenne FM
Télécommande
-
Touche de réglage puissance volume +/ -
-
Fonction CD : saut plage, retour début plage ou plage précédente.
Fonction radio : recherche décroissant de stations
- Fonction CD : saut plage, vers plage suivante
Fonction radio : recherche croissant des stations
-
Touches de seLECTION croissant/decroissant des stations preselectionnées (/)
-
Touche de mise en fonction radio
-
Entrée pour apparéil auxiliaire, bouton de mise en fonction.
-
Touche de coupure immédiate du son (Mute)
-
Touche de mise en fonction / lecture / mise en pause du lecteur CD
-
Touche d'arrêt de lecture / mise hors fonction du lecteur CD
10 Plaque magnetique.
- Portillon du compartment des pilles.
Mise en place des piles.
-
Retirez le portillon du compartment des piles.
-
Insérez et placez 2piletype « AAA » en respectant le sens des polarités tel qu'indiquédans le compartment. Un placement de piles erroné est une cause de disfonctionnement.
-
Replacez et refermez le portillon du compartment des piles.
Notes:
- Evitez d'exposer les piles (places dans le compartment de l'appareil ou dans leur emballage) à une chaleur excessive, aux rayons directs du soleil, à une flamme etc...
- Durant un entreposage, ou si l'appareil ne sera pas utilisé pendant une période prolongée, retirez les piles de la commande à distance afin d'éviter les risques du « coulage » corrosif des piles qui abimerait l'appareil.
Lorsque I'eloiignement a partir duquel le fonctionnement de la commande a distance diminuera significativement, remplacez les piles de la commande a distance. Ne melangez jamais des piles usagées et des piles neuves. - Ne tentez jamais de recharger des piles normales, de les court-circuiter, de les démonter et ne jamais jeter de piles dans un feu.
- Afin de respecter l'environnement, déposez les piles usées dans un endroit approprié, un centre de reprise des piles usages.
Utilisation de la commande à distance.
Le fonctionnement de l'appareil principal est identique via l'utilisation de la commande à distance sauf :
- Appel d'une station différente de celle.
- Lors de l'utilisation de la fonction de coupure immediate du son (Mute) l'indication MUTE sera affichée à l'écran. Appuyez une fois de plus sur cette même touche pour reprendre l'écoute au même niveau volume que précédemment.
Utilisation de la plaque magnétique.
La plaque magnétique aimantée, fixée sur le dos de la commande à distance vous permet de la déposer sur un support en fer ou en acier tel par exemple une porte de frigo. N'utilise pas la commande à distance lorsqu'elle est déposée, fixée, sur un support en fer, en acier.
Evitez de déposer la commande à distance à coté d'une carte ayant une bande magnétique (carte de banque, carte de crédit etc...)

Installation
Installation de l'appareil sour une tablette.
-
A l'aide du gabarit fourni avec l'appareil, marquez les trous de fixation. Ensuite forer les trou s à l'aide d'une foreuse/perceuse.
-
Si une porte d'armoire surplombe la tablette sur laquelle vous souhaitez fixer l'appareil, pensez à régler la hauteur de fixation de l'appareil.
-
Fixez l'appareil à l'aide des vis fournies avec l'appareil

Attention:
- Avant fixation prenez en compte le poids de l'appareil (support suffisamment solide)
- Pour éviter les risques d'incendie ne placez pas l'appareil au dessus d'une source de chaleur (chauffage, plaque de cuisson, four etc...)
- Installez l'appareil de manière à pouvoir raccorder directement celui-ci à une prise domestique 230V aisément accessible. N'utilise pas de rallonge.
Veillez à tendre le cordon d'alimentation 230V. Si ce cordon, une fois raccardé, est trop lâche enroulez le surplus sur un crochet pour le tendre. - Installéz l'appareil aussi loin que possible de tous moteurs électriques, sources de parasites, tels que réfrigerateur, micro-ondes, fours, tube néon etc...
Alimentation électrique.
- Vérifiez que le voltage de l'appareil correspond à celui distribué par le réseau : 230Ven Belgique (le voltage de l'appareil est indiqué sur la plaque fixée dur la face inférieure de l'appareil) Si les voltages ne correspondent pas, reprenez au plus tout, et avant un raccordement, contact avec votre revendeur.
- Raccordez le cordon d'alimentation de l'appareil à une prise domestique du bon voltage.
Dés que l'appareil est raccordé et alimenté, l'écran digital clignotera en affichtant l'indication 00:00. Les instructions de mise à l'heure de l'horloge sont indiquées plus loin.
Pannde courant.
Lors d'une panne de courant, l'appareil ne fonctionnera plus. Dés que le courant est rétabli, l'écran clignotera à nouveau et affichera l'indication. Le type d'affichage vous indiquera qu'il y a eu une coupure de courant et il faudra à nouveau regler l'horloge pour laMETRE à l'heure.
Système de secours (réserve de pile)
Une pile de 2"AA" (non fournie) peut - être installée dans le compartment prévu à cet effet. Cette pile permettra d'alimenter le circuit de l'horloge (uniquement) de l'appareil en cas de rupture de courant et de la始终保持 à l'heure correcte.. Dés que l'alimentation en courant sera rétable, l'heure correcte sera à nouveau affichée et vous dispensera d'un réglage supplémentaire

- Seul donc le fonctionnement de l'horloge est assure par la pile de réserve durant une rupture d'alimentation. L'heure ne sera cependant pas affichee durant la rupture et ni la radio ni le lecteur CD ne fonctionne. Dés le retour normal de l'alimentation electrique toutes les fonctions de l'appareil seront rétablies et l'heure affichée sur l'écran sera l'heure correcte.
- Par sécurité, remplacez la pile de sauvegarde une fois par an. La durée de vie de la pile dépend des fréquences des coupures de courant et de leur longueurs (varie selon les régions).
Remarque : Il est cependant conseilé de contrôle l'heure affichée par l'appareil après une coupure de courant et de la remettre à l'heure correcte si nécessaire.
Mise à l'heure de l'horloge.
Pourmettre,enmodearrêt,l'horlogea l'heure,procededez comme suit:
- Appuyez durant quelques secondes sur la touche CLOCK. Un signal sera audible et les chiffres de l'heure commenceront à clignoter.

- Appuyez sur la touche TUNE/TIME + ou - jusqu'à ce que l'heure correcte soit affichée sur l'écran. L'indication MW/FM s'affichera ensuite sur ce même écran.

- Appuyez une seconde fois sur la touche CLOCK. Un signal sera à nouveau audible et les chiffres des minutes clignoteront sur l'écran digital.
- Repetez les instructions du point 2 pour regler l'affichage correcte des minutes. Lorsque l'heure exacte est affichee sur I'ecran, appuyez sur la touche CLOCK une fois encore. Deux signaux audibles vous indiqueront que le fonctionnement normal de I'horloge est.Commencé.
Pour un réglage rapide de l'heure exacte, appuyez de manière continue sur la touche TUNE/TIME + ou -.
Utilisation du lecteur CD
Manipulation des CD
Les disques CD doivent être manipulés avec soins. Des disques sales ou déformés peuvent être la cause de sauts lors de la lecture du disque et modifier la qualité du son. Observer les remarques suivantes devraient vous permettre de profiter longtemps de l'excellente qualité musicale de votre collection de CD :
Utilisez seulement les disques portant le logo d'identification ci-après :

- Les disques devraient être conservés dans leurs états lorsqu'ils ne sont pas utilisés.
Pour garder vos disques propres, apprenez à les manipuler en les tenant par les bords (tranches) Evitez de toucher avec les doigts la surface, et d'y coller des adhesifs ou papiers. Les traces de doigts ou de poussière peuvent être éliminées en essuyant soigneusement depuis le centre du disque vers l'extérieur, la surface du CD à l'aide d'un chiffon sec et doux. - N'utilisez jamais de produits de nettoyage chimique tels que benzène, diluant, alcool, des vaporisateurs de produit de nettoyage ou anti-statique. Ceux-ci peuvent endommager de manière irréversible la surface plastique du disque.
- Ne collez ou n'écrivez rien sur un coté ou l'autre du disque, et particulièrement sur le coté opposé à celui de l'étiquette.
Pour éviter que le disque ne se déforme, ne l'exposez pas l'exposez au contact direct des rayons du soleil, à des températures extrêmes, à des sources de chaleur, ou à l'humidité pendant des périodes prolongées.

Precaution :
Pour éviter d'endommager votre disque et/ou votre lecteur, assurez vous que la rotation du disque est complètement stoppée avant d'ouvrir le portillon du tiroir de lecture.
Fonctionnement du lecteur CD
- Appuyez une première fois sur la touche LAY/PAUSE pourmettre le lecteur CD en fonction. l'indication « CD » sera alors affichee sur I'écran digital.
-
Pour ouvrir le plateau du lecteur CD, appuyez sur la touche OPEN/CLOSE.
-
Note : en appuyant à n'importe quel moment sur la touche OPEN/CLOSE vous activez le fonctionnement du lecteur CD et commandez l'ouverture du plateau CD sauf lorsque l'alarme de la minuterie est enclenchée.
-
Placez un disque, face avec le label vers le haut, sur le plateau du lecteur CD
-
Appuyez à nouveau sur la touche àfin de referrer le plateau du lecteur CD
-
Le lecteur CD va alors lore le contenu du disque et affichera à l'écran le nombre de pistes que contient ce CD.
-
Si aucun disque n'a ete installe sur le plateau de lecture du CD, Iecran affichera l'indication NO
- Appuyez maintainant sur la touche PLAY/PAUSE pour lancer la lecture du CD en débutant par la piste n°1. L'écran affichera le numéro de la piste en cours de lecture.
- Ajustez la puissance du volume en appuyant sur les touches VOLUME +/- (« 20 » est la puissance volume maximum).
- Pour interrompre momentanément,mettre en pause,la lecture du CD,appuyez une fois encore sur la touche PLAY/PAUSE.



Pour relancer la lecture d'un CD mis préalablement en pause de lecture, appuyez encore sur cette même touche PLAY/PAUSE.
- Appuyez sur la touche STOP pour arreter la lecture d'un CD.
- Pour stopper l'alimentation du compartment CD, appuyez une seconde fois sur la touche STOP.
Remarques : la lecture d'un CD s'arrête automatiquement lorsque :
- la lecture complète du CD est achevée.
- l'ouverture du plateau de lecture est activée
des que I'on appuie sur la touche RADIO ON/ BAND ou AUX IN
La fonction SKIP/SEARCH (Iou I)
Cette touche de fonction vous permet de selectionner une piste différente de cette qui est en cours de lecture.
Pour sauter directement à la lecture de la piste suivante du CD, appuyez une seule fois sur la touche Si vous souhaitez sauter la lecture de plusieurs pistes successives, appuyez autant de fois sur cette même touche, vous pouvez suivre le défilament des numérodes des pistes sur l'écran digital.
- Si vous vous désirez recommencer la lecture de la piste en cours de lecture, appuyez une seule fois sur la touche ! Si vous souhaitez relire une plage précédent celle en cours de lecture, appuyez plusieurs fois sur cette même touche jusqu'au moment ou l'écran digital affiche le numéro de la plage souhaitée.
Débuter la lecture d'un CD depuis une plage précise.
- Lorsque l'appareil n'est pas en cours de lecture (mode STOP) vous pouvez selectionner la piste que vous souhaitez écouter à l'aide des touches de recherche I▲ou ▷I pour sélectionner le numéro de la piste désirée.
- Appuyez ensuite sur la touche PLAY/PAUSE pour lancer la lecture de la plage selectionnée.
Rechner un passage précis sur une plage.
L'appareil permet de faire une lecture (croissant et décroissant) rapide d'une plage afin de retrouver une section précise de la plage. Durant cette recherche le son de la lecture sera déformé.
- En la maintainant enfoncée, appuyez sur la touche l'ou l lors de la lecture de la plage souhaitee, et arrivé à la section souhaitee, relâchez la touche et dés cet instant la lecture à vitesse normale continue.
Lecture programme
Répetition de lecture d'une plage.
Durant la lecture de cette plage, appuyez une seule fois sur la touche CD MODE/PROGRAM. Letémoin « REPEAT 1 » s'allumerapour confirmerl'activation de la relecture de la plage可以选择.
Répetition de la lecture complète du CD
Durant la lecture du CD, appuyez deux fois sur la touche CD MODE/PROGRAM, le témoin « REPEAT ALL » s'allumera pour confirmer l'activation de la relecture du CD.
Lecture aléatoire d'un CD
- Durant la lecture du CD, appuyez à trois reprises sur la touche CD MODE/PROGRAM, le témoin RDM clignotera pour confirmer l'activation de la fonction de la lecture aléatoire.
Programmation
Une programmation s'opere lorsquel'appareil n'est pas en cours de lecture. La mise en memoire d'une programmation de lecture peut containir jusqu'à 20 pistes maximum. Une même piste peut etre programmée plusieurs fois dans une programmation.
- Appuyez sur la touche CD MODE/PROGRAM, le témoin PGM clignotera et l'indication P01 sera affichée sur l'écran.
- A l'aide de la touche b selectionnez le numero de la piste que vous souhaitez programme en premiere position.
- Lorsque le numero de cette piste est affiché sur l'écran, appuyez sur la touche CD MODE/PROGRAM pour l'installer dans la mémoire de l'appareil. L'indication sera albrs22 affichée sur l'écran pour indiquer que l'on peut procéder à l'installation dans la mémoire de la piste suivante de cette programmation.
- Repetez les points 2 et 3 ci-dessus pour programmer dans l'ordre les pistes - 20 maximum - que vous souhaitez installez dans la mémoire.
Lecture d'une programmation.
Appuyez sur la touche PLAY/PAUSE le témoin PGM s/allumera et la lecture de la programmation sera lancée.
Effacer une programmation.
- Appuyez sur la touche STOP avant de lancer la lecture de la programmation, ou...
- Appuyez deux fois sur la touche STOP durant la lecture d'une programmation.
Ouvrez le plateau du lecteur CD - Appuyez une seule fois sur la touche RADIO ON.
RACCORDEMENT ET UTILISATION D'UN APPAREIL AUXILIAIRE
Attention : avant d'effectuer le raccordement d'un apparéil auxiliaire, veilles à arrêté le fonctionnement de l'appareil et retirez le cordon d'alimentation de la prise domestique. L' apparéil peut donc être raccordé à des apparéils audio auxiliaires, enregistreur video inclus, pour diffuser le son provenant de l'auxiliaire connecté.
Comment procedcr :
- Raccorder, à l'aide d'un cable de connexion audio (non fourni), l'appareil audio auxiliaire, depuis sa connexion « LINE OUTPUT » (sortie audio) à la connexion « AUX IN » de l'appareil.
- Appuyez sur la touche AUX IN/ON pourmettre l'appareil en fonction et activer la fonction AUX IN.
- L'indication AUX est alors affichée sur I'ecran de I'appareil
- A l'aide des touches de réglage volume +/- ajustez la puissance du volume selon votre souhait.
- Pour stopper le fonctionnement de l'appareil après usage, appuyez simplement sur la touche STOP/OFF.

UTILISATION DE LA RADIO
- Appuyez une seule fois sur la touche RADIO ON pourmettre la radio en fonction.L'indication « RADIO » sera alorsaffiché sur I'écran digital.
- En appuyant brièvement et successivement sur la touche TUNE/TIME + ou - l'appareil recherche, de manière croissante ou décroissante, la fréquence de la station souhaitation.
- Pour une recherche automatique des stations, appuyez pendant plus d'une seconde, sur la touche TUNE/TIME + ou - pour faire balayer, de manière croissante ou décroissante, la bande de fréquence jusqu'à la réception de la première station captable. Répétez cette même procédure jusqu'à la réception de votre station souhaitée.
- A l'aide de la touche VOLUME +/- réglez la puissance du volume.
- Pour arrêté le fonctionnement de la radio, appuyez une seule fois sur la touches STOP/OFF.
NOTE: la fréquence de la station captée est affichée durant +/- 10 secondes, ensuite l'écran. digital affichera à nouveau l'heure. En appuyant une seule fois sur la touche RADIO ON la fréquence de la station est à nouveau affichée.
Améliorer la qualité de la réception.
- Pour couver la meilleure réception en FM, déployez et orientez le fil d'antenne raccordé sur la face arrêté de l'appareil.
Il est conseilé de ne pas placer l'appareil pres d'un moteur électrique (frigo, four etc...) pour éviter les parasites qui pourrait nuir à la qualité de la réception.
INSTALLATION DE STATIONS EN PRÉSELECTIONS
- A l'aide de la touche RADIO ON, Sélectionnez la station souhaïée.
- Lorsque l'appareil est reglé sur la station voulue, appuyez sur la touche CD MODE/PROGRAM pour acceder au programme de mise en mémoire.
- La partie de l'écran indiquant les préselections clignotera, appuyez alors sur les touches PRESET ( / ) afin de selectionner le numéro sous lequel vous souhaitez placer la station en préselection.
- Appuyez ensuite une fois encore sur la touche CD MODE/PROGRAM pour confirmer la mise en mémoire. Une autre station préalablement mémorisée sous ce même numéro sera automatiquement effacée.
- Repetez les points 1 4 pour placer en mémoires d'autres stations.
Remarque : l'appareil accepte la mémorisation de 12 présélections en bande FM

Rappel d'une station preréglée.
Pour rappeler n'importe qu'elle station installée en préselection, dans la bande de fréquence concernée, appuyez sur la touche PRESET / des présections jusqu'àu moment ou la fréquence de la station mémorisée a cet emplacement est affichée sur l'écran digital.

Utilisation de la minuterie (compte à rebours)
- Réglage de la minuterie
- Appuyez sur la touche TIME ADJUST + ou - pour régler le temps de comptage de la minuterie. Le temps maximum accepté par la minuterie est de 120 minutes et le décompte s'effectue par intervalle d'une minute.
- Appuyez ensuite sur la TIMER pour lancer le décompte. Le tímoin de fonction de la minuterie s'allumera.
-
Lorsque la minuterie a eté réglée et que le décompte est commencé l'écran digital affiche le temps restant à courir, toutes durant ce décompte l'heure exacte, la fréquence de la station sur laquelle la radio est réglée ou le nombre de la piste du CD en cours de lecture peuvent être affché sur l'écran à n'importe quel moment en procédant comme suit :
-
Appuyez une seule fois sur la touche CLOCK pour afficher l'heure et la piste du CD en cours de lecture.
- Appuyez une seule fois sur la touche CLOCK pour afficher l'heure si la radio est en fonction.
- Appuyez une seule fois sur la touche RADIO ON/BAND pour afficher la fréquence radio de la station en cours de réception.
- Appuyez une seule fois sur la touche CLOCK pour afficher l'heure si l'appareil n'est pas en fonction en mode radio ou lecture CD.
- Dans les 5 secondes après avoir affiché l'heure, l'appareil affiche automatiquement à nouveau sur l'écran digital le décompte restant du temps de la minuterie.
- Pour annuler le fonctionnement de la minuterie, appuyez simplement sur la touche TIMER. Le tímoin indicateur de la fonction minuterie s'arrête.
- La minuterie peut donc fonctionner dans les différents mode suivants : lorsque il est mode lecture CD, lorsqu'il est en mode fonction radio, lorsqu'il est en mode fonction AUX IN et lorsque l'appareil n'est pas dans l'une ou l'autre des fonctions.
- Si l'appareil n'est pas dans un des modes de fonctions
Le décompte de temps de la minuterie achemé, un « bip » sera audible et le témoin du TIMER clignotera pendant 60 minutes maximum. Cette alarme peut être stoppée en appuyant simplement sur la touche TIMER.
- Si l'appareil est dans un des modes de fonctions
Le décompte de temps de la minuterie achemé, un « bip » sera audible et le témoin du TIMER clignotera pendant 60 minutes maximum. Lorsque cette alarme retentira le niveau sonore de la lecture du CD, ou de la radio, ou de la AUX IN sera automatiquement baisse. Cette alarme peut être stoppée en appuyant simplement sur la touche TIMER. Lorsque la fonction minuterie est stoppée, le niveau sonore de la lecture CD, ou de la radio ou de la AUX IN reviendra au niveau original.
IMPORTANT
Remarque: Bien que cet apparéil soit concu pour pouvoir en plus des disques CD normaux, lore également des disques CD-R et CD-RW, cette capacité de lecture peut être affectée par le type de software qui a été utilisé lors de l'enregistrement du disque, ainsi que par sa qualité ou les conditions et même du type du support utilisé. La lisibilité à 100% ne peut donc être garantie. Ce n'est pas une indication qu'il y a un problème avec l' apparéil!








CDCL-72MT
Notice Facile