CDCL72MT - Radio MT Logic - Gratis gebruiksaanwijzing en handleiding
Vind de handleiding van het apparaat gratis CDCL72MT MT Logic in PDF-formaat.
Questions des utilisateurs sur CDCL72MT MT Logic
0 question sur cet appareil. Repondez a celles que vous connaissez ou posez la votre.
Poser une nouvelle question sur cet appareil
Download de handleiding voor uw Radio in PDF-formaat gratis! Vind uw handleiding CDCL72MT - MT Logic en neem uw elektronisch apparaat weer in handen. Op deze pagina staan alle documenten die nodig zijn voor het gebruik van uw apparaat. CDCL72MT van het merk MT Logic.
GEBRUIKSAANWIJZING CDCL72MT MT Logic
Om het risico van brand of elektrische schokken te voorkomen, dient u dit apparaat Niet bloot te stellen aan regen of vocht.
Het apparaat mag Niet worden bloatgesteld aan druppelende of spetterende vloeistoffen en er mogen geen voorwerpen die vloeistoffen bevatten boven of op het apparaat worden geplaatst.
De ventilatie mag nicht worden belemmerd. Zorg waarom dat de ventilatieopengen Niet zich bedekt met kranten, tafelkleden, gordijnen etc.
Om het risico van brand te voorkomen, plaats geen kachel of kookapparatuur onder het apparaat.
Er mogen geen open vuurbronnen op het apparaat worden geplaatst, Zoals brandende kaarsen.
Het apparaat worden via de stekker op het elektriciteitsnet aangesloten en deze stekker要去 alsijd in goede staat়.
Om het apparaat volledig van de stroomtoevoer af te sluiten, moet de stekker volledig uit het stopcontact worden gehaal.
De batterijen mogen Niet aan grote warmte worden blootgesteld, zoals zonlicht, vuur etc.
LET OP
Omdat het CD circuit storing kan veroorzaken bij andere radiotuners in de buurt, dient u dit apparaat verder van de andere radiotuners vandaan teplaatsen ofuit te schakelen als het Niet in gebruik is.

Het symbool van de bliksemschicht met pijl binnen een gewelijkzijdige driehoek is bedoeld om de gebruiker te waarschuwen voor het gevaar van ongeisoleerde "gevaarlijke netspanning" binnen de behuizing van het apparaat die voldoende sterk is om gevaar van elektrische schokken voor Personen op te leveren.
LET OP
RISICO VAN ELEKTRISCHE SCHOKKEN
NIET OPENEN
WAARSCHUWING: OM HET RISICO VAN ELEKTRISCHE SCHOKKEN TE VERKLEINEN, DIENT U DE BEHUIZING (OF HET ACHTERPANEEL) NIET TE VERWIJDEREN. DIT APPARAAT BEVAT GEEN ONDERDELEN DIE ONDERHOUD VEREISEN. LAAT HET ONDERHOUD OVER AAN EEN BE VOE G DE ONDERHOUDSMONTEUR.

Het uitroepteken binnen een gelijkzijdige driehoek is bedoeld om de gebruiker te attenderen op belangrijke bediening- of onderhoudsinstructies in de documentationie die bij het apparatus wordt geleverd.
GEVAAR

ONZICHTBARE LASER
STRALING INDIEN GEOPEND
ENINDIEN VERGRENDELING
IS MISLUKT OF OMZEILD.
VERMUD RECHTSTREEKSE
BLOOTSTELLING AAN
LASERSTRAAL
VEILIGHEID VAN DE LASER
Bij dit apparaat worden in het CD mechanisme gekruikgemaakt van een optisch lasersystem, dat een ingebouwde veiligheid heeft. Probeer het apparaat Niet te demonteren. Laat dit over aan een bevoegde onderhoudsmonteur. Bootstelling a an deze onzichtbare laserstraal kan schadelijk zichoor het menselijk oog. DIT IS EEN PRODUCT VAN LASERKLASSE 1. HET GEBRUIK VAN REGELAARS, AFSTELLINGEN OF PROCEDURES DIE NIET IN DEZE HANDLEIDING WORDEN VERMELD, KUNNEN TOT GEVAARLIJKE BLOOTSTELLING AAN LASERSTRALING LEIDEN.
Aanwijzingen inzake de milieuubescherming

Dit product mag aan het einde van+zijn levensduur Niet samen met het normale huishoudelijkke afval verwijderd worden, maar moet afgevegen worden op een verzamelpunt voor de recycling van elektrische en elektronische apparatuur. Het symbol op het product, in de gebruiksaanwijzing of op de verpakking maakt u waarop attendant.
De grondstoffen zijn volgens hun kenmerking herbruikhaar. Met het hergebruik, de materiaèle verwerking of andere vormen van recycling van oude apparaten levert u een belangruijie bijdrage tot de bescherming van ons milieu.
Gelieve bij het gemeentebestuur informatie te vragen over het bevoegde verzamelpunt.

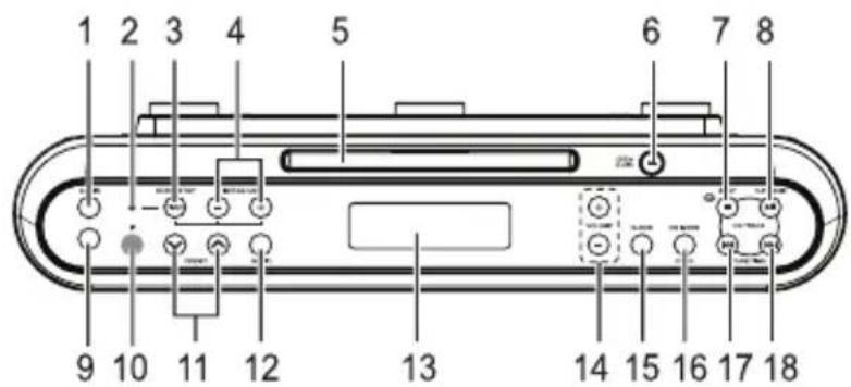
PLAATS VAN BEDIERINGSREGELAARS EN INDICATORENS
Vooranzicht

Onderaanzicht

- AUX IN, AAN toets
- TIMER-indicator
- TIMER START/STOP-toets
- TIMER ADJUST - / + toetsen (aanpassen)
- Klep CD-compartment
- CD-lade OPEN/CLOSE-toets (openen/sluiten)
- CD STOP/OFF-toets (stoppen/Uit)
- CD Aan, PLAY/PAUSE-toets (afspelen/pauze)
- AUX IN Ingang
- Sensor afstandsbediening
- Radio voorkeuze maar boven enaar beneden toetsen (
-
RADIO ON (radio Aan/band)
-
LCD-display
- VOLUME + / -toets
- CLOCK-toets
- CD MODE/PROGRAM-toets (modus/programmeren)
- CD: Overslaan / Vorige zoeken
Radio: TUNE -
Tijd: TIME - - CD: Overslaan / Volgende Zoeken
Radio: TUNE +
Tijd: TIME + - Luidsprekers
- Voedingssnoer (wisselstroom)
- Klep batterijenhouser
- FM-draadantenne
Afstandsbediening
- Volume + / - toets
- CD: Overslaan/Vorige zoeken Radio: Tuning
- CD: Overslaan / Volgende Zoeken Radio: Tuning +
- Radio voorkeuze maar boven en benden toetsen (/)
- RADIOz (radio Aan/band)
- AUX IN, AAN toets
- MUTE-toets (dempen)
- CD Aan, PLAY/PAUSE-toets (afspelen/pauze)
- CD STOP/OFF-toets (Aan/Uit)
- Magnetischeplaat
- Klep batterijenhouser


BATTERIJEN PLAATSEN
- Verwijder de klep van de batterijenhouder.
- Plaats twee AAA-batterijen zoals door de markings aan de binnenzijde van de batterijenhouder worden aangegeven (als de batterijen verkeerd worden geplaatst, kan dat tot storing leiden).
- Plaats de klep van de batterijenhouder terug.
Opmerking:
Eventueel geinstalleerde batterijen moot Niet aan groe warmte worden blootgesteld zoals zonlicht, vuur etc.
Tijdens opsgag of als batterijen gedurende langere tijd Niet worden gebruikt, dienen de batterijenuit het apparaat te worden verwijderd om schade door lekkage of corrosie van batterijen tevoorkomen.
- Als de afstand waarop de afstandsbediening werkt kleiner worden, dient u de batterijen te verrangen. Gebruik geen oude en neue batterijen door elkaar.
- Gebruik geen alkalinebatterijen, standarddbatterijen (koolstof-zink) of oplaadbare batterijen (nikkel-cadmium) door elkaar.
Probeer batterijen nicht opniew op te laden, kort te sluiten, te demonteren, te verhitten of in open vuur te werpen.
Zorg ervoor dat oude batterijen in overeenstemming met deplaatselijke wet- en regelgeving worden weggegooid.
BEDIENING
De basisbediening is hetzelfde als die voor het apparaat, behalve:
- PRESET UP - ophalen van geprogrammeerde stations binnen de geselecteerde band.
- MUTE - dempen van het geluid uit de luidspreker. Op het LCD-display wordt "MUTE" weergegeven. Druk nogmaals op deze toets om de demping functie op te heffen.
Gebruik van de magneet
De magneet is aan de achterzijde van de afstandsbediening bevestigd. U kunt de afstandsbediening tegen een ijzeren of stalen oppervlak bevestigen, bijvoorbeeld een koelkast.
De gebruiker要去 de afstandsbediening Niet gebruiken verwijl deze gegen een ijzeren/stalen oppervlak is bevestigd.
Opmerking: plaats de afstandsbediening Niet in de nabijheid van een kaart (of pas) die van een magneetstrip is voorzien.
GEREEDMAKEN VOOR GEBRUIK
HET APPARAAT ONDER EEN KAST BEVESTIGEN
- Boor de gaten met behulp van een boormachine.
- Als de kastdeur over de plank uitsteekt en voor het apparaat in de weg hangt,kest u de hoogte van het apparaat of de plank aanpassen.
- Bevestig het apparaat met behulp van de bijgeleverde schroeven.

Let op:
Gelieve het volgende eerste te lezen voordat u het toestel gaat installereren.
- Het apparataat is zwaar. Wees waarom voorzichtig bij het bevestigen.
- Om het brandgevaar te beperken, dient u geen verwarming-of kookapparatuur onder dit apparaat teplaatsen.
- Plaats het apparaat zodanig dat het voedingssnoerrechtstreeks op een wandcontactdoos kan worden aangesloten. Gebruik geen verlengsnoer.
Zorg dat het voedingssnoer geen spel ing heeft als het apparaat wordt gebruikt. Als het voedingsssnoer spel ing heeft, dient u dit op de snoerbeugels op te rollen tot het snoer geen spel ing meer heeft. - Plaats het apparaat zo ver möglichk van andere geluidsbronnen vandaan (koelkast, magnetron, tl-lamp etc.)
STROOMVOORZIENING
- Controller of de netspanning die op de typeaanduiding worden vermeld (aan de onderzijde van het apparaat) correspondeert met de lokale netspanning. Raadpleeg uw dealer of onderhoudsorganisatie als dit Niet het geval is.
- Sluit het voedingssoer aan op een wandcontactdoos voor wisselstroom. Zodra u de stekker in het stopcontact steekt, gaat de tijd op het display knipperen en worden weergegeven. Zie de onderstaande instructies voor het instellen van de juiste tijd.
STROOMSTORING
Als een stroomstoring optreedt, worden het apparaat automatisch uitgeschakeld. Zodra de stroomtoevoer worden hersteld,.gaat en aan te given dat u de juiste tijd要去 instellen.
BACK-UP-SYSTEEM MET BATTERIJ
2 batterij van "AA" (niet bijgeleverd) kan met het oog op stroomuitval in de batterijhouser worden geplaatst. Deze batterij voorziet het apparaat van voldoende stroom om deijd aan te gehen. Als de stroomtoevoer is hersteld, worden de juisteijd aangegeven en hoeft deze nicht opnieuw te worden ingesteld.
A Is het apparaat Niet op een stopcontact voor wisselstroom is aangesloten, werken het display en het apparaat Niet. DE BATTERIJ GEEFT ALLEEN DE JUISTE Tijd AAN ALS DE STROOMTOEVOER VIA HET STOPCONTACT IS HERSTELD.

- Vervang de batterij eenmaal peraar. De levensduur van een batterij hangt af van hoe vaak en hoelang de stroom uittvalt. Dit verschilt per regio.
Opmerking: controller na stroomuitval.altijd de tijd en stel deze indien nodig opniew in.
WEKKER
De huidige tijd instellen nadat de stroomtoevoer op Uit hebft gestaan
- Houdt de CLOCK-toets enkele seconden ingedrukt. Er klinkt een signaal en op het display begint het uurcijfer te knipperen.
- Druk op de toets TUNE/TIME + of - tot het juiste uwr en MG/FM op het display verschijnen.
- Druk eenmaal op de CLOCK-toets. Er klinkt een signal en het minuutcijfer.gaat knipperen.
- Herhaal stap 2 om de Minutes in te stellen. Druk nadat u de Minutes hebt ingesteld op de CLOCK-toets. Er klinken twee tonen, waarna de wekker in werkig is.

Houdt de toets TUNE/TIME + of - ingedrukt om de huidigeijd snel in te stellen.
GEBRUK VAN DE COMPACT DISC
TIPS VOOR HET OMGAAN MET COMPACT DISCS
Discs moeten met zorg worden behandeld. Vuil, stof, krassen en gebogen CD's können ertoe leiden dat het geluidijdens het afspelen overspringt waardoor de geluidskwaliteit afneemt. De volgende richtlijnen dragen ertoe bij dat u optimaal van uw CD-verzameling kutn genieten:
- Gebruikuitsluitend discs die zijn voorzien van het logo voor audio compact discs.

Berg de CD's altijd op in het CD-doosje als u de CD's Niet gebruikt.
- Houd de discs schoon door ze bij de rand vast te houden. Raak het oppervlak van de CD NIET aan en plak er geen papier of plakband op. Vingerafdrukken en stof dienen voorzichtig met een zachte doek van de CD te worden verwijderd. Veeg in rechte bewegingen van het midden maar de rand.
- Gebruik geen schoonmaakchemicalien, zoals: benzine, thinner, alcohol, reinigingsof antistatische sprays. Deze konnen het kunststof oppervlak van de CD namelijk blijvend beschadigen.
- Schrijf Niet op de voor- en blijijde van de disc en plak er niets op. Dit geldt vooral voor de Niet-gelabeldeল.
- Om te voorkomen dat de disc gebogen raakt, dient u deze nooit bloot te stellen aan direct zonlicht, extreme temperatures, warmtebronnen of vochtigheid.
- Vuile, gekraste of gebogen discs küssen ruis of het overspringen van geluid veroorzaken.

LET OP
OM SCHADE AAN UW DISC OF AFSPEELAPPARATUUR TE VOORKOMEN, DIENT U ER ALTIJD VOOR TE ZORGEN DAT DE CD NIET MEER DRAAIT VOORDAT U DE KLEP VAN HET DISCCOMPARTIMENT OPENT.



- Druk eenmaal op de toets PLAY/PAUSE om de stroomtoevoer maar de CD-speler in te schakelen. Op het LCD-display worden "CD" weergegeven.
-
Druk eenmaal op de toets OPEN/CLOSE om het CD-compartment te openen.
-
OPMERKING: als u op de toets EN/CLOSE drukt, worden de CD-functionie van het apparaat automatisch ingeschakeld en worden het CD-compartment geopend, TENZIJ het timeralarm klinkt.
-
Plaats een CD in de lade met de gelabelde ziche maar boven.
-
Druk eenmaal op de toets OPEN/CLOSE om het CD-compartment te sluiten.
-
De CD-speler scant de inhoud van de CD en het nummer van de track worden weergegeven.
-
Als er geen CD is geplaatst, geeft het display "no" weeer.
- Druk op de toets HLAY/PAUSE om het afspelen vanaf track 1 te starten. Op het display worden het nummer van de afgeseelde track weergegeven.
- Zet het geluidsvolume op het gewenste niveau door op de toets VOLUME + / - te drukken (het maximumvolume is "20").
- Druk op de toets PLAY/PAUSE om het afspelen te onderbreken. Druk nogmaals op de toets PLAY/PAUSE om het afspelen te hervatten
- Druk op de toets STOP om het afspelen te stoppen.
- Druk nogmaals op de toets STOP om de CD-speler uit te schakelen.

Opmerking: het afspelen van de CD worden ook gestopt, als:
- het einde van de CD is bereikt;
- de klep van het CD-compartment open staat;
- de toets RADIO ON / BAND of AUX IN eenmaal worden ingedrukt.
Overslaan/zoeken (1 of 1)
Tijdens het afspelen een andere track selecteren
- U kunt maar de volgende track gaan door eenmaal op de toets te drukken. Als u meerdere tracks wilt overslaan, drukt u enkele malen op de toets tot het nummer van de gewenste track op het display worden weergegeven.
- Druk eenmaal op de toets!, als u de huidige track vanaf het begin wilt herhalen. Als u een van de vorige tracks wilt afspelen, druk dan enkele malen op de toets! tot het nummer van de gewenste track op het display worden weergegeven.
Bij een bepaalde track starten
- In de STOP-modus kurz u de gewenste track selecteren met behulp van de toets I of
- Druk op de PLAY/PAUSE -toets om het afspelen te starten.
Een passage binnen een track zoeken
U Aunt een passage binnen een track zoeken. Tijdens het zoeken wordt het CD-geluid gedempt.
-
Houd tijdens het afspelen de toets of ingedrukt enaar verzolgens de toets los.
-
Het normale afspelen van de CD worden vanaf dit punt hervat.
CD MODE/PROGRAM (modus/programmeren)
REPEAT 1 (huidige track herhalen)
- Druk tijdens het afspelen van de CD eenmaal op de toets CD MODE/PROGRAM. De indicator REPEAT 1 gaat branden en de huidige track worden herhaalde malen afgespeeld.
REPEAT ALL (alle tracks herhalen)
- Drukijdens het afspelen van de CD tweeEMAal op de toets CD MODE/PROGRAM. De indicator REPEAT ALL gaat branden en alle tracks worden herhaalde malen afgespeeld.
RANDOM PLAY (tracks in willekeurige volgorde aftspelen)
- Drukijdens het afspelen van de CD driemaal op de toets CD MODE/PROGRAM. De indicator RDM gaat knipperen en de tracks worden in willekeurige volgorde afgespeeld.
PROGRAMMEREN
TracknummerprogrammerenindeSTOP-modus.
U kunt maximaal 20 tracks in elke volgorde in het geheugen opslaan.
U kunt een track meerdere malen opslaan.
-
Druk op de toets CD MODE/PROGRAM. De indicator PGM gaat knipperen en wordt weergegeven.
-
Druk op om de gewenste track te selecteren.
-
Als de gewenste track worden weergegeven, drukt u op de toets CD MODE / PROGRA
om deze te registraren. Het weergegeven programmanummer worden gewijzigd in
- Herhaal stap 2 en 3 om de volgorde vaneer tracks te programmeren.U kunt maximaal
20 tracks in het geheugen programmeren.
P01
Afspelen vanuit programma
Als u op de toets PLAY/PAUSE drukt, gaat de indicator PGM branden en wordt het afspelen van de gewenste tracks gestart.
Geprogrammeerde tracks wissen
- Druk vór het afspelen vanuit het programma op de toets STOP of
- Druk tijdens het afspelen vanuit het programme tweeemaal op de toets STOP of
- Open de klep van het CD-compartment of
- Druk eenmaal op de toets RADIO ON.
AUX IN gebruik
Let op. Zet het apparaat uit voordat er verbinding met een extern Audio apparaat worden gemaakt.
Nadat u de externe Audio bron hebt aangeslotenkest u het apparaat wee aanzetten Voorbereiding :
- Verbind de Audio apparatuur van "line output" waar "aux in" van het apparaat met een audio kabel (niet inbegrepen).
- Druk de "AUX in-on" toets eenmaal in om het apparaat aan te zetten en de "aux in" functie te activeren
- Het "aux" lampje zal het op het LCD scherm oplichten.
- Gebruik de volumetoets om het geluid harder of zachter te zetten.
- Om het apparaat uit te zetten na gebruik drukt u eenmaal op de "STOP/OFF" toets.

BEDIENING VAN DE RADIO
- Druke enmaal op de toets RADIO ON om de radio in te schakelen. Op het display worden RADIO weergegeven.

- Druk kort op de toets TUNE/TIME + of - (korter dan 0,5 sec.) om omhoog of omlaag door de ontvangstfrequencies te gaan om het gewenste station te selecteren.
- Houd voor automatisch tuning de toets TUNE/TIME + of - (langerdan 0,5 sec.) ingedrukt tot de weergegeven freiendentie begint te veranderen. Laatervoigens de knop los. De tuning stocht automatisch zodra een station worden ontvangen.
- Zet het geluidsvolume op het gewenste niveau door op de toets VOLUME + / - te drukken.
- Druk eenmaal op de toets STOP/OFF om het apparaat uit te schakelen. OPMERKING: nadat de radiofrequentie gedurende ongeveer 10 seconden is weergegeven, geeft het LCD-display de huidigeijd aan. Als u eenmaal op de toets RADIO ON drukt, worden opnieuw de radiofrequentie getoond.
De ontvangst verbeteren
- Strek de FM-draadantenne die zich aan dechterzijde van het apparaat bevindt zo ver möglichkuit en wijzig de positie van de antennetot de FM-ontvangst optimaal is.
- Plaats het apparaat zo ver mogelijk van andere geluidsbronnen vandaan (bijvoorbeeld koelkast, magnetron, tl-lamp).
STATIONS PROGRAMMEREN
- Selecteer via de toets RADIO ON.
- Wanner het gewenste station is bereikt, drukt u op de toets "CD MODE PROGRAM" om het programma te bewaren.
- De freiagentie van het geprogrammeerde station zal verschijnen op het LCD display, druk op de toets PRESET / om het gewenste kanaal te selecteren.
- Druk de "CD MODE PROGRAM" toets opniew om het station op te slaan in geheugen. Als het al was opgeslagen za het het vorige station verrangen.
- Herhaal stap 1 ~ 4 om meer geprogrammeerde stations op te slaan.

OPMERKING: in het programmeergeugeken konnen maximaal 12 stations worden opgeslagen voor de FM-band
EEN GEPROGRAMMEERD STATION OPHALEN
Om een geprogrammeerd station binnen de geselecteerde band op te halen, hoeft u slechts op de desbetreffende toets onder PRESET / te drukkertot de geprogrammeerde radiofrequentie op het display worden weergegeven.
DE TIMER GEBRUIKEN (timer voor aftellen)
-
TIMER INSTELLEN
-
Druk op de toets TIMER ADJUST + of - voor de gewenste afteltijd. De maximumtijd voor aftellen is 120 minutes. U kunt de afteltijd met tussenstappen van 1 minuut instellen.

- Druk eenmaal op de toets TIMER om het aftellen te starten. De TIMER-indicator gaat branden.
-
Als de timer is ingesteld en aftelt, worden het aftellen op het display weergegeven. De huidigeijd, radiofrequentie en op de CD afgespeelde track könnenECHTER ook worden weergegeven als u:
-
eenmaal op de toets CLOCK drukt om de huidigeijd en de op de CD afgespeelde track waar te latenten gehen als het apparaat in de modus voor CD aflspelen is;
- eenmaal op de toets CLOCK drukt om de huidigeijd te lately weergeven als het apparaat in de modus RADIO ON staat;
- eenmaal op de toets RADIO ON / BAND drukt om de huidige radiofrequentie te lately weergeven als het apparaat in de modus RADIO ON staat;
- eenmaal op de toets CLOCK drukt om de huidigeijd te lately weergeven als het apparaat in de modus STOP/OFF staat.
- Ongeveer 5 seconden later wordt op het display de weergave van het aftellen hervat.
- Om de timer-functie te annuleren, drukt u eenmaal op de toets TIMER. De TIMER-indicator gaat dan UIT.
-
Raadpleeg de onderstaande uitleg, als de gewensteijd is verstreken.
-
De timer kan in de OFF-modus of de CD PLAY / RADIO ON / AUX IN-modus worden ingesteld en gezruikt.
- In de OFF-modus:
Als de gewenste tijd is verstreken, klinkt een pieptoon en gaat de TIMER-indicator gedurende ongeveer 60 minutes knipperen. Dit alarm kan op elk moment worden gestopt als u eenmaal op de toets TIMER drukt.
- In CD PLAY/RADIO ON/AUX IN-modus:
Als de gewenste tijd is verstreten, klinkt een pieptoon en gaat de TIMER-indicator gedurende ongeveer 60 minutes knipperen. Als het alarm klinkt, worden het geluidsniveau van CD PLAY / RADIO of AUX IN automatisch verlaagd. Dit alarm kan op elk moment worden gestopt, als u eenmaal op de toets TIMER drukt. Nadat het alarm is gestopt, gaat het geluidsniveau van CD PLAY / RADIO OF AUX IN terug maar het oorspronkelijke niveau.
BELANGRIJK
Opmerking: Hoewel deze CD speler naast gewone CD's ook CD-R en CD-RW kan lezen, kan hetafspeelbaar zijn van CD-R en CD-RW worden beinvloed door het type software waarmee de discs zijn gemaakt. Ook de kwaliteit en de conditie van de lege media die u gebruikt, spelen� bij een rol. Eenafspeelbaarheid van 100% kan nicht worden gegardeerd. Dit is geen aanwijzing voor een probleem met de speler.
WARNING
To prevent fire or shock hazard, do not expose this apparatus to rain or moisture.
SimpelGids