PRO640 - Caméra de surveillance SWANN - Notice d'utilisation et mode d'emploi gratuit
Retrouvez gratuitement la notice de l'appareil PRO640 SWANN au format PDF.
| Caractéristiques | Détails |
|---|---|
| Type de produit | Caméra de surveillance |
| Résolution vidéo | 1080p Full HD |
| Vision nocturne | Oui, jusqu'à 30 mètres |
| Angle de vue | 90 degrés |
| Connectivité | Wi-Fi et Ethernet |
| Stockage | Carte SD (jusqu'à 128 Go) ou stockage cloud |
| Application mobile | Compatible avec iOS et Android |
| Alimentation | Adaptateur secteur inclus |
| Installation | Fixation murale ou sur table |
| Sécurité des données | Chiffrement des données et accès sécurisé |
| Garantie | 2 ans |
FOIRE AUX QUESTIONS - PRO640 SWANN
Questions des utilisateurs sur PRO640 SWANN
0 question sur cet appareil. Repondez a celles que vous connaissez ou posez la votre.
Poser une nouvelle question sur cet appareil
Téléchargez la notice de votre Caméra de surveillance au format PDF gratuitement ! Retrouvez votre notice PRO640 - SWANN et reprennez votre appareil électronique en main. Sur cette page sont publiés tous les documents nécessaires à l'utilisation de votre appareil PRO640 de la marque SWANN.
MODE D'EMPLOI PRO640 SWANN
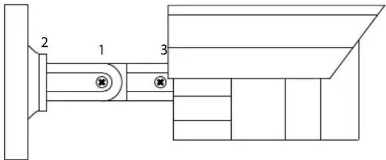
Le support sur le PRO-640 est faussement adaptable. À première vue, il semble limiter le nombre d'options que vous avez lorsque vous assemblez et ciblez la caméra, mais cela est simplement faux. Le support PRO-640 est presqu'infiniment adaptable – c'est comme le Cube Rubik des supports de caméra de CCTV!
Vous avez trois points d'articulation. Le plus évident est le joint du coude retenu par une vis à oreilles au centre du support (1). Celui-ci est juste évident et simple - desserrez la vis, ajustez à la position désirée puis serrez la vis pour fixer en place.
Le second point d'articulation (2) est le joint radial où le cou du support s'attache à la base. Pour ajuster ce joint, desserrez l'anneau de blocage en tournant dans le sens antihoraire. Pivotez laamera et le support dans la position désirée puis serrez l'anneau de blocage. En utilisant les points d'articulation 1 et 2, vous pouvez diriger laamera dans virtuellement n'importe quelle direction.
Le point 3, situé où laamera s'attache au support, est tenu en place par une vis de blocage. Tout comme le point 2, c'est un joint radial, qui vous permet de pivoter laamera face vers le haut, peu importe comment les points 1 et 2 sont configurés. Desserrez simplement la vis, pivotez laamera en position verticale (de sorte qu'en haut dans vos images est bien en haut) puis serrez la vis pour verrouiller en place.
Bien sûr, il y aura toujours des cas isolés où laamera et le support ne pourront simplement pas être montés ou vous VOULEZ les monter. Vous avez peut-être un auvent suspendu, ou un tuyau d'égout dans un endroit incommode. Dans ces cas, nous suggérons d'obtenir un support de montage, qui devrait être disponible dans toute bonne quincaillerie.
La PRO-640 est une caméra couleur CMOS qui peut fonctionner dans des éclairages de jour ou de faible intensité, tel à l'intérieur ou la nuit.
La PRO-640 est ultra sensible à la lumière et donc peut utiliser une très petite quantité de lumière pour offrir une image de ce qu'elle voit. À faible intensité, l'image apparaît en noir et blanc.
Dans l'obscurité complète ou quasi-totale, laamera utilise intégré LED infrarouges pour éclairer la zone en face de lui. Cette lumière est invisible à l'œil humain, bien que vous remarquerez peut-être une faible lueur rouge venant de l'avant de laamera - ce qui est normal.
Dans les environnements de jour ou bien éclairés, la fonction de filtrer IR de laamera active pour filtrer les longueurs d'onde de la lumière de laamera n'a pas besoin afin de fournir une image en couleur claire.
Remarque importante:
Chaque juridiction possède des lois et réglementations spécifiques encadrant l'utilisation des caméras. Il est de la responsabilité de l'acheteur, avant d'utiliser toute caméra et ce pour tout motif, de s'être informé des lois et réglementations applicables encadrant, interdisant ou limitant l'utilisation des caméras et de se conformer à ces dernières.
AVERTISSEMENT : Les modifications non approuvées par la partie responsable de la conformité peuvent annuler le droit de l'utilisateur d'utiliser cet équipement.
Instructions de sécurité importantes :
S'assurer, si le produit est fixé, qu'il le soit bien et de manière stable. Ne pas utiliser si le câblage ou les bornes sont exposés.
Contenu de l'emballage:
Vous avez probablement acheté votre PRO-640 comme simple appareil ou comme faisant partie d'un ensemble. Ceci dictera le contenu que vous devriez avoir reçu avec votre appareil.
| Item Packs Caméra 1 Packs Caméra 2 Packs Caméra 3 Packs Caméra 4 | ||||
| Caméra PRO-640 1 2 3 4 | ||||
| Câble d'extension de la caméra | 1 2 3 4 | |||
| Vis & prises de montage | 1 2 3 4 | |||
| Adaptateur de courant | 1 1 (incluant un séparateur d'alimentation) | 1 (incluant un séparateur d'alimentation) | 1 (incluant un séparateur d'alimentation) | |
| Autocollants de sécurité | 4 4 4 4 | |||
| Guide de démarrage rapide | 1 1 1 1 | |||
Guide de connexion

Connexion des prises BNC et DC de la caméra aux prises BNC et DC de la rallonge.
2A. connexion TV directe
2 Branchez la prise BNC de la rallonge dans la prise BNC de l'adaptateur RCA vers BNC. Connectez alors la prise RCA à l'adaptateur RCA vers BNC (qui doit être branché à la rallonge) de la connexion ENTREE VIDEO située à l'arrière de votre TV.

Guide de connexion
PACKS POUR 4 CAMERA
Branchez les câbles d'extension
Prise de DC à l'un des quatre
Prise sur le diviseur de puissance.
Ensuite, branchez l'extrémité unique de la diviseur de puissance à la prise de DC sur l'adaptateur secteur.

Votre DVR
2 Branchez la prise BNC des rallonges à une prise BNC (CH1, CH2, CH3 ou CH4) à l'arrière de votre DVR.

Fixation de l'alèse

Le support sur le PRO-640 est faussement adaptable. À première vue, il semble limiter le nombre d'options que vous avez lorsque vous assemblez et ciblez la caméra, mais cela est simplement faux. Le support PRO-640 est presque infiniment adaptable – c'est comme le Cube Rubik des supports de caméra de CCTV!
Vous avez trois points d'articulation. Le plus évident est le joint du coude retenu par une vis à oreilles au centre du support (1). Celui-ci est juste évident et simple - desserrez la vis, ajustez à la position désirée puis serrez la vis pour fixer en place.
Le second point d'articulation (2) est le joint radial où le cou du support s'attache à la base. Pour ajuster ce joint, desserrez l'anneau de blocage en tournant dans le sens antihoraire. Pivotez laamera et le support dans la position désirée puis serrez l'anneau de blocage. En utilisant les points d'articulation 1 et 2, vous pouvez diriger laamera dans virtuellement n'importe quelle direction.
Le point 3, situé où laamera s'attache au support, est tenu en place par une vis de blocage. Tout comme le point 2, c'est un joint radial, qui vous permet de pivoter laamera face vers le haut, peu importe comment les points 1 et 2 sont configurés. Desserrez simplement la vis, pivotez laamera en position verticale (de sorte qu'en haut dans vos images est bien en haut) puis serrez la vis pour verrouiller en place.
Bien sûr, il y aura toujours des cas isolés où la caméra et le support ne pourront simplement pas être montés ou vous VOULEZ les monter. Vous avez peut-être un auvent suspendu, ou un tuyau d'égout dans un endroit incommode. Dans ces cas, nous suggérons d'obtenir un support de montage, qui devrait être disponible dans toute bonne quincaillerie.
Résolution des problèmes
| Problème : Sur mon DVR Swann, le message Perte Video apparait là où devrait se trouver maamera. | • Solution : Vérifiez que la ballonne est correctement connectée à la camera et que les connexions situées à l'arrière du DVR sont sécurisées. Assurez-vous également que laamera est alimentée en essayant une seconde prise électrique. |
| Problème : De nuit, maamera ne diffuse qu'une grande tache claire, aucune image. | • Solution : Les ondes infraroues utilisées pour la vision nocturne peuvent être reflétées par les fenêtres ou les miroirs. • Déplacez votreamera de l'autre côté de la fenêtre. |
| Problème : Le cable d'extension BNC ne peut pas être branché sur ma TV. | • Solution : Connectez l'extrémité BNC du cable d'extension à l'adaptateur RCA. |
| Vidéo | Capteur d'image 1/3" CCD | |
| Qualité video 600 lignes TV | ||
| Nombre de pixels effectifs PAL: 752x5 | 82 / NTSC:768x494 | |
| Illumination minimale 0 Lux (IR actif) | ||
| Mode jour/nuit | Couleur dans les zones éclairées Noir et Blanc en mode Nuit | |
| Balance des blancs Automatique | ||
| Ratio bruit / signal 45db | ||
| Contrôle du gain Automatique | ||
| Compensation contre-jour Oui | ||
| Lentille 6.0mm | ||
| Angle de vue Avg: 38° (H: 33°, V: 43°) | ||
| Vision nocturne | Distance vision de nuit 65ft/20m | 850nm |
| Filtre IR Oui | 10,000 heures | |
| LED infrarouges 24 | ||
| Longueur d'onde infrarouge | ||
| Durée de vie LED infrarouge | ||
| Général | Intérieur/Extérieur Les deux | DC 12V |
| Alimentation | -20°C ~ 60°C / -4°F ~ 140°F | |
| Température de fonctionnement | Aluminium | |
| Composition de la structure | 50mm x 50mm x 60mm | |
| Dimensions | 2.0" x 2.0" x 2.3" | |
| Dimensions - Caméra et structure | 59mm x 59mm x 137mm | |
| Poids - caméra & structure | 2.3" x 2.3" x 5.3" | |
| 230g / 8.11oz |
Centre d'assistance/détails au sujet du soutien technique
USA toll free
1-800-627-2799
Swann Communications garantit ce produit contre tout défaut de fabrication et contre tout défaut matériel pour une période de un (1) an à compter de la date d'achat. Vous devez partager vos reçu comme preuve de la date d'achat pour valider votre garantie. Toute unité défectueuse sera réparée gratuitement (pièces et main d'œuvre) ou remplacée, à la discrétion de Swann. L'utilisateur final est responsable de tous les frais de port qu'implique l'envoi du produit au centre de réparation de Swann. L'utilisateur est responsable de tous les frais de port si l'envoi doit être effectué en provenance ou à destination de tout pays hors du pays d'origine.
La présente garantie ne couvre pas tous les dégâts consécutifs à un mauvais usage du produit. Tous les coûts associés à la prise en charge de ce produit ou à son usage sont dans ce cas de la responsabilité de l'utilisateur. Cette garantie s'applique à l'acheteur original du produit et ne peut être transférée à une tierce partie. Toute modification non autorisée de tout élément, ou toute preuve de mauvaise utilisation de cet appareil annulera l'ensemble des garanties.
Certains pays n'autorisent pas les limitations de certaines exclusions de la présente garantie. Les réglementations et lois locales priment.
Verification FCC
Note: Cet équipement a été testé et est en conformité avec les limites édictées dans le paragraphe 15 des Réglementations FCC, relatifs aux équipements numériques de classe B. Ces limites ont été définies dans le but de fournir une protection raisonnable contre les interférences nuisibles dans les installations résidentielles. Cet équipement génère, utilise et peut irradier des énergies de fréquences radio et, s'il n'est pas installé dans le respect des instructions fournies, peut provoquer des interférences auprès des appareils de réception radiotélévisée. Ces dernières peuvent être déterminées en allumant et éteignant l'équipement installé. L'utilisateur est invité à essayer, si besoin est, de corriger les interférences à l'aide des mesures suivantes:
- Réorienter ou déplacer l'antenne réceptrice. Augmenter l'espace entre l'équipement et le récepteur.
- Brancher l'équipement sur une prise ou un circuit différents de celui auquel le récepteur est connecté.
- Consulter le revendeur ou un technicien radio/télévision expérimenté.
Ces appareils sont conformes au paragraphe 15 des normes FCC. Leur opération est soumise aux deux conditions suivantes:
(1) ces appareils ne doivent pas provoquer d'interférences dangereuses, et (2) ces appareils doivent accepter toute interférence reçue, y compris les interférences pouvant entraîner un fonctionnement non désiré.
Notice Facile