VERMELA - Piscine hors-sol GRE - Notice d'utilisation et mode d'emploi gratuit
Retrouvez gratuitement la notice de l'appareil VERMELA GRE au format PDF.
| Type d'appareil | Piscine hors-sol |
| Forme | Octogonale |
| Dimensions (L x l x H) | 6,72 x 4,72 x 1,46 m |
| Matériau de la structure | Bois |
| Hauteur de la paroi | 1,46 m |
| Capacité d'eau | Non précisé |
| Type de montage | Autoportante |
| Accessoires inclus | Non précisé |
| Type de filtration | Non précisé |
| Épaisseur des parois | Non précisé |
| Poids à vide | Non précisé |
| Couleur | Non précisé |
| Garantie | Non précisé |
| Usage recommandé | Usage familial |
| Entretien | Non précisé |
| Accessibilité | Non précisé |
FOIRE AUX QUESTIONS - VERMELA GRE
Téléchargez la notice de votre Piscine hors-sol au format PDF gratuitement ! Retrouvez votre notice VERMELA - GRE et reprennez votre appareil électronique en main. Sur cette page sont publiés tous les documents nécessaires à l'utilisation de votre appareil VERMELA de la marque GRE.
MODE D'EMPLOI VERMELA GRE
| It is mandatory to keep it in order to use the warranty Obligatorio conservarlo para poder hacer uso de la garantía Il est obligatoire de le conserver pour pouvoir valider la garantie Um die Garantie in Anspruch zu behnen, muss sie aufbewahrt werden Obligatorio conservarlo per poter usfuquire della garanzia U bent verplicht dit te Bewaren om later gebruik te kunnen makev den de garantie Obligatorio conservó lo para poder fazer uso da garantía em caso de ser preciso | FICHE DE GARANTIE FABRICANT 2018 Date d'actualisation. Vérifiez le présence de tous les composants avant de commencer le montage de votre bassin. Fiche de garantie à conserver pour toutes réclamations N° de saine bassin Préparer: Date : / / 2018 PISCINE CANELE Piscine Bois RL 551x351 H119 All - 8 pons 790087 MAG 790087D LDI | |||||
| Référence | Délégation | Qm | Un/4 | Viso Contrôle | Commentaires production | |
| BOV551119 | LOT Bois Pin V4 RL TP 551x351cm H119 Allongé 8 pons colis 1/1 | 1 | UN | |||
| KETBCANILLE | Béte du V4 RL TP d'Auris H124 h8 pons colis 1/1 | |||||
| Cale de montage | ||||||
| 76236 | Sélot de cuvette 995x200AUS plume | 2 | UN | |||
| 43384 | Selet de Sèlot B kg pour l'air | 1 | UN | |||
| 787072 | Générez en certes Hi.00s pour infirias Piscine | 1.5 | UN | |||
| 424238 | Fils d'echallage refroidible EGT:Aque IBDic lucet de 3m | 4.2 | AIC | Elecrément d'embolage | ||
| Color label 1/2 | 1 | UN | ||||
| * Voir le dérail des colis bois au dos de ce document. | ||||||
| Serial number (wood pallet) Numeros de série (palet de madera) Numeros de série (palette bois) Seriennummer (Holzpalette) Numero di série (Bancale con il legno) Seriennummer (kit van hout) Numeros de série (Palet com as madeiras) | KITCBCANILLE
FC 620004660 1UN
2412996 1
60072/01/60 | |||||
| Check the serial number in the label of the box. El número de série se incluya en la etiqueta de la caja Le número de série est indiqué sur l'étiquette collée sur le carton d'emballage Die Seriennummer befindet sich auf dem Verpackungsetikett Il numero di série si trova sull'etichetta della scatola Het serienummer bevindt zich op het etiket van de doos O número de série encontrar-se na etiqueta da caixa | PT2000 Liner hung 773x371/142 rectangulaire 4 pans Bleu REF: 785943 Couleur: BLEU N° de lot: 2019/04 Qte: 1 Poids: 44.45 KGS Gencod: 3605217859433 19C003428A | |||||

Il est INDISPENSABLE de vérifier les mesures diagonales des piscines. De cette façon, d'eventuels problèmes ultérieurs seront évités. Réviser cela plusieurs fois jusqu'à atteindre les mesures indiquées sur les plans.

En cas de cassures et/ou de déformations du bois, effectuez l'inventaire complet de l'etat des pieces avant de les solliciter au service après-vente. De cette façon, les pieces arrivereont toutes en un seul envoi.
Pour le montage, la languette de la baguette doit toujours être placée vers le haut (pour les piscines avec un système d'assemblage à rainure et languette). Dans la première rangée des baguettes (la base de la piscine), il est normal que certaines baguettes doivent une rainure sur la partie inférieure et que d'autres ne l'aiient pas et doivent une base plate (baguettes de demi-largeur).
En hiver, les,enjolleurs metalliques des plages peuvent se rouiller. Voues estres responsable de la maintenance de ces pioces. Si vous employez une couverture d'hiver, verifiez qu'une ventilation correcte soit assurée.
Ne jamais vider la piscine durant une longue période au risque de voir la structure se déformer. Pour rappel, la piscine doit toujours être en eau.
Localisez la section de maintenance dans le manuel de votre échelle en acier inoxydable (si la piscine l'inclut).

FR Avant de visser les margelles de la piscine, il faut presenter les bois pour leur emplacement correct. Si voitre piscine presente une double margelle, il faudra prsenter l'intérieur et I'exterieure et commencer a visser le périmetre interieur.
Il est strictement interdit d'êtreABOUT ou de s'assoir sur les margelles. Les cassures ne seront pas couvertes par la garantie.
La dalle en béton doit être aux dimensions indiquées dans la notice selon le cadre de la piscine, ces dimensions ne peuvent jamais être inférieures. La piscine doit être parfaitement centrée sur cette dalle. La dalle en béton doit être faite par un professionnel telon les caractéristiques décrites ci-dessous: Dalle béton: Dosée à 350~kg / m^3 (norme type C125 430)

Une fois que la palette en bois est ouverte, il est important de monter la piscine dans un décal maximum de deux jours. Il est également conseilé de procéder au montage sans pluie, afin d'éviter que le bois ne soit mouillé, ce qui compliquerait l'assemblage final.

FR Cette palette doit etre enteposée sur un sol plat, de préfere en beton.
Si la piscine va être immédiatement montée :
- Vérifier le contenu.
- Proceder au montage le plus vite possible pour éviter la déformation des pieces après avoir retire le cerclage de fixation.
Si la piscine ne va pas etre montee tout de suite :
- Ne pas-retirer le cerclage de fixation du bois.
- En cas de déconditionnement de la palette même si la piscine ne va pas été montée, il faudra recomposer la palette en assurant une fixation correcte, afin d'éviter des déformations sur les pièces (utiliser des cordes, des sangles, etc.).
Dans les deux cas, placer du poids dessus pour assurer la maintain des pieces. Entreposer la palette dans un emplacement correctement aéré.
A litre attentivement et à conserver pour consultation ultérieure
Félicitations pour votrechoix,le modèle que vous avez choisi a été spécialement étudied pour une installation simple et rapide,mais certaines précautions sont nécessaires au bon usage de votre piscine.Avant de commencer l'installation et le montage de votre piscine, renseignez-vous sur les reglementations locales en vigueur,notamment en matière de surface et d'implantation.
L'utilisation d'un kit piscine implique le respect des consignes de sécurité décrites dans la notice d'entretien et d'utilisation. Le non respect des consignes d'entretien peut engendrer des risques graves pour la santé, notamment celle des enfants. Lire entiement ce manuel et regarder les illustrations avant d'entreprenevre l'assemblage de votre piscine. Tout montage non conforme à cette notice vous exposerà à un refus de garantie en cas de défaillance.
Les informations figurant dans cette notice de montage s'averaient exactes lors de sa réalisation. Cependant, les illustrations qui y figurent ont pour objet d'expliquer un processus de montage. Elles ne sauraient etre des elements contractuels quant aux formes, teintes et aspects quelles revetent. Dans le souci constant d'améliorer ses produits, la société Manufacturas Gré se réserve le droit de modifier à tout moment et sans préavis les caractéristiques, détails techniques, équipements standardisés et options de ses produits.
DEACHTUNG!
Pour toute réclamation/SAV, conservez votre notice avec avec les N° de série (palette bois + liner) ainsi que votre preuve d'achat (ticket de caisse).
Toute demande de garantie devra faire l'objet d'une déclaration en ligne sur le site: www.grepool.com/fr/apres-venture, accompagnée de la preuve d'achat.
Des photos poursont être demandées pour justificatif. Aucun retour de marchandise ne sera accepté sans accord préalable. Tout retour de marchandise est à la charge du client (emballage et transport).
APRES VERIFICATION ET CONSTATATION D'UN DEFAULT DE FABRICATION :
- Les produits effectivement défectueux seront réparés ou échangés et replacés en port payé.
!
La garantie se limite à la réparation ou au remplacement de la partie défectueuse. Elle n'implique enaucun cas une demande d'indemnités ou de dommages et intérêts.
LA GARANTIE NE S'APPLIQUE PAS DANS LES CAS SUIVANTS
:
- Utilisation du matériel non conforme à nos instructions.
- Dommages provoqués par une mauvaise manipulation ou un montage non conforme.
IMPORTANT:
La société Manufacturas Gré effectue des échanges de composants contre reprise pour expertise.
Si, après expertise, aucune anomalie ou dysfonctionnement n'est avérée, la société Manufacturas Gré se réserve le droit de facturer les frais de port et autres frais divers au client.
DURÉE DE LA GARANTIE :
- Le bois pin sylvestre traité autoclave classe IV est garanti 10 ans contre le pourrissement et les attaques d'insectes.
- Le liner : 2 ans sur les soudures et l'étanchéité, dans les conditions d'un usage normal. Ne sont pas garantis : Les accrocs, trough, déchirues, tâches (produits de traitement directement dans l'eau), tâches liées au développement d'algues, tâches liées à la décomposition de corps étrangers en contact avec le liner, tâches et décolorations résultat de l'action de produits oxydants, tenue de couleur et l'usure due au frottement de la matière sur divers surfaces. Les déformations du liner resté plus de 24h sans eau (ne vidangez jamais complètement votre piscine).
Il est imperatif de conserver l'étiquette du numero de série
du liner présente sur le produit et son emballage. Pour toute commande eventuelle de prise en garantie, un échantillon du liner sera demandé.
- L'échelle inox : 2 ans. Dans le cas d'une filtration par electrolyse au sel, la garantie de l'échelle ne pourrait être prise en compte.
- Groupe de filtration : La pompe est garantie 2 ans (problème électrique) dans les conditions d'un usage normal. Ne sont pas garantis : la casse des pieces (socle de pompe/cuve à sable, couvercle de pré filtré, vanne multivoies ...), la déterioration due à un branchement défectueux, l'utilisation de la pompe à sec, la déterioration par abrasion
ou corrosion (le groupe de filtration doit'être placé dans un local frais et sec, à l'abri des projections d'eau).
- Les autres composants : 2 ans.
SONT EXCLUS DE LA GARANTIE :
Tout usinage appliqué après le traitement et susceptible de nuire à la qualité de ce dernier, notamment la découverte, le brossage, le ponçage et le perçage. Exception : les trouss nécessaires pour la fixation des renforts et des blocs de bois réalisés avec une mèche au diamètre d'au moins un millimètre de moins que celui des vis de montage.
- La découpe du liner
- Le collage et branchement de la filtration
- L'assemblage
-La mise en eau
-La pose des margelles
L'hivernage - L'entretien
SAV SOUS GARANTIE :
(sur justificatif et preuve d'achat)
- Port ALLER à la charge du client.
- Port RETOUR à la charge de Manufacturas Gré (pour les pieces entrant dans le cadre de la garantie).
- Echange de bois sur justificatifs visuels.
- Pièces ou composants à la charge de Manufacturas Gré.
- Délai d'échange : 8 jours ouvrables. Dans le cadre du remplacement d'un composant défectieux, le montage et le démontage ne sont pas pris en charge par Manufacturas Gré.
SAV HORS GARANTIE :
- Port Aller/Retour à la charge du client.
- Les pièces seront facturées selon notre tarif en vigueur
Pièces détachées disponibles pendant 5 ans à compter de la date de facturation du produit.
AVANT-PROPOS
PRECAUTIONS DE STOCKAGE
Tant que la piscine n'est pas assemblée, elle est sensible aux variations de températures
et à l'humidité. Il faut donc prendre certaines précautions de stockage.
Dès réception des colis, veillez à stocker les pieces bois à plat, à l'abri de l'humidité et du soleil afin de leur éviter tout risque de déformation.
IL EST IMPERATIF DE :
- Ne pas laisser le bois au soleil, afin d'éviter que le bois sevrille ou se fende de manière excessive.
- Ne pas laisser le bassin exposé à l'extérieur avec une bache étanche pour protection, la
condensation issue du bois va le rendre encore plus humide, et sujet aux modifications de forme.
VOUS DEVEZ :
- Monter la structure en une seule etape.
- Stocker le bois de votre bassin à plat dans un endroit abrité de l'eau et du soleil.
- Enlever le film de protection pour que le bois « respire »
DUREE DE L'INSTALLATION
L'installation de la piscine nécessite l'intervention d'au moins deux personnes et demande deux jours (hors terrasement et mise en eau).
AVANT LA CONSTRUCTION DE VOTURE PISCINE ASSUREZ-VOUS
- De l'intervention d'une personne avertie pour vos branchements électriques.
- Que vous alimentation d'eau soit suffisante pour replir votre bassin.
- Que le manuel a été lu avec soin, étape par étape, pour bien comprendre l'installation de votre piscine.
IMPORTANT:
Manufacturas Gre, S.A. décline toutes responsabilités concernant la dalle en béton.
La dalle en béton doit être faite par un professionnel selon les indications techniques fournies dans la notice. En cas de litige, la facture de la dalle en béton avec toutes ses caractéristiques sera exigée pour pouvoir étudier la garantie de la piscine.
BASSINS ENTERRES ET NORME SPECIFIQUE
Pour les bassins hors sol, il est recommandé de sécuriser l'accès au bassin par un élément de protection normalisé.
Pour les bassins semi enterrés et complètement enterrés, la loi n°2003-9 du 3 janvier 2003 relative à la sécurité des piscines, et le décret n°2003-1389 du 31 décembre 2003 relatif à la sécurité des piscines vous imposent de sécuriser l'accès au bassin par au moins un élément de protection normalisé tel que:
- Barrière de protection
- Alarme de piscine
- Couverture de piscine
- Abri de piscine
CONSEIL D'EMPLACEMENT
Vou devez préparer votre terrain comme indiqué dans cette notice au chapitre "implantation"
NE PAS PLACER VOTRE PISCINE
- Sous des fils électriques.
- Sous les branches d'un arbre.
- Sur un terrain non stabilisé.
Un bon emplacement peut vous faire gagner du temps et vous éviter des contraintes. La piscine doit être ensoleillée et facilement accessible.
L'emplacement de la piscine doit etre exempt de canalisation ou d'électricité.
Notez qu'il est préférible de monter sa piscine un jour ensoleillé et d'éviter les jours de grand vent.
- Certains composants de votre piscine sont emballés sous sacs plastiques. Pour éviter tout risque d'étouffement, ne laissez jamais les bébés et les enfants jouer avec.
- Merci de respecter les règlementations de l'Union Européenne et d'aider à la protection de l'environnement.
Une fois vous piscine et tous ses composants assemblés merci derialder au tri et au recyclage de tous les emballages.
AVANT-PROPOS
CONSIGNES DE SECURITE
Il est impératif de placer votre kit de filtration (filtré + pompé) à au moins 3,5 m. du bassin afin d'éviter tout risque de chocolélectrique.
ll est impertatif de prevoir sur l'alimentation electrique de la pompe un dispositif de protection differentiel special piscines, conforme aux normes.
Ne jamais laisser les enfants sans surveillance à proximé du bassin.
Après chaque baignade,steroler l'echelle exterieure afin d'eviter la chute accidentelle d'un enfant ou d'un animal domestique dans le bassin (Norme EN P90-317).
Cte pscine est destinée a un usage exusivement familial, Il est interdit de marcher sur les margelles, de plonger ou de sauter depuis le bord de I'eau.
Avant d'installer et d'utiliser, la piscine, veuillez dire attentivement, assimilar et respecter toutes les informa- tions containues dans cette notice d'utilisation. Ces avertissements, instructions et consignes de sécurité portent sur certains des risques usuals associés aux loisirs aquatiques, mais ils ne peuvent pas couvir la totalité des risques et dangers dans tous les cas. Faites toujours preuve de prudence, de discernement et de bon sens lors des activités aquatiques. Conservez ces informations afin de pouvoir vous y reférer ulterieurement.
Sécurité des non-nageurs
Une surveillance attentive, active et continue par un adulte compétent des enfants qui ne savent pas bien nager et des non-nageurs est requise en permanence (en gardant à l'esprit que le risque de noyade est le plus élevé pour les enfants de moins de cinq ans).
-
Désignez un adulte compétent pour surveiller le bassin à chaque fois qu'il est utilisé.
-
Il convient que les enfants qui ne savent pas bien nager ou les non-nageurs portent des équipements de protection individuelle lorsqu'ils utilisent la piscine.
-
Lorsque le bassin n'est pas utilisé ou est sans surveillance, retirez tous les jouets de la piscine et ses abords afin de ne pas attirer les enfants vers le bassin.
Dispositifs de sécurité
-
Il est recommendé d'installer une barrière (et de sécuriser toutes les portes et fenêtres, le cas échéant) afin d'empêcher tout accès non autorisé à la piscine.
-
Les barrières, couvertures, alarmes de piscines ou disposits de sécurité similaires sont des aides utiles, mais ils ne remplacent pas la surveillance continue par un adulte compétent.
Équipements de sécurité
- Il est recommandé de garder du matériel de sauvetage (une bouée, par exemple) pres du bassin.
- Gardez un téléphone en parfait état de marche et une liste de numérios d'urgence à proximé du bassin.
Sécurité d'emploi de la piscine
- Incitez tous les utilisateurs, en particulier les enfants, à apprendé à nager.
- Apprenez les gestes qui sauvent (réanimation cardiopulmonaire) et remettez régulièrement à jour vos connaissances. Ces gestes peuvent sauvre une vie en cas d'urgence.
- Expliquez aux utilisateurs de la piscine, enfants inclus, la procEDURE à suivre en cas d'urgence.
- Ne plongez jamais dans un plan d'eau peu profond, sous peine de blessures graves ou mortelles.
- N'utilisez pas la piscine sous l'emprise d'alcool ou de medicaments susceptibles de réduire votre capacité à utiliser la piscine en toute sécurité.
- Si la piscine est recouverte d'une couverture, retirez-la entierement de la surface de l'eau avant d'entrée dans le bassin.
- Traitez l'eau de votre piscine et instaurez de bonnes pratiques d'hygiene afin de protégger les utilisateurs des maladies liée à l'eau. Consultez les consignes de traitement de l'eau données dans la notice d'utilisation. - Stockez les produits chimiques (produits de traitement de l'eau, de nettoyage ou de désinfection, par exemple) hors de portée des enfants.
- Il est obligatore d'afficher les pictogrammes fournis dans une position visible à moins de 2 m de la piscine.
- Placez les échelles amovibles sur une surface horizontally.

Pièces détachées disponibles pendant 5 ans à compter de la date de facturation du produit.

PEFC
PEFC/14-38-00166



ATTENTION:
Tout apparéil électrique alimenté en 220 V doit être situé au moins à 3,50 m du bord du bassin.
L'appareil doit être branché sur une prise de courant avec prise de terre, protégé par un interrupteur différentiel (RCD) avec un courant de fonctionnement résiduel assigné qui n'excède pas 30mA .
À lire attentivement et à conserver pour consultation ultérieure. EN CAS DE PROBLEM... NOUS CONSULTER!
SERVICE APRES VENTE:
www.greepool.com
Une fois votre piscine et tous ses composants assemblés merci derialder au tri et au recyclage de tous les emballages.
PLATZIEREN SIE IHREN POOL NICT
Le bois est un produit naturel, les fissures apparentes dans le fil du bois sont tout a fait normales et ne modifie pas les caractéristiques de resistance du bois.
Le bois reste toujours un matériel qui travaille (3 à 4 % de variations dimensionelles) avec les variations d'humidité et de température. De légères fentes peuvent donc approuître et pour limiter d'eventuelles déformations, on respectera les règes de l'art quant à la conception, au besoin des sections, des assemblages et du mode de fixation. Les noeuds sont des éléments naturels du bois : leur aspect et leur taille varient d'un produit à l'autre. L'écoulement de résine est un phénomène naturel du bois résineux. Tout comme aucun arbre n'est exactement similaire à un autre arbre, il ne faut pas considérer les éléments photographiés ci-dessous comme des defaults:
DAS HOLZ: EIN LEBENDIGES MATERIAL
Des moissures peuvent apparaitre en surface du bois, elles ne pénétret pas le bois et ne le dégrant pas. Soumis aux UV, le bois grisaille avec le temps sans que cela nise à sa durabilité. Vous pouvez appliquer une lasure pour bois traité autoclave. Complément de la preservation, elle contribue à la beauté et à la longévité de l'ouvrage. Dans ce cas, attendez le séchage complet du bois avant de procéder à l'application de la lasure.
LE PIN SYLVESTRE TRAITE AUTOCLAVE
Le bois utilisé est un pin sélectionné et séché à 25 % avant un traitement en autoclave IV. Il bénéficia d'une garantie de 10 ans contre l'attaque des insectes et le pourrissement pour les parties dans le sol.
Pour ajuster parfaitement le liner et les margelles, il est important de respecter toutes ces dimensions. Mesures approximatives.

Le groupe de filtration et notamment la pompe électrique de la piscine devront être impératifement installés à une distance d'au moins 3,5 m du bassin (norme électrique NFC15-100).
EVACUATION DE L'EAU
L'entretien et l'hivernage du filtrtre nécessitant des evacuations d'eau. Il est impératif de prévoir ces evacuations lors de l'st installation du groupe de filtration.
TUYAU DE FILTRATION
Dans le cas où vous souhaitez enterrer les tuyaux de la filtration, il est indispensable de les protégger contre le risque d'écrasement en les plaçant dans une gaine avant de lesmettre sous terre.
ORIENTATION DU BASSIN
Le bassin doit être installé de telle manière que le skimmer se trouve face aux vents dominants. Le skimmer est un élément très important du système de filtration et s'installe toujours face aux vents dominants. De sa capacité d'aspiration et de son bon emplacement dépend une filtration optimale de l'eau de votre bassin.
Le groupe de filtration doit-etre en dessous du niveau de l'eau de la piscine et idéalement au niveau du sol de la piscine, sinon la pompe risque de se désamorcer. la pompe de filtration doit-etre placée à l'abri des projections d'eau, des inondations et de l'humidité, dans un local sec et bien aéré. a défaut, les parties métalliques et le moteur de la pompe risqueraient de se déterminer.

FILTERANLAGE
FR C'est une etape determinante dans la realisation de votre piscine. Certains travaux de mise en oeuvre tels que le terrasement, la dalle beton, le drainage,... peuvent necessiter l'intervention de professionnels qui sauront proposer les solutions adequates.
Choisissez l'emplacement idéal, le plus ensaleillé possible, en tenant compte de la reglementation locale (distance des clôtres, servitudes publiques, réseaux...) et de l'aménagement paysager qui suivra l'installation de la piscine. Dérômeniz z l'emplacement par un repérage au sol, voir le chapitre «Tracé au sol».
You pouvez implanter votre piscines selon 3 possibilités:
Veillez ne pas installerer voite piscine sur sol recemment remblayé et/ou non stabilise. Quelque soit le type d'implantation retenue, il est necessaire de decaper toue terrain et de metre le terrasement de niveau.
Attention : en cas de terrain en pente, il est impératif de le décaisser pour leMETRE de niveau. Ne remblayez pas votre terrain pour le METRE de niveau.
L'implantation devra etre faite sur une dalle beton, celle-ci doit avoir une epaiseur de 17 cm minimum. Le montage du bassin doit se faire apres sechage complet de la dalle (3 semaines). Le groupe filtration doit etre en dessous du niveau de I'eau et idealement au niveau du sol de voire piscine.
Considérez la référence et les mesures de votre piscine avant derialcder au montage
- 1 visseuse (avec embouts torx N° T15, T20, T25) • 1 perceuse avec forets à bois Ø4, Ø6 et Ø10 et呆t métal Ø5 • 1 cutter • 1 niveau à bulle • 1 décamètre • 1 maillet • 1 marteau • 1 tournevis • 1 clé de 19 • 1 scie à métaux • 1 scie à bois • 1 stylo à bille • Colle PVC • Rouleau Téflon • Adhésif double face ou agrafeuse • Gants • Serre-joint
Temps de montage (hors terrasment et replissage): 2 journées à 2 personnes minimum
DE WERKZEUGE
Surrounding area
Zona periférica
Zone péripérisque
Randbereich

Concrete slab
Losa de Hormigón
Dalle beton
Betonplatte
CONCRETE SLAB: THE POOL MUST BE CENTRED ON THE CONCRETE SLAB, AS SHOWN IN THE IMAGE. THE DIMENSIONS INCLUDE THE WALL THICKNESS.

Tracez au sol la forme de votre piscine en vous aidant des dimensions ci-dessus. Vous pourrez réaliser votre trajeage à l'aide d'un cordeau.
Si voit piscine est totalement ou partiellement enterrée, prevoyez de decaiser une zone de 50 cm supplémentaires en peripheria pour faciliter vos mouvements lors du montage.
CHAPE BÉTON :
L'implantation de toute piscine implique la réalisation d'une dalle en béton armé de bres ou d'un treillis souéd. Notre béton doit être dosé à 350kg/m3 (normée type C125 430). Nous vous recommendons de faire appel à un professionnel pour la réalisation de cette dalle.
En cas d'implantation semi-à totalement enterrée, veillez à éliminer tout morceau de bois, branche, racine, susceptible de se dégrader dans le temps. Ne réalissez pas de cofrage autour ou proche de la piscine avec un bois non traité pour une implantation au contact de la terre. N'appliqueaucun traitement supplémentaire sur la partie enterrée, l'application par exemple de goudron ou de lasure non microporeuse est à procrire. Assurez au bois la possiblité de « respirer», voir chapitre terrasment.

Les recommendations sur la mise en oeuvre pour les bassins enterrés ou semi-enterrés sont effectives dans le cadre d'une installation en terrain non humide. Il convient à chacun d'adapter les instructions de base pour éviter des contraintes liées au type de terre (argile par exemple) ou à la présence excessive d'eau dans le sol (source, ruissellement d'eau, ...) Afin d'éviter tout surplus d'humidité sur votre terrain il est nécessaire demettre en place un système de drainage sous et autour de votre piscine avec la réalisation d'un puits de décompression. Dans tous les cas, la présence d'un système d'évacuation adapté est nécessaire de manière à éviter toute stagnation d'eau avec pour conséquences possibles la pollution des sols voire l'endommagement de la structure (pourrisment du bois, déformation de la structure, ...) La prise de renseignements auprès d'un spécialiste peut s'avérer très précieuse pour la garantie d'un aménagement de qualité.
NE JAMAIS MONTER SUR: terrain inclé, inégal, sablonneux, avec des pierres ou mou.
MARQUER LA ZONE D'INSTALLATION
Une fois可以选择 la zone d'emplacement de la piscine (qui doit etre parfaitement nivelée) nos procederons au marquage. Marquer le terrain en s'aidant de pieux en bois, tournevis, entonnoir (ou bouteille en plastique), farine ou chaux et une corde. Il est conseilé de niveler la surface totale nécessaire avant le marquage (qui doit rester centredans le rectangle correspondant au modele de la piscine) pour que le montage soit plus commode.
Afin d'eviter tout surplus d'humidité sur votre terrain, il nest nécessaire demettre en place un système de drainage sous et autour de votre piscine avec la réalisation d'un puits de décompression.
NIVELER
Dans le cas de nivellement du terrain, ne jamais rajouter de terre aux endroits où il en manque, toujours creuser aux endroits où il y en a en trop. Ainsi, nous garantirons la stabilité du terrain, sa fermété. Dans tous les cas, éliminez toutes les herbes, racines, pierres, etc... Le procédé de nivellement du terrain est très important, accordez lui le temps et l'attention nécessaires pour que votre piscine soit parfaitement installée sur le terrain choisi et cela éviditera des problèmes.
Comment niveler: a l'aide d'une longue rgle de macon (aluminium ou bois) et d'un niveau, niveler le terrain en formant des rectangles (ou carrés), en plaçant cette rgle dans la zone可以选择 et propre. Lorsque toutes les zones seront de niveau et que la terre en surplus aura ete enlevee, vous pourrez replir les petites zones qui restent a niveler (avec de la terre propre ou du sable) mais always en recompactant et re-nivelant par la suite. Il est important que la zone d's installation soit bien tassée et ferme pour que le terrain ne s'enforce pas lorsque la piscine sera remplie d'eau. Consultez un professionnel, jardinier, etc.
Finition: Sur le terrain propre et nivele, répartir une fine couche (max.1 cm) de sable tamisé. L'arroser et le compacter (avec un rouleau de jardin). Vérifier qu'il soit bien nivélé. Ne pas utiliser le sable pour niveler le terrain. La finition doit être parfaitie.
Important: L'implantation de votre piscine implique la réalisation d'une dalle en béton armé de bres ou d'un treillis soudé.
Votre dalle devra etre parfaitement talochee ou lissee car le moindre defaut peut etre visible .


Nous vous recommendons de faire appel à un professionnel pour la réalisation de votre dalle.
Dalle béton non incluse.
Dosée à 350 kg/m³ (norme type C125 430)
L: 6,82 x I: 5,32 x H: 0,17 m - 6,17 m³ de béton.
INSTALLATION SEMI A TOTALEMENT ENTERREE
Sel on a nature du terrain, il est important de realiser un drainage periphrique et d'y associier un puits de decompression. Ce puits est creusé avant la construction de la piscine car il peut eviter égarlement que les fouilles ne se replissent d'eau durant les travaux. Il doit être proche du bassin, plus profond de quelques centimétres du point le plus bas du bassin et monter jusqu'à la surface. Le puits de décompression se pose du côte le plus humide. Il fait office de faisard dans le cas d'infiltration d'eau ou de sol argileux, sachant que I'eau monte sensiblement plus vite à travers le tuyau qu'à travers le sol.

GELÄNDEVORBEREITUNG
POSITIONNEMENT DE LA 1ERE RANGEE DE MADRIERS : • Constituez la première rangée, en disposant les madriers (A22), (A23) et (B12) comme indiqued sur la figure 1. • Ajustez la forme de la piscine en vous aidant des dimensions interieures indiquées sur le plan d'implantation (Voir page 44). • Le plan donne les dimensions interieures du bassin pour les différentes diagonales opposées.
2EME RANGEE DE MADRIERS: · Positionnez les madriers de la deuxième rangée conformément à la figure 2. · De manière à emboiter correctement les madriers, une cale en bois est à votre disposition dans le colis de structure. · Ne pas taper directement sur les madriers. Cela abimerait les languettes et nuirait à la solidité de la structure. · Ne pas frapper avec une piece métallique. Cela déteriorerait le madrier irrémédiablement. · Veiliez à emboiter bien à fond les madriersès le départ. Il ne doit pas y avoir d'espace entre chaque rangée pour éviter un décalage au niveau des madriers supérieurs.

IMPORTANT : Il est important que les madriers soient emboités correctement, sur tout leurs du bas (à ou la pression de l'eau sera la plus forte). Il est possible que certains madriers soient voilés. Cela est tout à fait normal du fait que le bois est un matérielaux vivant. Meme voilé, il est possible de positionner un madrier.
Il faut proceder de la maniere suivante : • Présentez et enclenchez un des deux côts du madrier. • Redresse l'autre côte à l'aide d'un serre joint. • Emboitez le madrier en vous servant d'un maillet et de la cale en bois.

POSITIONNEMENT DES SABOTS : •Placez les sabots comme indiqué sur la figure (figure 3). Plaquez bien les sabots le long des rangiées de madriers. • Percez bien verticalement la chape à l'aide d'un perforateur équipe d'un foret béton 10 mm, en utilisant le sabot comme gabarit. La profondeur du perçage doit être au minimum de 100 mm pour garantir une bonne fixation. •Placez les gougeons d'ancrage (avec rondelles et écrous) dans les trous et frappez-les à l'aide d'un marteau. Enforcez ENTIEREMENT les gougeons d'ancrage (seule la tête doit rester visible). •Serrez fermement en croix les 4 écrous.

La pose des sabots s'effectue avec un perforateur une fois la deuxieme rangée de madriers en place. Plaquez bien les sabots le long des rangiées de madriers.
Enoncez ENTIEREMENT les gougeons d'ancrage (seule le tete doit rester visible)
MADRIERS SPECIFIQUES : Buse de refoulement: placez le madrier spécifique de la buse de refoulement (E12) en plaçant les lamages côte extérieur de la piscine.
Skimmer: Placez les madriers spécifiques au skimmer face aux vents dominants. Les madriers (C12) et (D12) se positionnent toujours sur un pan comme temps que le madrier de finition.

Partie interieure - encoche basse
FR La piece (E12) doit être située sous la piece (C12).
La piece (E12) doit être située à la hauteur du numéro 9.
Le positionnement des consoles et des renforts est indiqué sur le plan (Voir page 44). Vous pouze aussi utiliser l'échelle bois pour positionner les consoles, voir le chapitre de l'échelle bois.
CONSOLES ( 6x90)
A· Alignez le sommet des consoles au niveau du sommet du dernier madrier. Maintenez les consoles en place.
B- Percez les madriers avec un foret à bois 6 mm enplanant à l'intérieur de la piscine
- Vérifiez systématiquement que le sommet de la console s'aligne bien avec le haut du madrier.
Veillez à ce que la tête de vis vienne en affleurement du bois.
Pour placer la deuxieme vis, considerez la longueur de cette derniere pour eviter qu'elle ne ressorte par la partie posterieure. Placez-la le plus pres possible du bois de la partie supérieure.
- Alignez le sommet des renforts au niveau du sommet du dernier madrier. Maintenez les renforts en place. - Percez les madriers avec le foret à bois 6 mm. Vissez en 2 temps en vous plaçant à l'intérieur de la piscine - Fixez d'abord chaque renfort en haut, puis en bas (dans le 1er et le dernier madrier). - Contrôlez l'aplomb des renforts. - Terminate l'assemblage des renforts en mettant 1 vis par madrier et corriguez les évventuels gauchissements du bois (madriers). Vérifiez systématiquement que le sommet du renfort s'aligne bien avec le haut du madrier et que la tête de vis viennent en affleurement du bois.
- Présentez le cache L sur les extrémités des madriers. - Coupez l'excedent de cache selon la hauteur du bassin si nécessaire (figure 6). - Fixez le cache L à l'aide de 3 vis 4x60 également réparties sur la hauteur (figure 7).
L'assemblage de la structure à proprement dit est terminé. Il ne restera plus que la mise en place des margelles (voir chapitre margelles).
A ce niveau de montage vous devez avoir : - Positionné le skimmer face aux vents dominants. - Choisi le pan de structure qui receives la'échelle amovible.
Chaque enjolivre est composé de :
2x RENFORTS 46x145x1400
2xJOUESCSABOT22/120/1226
1x CacheSABOT 22/145/1216
Vou devrez tout d'abord préparer une piece en « U ». Il est nécessaire de fixer les 3 planches les plus fines (épaisseur 22 mm) avec trois vis de chaque côté, comme cela est indiqué sur les photos A et B.
Il est conseilé d'utiliser une mèche aux dimensions appropriées avant de visser les pièces. Àpès avoir construit la piece « U», placez-la contre la piscine en cachant la cale métallique, comme sur l'image C. Vous observerez qu'une partie de la cale métallique reste visible.
Pour cacher cette partie, placez les renforts verticaux toujours alignés avec la partie supérieure de la piscine (photo D) et vissez-les tout d'abord depuis l'intérieur de la piscine avec des vis 6 × 90 (de préférence 1 vis par planche) en ensuite contre la pierce « U», comme sur la photo E (3 vis de 4 × 60 distribuées sur la hauteur de la pierce). Le résultat doit être celui montré sur la photo F.
FR Rêférez-vous aux plans (Voir page 44).
L'échelle bois est fournie pour acceder au bassin. Ne pas l'utiliser à d'autres fins.
Montez l'échelle bois puis utilisez-la comme gabarit pour déterminer l'écartement des consoles la recevant. Dans le cas d'un bassin de forme allongée, l'échelle se positionne uniquement sur un petit côté.
Centrez l'échelle extérieure bois par rapport au côte.
Percez avec un foret à bois 10 mm les 2 limons et les 2 consoles.
Ne pas utiliser l'échelle à d'autres fins que celles précisées dans cette notice.
Masse maximale admissible = 150kg
Retrait IMPERATIF de l'échelle après chaque utilisation du bassin.
Selon la hauteur du bassin, un réajustement de l'échelle peut-être nécessaire.
- Recoupez les limons de l'échelle en reportant la dimension a figure 8 au bas du limon de l'échelle et sciez la partie a extraire. - Assembléz l'échelle et place-la conformément à la figure 9.
Dans le cas ou votre bassin est partiellement enterré, une recoupe de l'échelle est nécessaire pour adapter celle-ci à votre bassin. Pour des raisons de sécurité, si l'espace entre le sol et le premier échelon est compris entre 89 et 230 mm (cote A), fermez cet espace en fixant la marche de l'échelle non utilisée, de telle sorte que la cote B soit inférieure à 89 mm. Pour ce faire, procédez comme suit :
1-Réduisez la longeur de la marche de 12mm
2-Si la dimension A est inférieure a 140mm ,reduisez la largeur de la marche de telle sorte qu'une fois la marche montee, I'espace sous la marche soit complètement fermé.
3- Montez la marche ainsi modifiée sur l'échelle comme indiqué sur le schéma ci-dessus, enPNANT soin de prépencer le limon de I'échelle.
DE
Masse maximale admissible = 150kg Retrait IMPERATIF de l'échelle après chaque utilisation du bassin.

FR Deux possibilités pour installer le feuitre de paroi. L'ADHÉSIF DOUBLE FACE (NON FOURNI)
- Collez l'adhesif double face pan par pan, en, l'alignant au sommet des madriers supérieur (figure 10).
Si le bois est un peu humide ou poussiéreux, vous pouvez l'adoucir avec un papier de verre pour faciliter l'adhérence. - Vérifier la propriété des parois et du sol. Retirez vis, échardes, copeaux, sciure...
- Derouler le feuitre en alignant sur le bord des madriers supérieurs. (figure 11)
- Découpez l'excedent de feetre et eliminez les pris eventuels.
L'AGRAFEUSE (NON FOURNIE)
- Agrafer l'extrémité du feucre en commençant par un angle.
- Dérouler le feuitre en alignant sur le bord des madriers supérieurs.
- Positionner les agrafes tous les 20 cm (figure 12)
- Découpez l'excedent de feetre et eliminez les pris eventuels.
- Conserver l'exces de couverture de protection de paroi. (Il peut etre nécessaire pour le fond).




FR Commencez par positionner le feuitre de fond a decouper dans le rouleau fourni.
- Déroulez le feu re en tenant compte duchioit d'orientation de la piscine. (Preferez l'utilisation de ciseaux à celle d'un cutter)
- Juxtaposez les lés sans les chevaucher.
- Ne laïsez pas de pli.
- Collez les lés bord à bord avec l'adhéSIF simple face.
- Si une partie de la paroi de votre piscine n'est pas recouverte avec la couverture, profitez-en pour placer la couverture du fond et remontez-la légèrement par la zone inférieure de la paroi. Cela permettra de bien protégger le liner.
Fixation du 1er joint de skimmer
Le skimmer est le point d'aspiration de I'eau du bassin vers la filtration. Sa position face aux vents dominants permet de recuperer les eventuels déchets dérivant à la surface de l'eau (poussières, feuilles...)
MISE EN PLACE
- Découper le feuitre au cutter. La découpe sera supérieure au trou (rayon du trou + 2 cm).
Fixez le 1er joint d'etanchéité (joint plat) sur le corps du skimmer
FR La buse de refoulement sert a faire entrez I'eau filtrée dans le bassin. Elle traverse la paroi via l'orifice circulaire reservé sur le madrier pre-percé. MISE EN PLACE
- Bien repérer l'emplacement du trou de la buse.
- Faire une entaille en croisé dans le feuitre depuis l'intérieur du basin.
- Découper le feuitre au cutter. La découpe sera supérieure au trou (rayon du trou + 2 cm).
La prise balai du skimmer ne s'utilise que lors de l'entretien de votre piscine.
FR AJUSTEMENT ET FIXATIONS DES BAGUETTES (4x40): Présentez la baguette de liner. Percez la baguette avec une mèche de 4 mm en commençant à 50 mm du bord. Vissez la baguette en affreulant le bord du madrier supérieur à l'aide de vis (4x40). Répartissez également les vis sur la baguette. Procedez de la même manière pour les autres pans courts. À l'aide d'une scie à métaux coupe le surplus de baguette. Les chutes coupées des baguettes qui soutiennent le liner devront être utilisées pour compléter la circonférence de la piscine.
Ne pas prépercer les madriers.

Le numero de série est indiqué sur l'etiquette collée sur le carton d'emballage
- Nettoyez l'ensemble interieur de la piscine (grains de sable, vis...) avec un aspirateur, si nécessaire.
- Vérifiez que le joint sur le skimmer est en place. Placez la trappe à l'intérieur du skimmer.
- Localisez-le sur le fond ou la paroi du liner et notez-le dans le cadre de la page d'instructions pour d'eventuelles réclamations*
- Vérifiez qu'aucune tête de vis ne dessorte du bois

Votr de n a 2 h t 15c m. l est vmtte ciee dexer le nau sile ques hees avont son montage de maniere a l'assoupir et ainsi faciliter sa mise en place. Conserver impertativement l'etiquette autocollante du numero de série presente sur le liner. Pour toute demande eventuelle de prise en garantie ce numero de série vous sera demanded.
MISE EN PLACE (ll est indispensable de replir la piscine d'eau avant de positionner les margelles)
Cette étape nécessite de se déchauser pour ne pas abimer le liner.
A Placez-vous a l'intérieur de la piscine, en vous déchaussant au préalable.
B Placez le liner au centre de la piscine (figure 13) et le déplier à partir de ce centre (figure 14). Répartissez de façon égale le jeu existant entre la dimension du liner et la dimension de la structure sur tout le pourtour.
Alignez correctement les angles inférieurs du liner (angles des soudures du fond) dans les angles du bassin (figure 15).
D Insérez le profil d'accrochage du liner dans la baguette (figure 16).
Votr de r a 24 h a n t 20C a sa m e en p. la po de vre lit dte tuee impertatiment a une temperature exterieure de 15^ minimum.



DE
Pour déplacer le liner déjà en place, faites-le glisser dans la baguette. Si cela devient trop difficile, le liner peut se retirer en le relevant vers le haut pour ne pas abîmer le lien. Assurez-vous du bon positionnement du liner tant au fond que sur les parois, ajustezUniformément la tension de celui-ci (du bout du pied, on pousse le liner dans ses angles vers les angles des parois) (figure 17).
F Remplissez la piscine d'eau sur une hauteur de 2 cm (figure 18). Pour faciliter le positionnement du liner, il est préferable que l'eau ne soit pas trop froide.
G Lissez le fond du liner pour éviter les plis en partant du centre vers les extrémites. Continuez à replir le bassin. S'il reste des plis, corrigez la tension du liner sur les parois en le glissant dans la baguette d'accrochage. (un pli en biais sur la paroi indique un mauvais positionnement) (figure 19).

Il est impératif de faire correspondre les angles du liner avec les angles de la structure du bassin.

Une fois le liner mis en place, continuez a replir la piscine jusqu'à 10 cm sous la buse de refoulement.
Après quelques semaines de mise en eau votre liner presenta tera une differenc de couleur entre la partie immergee et la partie a l'air libre. Cette decoloration est normale et ne remet pas en cause la solidite et/ou les caractéristiques de vetoiner. Afin de limiter l'apparition d'une demarcation sombre, du à la pollution atmosphérique, entre la partie immergée et la partie a l'air libre de vetoiner (appelee ligne d'eau), nous vous recommendons de nettoyer régulierement touteiner a ce niveau avec un nettoyant specifique.
INFORMATION: The drainage allows the continuous evacuation of water, at the foot of the pool and, therefore limits the rising of water by capillary attraction towards the upper part of the works, where air and soil interact to produce fungi or rot (lower diagram). The absence of draining causes water to ascend by capillary action that can be important and permanent, which favours the attacks of air / water interaction (lower diagram). In the case of an attack and if no draining exists, the guarantee cannot be applied to the deterioration.
En las piscinas enterradas o semienterradas, es indispensable un terraplenado de grava para favorecer el drenaje periférico. El terraplenado de la piscina suepeque para la que hay qu tear determinas precauiones. Un terraplenado incorrecte possible dar lugar a deterioros posteriores en la piscina y en sus inmediaciones. Conviene prestar atencion al tipo de material utilized y realizatios das verificaciones imprescindibles. Antes de realizar el terraplenado, es importante: Comprobar que todos los equipaimentos hidraulicos y elctricos esten bien conectados. Comprobar la estanqueidad de las conexiones de sus canalizaciones, en especial respecto a las piezas selladas. Proteja, si procebe, el tubo de drenaje periférico recubiendolo con geotextil. Es importante realizar llilenado de la piscina en paralelo al terraplenado de forma que se equilibren las presiones y se eviten deformaciones en thestructura durante la operation. Se aconseja seguir la tcnica de terraplenado por tercios (1/3 de agua y 1/3 de terraplenado).Durente el terraplenado, se aconseja proceder por capas sucivas por todo el perimetro del vaso para no correir el riesgo de daar la estructura. Coloque la proteccion alveolar en PEHD (no incluida) alrededor del vaso. La proteccion alveolar debe, igualmente, continuar la losa y extendere por el exterior de esta. Para evitar la obstruccion del drenaje, es necessario situur an fiello en el terreno natural (no inclido) para retener la tierra. Instale el drenaje perifericso sobre la proteccion y conectelo al pozo de descompresion (en su caso). En caso contrario,aje el drenaje extendido sobre el terreneo. A continuacion, efectueel terraplenado contra las paredes con grava compactada (calibre 10/30) que facilitaré el drenaje. Este terraplenado debe realizarse a la vez que el lienado de la piscina.
El terraplado con tierra vegetal está prohibido.
INFORMATION: El drenaje permite la evacuation continua de agua, a pie de piscina y, por lo tanto, limita las subidas de agua por capilaridad hacla parte superior de la obra,onde interactuan aire y tierra y se producen los ataques de hongos o la podredumbre (esquema debajo). La ausencia de drenaje origina subidas de agua por capilaridad que peuvent ser importantes y permanentes, lo que favorece los ataques en la interacion aire / agua (esquema debajo). En caso de un ataque comprobado y si no existe drenaje la garantia no se可分为 hacer cargo del deterioro.
Pour les piscines semi-entreprises ou entierement enterrees, un remblalement de graviers pour favoriser le drainage perephérique est indispensable. Le remblalement d'une piscine peut apparaitre comme une simple formalite, car a premiere vue, il ne pose pas de difficultes techniques particulieres. Cependant, c'est une opération plus delicate qu'il n'y parait et il y a quelques precautions à prendre. Un mauvais remblalement peut amener des deterieorations ulterieures de suaure piscine et de ses abords. Il convient notamment d'être vigilant sur le type de materiaiu qu'on utilise et d'avoir fait toutes les verifications qui s'imposent. Avant de remblayer, il est important de :
- Vérifier que tous les équipements hydrauliques et électriques sont biens raccordés. - Vérifier l'étanchéité des raccords de vos canalisations, notamment au niveau des pieces à sceller. - Protégier, le cas échéant, le tuyau de drainage périhérique en le recouvrant d'un géotextile. Il est important de réaliser la mise en eau du bassin paralllement au remblaientement de façon à équilibrer les pressions et éviter que la structure ne soit déformée pendant l'opération. Il est conseilé d'utiliser la technique du replissage par 1/3 (1/3 d'eau puis 1/3 de remblais). Lors du remblaientement, il est conseilé de procéder par couches successives sur toute la périhérie du bassin, pour ne pas risquer d'endommager la structure. - Positionner la protection alvêolaire en PEHD (non fournie) autour du bassin. La protection alvêolaire doit également suivre la dalle et tomber à l'extérieur de cette dernière. - Afin d'éviter un engorgement du drain, il faut placer sur le terrain naturel une feutrine (non fournie) de manière à retenir la terre. - Installer le drain périhérique sur la protection et le raccorder au puits de décompression (le cas échéant). À défaut, laisser le drain s'épandre sur le terrain. - Réaliser ensuite le remblaientement contre les parois avec du gravier tasse (calibre 10/30) qui favorisa le drainage. Ce remblaientement doit s'effectuer en même temps que le replissage du bassin.
Le remblalement en terre végétale est à proscire.
INFORMATION : Le drainage permet l'évacuation en continu de l'eau, en pied de piscine, et limite donc les remontées d'eau, par capillarité, vers le haut de l'ouvrage à l'interface air/terre où se produit les attaques de championons ou poursuissement (schéma ci-dessous). L'absence de drainage générale des remontées d'eau par capillarité potentiellement importantes et permanentes favorisant les attaques à l'interface air/terre (schéma ci-dessous). Dans le cas d'attaque avérée et d'absence de drainage la déterioration ne pourrait être prise en charge par la garantie.
Be ganz oder teilweise eingelassenen Pools ist eine Erdaufschüttung mit Kies unentbehrlich, um die Drainage der Peripherie zu begünstigen. Die Erdaufschüttung des Pools kann wie eine bloße Formalität wirken, Denn auf den ersten Blick verursacht sie keine besonderen technischen Schwierigkeiten. Doch es ist ein heiklerer Arbeitsgang als es scheint, fur den man gewisse Vorsichtsmaßnahmen treffen muss. Eine falsche Erdaufschüttung kann spätere Beschädigungen am Pool und seiner Umgebung verursachen. Es empfeht sich, auf die Art des eingesetzten Materials zu achten und alle unumganglichen Prüfungen durchzuführen. Vor Durchführung der Erdaufschüttung ist es wichtig:
- Sicherzustellen, dass alle hydraulischen und elektrischen Geräte ordnungsgemäß angeschlossen sind. Die Dichtigkeit der Anschüsse der Leitungsnetze zu prufen, besonderss bei den abgedachteten Teilen.
Commencez à replir la piscine d'eau, en arrêtant le replissage à 4 cm environ du bord inférieur de l'orifice de la valve.
Marquez l'orifice à l'aide d'un crayon-feutre (A) et faire une coupure en croix au centre de l'orifice (B) à l'aide d'un cutter (LAME) sans dépasser le trou de l'étampe.
Depuis l'intérieur de la piscine, introduisez dans la coupure que vous avez faite (C) la valve de return (No1) munie d'un anneau de friction (No 2) et d'un joint (No 3).
Il faut couper très proprement et soigneusement les morceaux de liner qui dépasse sur la partie extérieure de la piscine.
L'autre joint (No 3.1) est placé depuis l'extérieur, en le pliant et en passant le panneau afin qu'il soit en contact avec le liner et le panneau. Positionner l'autre bague de friction (No 2.1). Ajuster l'ensemble des pieces en serrant fermement avec l'ecrou (No 4). Ce montage doit se mener à bien avec beaucoup de soin, évitant les pris à travers lesquels pourrait se produit des fuites d'eau. Avant de continuer le replissage de la piscine il faudra installer le tuyau de refoulement qui va de la prise de sortie de l'epurateur à la buse de refoulement, en le fixant avec deux colliers.
Important: avant de placer le tuyau flexible, introduisez l'enjolivre. (No 5)
Assurez-vous que la vanne de l'équipment épurateur demeure sur la position FERMEE (Closed).

1-Corps de buse
2- 2.1 Joint plat rond
3- 3.1 Joint plat rond
4-Ecrou corps de buse
5- Enjoliveur

Installes la filtration avant de proceder aux découvertes du liner.

SKIMMER
MONTAGE DU SKIMMER
Avant d'installer le Skimmer dans la piscine, il faut installer l'ensemble vanne sur la bouche du Skimmer (No 5 Fig. 3).
Placez ensuite le joint (No 6) et la bouche conique (No 7), en assemblant les pièces à l'aide de 8 vis (No 8) DIN7982 5,5x25, comme il est indiqué sur A.
FIXATION DU SKIMMER
Continuez à replir la piscine d'eau jusqu'à ce qu'elle attigne un niveau 4 cm au-dessous de l'étampe du Skimmer de en bois de la piscine. Coupe le liner à l'aide d'un cutter (lame) en suivant la marque de l'étampe.
SKIMMER

A


C
- Avant de procéder, assurez-vous que le volet du skimmer est bien positionné.
- Tracez avec un feuitre la position des vis de fixation sur le liner.
- Placez le 2ème joint plat carré (5.1) puis la bride (8) contre le liner en alignant les trous avec les tracés d'emplacement des vis.
Fixe z la bride (6) sur le liner avec les 18 vis (7) a partir d'en bas. La pression des points de serrage sur le liner doit etre constante (serrage en croix). - Au début, ne serrez pas les vis trop fort pour pouvoir vérifier si l'emboitement est correct, puis, serrez-les fortement, après l'ordre indiqué dans C.
Fixez a pression le couvercle enjoliveur No 9, en veillant a placer les marques de niveau dans la position adequate (D). - Vissez l'embout cannelé (13) préalablement muni de t'éflon dans le corps de buse, côte extérieur du bassin. (E)
- Découpez le liner au cutter à l'intérieur du skimmer.
- A ce stade, vous doivent installer la filtration.

1-Couvercle Skimmer
2-Couvercle aspiration
3-Panier
4- Ensemble vanne
5-Joint de connexion
6-Bouche conique
7-Sachet vis (26 DIN 7982 5,5X25 and 10DIN 7982 4,8X19)
8- Joint
9-Bride avec couvercle enjoliveur
10-Valve de retour
11-Bouchon pour hivemage
12-Cle
13-Adaptateur tuyau

D

E





DRUCKVENTIL
CONSEILS DE MONTAGE: La filtration devra se situer à 3,50 m minimum de la piscine.
Sur schémas dans le suivant ont pour but d'explainier le sens de circulation d'eau. Veuillez vous reférer à la notice fournie avec le groupe de filtration pour en réaliser l'assemblage. Note : Remplissez le filtré aux 2/3 avec le sable nettoyé et calibre : un seul calibre est livré, il assure un bon fonctionnement de la filtration. (1) Les coloris et connections des systèmes de filtration peuvent différer selon les modèles. Se reférer à la notice spécifique.
Votr vanne multi-voies dispose d'un sens de circulation.Des marquages PUMPRETURNWASTEont gravés aux entrées et sorties de la vanne. L'installation de tout système électrique doit se faire en conformité avec la norme NF C15-100.Demander l'avis du fabricant pour toute modification d'un ou plusieurs composants du système de filtration. La pompe d'aspiration ne doit pas se situer au-dessus du niveau de I'eau car elle risque de se désamorcER.
Tous les raccords filétés sont à monter avec le ruban étanche teflon foumi *, excepté les raccords avec joint torique. Le teflon doit être enroulé dans le sens contraire du vissage.
REMLISSAGE: Finissez de replir la piscine. Le niveau d'eau final se situera entre le tiers supérieur et la moitié de la bouche du skimmer.

FR C'est le plus ancien des systèmes de filtration. L'eau filtrée passé à travers du sable (silice calibrée) qui retient toutes les impuretés. Ce type de filtré est équipé d'une vanne multivoies qui permet des manipulations et nettoyages très aisés.
LES DIFFERENTES POSITIONS DE LA VANNE MULTIVOIES (4 OU 6) *: Lors des changements de position de la vanne multivoies, la pompe doit toujours etre à l'arrêt, sans quoi le filtre risque d'être gravement endommagé et sa garantie annulée.
- POSITION FILTRATION (OU FILTER): Position habituelle de la vanne qui permet à l'eau venant de la pompe de rentrer par le haut du filtre et de circuler à travers le sable où elle est débarrassée de ses impuretés. L'eau est récepérée par la crépine de fond et refoulée vers la piscine. Un manomètre situé sur la partie haute du filtre vous permit de contrôler la pression. Dès que celle-ci augmentera de 0,2 bars par rapport à la pression de mise en service, il faudra faire un nettoyage du filtre.
- POSITION LAVAGE (OU BACKWASH): Position de nettoyage du sable. Elle permet de faire circuler l'eau en sens inverse dans le filtrte. L'eau entre par le bas du filtré et vient soulever la masse filtrante et ainsi débarrasser de ses impuretés qui, plus légères que le sable, sont evacuées par le haut du filtré vers l'égout. Cette opération devra se faire pendant 2 à 3 minutes.

- POSITION RINÇAGE / FILTRÉ ÉGOUT** (OU RINSE): Opération qui suit le lavage du filtré. Lorsque le filtré a été nettoyé, il est indispensable de rincer et de retasser la masse filtrante. Dans cette position, l'eau chimine dans le filtré comme en filtration mais est évacuée à l'égout en sortie du filtré. Cette opération devra se faire pendant 20 à 30 secondes.

- POSITION VIDANGE / ÉGOUT (OU WASTE): Position pour écacer l'eau ou vidanger le bassin. Dans ce cas, l'eau ne passse pas par le contrôle, elle est évacuée directement à l'égout.

- POSITION FERMÉE (OU CLOSED): Cette position ne permet aucun passage d'eau et est utilisée pourmettre la piscine en hivernage compléts lorsque l'on arrête la filtration.

-
POSITION RECIRCULATION / CIRCULATION **: Position utilisée pour que l'eau circule dans le réseau hydraulique sans passer par le filtrte. Cette possibilité est utilisé pour brasser l'eau si un produit doit être introduit dans la piscine ou lorsqu'une intervention sur le filtrte est à réaliser, car ici le filtrte est isolé et l'eau venant par la pompe est rejetée directement.
-
Certains modèles sont livrés avec une vanne 4 voies (positions disponibles : Filtration, Lavage, Vidange/égout, Fermée ou hivernage)
** Cette position concerne exclusivement la vanne 6 voies.

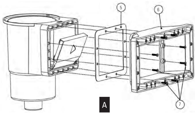
MARGELLES (ll est indispensable de remplir la piscine d'eau avant de positionner les margelles. Il est strictement interdit d'êtrebout ou de s'assoir sur les margelles. Les cassures ne seront pas couvertes par la garantie.)
La margelle est composée de 2 lames, une interieure, une extérieure. Rêférez-vous aux plans (4x60) (Voir page 44).
PREPARATION
- Avant de fixer la margelle, procedede un positionnement de toutes les lames à blanc, en vous aidant du plan d'implantation en fin de notice, sans les visser, afin de répartir uniformément les yeux.
- Faites dépasser la margelle vers l'intérieur de façon à créé un «brise vague».
FIXATION
- De maniere à obtenir une fixation ferme et durable, un pré perçage avec un foret à bois 4 mm sur les margelles est nécessaire. Pour l'assemblage, utilisez les vis inox 4 x 60 mm que vous vissez de biais (pour les 2 vis extérieures), en fond de rainures.
- Lorsque toutes les margelles sont régées, procédez au vissage au niveau des consoles. (*)
Fixation de la plaque sous margelles
- Positionnez les plaques bois sous margelles au niveau des angles et fixez-les à l'aide des 4 vis (4x40).

- Sur le pan recevant, le skimmer découvert uniquement la margelle extérieure aux dimensions de l'entraxe des consoles
- Fixez la trappe d'accès skimmer avec les charnieres à noeuds fournier.
DE ZUGANGSLATTE ZUM SKIMMER
A.- Assemblier les rampes supérieure (1) et inférieure (10) en les introduisant l'une dans l'autre et les fixer aux marches (9) et celles-ci à l'aide des vis (11), des écrous (8) et des rondelles (7) correspondantes. (Fig.20)
B.- Monter les butées (12) de la rampe, pour éviter que l'escalier puisse abîmer la piscine.
C.- Ares oov monte l'escalier, let metre en place dans la piscine et faire quatre trous traversant 9mmen utilisant la platine en guise de gabarit.
D.- Placer contre plaque (6) avec les vis (3) et les rondelles (4,7) et les écrous (8) avec la clé fixe 12-13. (Fig.21)
E.- Introduire le chapeau enjoliveur (2).

Lors de la première utilisation, il est impératif d'effectuer un lavage du filtré (voir entretien du système de filtration). La filtration est un traitement mécanique qui permet de nettoyer l'eau de la piscine en éliminant ses impuretés et particules polluantes. L'ensemble du circuit hydraulique et du groupe d'épuration d'eau est une donnée essentielle au bon fonctionnement du système de filtration. Le système de filtration doit être cohérent : La dimension du filtré doit être proportionnelle au volume d'eau de la piscine et au débit de la pompe. La filtration n'est pas antibacteriienne. Il est donc obligatoire de rajouter un produit (ou un système) de désinfection de l'eau.
TEMPS DE FILTRATION :
Durant la saison d'utilisation du kit piscine, le système de filtration doit obligatoirement etre mis en service chaque jour, suffisamment longtemps pour assurer au moins une renouvellement complet du volume d'eau. En theorie, on fait le calcul suivant :
(T^^/2) = Nb re d'heures de filtration
La praticque s'avere souvent de filtrer 4h avant et 4h après le zénith du soleil.
Un fonctionnement par intermittence est à déconseiller (arret ou reprise toutes les heures) car tout le volume d'eau ne serait pas renouvelé !
PRINCIPLE DE FONCTIONNEMENT :

L'eau de votre piscine est aspirée par un skimmer (cet élément etURTout les paniers qui récapuérent les feuilles et autres grosses impuretés doivent être très propres). L'eau cheminé ensuite à travers des tuyauteries pour arriver à une
pompe avec préfiltre* (àbonencoreanapanierarrétesimpuretésdetaillemoyenneet sa propriété est primordiale pour un bon fonctionnement). La pompe propulse l'eau dans un
| TEMPÉRATURA L'EAU | DURÉE DE FILTRATION POUR UNE JOUENÉE |
| 15 à 18°C | 8 heures |
| 19 à 21°C | 10 heures |
| 22 à 25°C | 12 heures |
| 26 à 28°C | 14 heures |
| 28 à 30°C | 19 heures |
| + de 30°C | 24 heures |
f t i t t t t t t t t t t t t t t t t t t t t t t t t t t t t t t t t t t t t t t t t t t t t t t t t t t t
VOUS DEVEZ TOUJOURS VOUS ASSURER QUE :
- Le niveau d'eau est correct: c'est-à-dire légèrement au-dessus du milieu du skimmer.
- Les paniers de skimmers et de préfiltre de pompè sont propres.
- Le circuit hydraulique est contrôle et les positions des vannes vérifiées.
- La filtration peut être mise en route et on contrôle la pression au manomètre (elle est fonction du type et de la position du local technique par rapport à la piscine)
INTERDIRE L'ACCES AU BASSIN EN CAS DE DETERIORATION DU SYSTEME DE FILTRATION
- Selon modele
ENTRETIEN DU SYSTEME DE FILTRATION
NETTOYAGE DU FiltRE
Vou effectuerez cette procedur a chaque fois qu'il faudra efectuer un lavage de filtre. Lorsque la pressi augmente de 0,2 bars par rapport a la pression de mise en service, il faut proceder a un nettoyage comme expliqued ci-dessous. Assurez-vous, sur la sortie egout de la vanne multivoies, qu'un tuyau de vidange (non fourni) a bien ete installed de maniere a permetre I'evacuation de I'eau lors du lavage du sable ou du filtre.
- Arretez lafiltration.
- Mettez votre vanne multivoies sur position LAVAGE.
- Mettez Your filtration en marche, la laisser fonctionner 2 à 3 minutes.
- Arretez à nouveau votre filtration, mettez vos vanne multivoies sur position RINCAGE et remettez votre filtration en marche pendant 30 secondes.
- Arrétez votre filtration, mettez votre vanne multivoies sur position FILTRATION.
- Remettez Your filtration en marche et vérifie que la pression soit bonne.
NETTOYAGE DU BASSIN
Avec un balai manuel
- Branchez le tuyau sur le balai.
- Mettez le balai dans l'eau.
- Remplissez le tuyau d'eau en le mettant devant une bouche de refoulement
- Fixez l'autre extrémité sur la prise balai
- Vouce pas le balai lentement (pour eviter de soulever la poussiere) et ne le sortez pas de I'eau, la pompe se desamorcerait.
- Une fois le balayage terminé, nettoyez le filtré puis remetre en position normale.
RECOMMANDATIONS
- Il est imperatif de vérifier la non obturation des orifices d'aspiration
- il est impératif d'arrêtier la filtration pendant les opérations de maintenance du système de filtration
- Surveiller régulierement le niveau d'encrassement du filtré

L'entretien et l'hivernage du filtré à sable nécessite des evacuations d'eau. Il est impératif de prévoir ces evacuations lors de l'installation du groupe de filtration.



TRAITMENT DE L'EAU
Quel que soit le système de filtration utilisé, il faut Traits chingquement l'eau de la piscine pour détruire les bacteries, les micros organismes et éviter le développement d'algues. Plusieurs produits de sterilisation peuvent être utilisés, comme le chlor, le brome, l'oxygène, etc. Prenez conseil a rpers d'un revendeur de produits traitements pour piscines pour déterminer votrechoix. La première chose à faire est de vérifier le taux de pH à l'aide d'une trousse d'analyse. Attention les flacons test ne sont valables q'un an.
Le taux idéal est 7,2 à 7,4 pour le pH et de 1,5 pour le CHLORE. Rectifiez eventuèlement le pH à l'aide des produits pH+ ou pH-. La quantité de produits est proportionnelle au cubage de votre piscine. Pour le traitement de votre bassin, reportez-vous aux indications figurant sur le produit que vous avez choisi pour votre piscine. pH (potentiel hydrogène) : Il est impératif de toujours maintainir le pH de votre eau entre 7,2 et 7,4 car en-dessous de ces valeurs l'eau devient corrosive (du fait de son acidité) et détiériè rapidement les pièces métalliques de votre piscine. Au-dessus de ces valeurs l'eau est basique et diminue fortement l'action du traitement. Ne jamais mette de galets de chloré directement dans le bassin. Le liner serait "brule".
CONSEILS DE SECURITE
Avant d'installer et d'utiliser, la piscine, veuillez dire attentivement, assimilar et respecter toutes les informations contenues dans cette notice d'utilisation. Ces avertissements, instructions et consignes de sécurité portent sur certains des risques usuals associés aux loisirs aquatiques, mais ils ne peuvent pas couvir la totalité des risques et dangers dans tous les cas. Faites toujours preuve de prudence, de discernement et de bon
sens lors des activités aquatiques. Conservez ces informations afin de pouvoir vous y référer ultérieurement.
Lorsque voit piscine atteint la fin de sa vie utile, elle doit etre demontee, puis il faudra sepaer les differents materiaux (plastique et acier) et les deposer dans la dechetterie specifiee par les autorites locales.
Sécurité des non-nageurs
Une surveillance attentive, active et continue par un adulte compétent des enfants qui ne savent pas bien nager et des non-nageurs est requise en permanence (en gardant à l'esprit que le risque de noyade est le plus élevé pour les enfants de moins de cinq ans).
- Désignez un adulte compétent pour surveiller le bassin à chaque fois qu'il est utilisé.
- Il convient que les enfants qui ne savent pas bien nager ou les non-nageurs portent des équipements de protection individuelle lorsqu'ils utilisant la piscine.
- Lorsque le bassin n'est pas utilisé ou est sans surveillance, retirez tous les jouets de la piscine et ses abords afin de ne pas attirer les enfants vers le bassin.
Dispositifs de sécurité
- Il est recommandé d'installer une barrière (et de sécuriser toutes les portes et fenêtres, le cas échéant) afin d'empêcher tout accès non autorisé à la piscine.
- Les barrières, couvertures, alarmes de piscines ou disposits de sécurité similaires sont des aides utiles, mais ils ne remplacent pas la surveillance continue par un adulte compétent.
Équipements de sécurité
- Il est recommandé de garder du matériel de sauvetage (une bouée, par exemple) pres du bassin.
- Gardez un téléphone en parfait état de marche et une liste de numérios d'urgence à proximé du bassin.
Sécurité d'emploi de la piscine
- Incitez tous les utilisateurs, en particulier les enfants, à apprendre à nager.
- Apprenez les gestes qui sauvent (réanimation cardiopulmonaire) et remettez régulierement à jour vos connaissances. Ces gestes peuvent sauvre une vie en cas d'urgence.
- Expliqueux utilisateurs de la piscine, enfants inclus, la procedure a suivre en cas d'urgence.
- Ne plongez jamais dans un plan d'eau peu profond, sous peine de blessures graves ou mortelles.
- N'utilisez pas la piscine sous l'emprise d'alcool ou de medicaments susceptibles de réduire votre capacité à utiliser la piscine en toute sécurité.
- Si la piscine est recouverte d'une couverture, retirez-la entierement de la surface de l'eau avant d'enter dans le bassin.
- Traitez l'eau de votre piscine et instaurez de bonnes pratiques d'hygiene afin de protégier les utilisateurs des maladies liée à l'eau. Consultez les consignes de traitement de l'eau données dans la notice d'utilisation.
- Stockez les produits chimiques (produits de traitement de l'eau, de nettoyage ou de désinfection, par exemple) hors de portée des enfants.
- Il est obligatore d'afficher les pictogrammes fournis dans une position visible à moins de 2 m de la piscine.
- Placez les échelles amovibles sur une surface horizontally.
ATTENTION:
Tout apparéil électrique alimenté en 220 V doit être situé au moins à 3,50 m du bord du bassin.
L'appareil doit être branché sur une prise de courant avec prise de terre, protégé par un interrupteur différentiel (RCD) avec un courant de fonctionnement résiduel assigné qui n'excède pas 30 mA.
À litre attentivement et à conserver pour consultation ultérieure.
EN CAS DE PROBLEME... NOUS CONSULTER!
web: www.grepool.com/fr/apres-vente




- Durant la saison d'utilisation du kit piscine, le système de filtration doit obligatoirement être mis en service chaque jour, suffisamment longtemps pour assurer au moins un renouvellement complet du volume d'eau.
- Durant la saisson d'utilisation du kit piscine, vérifier régulièrement le niveau d'encrassement du média filtrant.
- Surveiller la boulonnerie et la visserie (par exemple : traces de rouille) lorsque c'est possible.
- Le niveau d'eau de la piscine doit toujours être maintainu au minimum à 15 cm du rebord supérieur de cette-ci.
- Ne videz jamais complètement la piscine. Vous risquieriez d'endommager gravement la structure de votre piscine si le niveau d'eau n'est pas suffisant.
- Le non-respect des consignes d'entretien peut engendrer des risques graves pour la santé, notamment celle des enfants.
- L'utilisation d'un kit piscine implique le respect des consignes de sécurité décrites dans la notice d'entretien et d'utilisation.
- Ne pas laisser un kit piscine à poser sur le sol à l'extérieur, vide.
- Nettoyer régulierement le liner PVC et la ligne du niveau de l'eau avec des produits non abrasifs. Nettoyez périodiquement le pli d'union du fond au latorial du liner car c'est une zone où la saleté s'accumule. Si vous faites par accident un petit trou dans le liner, vous pouze le réparer avec nos rustines AR202 ou V12.
- Les bâches d'été (isothermes) protégent votre piscine des insectes, poussière, feuilles, etc. et évitant la perte de température de l'eau. Placez-la toujours avec les bulles en contact avec l'eau.
HIVERNAGE:
1- Nettoyer le fond et les parois du liner avec un produit non abrasif.
2- Traiter l'eau avec un produit d'hivernage. Il est recommendé d'utiliser un HIVERNAGE LIQUIDE au lieu de flotteurs avec un produit solide pour éviter de décolorer le liner.
3-Laisser la piscine remplie d'eau en tenant compte que:
a) Pour les piscines avec skimmer et buse de refoulement baisser le niveau de l'eau 5 cm en dessous du skimmer et fermer la buse de refoulement avec le bouchon à vis qui est joint à l'épurateur.
b) Pour les piscines avec buses d'aspiration et de refoulement baisser le niveau de l'eau à 20 cm du rebord supérieur de la piscine, en fermant les buses par le système de vis qui est incorpore.
4- Déconnecter les tuyaux. Ne pas démonter le skimmer ni les buses.
5- Protégé la piscine avec une bâche d'hivernage, en mettant un élément flottant entre celle-ci et l'eau, afin de la protégé du gel.
6- Epurateur: le déconnecter de la piscine. Le nettoyer, vider le sable ou enlever la cartouche, le sécher et le conserver dans un endroit couvert et à l'abri de l'humidité.
7- Accessoires : enlever tous les accessoires (échelle, alarme, projecteur, perché,...), les nettoyer à l'eau douce et les ranger. REMISE EN MARCHE : Enlever la bache d'hivernage, installer l'épurateur, changer au moins 1/3 de l'eau et réaliser une clotation de chic. Mettre l'épurateur en fonctionnement pendant au moins 8 heures en respectant les périodes de fonctionnement en continu indiquées sur les manuels des épurateurs.
TRAITEMENTS CHIMIQUES :
Lisez avec attention les instructions du fabricant du produit chimique. ATTENTION: Conserver les produits chimiques dans un endroit propre, sec et horsde portée des enfants.
Important : Tous les produits utilisés doivent être compatibles avec le liner en PVC.
- Premier replissage : Analyser le pH et le Chlore (Cl) de l'eau et les ajuster aux niveaux optimum : pH : 7,2-7,6 ; Chlore : 0,5-2 ppm.
- Clotation chic : Cela consiste à augmenter le niveau de chlore jusqu'à 20 ppm approximativement pour éliminer les bacteriés et algues. La réaliser uniquement lorsque l'eau de la piscine provient de puits, étangs,... ou lorsqu'elle est restée longtemps sans traitement.
- Contrôles : Contrôler, au moins une fois par période, les niveaux de pH et Chlore. (Utilisez un analyseur de Chlore et pH) De même, vous devrez rajouter de l'algicide pour prévenir la formation des algues. Ne jamais se baigner jusqu'à ce que le niveau de chlore soit stabilisé. Toutjours utiliser un dosificateur flottant pour la dissolution du produit chimique (pastilles). Le dosage des produits chimiques se fait en fonction de : le volume d'eau de votre piscine, la fréquence des baignades, les conditions climatiques, température de l'eau
et emplacement. Toujours agiter l'eau et attendre la dissolution d'un produit chimique avant d'en rajouter un autre. Attendre environ 12 h. entre chaque ajustement de pH, de Chlore, ou d'anti-algues en faisant fonctionner le systeme de filtration.
TRAITEMENTS MECANIQUES :
Vérifier que l'épurateur, skimmer, buses et tuyaux soient correctement connectés à la piscine. Tenez en compte que plus la température de l'eau est élevée, plus long sera le temps de filtration.Temps de filtration théorique = volume d'eau / débit du système de filtration (généralement 8h/jour avec la température de l'eau à 21^ ), (Idéal : 2h le matin - 4h à la mi journée - 2h l'après-midi) Bien respecter les périodes de fonctionnement en continu indiquées sur les manuels des épurateurs.
ASPIRATEUR DE FOND PAR ASPIRATION (MANUEL OU AUTOMATIQUE) :
Uniquement pour les piscines avec skimmer. Connecter une extrémité du tuyau à la tête du balai et le plonger dans l'eau pour qu'il se replisse. Connecter l'autre extrémité du tuyau à l'adaptateur d'aspiration (TA) et lemettre sur le panier du skimmer. Mettre en marche l'épurateur en position FILTER et commencer à nettoyer le fond. Faire attention dans les zones à pris là où s'accumule la saleté.
ASPIRATEUR DE FOND TYPE VENTURY :
Assemblier un tuyau d'arrosage sur l'embout de l'aspirateur de fond et l'introduire dans la piscine. Ouvrir le robinet à une pression normale pour que l'eau coule vers le fond de la piscine, produitant ainsi un courant ascendant qui récapère la saleté et la dépose dans le filtre installé sur l'aspirateur de fond.
| EFFECTS | CAUSES | REMÈDES |
| Eau trouble devenant verte | • Filtre encrassé • pH incorrect • Formation d'algues | • Lavage du Filtré • Réçlage • Traitement deCHOQUE |
| Pompe ne démarrant pas | • Disjoncteur sauté • Fusible grillé • Turbine bloquée | • Le réenclencher • Le replacer • Vérifier que le ventilateur à l'arrière du moteur tourne |
| Pompe tournant mais ne débitant pas | • Vannes d'aspiration fermées • Skimmer aspire de l'air • Pré filtrtre plein • Prise d'air au couvercle • Turbine défectueuse | • Les rouvrir • Rectifier le niveau d'eau • Le nettoyer • Vérifier le joint et replacer le couvercle pré-filtre • Changer la turbine |
| Pas d'aspiration au skimmer | • Panier non vidé • Vanne mal fermée • Niveau d'eau trop bas | • Le vider • L'ouvrir • Le réajuster |
| Eau sale refoulée dans la piscine | • Filtre colmaté | • Le laver, le rincer |
| Pression au manomètre trop haute | • Lavage de filtré mal fait • Vanne de refoulement fermée | • Le refaire • Ouvrir la vanne, contrôler l'état du sable (à changer tous les 3 ou 4 ans) |
| Pas ou peu d'aspiration au balai | • Pré filtrtre obstrué • Vanne correspondante fermée • Tuyau usé ou percé • Air dans les tuyaux • Autres vannes ouvertes • Filtre encrassé | • Le laver • L'ouvrir • Le replacer • Purger et attendre l'amorçage • Les fermer • Le nettoyer |
| Traces de corrosion | • pH trop faible | • Elever le pH à 7,2-7,4 |
| Sable dans le bassin | • Crépine cassée • Vanne multivoies manipulée avec pompe en fonctionnement. • Filtration branchée à l'envers. Les tuyauteries ont été inversées au mon-tage. | • Remplacer la crépine • Remplacer la vanne multivoie • Refaire un bon branchement de la filtration |
Notice Facile