PAMELA - Poêle à granulés EXTRAFLAME - Notice d'utilisation et mode d'emploi gratuit
Retrouvez gratuitement la notice de l'appareil PAMELA EXTRAFLAME au format PDF.
| Type de produit | Poêle à granulés |
| Caractéristiques techniques principales | Chauffage à air, rendement élevé, faible émission de CO2 |
| Alimentation électrique | 230 V / 50 Hz |
| Dimensions approximatives | Largeur : 50 cm, Hauteur : 110 cm, Profondeur : 50 cm |
| Poids | 150 kg |
| Compatibilités | Granulés de bois certifiés |
| Type de batterie | Non applicable |
| Tension | 230 V |
| Puissance | 8 kW |
| Fonctions principales | Chauffage, programmation hebdomadaire, télécommande |
| Entretien et nettoyage | Nettoyage du foyer et des échangeurs de chaleur recommandé tous les mois |
| Pièces détachées et réparabilité | Disponibilité des pièces détachées auprès des revendeurs agréés |
| Sécurité | Équipé de dispositifs de sécurité contre la surchauffe et les anomalies de fonctionnement |
| Informations générales | Garantie de 2 ans, installation par un professionnel recommandée |
FOIRE AUX QUESTIONS - PAMELA EXTRAFLAME
Questions des utilisateurs sur PAMELA EXTRAFLAME
0 question sur cet appareil. Repondez a celles que vous connaissez ou posez la votre.
Poser une nouvelle question sur cet appareil
Téléchargez la notice de votre Poêle à granulés au format PDF gratuitement ! Retrouvez votre notice PAMELA - EXTRAFLAME et reprennez votre appareil électronique en main. Sur cette page sont publiés tous les documents nécessaires à l'utilisation de votre appareil PAMELA de la marque EXTRAFLAME.
MODE D'EMPLOI PAMELA EXTRAFLAME
Une énergie thermique est emprisonnée pendant la combustion et rend les surfaces, les portes, les poignées, les commandes, les vitres, le tuyau d'évacuation des fumées et eventuèlement la partie antérieure de l'appareil considérablement chaudes.
Il ne faut pas toucher les éléments en question sans etre muni de vetements de protection (gants de protection fournis).
Il faut faire en sorte de bien expliquer ce danger aux enfants et de ne pas les faire approcher du foyer pendant le fonctionnement
FRANÇAIS 5
MISES EN GARDE. 5
SECURITE 5
ENTRETIEN ORDINAIRE 7
RÉGLEMENT (UE) 2015/1185 8
INSTALLATION 9
CONSIGNES POUR L'ENTRETIEN 9
INSTALLATION HERMÉTIQUE 11
AIR COMBURANT 11
SYSTÉME D'ÉVACUATION DES FUMÉES 11
DETAIS AMIKA 12
POSITIONNEMENT DU POÉLE 13
NOTES POUR LE FONCTIONNEMENT CORRECT 13
RÉARMEMENT DU THERMOSTAT À BULBE. 13
FUSIBLE 13
PELLET ET CHARGEMENT 14
RESERVOIR PELLET - FERMETURE A PRESSION 14
TELECOMMANDE 15
ICONES TELECOMMANDE. 16
INSERTION DES PILES 16
CONSEILS ET PRECAUTIONS POUR L'UTILISATION DE LA TELÉCOMMANDE. 16
TABLEAU DE COMMANDE 17
LEGENDE DES ICONES DE L'ECRAN 17
MENUGENERAL 18
MISES EN GARDE GENÉRALES. 18
RéGLAGES POUR LE PREMIER ALLUMAGE 19
DATE-HEURE 19
LANGUE. 19
DEGREES 19
FONCTIONNEMENT ET LOGIQUE 20
AIR AMBIANCE 21
EASY SETUP 21
CHRONO 22
ACTIVATION / DÉSACTIVATION DU CHRONO 22
RÉGLAGES 24
ECRAN 24
STAND-BY 24
FONCTIONNEMENT AVEC THERMOSTAT SUPPLEMENTaire (EN OPTION) 24
THERMOSTAT SUPPLEMENTaire 25
INSTALLATION DU THERMOSTAT SUPPLEMENTaire. 25
DELTA T 25
CHARGE INITIALE 25
EFFACER 26
EASY CONTROL 26
FONCTIONS SUPPLEMENTAIRES 26
EXTINCTION RETARDEE 26
CLAVIER BLOQUE 26
NETTOYAGE ET ENTRETIEN 27
ENTRETIEN 27
NETTOYAGE PÉRIODIQUE À EFFECTUER PAR L'UTILISATEUR. 27
ENTRETIEN COURANT A EFFECTUER PAR LES TECHNICIENS AUTORISÉS 29
MISE HORS SERVICE (FIN DE SAISON) 29
AFFICHAGES 32
ALARMES 32
CONDITIONS DE GARANTIE 33
ÉLIMINATION 34
| IT - ATTENZIONE TASSATIVO PRIMA DI MOVIMENTARE LA STUFA TOGLIERE IL RIVESTimento INDICATO PER EVITARE DANNI. | EN - WARNING BEFORE HANDLING THE STOVE, THE COVERING INDICATED MUST BE REMOVED TO AVOID DAMAGE. |
| FR - ATTENTION IMPERATIF AVANT DE DÉPLACER LE POÈLE, RETIRER LE REVÊTEMENT INDIQUE POUR ÉVITER TOUT DOMMAGE. | DE - ACHTUNG PFLICT BEVOR DER OFEN BEWEGT WIRD, MUSS DIE ANGEZEIGTE VERKLEIDUNG ENTFERNT WER- DEN, UM SCHÄDEN ZU VERMEIDEN. |
| ES - ATENÇÃO TAXATIVO ANTES DE MANEJAR LA ESTUFA QUIT EL REVESTIMIENTO INDICADO PARA EVITAR DANOS. | PT - ATENÇÃO OBRIGatório ANTES DE MOVIMENTAR O AQUECEDOR, RETIRAR O REVESTIMENO INDICADO PARA EVITAR DANOS. |
| DK - OBS FJERN DET ANGIVNE D'AKSEL, INDEN OVNEN FLYTTES FOR AT UNDGÀ SKADE. | NL - IMPERATIEVE AANDACHT VOORDAT U DE KACHEL VERPLAATST VERWIJDER DE AANGEGEVEN KAP OM SCHADE TE VOORKOMEN. |
Nous vous remercions d'avoir choisi notre produit. Notre apparéil est une solution de chauffage optimale née de la technologie la plus avancée avec une qualité de fabrication de très haut niveau et un design toujours actuel, pour vous faire profiter - en toute sécurité - de la merveilleuse sensation que procure la chaleur de la flamme.
MISES EN GARDE
Ce manuel d'instructions fait partie intégrante du produit : s'assurer qu'il soit toujours avec l'appareil, même en cas de cession à un autre propriété ou utilisateur, ou en cas de transfert à un autre emplacement. Si ce manuel avait été abîné ou perdu, en demander un autre exemplaire au service technique le plus proche. Ce produit doit être réservé à l'usage pour lequel il a expressément été réalisé. Toutre responsabilité contractuelle et extracontractuelle du fabricant, en cas de dommages causés à des personnes, animaux ou biens, dus à des erreurs d'installation, de réglage, d'entretien et d'utilisation incorrects, est exclue.
L'installation doit être executée par du personnel qualifié et autorisé, qui assume la responsabilité de l'installation définitive ainsi que du bon fonctionnement ultérieur du produit installé. Il faut respecter toutes les lois et règlementations nationales, régionales, provinciales et communales existant dans le pays où a été installé l'appareil, ainsi que les instructions containues dans leprésent manuel.
L'utilisation de l'appareil doit respecter toutes les règlementations locales, régionales, nationales et européennes.
En cas de non respect de ces précautions, le fabricant n'assume aucune responsabilité.
Après avoir enlevé l'emballage, s'assurer que le contenu est intact et qu'il ne manque rien. Le cas échéant, s'adresser au revendeur auprès duquel l'appareil a été acheté. Toutes les pieces ELECTriques qui composent le produit et qui garantissant son bon fonctionnement, devront être replacées par des pieces d'origine et uniquement par un Centre d'Assistance Technique agrée.
SECURITÉ
L'APPAREIL PEUT ÉTRE UTILISÉ PAR DES ENFANTS AGÉS DE PLUS DE 8 ANS ET PAR DES PERSONNES AUX CAPACITÉS PHYSIQUES, SENSORIELLES OU MENTALES RÉDUITES, SANS EXPÉRIENCE NI CONNAISSANCE NÉCESSAIRE, À CONDITION D'ÊTRÉ STRICTEMENT SURVEILLÉS OU BIEN SEULEMENT APRES AVOIR ÉTÉ INSTRUITS SUR LES CONDITIONS D'UTILISATION SûRES DE
L'APPAREIL ET EN AVOIR COMPRIS LES DANGERS INHÉRENTS.L'UTILISATION DU GÉNÉRATEUR PAR DES PERSONNES (Y COMPRIS LES ENFANTS) AYANT DES CAPACITÉS PHYSIQUES, SENSORIELLES ET MENTALES RÉDUITES, OU DES PERSONNES INEXPÉRIMENTÉES EST INTERDITE À MOINS QU'UNE PERSONNE RESPONSABLE DE LEUR SECURITÉ NE LES SURVEILLE ET LES INSTRUISE.
LES ENFANTS DOIVENT ETRE CONTROLÉS POUR S'ASSURER QU'ILS NE JOUENT PAS AVEC L'APPAREIL.
LE NETTOYAGE ET L'ENTRETIEN À LA CHARGE DE L'UTILISATEUR NÉ DOIVENT PAS ÉTRE EFFECTUÉS PAR DES ENFANTS NON SURVEILLÉS.
NE PAS TOUCHER LE GENÉRATEUR NU-PIEDS OU AVEC D'AUTRES PARTIES DU CORPS MOUILLEES OU HUMIDES.
IL EST INTERDIT D'APPORTER UNE QUELCONQUE MODIFICATION À L'APPAREIL.
NE PAS TIRER, DEBRANCHER OU TORDRE LES CABLES ELECTRIQUES QUI SORTENT DU PRODUIT, MEME SI CELUI-CI N'EST PAS BRANCHÉ AU RESEAU D'ALIMENTATION ELECTRIQUE.
IL EST RECOMMANDÉ DE POSITIONNER LE CÂBLE D'ALIMENTATION DE FAÇON À CE QU'IL N'ENTRE PAS EN CONTACT AVEC LES PARTIES CHADES DE L'APPAREIL.
LA FICHE D'ALIMENTATION DOIT ETRE ACCESSIBLE APRÉS L'INSTALLATION.
ÉVITERDERÉDUIRELESDIMENSIONSOUD'OBSTRUERLESOUVERTURES D'AÉRATION DE LA PIECE D'INSTALLATION. LES OUVERTURES D'AÉRATION SONT INDISPENSABLES POUR UNE COMBUSTION CORRECTE.
NE PAS LAISSER LES ÉLÉMENTS DE L'EMBALLAGE À LA PORTÉE DES ENFANTS OU DE PERSONNES HANDICAPÉES, NON ASSISTÉS.
LORSQUE L'APPAREIL EST EN ETAT DE MARCHE, LA PORTE DU FOYER DOIT TOUJOURS RESTER FERMEE.
QUAND L'APPAREIL FONCTIONNE, IL EST CHAUD AU TOUCHER, EN PARTICULARIER TOUTES LES SURFACES EXTERIEURES; IL EST DONC RECOMMANDÉ DE FAIRE ATTENTION.
CONTROLER LA PRESENCE ÉVENTUELLE D'OBSTRUCTIONS AVANT D'ALLUMER UN APPAREIL APRES UNE LONGUE PÉRIODE D'INACTIVITE.
LEGÉNÉRATEURAÉTÉCONÇUPOURSÉRGLERAUTOMATIQUEMENT DANS DES CONDITIONS PARTICULIÈRES DE FONCTIONNEMENT.
LE GÉNÉRATEUR A ETÉ CONÇU POUR ÉTRE UTILISÉ DANS N'IMPORTÉ QUELLE CONDITION CLIMATIQUE. CEPENDANT, EN CAS DE CLIMATPARTICULIERÉMENT DÉFAVORABLE (VENT FORT, GEL), LES SYSTEMES DE
SECURITE POURRAIENT SE DÉCLENCHER, PROVOQUANT AINSI L'ARRÊT DU GÉNÉRATEUR. SI CELA SE VÉRIFIE, CONTACTER LE SERVICE D'ASSISTANCE TECHNIQUE ET SURTOUT NE PAS DÉSACTIVER LES SYSTÉMES DE SECURITÉ.
ENCASD'INCENDIE DU CONDUIT DEFUMEE, SEMUNIRD'EXTINCTEURS POUR ETOUFFER LES FLAMMES OU APPELER LES POMPIERS.
CET APPAREIL NE DOIT PAS ÉTRE UTILISÉ COMME INCINÉRATEUR DE DÉCHETS.
N'UTILISER AUCUN LIQUIDE INFLAMMABLE POUR L'ALLUMAGE
AU COURS DU REMPLISSAGE, VEILLER À CE QUE LE SAC DE PELLETS N'ENTRE PAS EN CONTACT AVEC L'APPAREIL.
LES FAIENCESSONT DES PRODUITS ARTISANAUX ETENTANT QUETELS, ELLES PEUVENT PRÉSENTER DES MICRO-GRUMEAUX, DES CRAQUELURES ET DES IMPERFECTIONS CHROMATIQUES. CES CARACTERISTIQUES EN DEMONTRENT LA VALEUR. ÉTANT DONNÉ LEUR COEFFICIENT DE DILATATION DIFFÉRENT, L'ÉMAIL ET LA FAIENCE PRODUISENT DES MICROFISSURES (CRAQUELURES) QUI TÉMOIGNENT DE LEUR AUTHENTICITE. POUR NETTOYER LES FAIENCES, NOUS CONSEILLONS D'UTILISER UN CHIFFON DOUX ET SEC. SI UN DÉTERGENT OU DU LIQUIDE EST UTILISÉ, CE DERNIER POURRAIT PENÉTRER À L'INTÉRIEUR DES FISSURES ET LES METTRE EN ÉVIDENCE.
ETANT DONNÉ QUE L'APPAREIL PEUT S'ALLUMER DE MANIÈRE AUTONOME VIA CHROMOTHÉRAPIE OU À DISTANCE GRÂCE AUX APPLICATIONS DÉDIÉES, IL EST STRICTEMENT INTERDIT DE LAISSE DES OBJECTS À L'INTÉRIEUR DES DISTANCES DE SECURITE INDIQUÉES SUR L'ÉTIQUETTE DES CARACTERISTIQUES TECHNIQUES.
LES PARTIES INTÉRIEURES DE LA CHAMBRE DE COMBUSTION PEUVENT ÉTRE SUJETTES À L'USURE ESTHÉTIQUE, MAIS CELA N'AFFECTE PAS LEUR FONCTIONNALITE.
ENTRETIEN ORDINAIRE
Selon le décret du 22 janvier 2008 n°37 art.2, l'expression « entretien ordinaire » définit les interventions ayant pour but deContainir la dégradation normale d'utilage, et d'affronter les événements accidentels qui comportent la nécessité de premières interventions, qui ne modifiert cependant pas la structure de l'installation sur laquelle on intervient, ou sa destination d'utilisation selon les prescriptions prévues par la règlementation technique en vigueur et le manuel d'utilisation et d'entretien du fabricant.
| EXIGENCES D'INFORMATIONS APPLICABLES AUX DISPOSITIFS DE CHAUFFAGE DÉCENTRALISÉS À COMBUSTIBLE SOLIDE ((RÉGLEMENT (UE) 2015/1185 DE LA COMMISSION) | |||
| Référence(s) du modèle | --- | PAMELA STEEL - PAMELA CRYSTAL | |
| Fonction de chauffage indirect | --- | NON | |
| Puissance thermique directe | kW | 8,0 | |
| Puissance thermique indirecte | kW | --- | |
| Combustible | --- | Bois comprimé ayant un taux d'humidité < 12 % | |
| Efficacité énergétique saisonnière pour le chauffage des locaux | ηs | % | 80,0 |
| Émissions dues au chauffage des locaux à la puissance thermique nominale (*) | PM | mg/Nm3 | 15 |
| OGC | 1 | ||
| CO | 121 | ||
| NOx | 145 | ||
| Émissions dues au chauffage des locaux à la puissance thermique minimale (*) | PM | mg/Nm3 | 25 |
| OGC | 7 | ||
| CO | 672 | ||
| NOx | 136 | ||
| Puissance thermique nominale | Pnom | kW | 8,0 |
| Puissance thermique minimale (indicative) | Pmin | kW | 2,5 |
| Rendement utile à la puissance thermique nominale | nth,nom | % | 91,2 |
| Rendement utile à la puissance thermique minimale (indicatif) | nth,min | % | 92,6 |
| Consommation d'électricité auxiliaire - À la puissance thermique nominale | elmax | kW | 0,067 |
| Consommation d'électricité auxiliaire - À la puissance thermique minimale | elmin | kW | 0,028 |
| Consommation d'électricité auxiliaire - En mode veille | elsb | kW | 0,002 |
| Type de contrôle de la puissance thermique/de la température de la pièce | --- | contrôle électronique de la température de la pièce etprogrammateur hebdomadaire | |
| Autres options de contrôle | --- | --- | |
(*) P = particules, COG = composés organiques gazeux, CO = monoxyde de carbone, NOx = oxydes d'azote
INSTALLATION
GÉNÉRALITÉS
Les branchements évacuation des fumées et hydraulique doivent être effectuels par un personnel qualifié qui doit délivrer une attestation de conformité d'installation selon les normes nationales.
L'installateur doit remettre au propriete ou à la personne qui le représenté, conformément à la loi en vigueur, la déclaration de conformité de l'installation, accompagnée de :
1) livre d'utilisation et de maintenance de l'appareil et des composants de l'in installation ( comme par exemple canaux de fumée, cheminée, etc.);
2) de la copie photostatique ou photographique de la plaquette de la cheminée ;
3) du livre d'installation (le cas échéant).
L'installateur doit se faire donner un reçu de la documentation remise, et la conserver avec une copie de la documentation technique concernant l'installation effectuee.
S'il s'agit d'une installation dans une copropriété immobilière, il est nécessaire de demander au préalable l'avis de l'administrateur.
Le cas échéant, effectuer une vérification des émissions des gaz d'échéppement après l'installation. L'éventuelle préparation du point de prélèvement devra être réalisée de manière étanche.
COMPATIBILITÉ
L'installation est interdite à l'intérieur des locaux où il existe un risque d'incendie. De plus, l'installation est interdite à l'intérieur de locaux à usage d'habitation, dans les cas suivants :
- en cas de presence d'appareils à combustible liquide avec un fonctionnement continu ou discontinu qui prélevent l'air comburant dans le local où ils sont installés.
- en cas de presence d'appareils à gaz de type B destiné au chauffage des pièces, avec ou sans production d'eau chaude sanitaire et dans les locaux qui leurs sont adjacents et communicants.
- lorsque, la depression mesurée sur place entre l'environnement extérieur et interieur est supérieure à 4 Pa.
N.B.: Les apparéils étanches peuvent être installés même dans les cas indiqués aux points 1, 2, 3 duprésent paragraphe.
INSTALLATIONS DANS LES SALLES DE BAIN, CHAMBRES À COUCHER ET STUDIOS
Dans les salles de bain, les chambres à coucher et les studios, seule l'installation étanche est permise, ou bien l'installation d'appareil à foyer fermé, avec prélevement canalisé de l'air comburant par l'extérieur.
POSITIONNEMENT ET DISTANCES DE SECURITE
Les points d'appui et/ou de soutien doivent avoir une capacité porteuse en mesure de supporter le poids total de l'appareil, des accessoires et des revêtements de celui-ci. Si le sol est constitué d'un matériel combustible, il est recommendé d'utiliser une protection en matériel incombustible qui protège également la partie avant d'une chute eventuelle de résidus brûlés durant les opérations ordinaires de nettoyage. Pour un bon fonctionnement, le générateur doit être mis à niveau. Nous suggérons de réaliser les parois laterales, postérieures et le plan d'appui en matériel non combustible.
DISTANCES MINIMALES (POÉLLES À PELLET)
L'installation à proximate de matérielux combustibles ou sensibles à la chaleur n'est admise qu'à condition de respecter les distances de sécurité indiquées sur l'étiquette fournie au début du manuel (page 2). Pour les matériaux non inflammables il faut maintainir une distance sur les côts et au dos d'au moins 100mm (à l'exception des inserts). L'installation à fleur du mur n'est admise que pour les apparciels équipés d'écarteurs postérieurs et pour la partie arrrière.
CONSIGNES POUR L'ENTRETIEN

Il faut respecter toutes les lois et règlementations nationales, régionales, provinciales et communales existant dans le pays où l'appareil a été installé, ainsi que les instructions containues dans le present manuel.
Pour l'entretien extraordinaire de l'appareil il pourrait être nécessaire d'éloigner ce dernier des murs adjacents. Cette opération doit être effectuee par un technicien apte a debrancher les conduits d'évacuation des produits de la combustion et a les rebrancher. Pour les générateurs branchés a l'installation hydraulique, il faut prevoir une connexion entre l'installation et l'appareil de maniere a pouvoir déplacer le générateur d'au moins 1 metre des murs adjacents, pendant l'entretien extraordinaire, effectué par un technicien agreé.
INSTALLATION INSERTS
Dans le cas d'installation d'inserts, l'accès aux parties internes de l'appareil doit être interdit, et durant l'extraction il ne doit pas être possible d'acceder aux parties sous tension.
D'eventuels cablages comme par exemple un cable d'alimentation ou des sondes ambiantes doivent etre placés de façon a ne pas etre endommages durant le mouvement de l'insert et a ne pas enter en contact avec des parties chaudes. Pour l'installation a l'intérieur d'un vide technique realized en materiaiu combustible, nos recommendons d'adopter toutes les mesures de sécurité imposées par les normes d'installation.
VENTILATION ET AERATION DES LOCAUX D'INSTALLATION
La ventilation en cas de générateur non hermetique et/ou d'installation non hermetique doit etre realizede en respectant l'espace minimal indique cidesous (en tenant compte de la plus grande valeur parmi celles proposées):
| les catégories d'appareils | la forme de référence | le pourcentage de la section nette d'ouverture par rapport à la section de sortie des fumées de l'appareil | la valeur minimale nette d'ouverture du conduit de ventilation |
| Poëles à pellet | UNI EN 14785 | - | 80 cm² |
| Chaudières | UNI EN 303-5 | 50% | 100 cm² |
Dans toute condition, y compris en presence de hottes aspirantes et/ou d'installations de ventilation forcede, la differencede pression entre les locaux d'installation du generateur et I'extérieur doit etre une valeur tousjours ege ou inferieure a 4 Pa.
En presence d'appareils à gaz de type B à fonctionnement intermittent, non destinés au chauffage, il faut effectuer une ouverture d'aération et/ou de ventilation.
Les prises d'air doivent répondre aux exigences suivantes :
être protégées par des grilles, grillages métalliques, etc., sans en réduire la section utile nette;
être réalisées de façon à prendre possibles les opérations de maintenance;
être placées de façon à ne pas pouvoir être bouchées;
L'afflux de l'air propre et non contaminé peut être obtenu aussi d'une piece adjacente à celle de l'installation (aération et ventilation indirecte), à condition que le flux puisse se faire librement à travers des ouvertures permanentes en communication avec l'extérieur.
La pièce adjoininge ne peut pas être utilisée comme garage, stock de matériel combustible ou autres activités importante un danger d'incendie, salle de bains,,chambre à coucher ou piece commune de l'immeuble.
ÉVACUATION DES FUMÉES
Le générateur de chaleur travaille en dépression et il est muni d'un ventilateur à la sortie pour l'extraction des fumées. Le système d'évacuation doit être unique pour le générateur, des evacuations dans le conduit de la cheminée partagée avec d'autres dispositifs ne sont pas admises. Les composants du système d'évacuation des fumées doivent être choisis par rapport à la typologie de l'appareil à installer conformément à :
UNI/TS 11278 dans le cas de cheminées métalliques, avec une attention particulière à ce qui est indiqué dans la désignation;
UNI EN 13063-1 et UNI EN 13063-2, UNI EN 1457, UNI EN 1806 : en cas de cheminées non métalliques.
La longueur de la partie horizontale doit etre minime et de toute facon ne pas depasser 3 metres, avec une inclinaison minimale de 3 % vers le haut
Le nombre de changements de direction, y compris du à l'utilisation d'un élément en "T", doit se limiter à 4.
Il faut prévoir un racord en "T" avec un bouchon de récolte des condensats à la base de la partie verticale.
Si I'evacuation ne s'insere pas dans un conduit de cheminée, une partie verticale avec un terminal anti-vent est demandee (UNI 10683)
Le conduit vertical peut etre a l'intérieur ou a l'estérieur de I'edifice. Si le canal a fumee s'insere dans un conduit de cheminee existant déjà, celui-ci doit etre certifie pour combustibles solides
Si le canal a fumée est à l'extérieur de l'édifice, il doit toujours être isolé.
Les canaux à fumée doivent être prévus avec au moins une prise étanche pour d'eventuels échantillonnages de fumées.
Toutes les parties du conduit des fumées doivent pouvoir être inspectées.
Des ouvertures d'inspection doivent etre prévues pour le nettoyage.
Si la tempéature des fumées du générateur est inférieure à 160^+ temperature ambiente à cause du haut rendement (consulter données techniques), le générateur devra absolument être résistant à l'humidité.
Un système d'évacuation des fumées ne respectant pas les points précédents ou, en général, n'était pas conforme aux normes, peut provoquer l' apparition de phénomènes de condensation à l'intérieur.
POT DE CHEMINÉE
Les pots de cheminée doivent répondre aux exigences suivantes :
avoir une section utile de sortie non inférieure au double de celle de la cheminée/système tubé sur lequel il est inséré;
être conformés de façon à empêcher la pénetration dans la cheminée/système tubé de la pluie et de la neige;
être construits de façon à garantir l'évacuation des produits de la combustion, même en cas de vents provenant de n'importe qu'elle direction et avec n'importe qu'elle inclinaison;
UNIQUEMENT POUR L'ALLEMAGNE
Le produit peut être raccordé à un conduit de fumée à usage partagé (c'est-à-dire à raccordement multiple) à condition que les exigences des normes régionales et nationales, parmi lesquelles la DIN EN 13384-2, DIN V 18160-1, DIN 18896 et la MFeuV-2007 (Muster-Feuerungsverordnung), soient obligatoirement respectées, et que le ramoneur du district ait contrôle et approuvé les conditions d'installation. Les indications suivantes doivent être respectées par l'utilisateur final :
Le dispositif peut uniquement etre actionne avec les portes fermées.
Les portes et tous les dispositifs de reglage du dispositif doivent rester fermés quand le dispositif n'est pas en marche (sauf en cas d'opérations de nettoyage et de maintenance).
EXEMPLES DE RACCORDEMENT CORRECT À LA CHEMINÉE


BRANCHEMENT AU RÉSEAU ÉLECTRIQUE
Le générateur est muni d'un cable d'alimentation électrique qui doit être branché à une prise de 230V 50Hz, avec, si possible, un interrupteur magnétothermique. La prise de courant doit être facilement accessible.
L'installation electrique doit etre conformes aux normes;verifier en particulier l'efficacite du circuit de mise a la terre. Une mise a la terre non adequate de I'st installation peut provoquer un dysfonctionnement dont le fabricant ne se retient pas responsable.
Des variations d'alimentation supérieures à 10% peuvent provoquer des anomalies de fonctionnement du produit.
INSTALLATION HERMÉTIQUE
Le générateur est un produit totallytément etanche par rapport au milieu d'installation ; cela signifie qu'il est idéal pour les maisons passives car il ne prélieve pas l'air present dans les habitations.
AIR COMBURANT
Pour respecter l'herméticité du poèle, le tuyau de raccordement de l'air comburant (combustion) doit être raccordé directement à l'extérieur à l'aide de tuyaux et de raccords étanches.
SYSTEME D'ÉVACUATION DES FUMÉES
Si la température des fumées du générateur est inférieure à 160^+ température ambiente à cause du haut rendement (consulter données techniques), le système d'évacuation des fumées devra absolument être résistant à l'humidité.
Si la possibilité de condensation des fumées subsiste, prévoir un « T » d'inspection à l'extérieur du poèle.
EXAMPLED INSTALLATION

Il faut respecter toutes les lois et reglementations nationales, régionales, provinciales et communales existant dans le pays où l'appareil a été installé, ainsi que les instructions continues dans le present manuel.
DÉTAILS PAMELA



| A | Sortie air ambient | F | Sortie des fumées |
| B | Accès,chambre de combustion | G | Réarmement thermostat à bulbe |
| C | Module vergence | H | On/Off Fusible Alimentation 230 V |
| D | Réservoir à pellet | I | Entrée sérielle Entrée thermostat supplémentaire |
| E | Entrée air combustant | J | Capteur ambient |
POSITIONNEMENT DU POÉLE
Pour un fonctionnement correct du produit, il est recommandé de le positionner à l'aide d'un niveau, de manière à ce qu'il soit parfaitement horizontal.
NOTES POUR LE FONCTIONNEMENT CORRECT
Pour un fonctionnement correct du poèle à pellet, il est nécessaire de respecter les indications suivantes:
Durant le fonctionnement du poèle, mais aussi pendant son utilisation, toutes les portes (réservoir pellet, porte, tiroir à cende), doivent rester fermés. Elles ne peuvent être ouvertes que le temps nécessaire au chargement du combustible et à la maintenance.
Le non-respect de l'une des observations décrites ci-dessus au cours du fonctionnement, entrainera la visualisation sur l'afficheur:
« FERMER RESERVOIR-PORTE »
Cette signalisation indique que 60 secondes sont à disposition pour fermer la porte et le couvercle du réservoir.
Au bout de 60 secondes, le poèle se mettra, au moment de l'allumage, en défaut « AL DEPR » tandis que durant le fonctionnement normal le poèle se mettra en « ATTENTE REFROIDISSEMENT » pour ensuite redémarrer automatiquement quand les conditions seront données (poèle froid, etc.).


DURANT LE FONCTIONNEMENT, LA PORTE EXTÉRIEURE DOIT TOUJOURS RESTER FERMÉE!
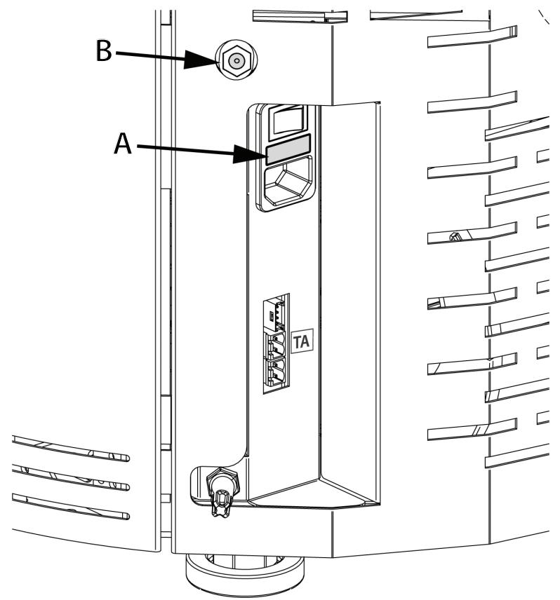
RÉARMEMENT DU THERMOSTAT À BULBE
La figure ci-après indique la position du thermostat de sécurité (B) du réservoir.
Il est vivement conseilé de contacter le technician agréé en cas de déclenchement de l'un des réarmements, pour en vérifier la cause.
FUSIBLE
En cas de défaut d'alimentation du poèle, il est recommandé de faire vérifier l'état du fusible (A) par un technicien habilité.

Les pellets sont fabriqués en soumettant à une pression très élevé la sciure, c'est-à-dire les déchets de bois pur (sans vernis), produits par les scieries, les menuiseries et autres activités liées à l'usinage et à la transformation du bois.
Ce type de combustible est absolument ecologique puisqu'il n'utilise aucune colle pour le compacter. En effet, la compacté des pellets dans le temps est garantie par une substance naturelle qui se trouve dans le bois : la lignine.
En plus d'être un combustible ecologique, puisqu'il exploite au maximum les résidus du bois, le pellet presente aussi des avantages techniques.
Alors que le bois possède un pouvoir calorifique de 4,4 kW/kg (avec 15% d'humidité, donc après 18 mois environ de séchage), celui du pellet est de 5 kW/kg.
La densité du pellet est de 650kg / m^3 et le contenu en eau représenté 8% de son poids. C'est pourquoi il n'est pas nécessaire de secher le pellet pour obtenir un rendement calorique suffisant.
Le granulé de bois utilisé devra être certifié de classe A1 selon la norme ISO 17225-2 (ENplus-A1, DIN Plus ou NF 444 de catégorie «NF Granulés Biocombustible Bois Qualité Haute Performance»).
UNI EN 303-5 avec les caractéristiques suivantes: teneur en eau ≤ 12% , teneur en cendres ≤ 0,5% et pouvoir calorifique inférieur >17MJ / kg (en cas de poèles).
Pour ses produits, le fabricant conseille toujours d'utiliser un granulé de 6 mm de diamètre.
STOCKAGE DU GRANULE
Pour garantir une combustion sans problèmes il faut que le granulé soit conservé dans un lieu non humide.
Ouvrir le couvercle du réservoir et charger le granulé à l'aide d'une écope.
Maintenir propre


L'UTILISATION DE PELLETS DE MAUVAISE QUALITE OU DE TOUT AUTRE MATERIEL ENDOMMAGE LES FONCTIONS DE VOITRE POÉLE ET PEUT ENTRAIÑER LA PERTE DE VALIDITE DE LA GARANTIE ET DÉGAGER LE FABRICANT DE Toute RESPONSABILITÉ.

NOUS RECOMMANDONS DE NE PAS POSER DIRECTEMENT LE SAC SUR LE POÉLE POUR REMPLIR LE RÉSEROVIR!
REEMPLIR TOUJOURS LE RÉSEROVOIR AVEC UNE PELLE. IL NE FAUT PAS FROTTER NI POSER DES POIDS SUR LE JOINT DU RÉSEROVOIR. IL FAUT TOUJOURS MAINTENIR LA SURFACE D'APPUI DU JOINT DU COUVERCLE DU RÉSEROVOIR BIEN PROPRE.
VÉRIFIER RÉGULIERÉMENT L'ÉTAT DU JOINT. EN CAS DE DÉTÉRIORATION, CONTACTER LE TECHNICIEN AGRÉE LE PLUS PROCHE.
MODULE URGENCE
Le poèle est équipé d'un module d'urgence qui permet la gestion de base du poèle en cas de panne ou de dysfonctionnement de l'ordinateur de poche.
Les fonctions pouvant etre gerees par la carte d'urgence sont :


| Bouton P1 | Allumage/ extinction poège |
| L1 :Voyant Bleu éteint : | Le poège est éteint. |
| L1 :Voyant Bleu allumé : | Le poège est en marche |
| L1 :Voyant Bleu clignotant : | Le poège est en état d'ALARME |
ORDINATEUR DE POCHE
CONFIGURATION
LA PROCÉDURE D'ENCODAGE DE L'ORDINATEUR DE POCHE :
- Couper l'alimentation du poèle.
- Appuyer simultanement sur les touches et OK jusqu'à l' apparition de la page-écran de seLECTION de l'UNITE.
- Par le biais des touches et seLECTIONner la nouvelle UNITE.
- Alimenter le poèle. Dans les 10 secondes (Sur le module d'urgence levoyant clignote) confirmer l'unité可以选择 en appuyant sur la touche OK sur l'ordinateur de poche.
- Pour confirmer la configuration, levoyant du module d'urgence resté allumé pendant 5 secondes.
- Si la configuration ne s'est pas déroulée avec succès, l'écran affichera « ». Dans ce cas-là, répéter la procédure.

L'ORDINATEUR DE POCHE EST DEJA CONFIGURE AVEC « UNITÉ 0 ». SI UN AUTRE POÉLE EST PRÉSENT, POUR ÉVITER Toute INTERFÉRENCE, IL FAUT EFFECTUER UNE NOUVÉLLE CONFIGURATION ET MODIFIER UN DES DEUX POÉLES.

CERTAINS APPAREILS À RADIOFRÉQUENCY (EX. PORTABLES, ETC.) POURRAIENT INTERFÉRER AVEC LA COMMUNICATION ENTRE L'ORDINATEUR DE POCHE ET LE POÉLE.
ÉTALONNAGE DE LA SONDE AMBIANTE DE L'ORDINATEUR DE POCHE
Ce mode permet de régler la température ambiente mesuree par l'ordinateur de poche (uniquement avec ventilation activée). Pour un étalonnage correct, il est conseilé de placer l'ordinateur de poche dans une piece à température constante et d'attendre au moins deux heures.
La procEDURE d'etalonnage est la suivante :
Acceder au menu, et aller sur « MENU TECHNIQUE »
Saisir la clé d'accès « F4 », - « ADJ SONDE TELEC »
A l'aide des touches ou régler l'éthalonnage ambient souhaité.
Enregistrer et quitter à l'aide de la touche
TYPE ET REMPLACEMENT DES PILES
Pour insérer/remplacer les piles il suffit d'enlever le couvercle de protection des piles derrière l'ordinateur de poche (figure 1). Insérer les piles en respectant les symboles imprimés sur l'ordinateur et sur la pile.
3 piles AAA sont nécessaires au fonctionnement.

(figure 1)

Respecter l'environnement!
Les piles usages contiennent des métaux nocifs pour l'environnement, elles doivent donc être éliminées séparément dans des conteneurs prévus à cet effet.
CHARACTERISTIQUES DE L'ORDINATEUR DE POCHE
l'ordinateur de poche est équipé d'un afficheur LCD rétroéclairé. Le rétroéclairage dure 5 secondes. L'afficheur s'éteint au bout d'un certain temps pour réduire la consommation des piles (modalité sleep).
Il se rallume après avoir appuyé sur la touche ON/OFF (6).
ATTENTION!
Ne pasmettre l'ordinateur de poche en contact direct ou indirect avec I'eau. L'ordinateur de poche pourrait ne pas fonctionner correctement en presence d'humidite ou s'il est exposé à I'eau.


| 1. | ÉCRAN |
| 2. | SET PUISSANCE/ parcourir les menus/ augmenter - Sélectionner une configuration |
| 3. | SET THERMOSTAT ambient/ parcourir les menus/ diminuier - déslectionner une configuration |
| 4. | Touche retour |
| 5. | Touche d'accès au MENU et CONFIRMATION |
| 6. | On/off poèle ou rétablissement depuis la modalité sleep. |
| 7. | Entrée)cable série |
| 8. | Logement des piles |
| BANDES DE FREQUENCY | PUISSANCE MAXIMALE TRANSMISE |
| 868,3 MHz | 4 mW ERP |
| 869,85 MHz | 4 mW ERP |
ECRAN

AFFICHEUR EN COURS DE FONCTIONNEMENT

Tangentiel actif en mode COMFORT

PAGE-ÉCRAN AVEC THERMOSTAT EXTERNE BRANCHÉ À LA BORNE « TA »
MENUGENÉRAL
| TOUCHE | FONCTION |
| Défilament des paramètres Modification des données de configuration | |
| Touchche allumage - arrêt |
| TOUCHE | FONCTION |
| ∑ | Touché précédent - quitter |
| OK | Touché d'accès au menu |

* RESERVE AU TECHNICIEN
MISES EN GARDE GENÉRALES
Conseils à suivre durant les premières mises en marche du produit: Au cours des premières heures de fonctionnement, des fumées et des odeurs peuvent être émises; elles sont dues au processus normal de « rodage thermique »
Au cours de ce processus, d'une durée variable en fonction du produit, il est recommandé de:
Bien aérer la piece
Enlever, si presents, les parties en faience ou en pierre de la partie supérieure du produit
Activer le produit à la puissance et température maximales
Éviter de rester longtemps dans la pierce
Ne pas toucher les surfaces du produit
Notes:
Le processus se termine au bout de quelques cycles de chauffage/rafraîchissement.
Pour la combustion, ne pas utiliser des éléments ou des substances différentes de celles indiquées dans le manuel.
Avant de procéder à l'allumage du produit, il faut effectuer les contrôles suivants:
S'il est prévu de brancher le produit à un circuit hydraulique, ce dernier doit être complèt et en état de marche, et respecter les indications figurant dans le manuel du produit et les normes en vigueur en la matière.
Le réservoir à pellet doit être complètement rempli
La chambre de combustion et le brasier doivent être propres
Verifier la fermetre hermétique de la porte du foyer, du tiroir à cendres et du réservoir à pellet (si présente en version hermétique); ces derniers doivent être fermés et sans aucun corps étranger au niveau des éléments et des joints d'étanchéité.
Vérifier que le cordon d'alimentation est correctement branché
L'interrupteur bipolaire (si present) doit etre mis sur « 1 »
CONFIGURATIONS POUR LE PREMIER ALLUMAGE
Après avoir branché le cordon d'alimentation à l'arrière du générateur,mettre l'interrupteur,tousjours placé à l'arrière, sur (I).
L'interrupteur placé sur l'arrière du générateur sert à alimenter la carte du générateur.
Le générateur reste eteint et le panneau affiche une premiere page-ecran avec le message OFF.
DATE-HEURE
Ce menu permet de régler l'heure et la date.
Pour le réglage: OK > RÉGLAGES > DATE-HEURE.
LANGUE
Ce menu permet de régler la langue préférée.
Pour le réglage: OK > RÉGLAGES > LANGERE.
Les langues disponibles sont : Italien - Anglais - Allemand - Francais - Espagnol - Portugais - Danois - Estonien - Croatia - Slovène - Hollandais - Polonais.
DEGREES
Ce menu permet de sélectionner l'unité de mesure souhaitée.
Pour le réglage: OK > RÉGLAGES > DEGRÉS

NE JAMAIS UTILISER AUCUN LIQUIDE INFLAMMABLE POUR L'ALLUMAGE!
AU COURS DU REMPLISSAGE, NE PAS PLACER LE SAC DE PELLET CONTRE LE POÉLE BOUILLANT!
EN CAS DE PROBLEMES D'ALLUMAGE REPÉTÉS, CONTACTER UN TECHNICIEN AUTORISE.

ALLUMAGE RATÉ
LE PREMIER ALLUMAGE POURRAIT NE PAS FONCTIONNER ÉTANT DONNÉ QUE LA VIS SANS FIN EST VIDE ET N'ARRIVE PAST TOUJOURS À CHARGER À TEMPS LE BRASERO AVEC LA QUANTITÉ NÉCESSAIRE DE PELLETS POUR LE DEMARRAGE RÉGULIER DE LA FLAMME.
SI LE PROBLÈME NE SE PRODUIT QU'APRès QUELQUES MOIS DE FONCTIONNEMENT, VÉRIFIER QUE LES OPÉRATIONS DE NETTOYAGE ORDINAIRES, FIGURANT DANS LE MANUEL DU POÉLE, AIENT ÉTÉ CORRECTEMENT RÉALISÉES

IL EST INTERDIT D'UTILISER L'APPAREIL SANS : LE SEPARATEUR (A) ET LA PLAQUE FOYERE (B).
LE RETRAIT NUIT À LA SECURITE DU PRODUIT ET ENTRAîNE L'ANNULATION IMMÉDIATE DE LA PÉRIODE DE GARANTIE.
EN CAS D'USURE OU DE DÉTERIORATION, DEMANDER AU SERVICE D'ASSISTANCE DE REMPLACER LA PIECE
(REMPLACEMENT NON COUVERT PAR LA GARANTIE DU PRODUIT CAR IL S'AGIT D'UNE PIECE SUJETTE À USURE).

FONCTIONNEMENT ET LOGIQUE
ALLUMAGE
Après avoir vérifié les points précédemment enumerated, appuyer sur la touche pendant trois secondes pour allumer le poèle. Pour la phase d'allumage, 15 minutes sont à disposition pour vérifier la présence de la flamme. Quand la température de contrôle est atteinte, le poèle interrupt la phase d'allumage et passé en PREPARATION.
DEMARRAGE
Durant la phase de démarrage, le poèle se stabilise en augmentant progressivement la combustion, pour démarrer ensuite la ventilation, et passer en TRAVAIL
TRAVAIL
Au cours de la phase de travail, le poèle atteint le SET PUISSANCE définir par l'utilisateur, etCHAFFE la piece jusqu'à l'atteinte du SET THERMOSTAT.Voir la rubrique suivante.
Le SET thermostat ambient peut etre regle a l'aide des boutons 2 et 3, sur LOW-TA - 7^ - 37^ - HOT. Si la valeur est comprise entre 7 - 37^ le poèle controle la tempereature ambiente a travers une sonde integree dans I'ordinateur de poche. Apre's avoiratteint la temporature configueree, le poèle reduit automatiquement la puissance pour garantir un comfort optimal et reduire la consommation de pellet : ce processus s'appelee « modulation ».
LOW-TA-HOT
Si le SET THERMOSTAT est « LOW-TA » (set sous le seuil des 7^ ) le contrôle de température est confié au contact thermostat supplémentaire, ignorant donc la sonde de température intégrée dans l'ordinateur de poche.
Si le contact est ouvert (satisfait), alors le poèle se met au minimum.
Si le contact est fermé (demande), alors le poèle fonctionne toujours à la puissance configurée.
Si la configuration est sur « HOT » (set supérieur à 37^ ) le poèle fonctionne tout le temps et uniquement à la puissance configurée, ignorantant donc le contact externe et la sonde de température.
RéGLAGE RÉGLAGE PUISSANCE
Le set puissance a 5 niveaux de fonctionnement, La pression sur la touche permet de voir la puissance définie, modifiable à l'aide des touches ou .
Puisance 1 = nivau minimal - Puisance 5 = nivau maximal.
La confirmation de la modification s'effectue en appuyant sur la touche OK .
SOUFFLAGE AUTO
Au cours de la phase de travail et à intervalles réguliers, le poèle effectue un nettoyage du brasier appelé « SOUFFLAGE AUTO »
L'activation de cette fonction est visualisée sur l'afficheur avec le message correspondant. Durant le « SOUFFLAGE AUTO», le chargement du pellet est ralenti et le moteur des fumées est accéléré.
A la fin de la phase de nettoyage, le poèle se remet en mode travail aux conditions de fonctionnement normales.
ARRÉT
Appuyer sur la touche pendant trois secondes.
Après avoir effectué cette opération, l'appareil entre automatiquement en phase d'arrêt et bloque le chargement du pellet.
Le moteur d'aspiration des fumées et le moteur de la ventilation de l'air chaud resteront allumés tant que la température du poèle ne descend pas en-deçà du seuil de sécurité.
RALLUMAGE
Le rallumage du poèle est possible uniquement si la tempéature des fumées est inférieure à un seuil prédéfini et si un temps minimum de sécurité s'est écoulé.
AIR AMBIANCE
Ce menu permet de définir la vitesse du moteur de ventilation frontale.
Plage: (COMFORT, AUTO).
En seLECTIONnant le mode « comfort», la vitesse de l'air ambiance se met à une vitesse réduite.
Pour garantir l'efficacité de combustion, l'air ambiance est exclu quand le produit est à la puissance minimale.
Pour le réglage: OK >AIR AMBIANCE>SET
EASY SETUP
Le poids volumétrique du pellet est le rapport entre le poids et le volume du pellet. Ce rapport peut changer tout en conservant la qualité du pellet. La fonction EASY SETUP permet de varier le réglage du poids volumétrique en augmentant ou diminuant les valeurs prédéfinies. Dans le programme du poèle, les valeurs disponibles sont de « -3 » à « +3 »; tous les poèles sont régés en usine à la valeur optimale de 0
En présence d'un dépôt excessif sur le brasier, entrer dans le programme EASY SETUP et diminuier la valeur d'une unité à « - 1 »; attendre ensuite le jour suivant et, en l'absence d'amélioration, diminuier une nouvelle fois jusqu'à un maximum de « - 3 ». En cas de besoin d'augmenter le réglage du poids volumétrique du pellet, passer de la valeur par défaut « 0 » à « + 1, + 2, + 3 » en fonction du besoin.
Pour le réglage: OK > EASY SETUP
| DéPÔT EXCESSIF DE PELLETS DANS LE BRASIER | FONCTIONNEMENT NORMAL | PEU DE DéPÔT DE PELLETS DANS LE BRASIER | ||||
| -3 | -2 | -1 | 0 | +1 | +2 | +3 |
| TROISIÈME PLAGE DE DIMINUTION SI LES PREMIÈRES NE SONT PAS SUFFISANTES | DEUXIÈME PLAGE DE DIMINUTION SI LA PREMIÈRE N'EST PAS SUFFISANTE | PREMIÈRE PLAGE DE DIMINUTION (TESTER 1 JOUR) | VALEUR OPTIMALE PAR D'AUT | PREMIÈRE PLAGE D'AUGMENTA-TION | DEUXIÈME PLAGE D'AUGMENTA-TION SI LA PRE-MIÈRE N'EST PAS SUFFISANTE | TROISIÈME PLAGE D'AUG-MENTATION SI LES DEUX PRE-MIÈRES NE SONT PAS SUFFISANTES |
N.B.: Si ces réglages ne résolvent pas les dépôts de pellet présents dans le brasero, contacter le centre d'assistance le plus proche.
CHRONO
Cette fonction permet de programmer I'llumage et I'arrêt du poèle automatiquement.
Le CHRONO est par défaut désactivé.
Le chrono permet de programmer 4 créèaux heures par jour, à utiliser pour tous les jours de la semaine. Dans chaque créneau horsé, il est possible de configurer l'heure d'allumage et d'arrêt, les jours d'utilisation du créneau horsaire programmes, la température souhaitée et le set puissance. Le réglage du jour et de l'heure actuelle est fondamental pour le fonctionnement correct du chrono.
Recommendations
Avant d'utiliser la fonction chrono, il est nécessaire de définir le jour et l'heure actuelle; vérifier par conséquent d'avoir suivi les points énumérés dans le sous-chapitre « DATE-HEURE ». Pour que la fonction chrono fonctionne correctement, il faut, en plus de la programme, l'activer. Les 4 créèaux heures peuvent être superposés par l'internériaire des heures d'allumage et d'extinction. Ceci permet d'obtenir une association d'horaires pendant lesquels il est possible de définir plusieurs températures et puissances sans influencer l'état de travail du poèle.
N.B : en cas de presence de créèaux superposés, le produit reste allumé jusqu'à l'heure d'extinction la plus tardive.
HABILITATION
Il permet d'activer/désactiver le chrono et les différents créèaux horaires du poèle.
Pour le réglage: OK > CHRONO > HABILITATION.
PRG. 1-4
Prg x permet de définir l'heure d'allumage et d'arrêt, les jours d'utilisation du créneau hora programme et la température (LOW-TA - 07 - 37 °C - HOT) et aussi la puissance souhaitation. Le réglage du jour et de l'heure actuelle est fondamental pour le fonctionnement correct du chrono.
Pour le réglage: OK > CHRONO > PRGX


QUAND LE PROGRAMMATEUR HEBDOMADAIRE EST ACTIVÉ, L'ÉCRAN DE LA RADIOCOMMANDE AFFICHERA L'ICOINE CORRESPONDANTE CI-CONTRE.

EXEMPLE CHRONO HORAIRES/CRÉNEAUX SUPERPOSES

Créneau hora

Puissance

Réglage température
| Créneau hora 1 | start 02:00 stop 23:00 | puissance 3 - set temp 22°C | |
| Créneau hora 2 | start 08:00 stop 16:30 | puissance 1 - set temp 18°C | |
| fonctionnement poège | |||
RéGLAGES
DATE-HEURE
LANGUE
SET DEGRES
VOIR CHAPITRE: CONFIGURATIONS PREMIER ALLUMAGE.
AFFICHEUR
Le menu « AFFICHEUR » permet de :

Régler le contraste de l'ECRAN
Activer/désactiver le rétroéclairage.
Activer/désactiver la signalisation acoustique.
STAND-BY
Regler le minuteur de l'extinction du rétroéclairage de l'Ecran.
RESET
Régler le minuteur de l'extinction de l'Ecran (modalité sleep).
Pour le réglage: OK > RÉGLAGES > ECRAN.

STAND-BY
La fonction STAND-BY peut être utilisé pour un arrêt immédiat du poèle au lieu d'une modulation de la puissance.
Pour le réglage: OK > RÉGLAGES > STAND-BY.
FONCTION STAND BY RÉGLEE SUR ON
Si la fonction STAND BY est activée (ON), et que la température ambiente dépasse la valeur du SET THERMOSTAT + DELTA T OFF, le poèle se met alors en mode arrêt après un retard prédéfini par défaut, et affiche STAND BY.
Quand la température ambiente est inférieure à SET THERMOSTAT - DELTA T ON et après un évientuel temps de refroidissement, le poèle se rallume.
FONCTION STAND BY RÉGLEE SUR OFF (REGLAGE PAR DÉFAUT)
Si la fonction STAND BY n'est pas activée (OFF) et que le poèle dépasse la température ambiente définie, il se met au minimum, module et affiche MODUL. Quand la température ambiente est inférieure au SET THERMOSTAT le poèle se remet à fonctionner à la puissance configurée et affiche TRAVAIL.
Si la fonction STAND BY n'est pas activée (OFF) et que le poèle dépasse la température ambiente définie sur le thermostat supplémentaire (contact ouvert), il se met au minimum et affiche MODUL. Quand la température ambiente est inférieure au set défini sur le thermostat supplémentaire (contact fermé), le poèle reconnexe à fonctionner à la puissance définie et affiche TRAVAIL.
FONCTION STAND BY RÉGLEE SUR ON
Quand la fonction STAND BY est activée (ON), à l'obtention de la température ambiente configurée sur le thermostat supplémentaire (contact ouvert) il se mettra en condition d'arrêt après un retard par défaut, et affichera STAND BY.
Quand la température ambiente sera inférieure au set défini sur le thermostat supplémentaire (contact fermé) et après un évientuel temps de refroidissement, le poèle se rallumera.

POUR UN FONCTIONNEMENT CORRECT REGLER SET THERMOSTAT SUR LOW-TA. > VOIR CHAPITRE INSTALLATION THERMOSTAT SUPPLEMENTaire
DELTA T
Cette fonction permet le réglage des seuils d'hystérisis pour l'allumage (DELTA T ON) et l'arrêt (DELTA T OFF), utilisés pour générer l'intervalle de réglage s'il n'est pas géré par un thermostat externe.
Les valeurs possibles pour les DELTA T variant de 0.5 à 5^
Pour le réglage: OK > RÉGLAGES > DELTA-T
CHARGE INITIALE
Cette fonction permet d'activer le motoréducteur de chargement du pellet pour un fonctionnement en continu. Avant d'activer la fonction, vérifier que le poèle est froid et sur « OFF »
Pour le réglage: OK > RÉGLAGES > CHARGE INITIALE
Pour interrompre le chargement en continu, il suffit d'appuyer sur la touche 6 pendant 2".
ACCÉS RAPIDE :
Avant d'activer la fonction, vérifier que le poèle est froid et sur « OFF »
Appuyer simultanément sur les touches 6 + 4 pendant deux secondes jusqu'à l'affichage du message « CHARGE INITIALE »
Pour interrompre le chargement en continu, il suffit d'appuyer sur la touche 6 pendant 2"
RéINITIALISER
Permet de rétablit toutes les valeurs modifiables par l'utilisateur aux valeurs d'usine.
Pour le réglage: OK > RÉGLAGES > EFFACER.
EASY CONTROL
La fonction permet deCHOISIR parmi deux valeurs :
OFF (désacté - par défaut)
ON (activé)
L'activation (EASY CONTROL = ON) est conseilé en cas de formation excessive de résidus de combustion et en cas de phénomènes de condensation dans le conduit de fumée durant le fonctionnement à des puissances réduites (voir chapitre CONDUIT DE FUMÉE).
Attention! L'activation de la fonction EASY CONTROL est conseillée sur supervision d'un technician qualifié.
Pour le réglage: OK > RÉGLAGES > EASY CONTROL.
AVERTISS. DEPR
Permet d'activer le signal pour l'avertissement sonore si la porte ou le réservoir est ouvert.
Nota bene: L'activation peut réduire de 30% la durée des piles.
La durée des piles dépend de l'utilisation
Pour le réglage: OK > RÉGLAGES > AVERTISS. DEPR.
FONCTIONS SUPPLEMENTAIRES
INSTALLATION DU THERMOSTAT SUPPLEMENTaire (EN OPTION)
L'appareil a la possibilité de contrôler la température ambiente à travers un thermostat supplémentaire (en option).
Après l'allumage (en appuyant sur la touche 1 ou à travers la modalité chrono) le poèle fonctionnera pour atteindre le set configuré dans le thermostat et affichera TRAVAIL (contact fermé). La sonde ambiente de série est automatiquement ignorée.
Une fois la température atteinte par le thermostat (contact ouvert), le poèle se met au minimum et affiche MODUL.
PROCEDURE DE COMMANDE
Un thermostat mécanique ou digital, avec type d'entrée « normalement ouvert», est nécessaire.
Retirer la fiche de la prise de courant correspondante.
- En se référant à la figure ci-contre, brancher les deux câbles du thermostat (contact propre - non 230 V!).
Redonner la tension au poèle.
Appuyer sur la touche 3 jusqu'à configurer le SET THERMOSTAT sur LOW-TA.

REMARQUE: LA PINCE EST FOURNIE DANS LE SAC À L'INTÉRIEUR DU POÉLE.

L'INSTALLATION DOIT ETRE EFFECTUEE PAR UN PERSONNEL QUALIFIÉ ET/OU UNE ASSISTANCE TECHNIQUE DU FABRICANT
ARRET RETARDE
L'appareil a la possibilité de retarder l'extinction en programmant un retard. Par exemple, s'il est 20h et que l'arrêt retardé est configuré à 1h, alors à 21h le poèle s'éteint automatiquement.
En appuyant longuement sur les touches 6 + 2 , il est possible d'acceder à la page-écran « ARRET RETARDE » (ce réglage est disponible uniquement si la machine est en mode DEMARRAGE ou TRAVAIL).
Les touches 2 et 3 permettent d'augmenter/ réduire le nombre d'heures après lesquelles le poèle se met en mode nettoyage final tout seul. Les heures possibles varient de OFF, 1 à 9.
La touche P6 permet de confirmer et de revenir à la page d'accueil.
Le temps de travail restant est indiqué 1h avant l'extinction programmée, et affiche toutes les minutes « arrêt dans » et valeur « HEURES XX:XX »
POUR CONNAÎTRE LE CENTRE D'ASSISTANCE LE PLUS PROCHE, CONTACTER LE REVENDEUR OU CONSULTER LE SITE : WWW.LANORDICA-EXTRAFLAME.COM
NETTOYAGE ET ENTRETIEN
TOUJOURS SUIVRE LES INDICATIONS AVEC LE MAXIMUM DE SECURITE!
S'ASSURER QUE LA FICHE DUCORDON D'ALIMENTATION SOIT ENLEVEE CAR LE GENÉRATEUR POURRAIT AVOIR ÉTÉ PROGRAMMÉ POUR S'ALLUMER.
- QUE LE GÉNÉRATEUR EST ENTIÈREMENT FROID.
- LES CENDRES SONT COMPLÉTEMENT FROIDES.
DURANT LES OPÉRATIONS DE NETTOYAGE DU PRODUIT GARANTIR UN RENOUVELLEMENT EFFICACE DE L'AIR DE LA PIECE.
UN NETTOYAGE INSUFFISANT COMPROMET LE BON FONCTIONNEMENT ET LA SECURITE!
ENTRETIEN
Pour un fonctionnement correct, le générateur doit être soumis à un entretien ordinaire effectué par un technicien autorisé, au moins une fois par an.
Les opérations périodiques de contrôle et les entretiens doivent toujours être réalisés par des techniciens spécialisés etabilités qui agissant conformément aux normes en vigueur et aux indications générées dans ce mode d'emploi et d'entretien.

FAIRE NETTOYER CHAQUE ANNÉE LE CIRCUIT D'ÉVACUATION DES FUMÉES, LES CANAUX DE FUMÉE, Y COMPRIS LES RACCORDS EN « T», ET LES CACHES D'INSPECTION - LES COURBES ET LES ÉVENTUELES SECTIONS HORIZTALES SI PRÉSENTES!
LA FREQUENCY DE NETTOYAGE DU GÉNÉRATEUR ST INDICATIVE! ELLE DÉPEND DE LA QUALITÉ DU PELLET UTILISÉ ET DE LA FREQUENCY D'UTILISATION.
IL EST POSSIBLE QUE CES OPÉRATIONS DOIVENT ÉTRE RÉALISÉES PLUS FREQUÉMMENT
NETTOYAGE PÉRIODIQUE À LA CHARGE DE L'UTILISATEUR
Les opérations de nettoyage périodique, comme indiqué dans ce manuel d'utilisation et d'entretien, doivent être réalisées avec le plus grand soin, après avoir lu les indications, les procédures et les fréquences décrites dans ce manuel d'utilisation et d'entretien.
NETTOYAGE DES SURFACES ET DU REVÊTEMENT
Ne jamais utiliser de nettoyants abrasifs ou chimiquement agressifs pour le nettoyage!
Le nettoyage des surfaces doit se faire avec le générateur et le revêtement complètement froid. Pour l'entretien des surfaces et des parties métalliques, il suffit d'utiliser un chiffon humidifié avec de l'eau ou avec de l'eau et du savon neutre.
Le non-respect des indications peut abimer les surfaces du générateur et entrainer l'annulation de la garantie.
NETTOYAGE DE LA VITRE CERAMIQUE
Ne jamais utiliser de nettoyants abrasifs ou chimiquement agressifs pour le nettoyage!
Le nettoyage de la vitre vitrocéramique doit se faire lorsqu'elle est complètement froide.
Pour nettoyer le verre vitrocéramique, il suffit d'utiliser un pinceau sec et du papier (journal) humidifié et passé dans la cendra. Si la vitre est très sale, utiliser exclusivement un nettoyant spécifique pour vitres céramiques. Pulvériser une petite quantité sur un chiffon et l'utiliser sur la vitre vitrocéramique. Ne pas pulverifier le nettoyant ou tout autre liquide directement sur la vitre ou sur les joints!
Le non-respect des indications peut abimer les surfaces de la vitre céramique et entrainer l'annulation de la garantie.
NETTOYAGE DU RÉSERVOIR À PELLET
Quand le réservoir se vide complètement, débrancher le cordon d'alimentation du générateur et, avant de procéder à son replissage, enlever d'abord les résidus (poussière, copeaux, etc.) du réservoir vide.

LES JOINTS DU RÉSERVOIR À PELLET, BRASIER, VITRE DU FOYER GARANTISSENT LE FONCTIONNEMENT CORRECT DU POÉLE. CES ÉLÉMENTS DOIVENT ÉTRE RÉGULIERÉMENT CONTROLÉS PAR L'UTILISATEUR : EN CAS D'USURE OU DE DOMMAGES, IL FAUDRA LES REMPLACER IMMEDIATIMENT.
CES OPÉRATIONS DEVONT ÉTRE RÉALISÉES PAR UN TECHNIÇIEN AUTORISE.

SI LE CORDON D'ALIMENTATION EST ENDOMMAGE, IL DOIT ETRE REMPLACÉ PAR LE SERVICE D'ASSISTANCE TECHNIQUE OU DANS TOUS LES CAS PAR UNE PERSONNE POSSÉDANT UNE QUALIFICATION ÉQUIVALENTE, DE SORTE À EVITER TOUT RISQUE.
BRASIER ET CHAMBRE DE COMBUSTION :
Aspirer les résidus présents dans le brasier
Oter complètement le brasilien de son logement;
Aspirer la cende du logement du brasier, du culot de la bougie et de la chambre de combustion.
Libérer tous les trouss du brasier avec le pique-feu fourni.
Remetre le brasier dans son emplacement et le pousser vers la paroi du foyer.
REMARQUE: Utiliser un aspirateur à cendres ajustat avec un recipient spécial de séparation des cendres aspirées.

TIROIR A CENDRES :
Enlever le tiroir à cendres et le vider dans un récipient prévu à cet effet.


UN BRASIER PROPRE GARANTIT UN FONCTIONNEMENT CORRECT!
LE FAIT DE MAINTENIR LE BRASIER ET SES ORIFICES TOUJOURS BIEN PROPRES, SANS RÉSIDUS DE COMBUSTION, GARANTIT AU GÉNÉRATEUR UNE BONNE COMBUSTION AU FIL DU TEMPS, ET ÉVITE LES ÉVENTUELS DYSFONCTIONNEMENTS QUI POURRAIENT EXIGER L'INTERVENTION DU TECHNIÇIEN.
IL EST POSSIBLE D'UTILISER LA FONCTION DANS LE MENU UTILISATEUR « EASY SETUP » POUR ADAPTER LA COMBUSTION AUX EXIGENCES DÉCRITES.

| PIÉCES/FRÉQUENCY | TOUS LES JOURS | TOUS LES 3 JOURS | TOUS LES ANS |
| BRASIER (UTILISATEUR) | X | ||
| CHAMBRE DE COMBUSTION (UTILISATEUR) | X | ||
| TIROIR À CENDRES (UTILISATEUR) | X | ||
| ÉCHANGEUR THERMIQUE ET COMPARTIMENT D'INSPECTION (TECHNIQUE) | X | ||
| RACCORD EN « T »/ CONDUIT DE FUMÉE (TECHNICIEN) | X |
Pour une journée, nous entendons une utilisation moyenne de 8h à puissance nominale.
La fréquence de nettoyage du tiroir à cendres dépend de plusieurs facteurs : type de pellet, puissance du poèle, utilisation du poèle et type d'installation.
POUR CONNAÎTRE LE CENTRE D'ASSISTANCE LE PLUS PROCHE, CONTACTER LE REVENDEUR OU CONSULTER LE SITE :
WWW.LANORDICA-EXTRAFLAME.COM
ENTRETIEN ORDINAIRE EFFECTUÉ PAR LES TECHNICIENS AUTORISÉS
L'entretien ordinaire doit etre effectue au moins une fois par an.
Etant donné que le générateur utilise le pellet comme combustible solide, il requiert une intervention annuelle d'entretien ordinaire qui doit etre effectue par un Technicien habilité, en utilisant uniquement des pieces de rechange d'origine.
Le non-respect peut compromètre la sécurité de l'appareil et peut entrainer l'annulation des conditions de garantie.
Le respect de la fréquence de nettoyage réservé à l'utilisateur décrites dans le manuel d'utilisation et d'entretien, garantit au générateur une combustion correcte au fil du temps, et d'éviter les événuelles anomalies et/ou dysfonctionnements qui pourrait requérir des interventions du technicien. Les demandes d'intervention d'entretien ordinaire ne sont pas comprises dans la garantie du produit.
JOINTS: COUVERCLE RÉSEROIR PELLET, PORTE, TIROIR CENDRES ET BRASIER
Les joints garantissent l'étanchéité du poèle et par conséquent son bon fonctionnement.
Ces éléments doivent'être régulierement contrôlés : en cas d'usure ou de dommages, il faudra les replacer immédiatement.
Ces opérations devront être réalisées par un technicien autorisé.
NETTOYAGE DU COLLECTEUR DE FUMÉES
Le nettoyage du collecteur de fumées doit être effectuee tous les 2 mois ou au besoin et a la fin de la saison.
RACCORDEMENTÀLA CHEMINÉE
Tous les ans, ou à chaque fois que cela s'avere nécessaire, aspirer et nettoyer le conduit qui mène à la cheminée. En présence de tronçons horizontally, il faut enlever les résidus avant qu'ils n'obstruent pas le passage des fumées.
MISE HORS SERVICE (FIN DE SAISON)
À la fin de chaque saison, il est conseilé de vider totally le réserveir de pellet avant d'eteindre le poele et d'aspirer les éventuels résidus de pellet et la poussière à l'intérieur.
Il est également conseilé de débrancher le générateur du réseau électrique et, pour plus de sécurité,URTout en presence d'enfants, d'enlever le cordon d'alimentation.
L'entretien ordinaire doit etre effectue au moins une fois par an.

NETTOYAGE ÉCHANGEUR THERMIQUE ET COMPARTIMENT INSPECTION :


POUR CONNAIRE THE CENTRE D'ASSISTANCE LE PLUS PROCHE, CONTACTER LE REVENDEUR OU CONSULTER LE SITE : WWW.LANORDICA-EXTRAFLAME.COM
LES IMAGES SONT DONNÉES À TITRE D'EXEMPLÉ.



A Moteur des fumées (démontage et nettoyage du conduit de fumée et des raccords en « T »).
B Joints, reservoir pellet, inspections, tiroir a cendres et porte (replacer et appliquer le silicone aux endroits prevus)
Chambre de combustion et échangeur (nettoyage total) y compris le nettoyage du culot de la bougie
D Réservoir (vidage complet et nettoyage) et vérification du joint.
E Vérification du conduit d'aspiration de l'air et vérification/nettoyage du pressostat mécanique.
F Démontage du ventilateur d'air ambient et élimination de la poussière et des résidus de pellet.
G Démontage du tube du pressostat et nettoyage du raccord de tuyau
| AFFICHAGES | |
| ÉCRAN | CAUSE |
| OFF | Générateur éteint |
| START | La phase de start est en cours |
| PRECHARGE PELLET | Le chargement continu du pellet est en cours durant l'allumage |
| ALLUMAGE | La phase dédiée à l'allumage est en cours |
| PRÉPARATION | La phase de préparation est en cours |
| TRAVAIL | La phase de fonctionnement normal est en cours |
| MODUL. | Le générateur fonctionne au minimum |
| NETTOYAGE FINAL | Le nettoyage final est en cours |
| STAND-BY | Générateur étant à cause du thermostat, en attente de se rallumer. |
| ATTENTE REFROIDISSEMENT | Un nouvel allumage est tenté quand le poèle vient d'être étant. Quand le générateur effectue un arrêt, il est nécessaire d'attendre l'arrêt total du moteur des fumées puis d'effectuer le nettoyage du brasier. C'est seulement après avoir réalisés ces opérations qu'il sera possible de rallumer le générateur. |
| ATTENTE BLACK OUT | Le générateur est en cours de refroidissement après une coupure de courant. Àpres la phase de refroidissement, il se rallumera automatiquement |
| SOUFFLAGE AUTO | Le soufflage automatique est activé |
| FERMER RESERVOIR-PORTE | Cet avertissement indique que 60 secondes sont à disposition pour fermer la porte, le couvercle du réservoir à pellet et le tiroir à cendres. Au bout des 60 secondes, le poèle, au cours de la phase d'allumage, déclenchera une alarme « AL DEPR » alors qu'en fonctionnement normal, le poèle se mettra en « ATTENTE REFROIDISSEMENT » pour ensuite "redémarrer automatiquement quand le conditions sont prsentes (poèle froid, etc.). |
| ALARMES | ||
| ECRAN | EXPLICATION | SOLUTION |
| Indique la présence d'une alarme. | Allumée : indique la présence d'une alarme L'alarme peut être réinitialisée uniquement si le moteur des fumées s'est arrêté et 15 minutes après l'affchage de l'alarme elle-même en appuyant sur la touche 1 pendant 3 secondes. | |
| EXTRACTEUR EN PANNE | Panne moteur des fumées | Contacter le centre d'assistance |
| SONDE FUMÉES | Panne de la sonde fumées. | Contacter le centre d'assistance |
| FUMÉES CHAUES | Température des fumées élevée | Contrôler le chargement du pellet (voir « EASY SETUP ») ; si le problème ne se résout pas, contacter un technician agrêté. |
| ALLUMAGE RATÉ | Le réservoir à pellet est vide. Réglage inadéquat du chargement pellet. Bulbes thermostatiques déclenchés. | Vérifier la présence ou non de pellets dans le réservoir. Régler l'afflux de pellet (voir « EASY SETUP »). Vérifier les procédures décrites dans le chapitre « ALLUMAGE ». Vérifier les thermostats à sondes (voir chapitre Réarmements) |
| ABSENCE FLAMME | Le réservoir à pellet est vide. Chargement insuffisant de pellet. Le motoréducteur ne charge pas le pellet. | Vérifier la présence ou non de pellets dans le réservoir. Régler l'afflux de pellet (voir « EASY SETUP »). |
| AL DEPR | La porte n'est pas correctement fermée. Le tiroir à cendres n'est pas correctement fermé. La chambre de combustion est sale. Le conduit d'expulsion des fumées est obstrué/sale. Le canal de mesure de la dépression à l'intérieur du tiroir à cendres est bloqué. | Vérifier la fermeture hermétique de la porte. Vérifier la fermeture hermétique du tiroir à cendres. Vérifier la propriété du conduit des fumées et de la chambre de combustion. Vérifiez et nettoyez le tuyau et le tube du pressostat du tiroir à cendres. |
| ALLUMAGE RATE - BLACK OUT | Coupure de courant pendant la phase d'allumage. | Mettre le poèle sur off à l'aide de la touche 1 et repétier les procédures décrites dans le chapitre « ALLUMAGE ». Les opérations de réarmement devront être effectuées par un technicien agrêté. |
| ALARME COMMANDE VIS SANS FIN | Fonctionnement anomal chargedement pellet. | Contacter le centre d'assistance |
ÉLIMINATION
INFORMATIONS RELATIVES À LA GESTION DES DÉCHETS D'APPAREILS ÉLECTRIQUES ET ÉLECTRONIQUES CONTENANT DES PILES ET DES ACCUMULATEURS

Ce symbole presente sur le produit, sur les piles, sur les accumulateurs, sur l'emballage ou sur la documentation de reférence, indique que le produit et les piles ou les accumulateurs ne doivent pas être collectés, récapérés ou éliminés avec les déchets domestiques au terme de leur vie utile.
Une gestion impropre des déchets d'équipements électriques et électroniques, des piles ou des accumulateurs peut cause la libération de substances dangereuses contenues dans les produits. Pour éviter d'eventuelles atteintes à l'environnement ou à la santé, on invite l'utilisateur à séparer cet apparéil, et / ou les piles ou les accumulateurs, des autres types de déchets et de le confier au service municipal de collecte. On peut demander au distributeur de prélever le déchet d'appareil électrique ou électronique aux conditions et suivant les modalités prévues par les normes nationales de transposition de la Directive 2012/19/UE.
La collecte seleutive et le traitement correct des appareils electriques et electroniques, des piles et des accumulateurs, favorisent la conservation des ressources naturelles, le respect de l'environnement et assurent la protection de la santé.
Pour tout renseignement complémentaire sur les modalités de collecte des déchets d'appareils électriques et électroniques, des piles et des accumulateurs, il faut s'adresser aux Communes ou aux Autorités publiques compétentes pour la délivrance des autorisations.
Extraflame Riscaldamento a Pellet
Le fabricant se reserve le droit de modifier les caractéristiques et les données reportées dans ce manuel à tout moment et sans préavis, dans le but d'améliorer ses produits.
Notice Facile