CG 5060 4CM K VET - Cuisiniere gaz VALBERG - Notice d'utilisation et mode d'emploi gratuit
Retrouvez gratuitement la notice de l'appareil CG 5060 4CM K VET VALBERG au format PDF.
| Type d'appareil | Cuisinière tout gaz |
| Nombre de foyers | 4 |
| Type de gaz | Gaz naturel ou GPL |
| Four | Four à gaz |
| Allumage | Allumage électronique |
| Matériau de la surface | Acier inoxydable |
| Dimensions (L x P x H) | Non précisé |
| Puissance totale | Non précisé |
| Sécurité | Thermocouple de sécurité |
| Type de commandes | Manettes rotatives |
| Couleur | Non précisé |
| Poids | Non précisé |
| Consommation gaz | Non précisé |
| Normes | Conforme aux normes européennes |
| Accessoires inclus | Grilles et lèchefrites |
FOIRE AUX QUESTIONS - CG 5060 4CM K VET VALBERG
Questions des utilisateurs sur CG 5060 4CM K VET VALBERG
0 question sur cet appareil. Repondez a celles que vous connaissez ou posez la votre.
Poser une nouvelle question sur cet appareil
Téléchargez la notice de votre Cuisiniere gaz au format PDF gratuitement ! Retrouvez votre notice CG 5060 4CM K VET - VALBERG et reprennez votre appareil électronique en main. Sur cette page sont publiés tous les documents nécessaires à l'utilisation de votre appareil CG 5060 4CM K VET de la marque VALBERG.
MODE D'EMPLOI CG 5060 4CM K VET VALBERG
Merci d'avoir besoin ce produit HIGHONE.
Choisis, testés et recommends par ELECTRO DEPOT, les produits de la marque HIGHONE sont synonyms d'utilisation simple, de performances fiables et de qualité irréprochable.
Grâce à cet appariel, vous savez que chaque utilisation vous apportera satisfaction.
Bienvenue chez ELECTRO DEPOT.
Consultez notre site Internet: www.electrodepot.fr

ELECTRO DEPOT
A
Avant d'utiliser l'appareil
4 Consignes de sécurité
B
Aperçu de l'appareil
13 Description de l'appareil
14 Spécifications techniques
C
Utilisation de l'appareil
16 Préparation de l'installation
17 Positionnement de la cuisineire
18 Réglage des pieds
18 Raccordement au gaz - FR
20 Raccordement au gaz - BE
21 Changement de gaz
24 Avant la première utilisation de la plaque de cuisson
27 Utilisation des brûleurs
D
Informations pratiques
33 Entretien et nettoyage
35 Nettoyage des brûleurs à gaz
36 Autres contrôleurs
36 Astuces de dépannage
37 Informations relatives au transport
37 Conseils en matière d'économie d'énergie
Consignes de sécurité
Lisez attentivement la totalité de cette notice avant d'utiliser votre apparéil de cuisson et conservez-la afin de pouvoir la consulter en cas de besoin.
Cette notice est conçue pour plusieurs modèles. Notre apparéil de cuisson n'est peut-être pas équipé de toutes les caractéristiques décrites dans cette notice. Veuillez contrôle les caractéristiques dans les paragraphs responsant des images.
Consignes de sécurité générales
- La fabrication de votre apparéil de cuisson respecté toutes les normes et réglementations nationales et internationales en vigueur en la matière.
- Les travaux de maintenance et d'entretien doivent être effectuels exclusivement par des techniciens qualifiés.
Les travaux de réparation et d'entretien effectués par des personnes non qualifiées vous exposer à des dangers. Ne modifies pas les specifications de votre apparéil de cuisson de chaque manière que ce soit. N'effectuez pas les réparations par vous-même au risque de vous exposer à un danger d'électrocution.
-
Avant l'installation, assurez-vous que les conditions de distribution locale (selon votre apparéil : nature et pression du gaz, tension et fréquence de l'électricité) sont compatibles avec les caractéristiques indiquées sur la plaquesignaletique de votre apparéil de cuisson. En cas de dommage provoqué par un branchement incorrect ou une installation inadaptée, la garantie ne sera pas valide.
-
Pour les apparueils électriques : la sécurité électrique de votre apparéil de cuisson n'est garantie que s'il est branché à une alimentation électrique avec mise à la terre conforme aux normes de sécurité électrique en vigueur. Si vous n'étés pas sur de votre installation électrique et de la mise à la terre, faites appel à un électricien qualifié.

ATTENTION!
Votre appeareil de cuisson est conçu uniquely pour la cuisson des alimentés et il est prévu uniquely pour un usage domestique. Il ne doit absolument pas être utilisé à d'autres fins, par exemple dans un environnement commercial ou pour le chauffaged'une salle. La
responsabilité du fabricant ne saurait être engagée en cas de dommages liés à une utilisation inappropriée, incorrecte ou néligente.
- Cet apparéil de cuisson ne doit pas être utilisé par des enfants de moins de 8 ans ou par des personnes dont les capacities physiques, sensorielles ou mentales sont limitées ou manquant de l'expérience et des connaissances requises, les empêchant d'utiliser cet apparéil sans risque lorsqu'ils sont sans surveillance ou en l'absence d'instructions d'une personne responsable leur assurant une utilisation de l' apparéil sans danger, après unelication des risques auxquels ils s'exposent. Les enfants ne doivent pas jouer avec l' apparéil de cuisson. Les opérations de nettoyage
et d'entretien effectuees par des enfants doivent se faire sous la supervision d'une personne responsable.
- N'essayez pas de soulever ou de déplacer l'appareil de cuisson en tirant sur la poignée du four.
- Cet apparéil de cuisson n'est pas connecté à un dispositif d'évacuation des produits de la combustion. Il doit être installé et raccordé conformément aux règles d'installation en vigueur. Une attention particulière doit être accordée aux exigences concernant la ventilation.
- Si au bout de 15 secondes le brûleur gaz ne s'est pas allumé, fermez la manette du brûleur concerné, ouvre la porte de la cuisine et attende au moins une minute avant d'essayer de le rallumer à nouveau.
- Ces instructions ne sont valides que si le symbole du pays figure sur votre apparéil de cuisson. Si le symbole du pays ne figure pas sur
votre apparéil de cuisson, il importe de se référer aux instructions techniques fournissant les informations relatives aux conditions particulières d'utilisation.

MISE EN GARDE! L'appareil et ses parties accessibles peuvent devenir très chauds durant l'utilisation. Prenez garde à ne pas toucher les éléments chauffants. Les enfants de moins de 8 ans doivent être maintainus à l'écart sauf s'ils sont constamment sous surveillance.

AVERTISSEMENT!
Pendant l'utilisation, tous les éléments accessibles de votre apparéil de cuisson deviennent chauds et gardent pendant un certain temps leur température élevée, même quand l' apparéil est arrêté. Ne touchez pas les surfaces chaudes (manettes et poignée du four comprises) et empêchez les enfants de moins de 8 ans d'approcher l' apparéil de cuisson. Il est recommendé de laisser refroidir les parties directement exposés à la chaleur avant de les toucher.

AVERTISSEMENT!
Ne laissez pas votre apparéil de cuisson sans surveillance lorsque vous faites cuire des huiles ou des matières grasses liquides ou solides. Portées à très haut température, ces matières peuvent prendre feu et provoquer un incendie. N'essayez jamais d'éteindre avec de l'eau des flammes provenant d'huile en feu mais éteignez votre apparéil de cuisson et couvrez la casseroleoulapoèle avec un couvercle afin détouffer la flamme. Si vous avez une hotte, ne la mettez jamais en route sans surveillance quand vous faites chauffer
de l'huile. Nelaissez pas de matieres inflammables pres de votre apparéil de cuisson lorsqu'il fonctionne.
Les ustensiles de cuisine en plastique en font également partie (ainsi que les manches d'ustensiles).

MISE EN GARDE!
Risque d'incendie : Ne placez jamais d'objets sur la plaque de cuisson.

MISE EN GARDE!
Si la surface est fêlée, débranchez l'appareil de l'alimentation pour éviter tout risque de chocolélectrique.

AVERTISSEMENT!
Risque d'incendie :
Ne rangez pas d'objects sur les surfaces de cuisson et ne rangez notamment contenant pressurisé tel que des aérosols ou des matériaux inflammbles (objets en papier, en plastique et en tissu) dans le tiroir placé sous le four ou sous la plaque de cuisson.

AVERTISSEMENT!
Si vous appeareil de cuisson est equipoé d'un plan de cuisson en verre (vitre ou induction) et si la surface est fissurée, mettez les manettes sur « 0 » pour éviter un évientuel choc électrique. De même, si des fissures apparaissent sur les plaques, il est
impératif d'arrêtérimmediatementl'alimentationélectrique afinde prévenir touteelectrocution.
- Ne déposez pas d'objets métalliques, tels que des couteaux, fourchettes, cuillères et couvercles sur le plan de cuisson, car ils peuvent devenir chauds.
- Àprousutilisation,arrêtez la table de cuisson au moyen de ses commandes;ne comptez pas sur le détecteur de casseroles.
- Enlevez du couvercle tout résidu de débordement avant de l'ouvrir. Si vous appareil de cuisson est équipé d'un couvercle, ce couvercle doit être soulevé avant la mise en fonction des zones de cuisson. Avant de referrer le couvercle, assurez-vous que l'apparil a bien refroidi. Les couvercles en verre peuvent se casser lorsqu'ils sont chauffés. Éteignez tous
les brûleurs avant de fermer le couvercle.
-
Cet apparéil n'est pas destiné à être mis en fonctionnement au moyen d'une minuterie extérieure ou par un système de commande à distances séparé. Notre apparéil de cuisson ne doit jamais être branché sur une rallonge, sur une minuterie extérieure, sur une prise triplite, sur un système de commande à distance ou sur tout autre dispositif qui mettrait l' apparéil sous tension automatiquement.
-
Pour empêcher votre apparéil de cuisson de basculer, des fixations de stabilisation doivent être installées. Si votre apparéil de cuisson est installé sur un socle, prenez les précautions nécessaires pour qu'il ne tombe pas.

MISE EN GARDE!
Ce dispositif de stabilisation doit être mis en place pour éviter le basculement de l'appareil (voir explications dans la notice).
- Lors de son utilisation, l'appareil devient chaud. Faites attention à ne pastoucher les éléments chauffants situés à l'intérieur du four. Quand le four fonctionne, net touchez jamais les éléments chauffants du four (résistances), vous risqueriez de vous brûler.
Veillez à ce que les poignées de casseroles soient disposées vers l'intérieur du plan de cuisson, de façon à prévenir les chutes eventuelles. Les poignées des casseroles peuvent devenir chaudes, attention aux enfants. - Faites attention aux poignées de la porte du
four et aux manettes de commande des zones de cuisson qui peuventvenir chaudes lors de l'utilisation de votre apparéil de cuisson et pendant un certain temps après son utilisation.
-
N'utilisez pas de produits de nettoyage abrasifs, de crèmes caustiques, déponges abrasives ou de grattoirs métalliques pour nettoyer tous les éléments de votre apparéil de cuisson (verre, émail, inox, plastique et peinture). Cela raierait les surfaces et pourrait entraîner l'éclatement des surfaces en verre ou la destruction d'autres éléments de votre apparéil de cuisson. N'utilisez pas de produits d'entretien abrasifs ou de grattoirs métalliques durs pour nettoyer la porte en verre du four. Cela pourrait érafler la surface et entraîner l'éclatement du verre.
-
N'utilise pas de nettoyeurs à vapeur pour nettoyer votre apparéil de cuisson.
-
Toutes les mesures de sécurité possibles ont étéprises pour garantir votre sécurité. Pour éviter de casser les éléments en verre, vous doivent faire attention à ne pas les rayer pendant le nettoyage. Évitez aussi de taper ces surfaces en verre ou de laisser tomber des accessoires dessus et de monter sur le verre (dans le cas d'un travail au-dessus de votre apparéil de cuisson).

MISE EN GARDE!
A s surez-vous que l'appareil est déconnecté de l'alimentation avant de remplacer la lampe pour éviter tout risque de chocolélectrique.

MISE EN GARDE! Les parties accessibles peuvent devenir chaudes au cours de l'utilisation.
- Il est recommandé d'éloigner les jeunes enfants.
- Lors du nettoyage par pyrolyse, retirez les grilles, les étagères et tout autre accessoire du four avant de lancer le cycle de pyrolyse. Les éclaboussures excessives doivent également être nettoyées avant le cycle de pyrolyse.
Utiliser uniquement la sonde thermique recommendée pour ce four (option sonde pour viande, si votre apparéil en est équipé).
- Ne faites aucune pression sur le fil électrique (si équipé) lors de l'installation de votre apparéil de cuisson. Assurez-vous aussi que le cable n'est pas coincide dérrière votre apparéil de cuisson.
- Valeurs testées et calculées conformément à la réglementation EU65-2014/EU66-2014
- Afin de réduire l'impact global sur l'environnement (par ex. la consommation énergétique) du processus de cuisson, veuillez vous assurer que votre produit est installé conformément au manuel de l'utilisateur, que l'espace (ou l'appareil est installé) est suffisamment aéré et que le conduit d'évacuation est le plus droit et le plus court possible.
Pourles produits fonctionnant en mode manuel, nous vous suggérons demettre le moteur hors tension dans les 10 minutes après avoir terminé de cuisiner. Pour tout entretien:veuillez vous assurer de démonter les pieces correspondantes conformément au manuel de l'utilisateur.
Pourobtenirdesinformations concernant le recyclage, la valorisation et l'élimination
en fin de vie de votre apparéil, veuillage contacter votre municipalité.
Description de l'appareil



Couvercle
Table de cuisson
3 Bandeau de commande
4 Poignée de la porte du four
5 Façade sous-four ou tiroir
6 Pieds réglables
7 Porto du four
3 Léchefrite
9Grille
16 Brûleur semi-rapide
1 Brûleur rapide
12 Brûleur auxiliaire
Grille support casserole
1 Brûleur semi-rapide
Spécifications techniques
Tableau injecteurs
| G30 28-3 0mbar 10,3 kW 749 g/h II2E+3+ Coupe : 1 | GN G20/G25 20/25 mbar Destination : France | GPL G30/G31 28-30/37 mbar Destination : Belgique |
| BRULEUR RAPIDE | ||
| Repère d'injecteur (1/100 mm) | 115 | 85 |
| Puisance nominale (Kw) | 2,9 | 3 |
| Débit nominal | 276 l/h | 218,1 g/h |
| BRULEUR INTERMÉDIAIRE | ||
| Repère d'injecteur (1/100 mm) | 97 | 65 |
| Puisance nominale (Kw) | 1,75 | 1,75 |
| Débit nominal | 166,7 L/h | 127,2 g/h |
| BRULEUR AUXILIAIRE | ||
| Repère d'injecteur (1/100 mm) | 72 | 50 |
| Puisance nominale (Kw) | 1 | 1 |
| Débit nominal | 95,2 L/h | 72,7 g/h |
| BRULEUR AUXILIAIRE | ||
| Repère d'injecteur (1/100 mm) | 120 | 76 |
| Puisance nominale (Kw) | 2,8 | 2,8 |
| Débit nominal | 266,7 L/h | 203,6 g/h |
| PAYS DE DESTINATION | PRESSION (mbar) | CATÉGORIE |
| ES | 20 ; 28-30/37 | II2H3+ |
| FR - BE | 20/25 ; 28-30/37 | II2E+3+ |
| Marque | Valberg | |
| Modèle | CG604CCSVET | |
| Type de plaque de cuisson | Gaz | |
| Nombre de zones de cuisson | 4 | |
| Technologie de chauffage - Zone de cuisson 1 | Gaz | |
| Taille - Zone de cuisson 1 | Auxiliaire | |
| Efficacité énergétique - Zone de cuisson 1 | % | N/A |
| Technologie de chauffage - Zone de cuisson 2 | Gaz | |
| Taille - Zone de cuisson 2 | Semi-rapide | |
| Efficacité énergétique - Zone de cuisson 2 | % | 59,0 |
| Technologie de chauffage - Zone de cuisson 3 | Gaz | |
| Taille - Zone de cuisson 3 | Semi-rapide | |
| Efficacité énergétique - Zone de cuisson 3 | % | 59,0 |
| Technologie de chauffage - Zone de cuisson 4 | Gaz | |
| Taille - Zone de cuisson 4 | Rapide | |
| Efficacité énergétique - Zone de cuisson 4 | % | 57,0 |
| Efficacité énergétique de la plaque de cuisson | % | 58,3 |
| Cette plaque de cuisson est conforme à la norme EN 30-2-1 | ||
Préparation de l'installation
Cette cusinière moderne, fonctionnelle et pratique, fabriquée avec les meilleurs pieces et matériaux, saura répondre à tous vos besoin. Avant d'utiliser votre cusinière, lisez attentivement cette notice afin de connaître l'ensemble de ses fonctions et d'obtenir les meilleurs résultats possibles. Pour une installation correcte, tenez compte des recommendations suivantes pour éviter tout problème ou toute situation dangereuse. Ces recommendations doivent aussi être lues par le technicien chargé d'inverter la cusinière.
Environnement d'installation de votre cuisineire
Votre cuisinière doit être installée et utilisée dans un endroit ventilé de manière efficace. La combustion du gaz est possible grâce à l'oxygène contenu dans l'air. Il est donc nécessaire que cet air soit renouvelé et que les produits de combustion soient evacués conformément à la reglementation en vigueur. Il doit y avoir une ventilation naturelle suffisante pour que le gaz puisse être utilisé dans cet environnement. Le flux d'air moyen doit entra par des ventilations installées sur les murs en contact direct avec l'extérieur (voir dessin ci-dessous).
Le flux d'air doit entreir par le bas (minimum 100~cm^2 ) et soit par le haut (minimum 100~cm^2 ). Ces ventilations doivent donc posseder une surface minimum de 100 cm^2 , seul d'efficacité pour le passage de l'air. Ces ventilations doivent être ouvertes et jamais bouchées. Elles doivent de préférence être situées pres de l'arrière de la cuisinière (pour l'arrivee d'air fig. 1 et 2) et à l'opposé des gaz brûlés occasionnés par la cuisson (pour l'évacuation), c'est à dire à au moins 1,80m au-dessus du sol. S'il est impossible d'ouvrir ces ventilations vers
l'extérieur à l'endetroit où la cusinière est installée, l'air nécessaire peut également provenir d'un autre endroit à condition qu'il soit correctement ventilé et qu'il ne s'agisse ni d'une chambre à coucher, ni d'un endroit dangereux.
Évacuation des gaz brûlés
Il est conseilé d'installer soit une hotte d'évacuation reliée à un conduit qui donne directement à l'extérieur (fig. 3), soit un ventilateur électrique installé sur la fenêtre ou le mur extérieur (fig. 4) pour evacuer les gaz brûlés directement vers l'extérieur. La puissance du ventilateur électrique doit être calculée afin de pouvoir renouveler l'air de la cuisine 4 à 5 fois par heures (son propre volume d'air par heures).

Fig. 1

Fig. 2

Fig. 3

Fig. 4

Positionnement de la cuisineire
- La cusinière peut être placee pres d'un autre meuble, mais veiliez a ce que la hauteur des meubles environnants ne dépasse pas la hauteur de la cusinière (voir fig. 5).
- Si les meubles de cuisine sont plus haut que la cusinière, laissez un espace d'au moins 10 cm entre les côts de la cusinière et les meubles.
-
La hauteur minimum entre le plan de cuisson et la hotte (ou les éléments muraux) est indiquée sur la fig. 5. La hotte d'évacuation doit être située à au moins 65 cm du plan de cuisson. S'il n'y a pas de hotte, la hauteur du meuble situé au-dessus du plan de cuisson ne doit pas être inférieure à 70 cm.
-
Laissez un espace libre de 2 cm entre l'arrière de la cuisine et le mur et entre les cots et les meubles adjacents.
- Veiliez à ne pas placer la cusinière pres d'un réfrigerateur, à ce qu'il n'y ait pas de matières inflammables comme des rideaux, des chiffons, etc., qui pourrait prendre feu rapidement.
- Les meubles adjacents doivent être fabriqués avec un matériel résistant à une température atteignant 100^ .
Réglage des pieds
Votre cuisinière possède 4 pieds régables.
Après avoir installé la cuisinière à la place prévue, vous doivent vérifier qu'elle est bien de niveau. Pour cela, ajustez les 4 pieds régables en les vissant ou en les dévissant (fig. 6). La cuisinière doit absolument être positionnée à l'horizontal.
Le réglage peut se faire sur une hauteur maximum de 30~mm . Vous pouvez enlever le tiroir de la cuisinière pour régler la hauteur des pieds.
Quand les pieds sont correctement reglés, vous ne devez pas bouger la cuisine en la tirant, mais en la soulevant (attention à ne pas la soulever par la poignée de la porte du four).

Fig. 6
Raccordement au gaz - FR
Branchement au gaz et verification des fuites
Le branchement au gaz de la cusinière doit également être fait selon les normes en vigueur par un technician qualifié (selon l'article 10 de l'arrêté du 02/08/1977 et les règles de l'art D.T.U 61-1 imposant sur l'extrémité de la canalisation la présence d'un robinet de commande pour le gaz naturel avec un détendeur-declencheur conforme à la norme NF D 36-303. Ce robinet de commande permet de couper l'alimentation en gaz lorsque la cusinière n'est pas utilisé).
Vérifiez tout d'abord quel est le type de gaz installé sur la cusinière. Cette information est indiquée par une étiquette collée à l'arrière de la cusinière. Vous trouvrez les informations relatives aux types de
gaz et injecteurs dans le tableau des caractéristiques techniques. Vérifiez que la pression du gaz d'entrée est conforme aux valeurs précisées dans le tableau des caractéristiques techniques afin d'avoir la meilleure efficacité et d'assurer le minimum de consommation de gaz. Si la pression du gaz utilisé est différente de ces valeurs ou si elle est variable, vous devrez ajouter un régulateur de pression au tuyau d'entrée. Nous vous recommendons de contacter le service après-vente afin d'effectuer ces mesures et réglages.
Branchement gaz butane (G30) – propane (G31)
Le technicien devra tout d'abord vérifier le réglage gaz de votre cusinière. Si elle est livrée en gaz naturel, il devra changer les injecteurs (voir ci-dessous) pour la rendre utilisable en gaz butane. L'installation peut être faite soit avec un tuyau gaz spécifique butane/propane (normes NF D 36112 ou NF D 36125) vendu avec 2 colliers, soit avec un tuyau spécifique TFEM avec raccords montés.
Si vous souhaitez utiliser un tuyau de raccordement TFEM :
-
utilisez le raccord fourni avec les pieces de rechange GN ;
-
assurez vous que le tuyau que vous utilisez est conforme à la norme NF D 36112 ou NF D 36125;
- utilisez toujours un joint entre le raccord et l'arrivée de gaz.
Si vous montez un tuyau butane/propane avec collier, l'embout gaz butane avec le joint sera installé sur la cuisinière, le tuyau sera enforcé à fond sur cet embout et un collier sera installé en serrant correctement, mais sans couper le tuyau. Faites de même coté détendeur (voir fig. 7).
La longueur maximale autorisée est 1,5m Il est très important de surveiller la date limite de péremption indiquée sur le tuyau et de le changer avant cette date pour garantir la sécurité.

Si vous montez un tuyau TFEM, l'embout gaz butane est inutil. Il suffit de visser les raccords du tuyau TFEM cotoe cuisine et cote bouteille (serrez correctement a laide de 2 clefs comme indiqued sur le schema cidesus).
Branchement gaz naturel (G20/ G25)
Le technicien devra installer un tuyau à embout mécanique (TFEM) suivant la norme NF D 36100/36103/36121 et brancher la cuisinière selon les normes en vigueur
Raccordement au gaz - BE
Conforme aux normes d'installation Belges : NBN D 51-003 et NBN D 51-006.

Points à respecter lors de la connexion du tuyau alimentation gaz :
- Aucune partie du tuyau ne doit entrairen contact avec une surface dont la chaleur est supérieure à 90^ La distance minimale entre le tuyau et les parties chaudes doit etre de 20~mm
- La longueur du tuyau ne doit pas excéder 1,5m .
-
Le tuyau ne doit pas être coupé, serré ou plié.
-
Le tuyau ne doit pas être défectueux et ne doit pas être en contact avec des bords pointus ou coupants, ou avec des objets mobiles.
- Le tuyau doit être contrôle intégralement avant installation afin de vérifier qu'il n'y a pas de défaut de fabrication.
- Lorsque le gaz est branché, l'étanchéité du tuyau doit être contrôle avec un produit spécifique à bulles par un technician qualifié. Aucune bulle ne doit apparaitre. Si des bulles apparaisent, vérifier le joint de connexion et refaire le test. Ne jamais utiliser de briquet, d'allumette, etc. lors de ce contrôle.
- Les colliers de serrage du tuyau de gaz butane ne doivent pas'être rouillés.
- La date de validité du tuyau doit être contrôle régulierement.

ATTENTION!
N'utilisez pas de briquet ou d'allumette pour contrcler les fuites de gaz
Changement de gaz

ATTENTION!
Les procédures suivantes doivent être réalisées par un technicien qualifié.
Votre cuisineire a ete conque pour fonctionner soit avec du gaz de petrole liquefie (butane ou propane), soit avec du gaz naturel. Les bruleurs gaz peuvent etre adaptes à ces differents types de gaz, en remplaant les injecteurs correspondants et en reglant la longueur de flamme minimale de chaque bruleur. Les etapes ci-apres doivent impereativement etre effectuees. Procedure de changement des injecteurs :
Brûleurs de la table de cuisson
- Coupe l'alimentation en gaz principal et débranche la prise électrique.
- Retirez le chapeau de brûleur et le brûleur supérieur (figure 8).
- Dévissez les injecteurs. Utilisez à cet effet une clé de 7 mm (figure 9).
- Mettez en place les nouveaux injecteurs conformément au type de gaz à utiliser, selon le tableau d'informations techniques. Veillez à ce que les nouveaux injecteurs soient vissés droit. Si vous les montez de travers, vous risquez d'abîmer le filet du support et le support devra être changé (non couvert par la garantie).


Injecteurs du four
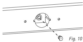
Les brûleurs du four sont fixés par une vis unique place à l'extrémité du brûleur. Enlevez la vis, tirez le brûleur du grill vers vous afin d'acceder à l'injecteur situé à l'arrière haut du moufle du four (figure 10). Il est conseilé de vous éclairer à l'aide d'une lampe torché pour effectuer ce travail.
Pour le brûleur du four (bas), ouvrez la portedou four, puis démontez les vis de maintainende la tôle inférieure. Ouvrez le compartmentsitué sous le four (tiroir ou porte abattante) pour acceder à la vis de fixation avant qui se trouve sur le brûleur (figure 11). Si lacuisinière est équipée d'une façade sous-four fixe, il faudra d'abord démonter la portedu four pour avoir accès aux vis de maintiende cette tôle. Enlevez la vis du brûleur etdéplacez le brûleur en diagonale afin d'avoir
accès à l'injecteur situé à l'arrière bas du mouflé du four (figure 10).
Dévissez les injecteurs. Utilisez à cet effet une clé de 7 mm. Mettez en place les nouveaux injecteurs conformément au type de gaz à utiliser, selon le tableau d'informations techniques. Veillez à ce que les nouveaux injecteurs soient vissés droit. Si vous les montez de travers, vous risquez d'abîmer le filet du support et le support devra être changé (non couvert par la garantie).


Réglage de la hauteur de flamme en position minimale sur le robinet
La longueur de la flamme à la position minimale peut se régler à l'aide d'une vis plate située au niveau du robinet. Pour les robinets avec thermocouple, la vis se trouve sur le côte de la tige du robinet (figure 12). Pour un réglage plus facile de la flamme en position minimale, il est conseilé d'enlever le panneau de commande pour les cusinières équipées de thermocouple et de micro-rupteur (allumage automatique) pendant le réglage.
Pour déterminer la position minimale, allumez les brûleurs un par un et mettez les en position minimale. À l'aide d'un petit tournevis, serrez ou desserrez la vis de dérivation de 90^ environ. Lorsque la flamme a atteint une longueur d'au moins 4mm , le réglage est correct. Pour contrôle, assurez-vous que la flamme ne s'éteint pas en passant de la position maximale à la position minimale. Créez un vent artificiel avec votre main en direction de la flamme pour voir si celle-ci est stable. Lors de la transformation du GN au GPL, cette même vis doit être resserrée au maximum.

Robinet avec dispositif thermocouple

Robinet de four non-thermostatique
Changement du tuyau d'alimentation en gaz
Vérifiez régulièrement la date de péremption du tuyau gaz de votre cusinière. Quand la limite de validité est atteinte, il est nécessaire de changer le tuyau.
Ces tuyaux sont disponibles dans le commerce et doivent être conformes aux normes actuelles. ÀpRES avoir changé le tuyau, assurez-vous qu'il n'y a pas de fuite en vous référant aux informations du paragraphe ci-dessus : Branchement au gaz et vérification des fuites.
Pour le brûleur du four, faites-le fonctionner en position minimale pendant 5 minutes. Ouvrez et reférer la porte du four 2 à 3 fois pour vérifier la stabilité de la flamme du brûleur.
Le réglage de la position de flamme minimale n'est pas requis pour le brûleur du grill. Pendant la conversion du GPL au GN, la vis de dérivation doit être dévisée. Lors de la transformation du GN au GPL, cette même vis doit être resserrée au maximum. Pendant ce réglage, assurez-vous que la cusinière est débranchée du secteur et que l'alimentation en gaz est ouverte.
Avant la première utilisation de la plaque de cuisson
- Lors de la première mise en marche de votre apparéil de cuisson (au niveau du four), une odeur caractéristique des matérieliaux d'isolement et des éléments chauffants se dégagera. Pour cette raison, avant d'utiliser votre four, faites-le fonctionner à vide à sa température maximale pendant 45 minutes. Vous doivent vous assurer que la pièce dans laquelle est installé votre apparéil de cuisson est bien ventilée.
- Au cours de l'utilisation du four, les surfaces internes et externes du four deviennent chaudes. Au moment de l'ouverture de la porte du four, mettez-vous en retrait pour éviter de vous brûler avec la vapeur très chaude qui va alors se dégager du four : vous risqueriez de vous brûler.
- Ne placez pas de matérieliaux inflammables ou combustibles à proximate de votre apparéil de cuisson pendant son fonctionnement.
- Utilisez systématiquement des gants de cuisine pourmettre les plats de cuisson au four ou les sorting.
- Ne laïsez pas votre apparéil de cuisson sans surveillance lorsque vous faites cuire des huiles ou des matières grasses liquides ou solides. Portées à très haute température, ces matières peuvent prendre feu et provoquer un incendie. N'essayez jamais d'éteindre avec de l'eau des flammes provenant d'huile en feu mais éteignez votre apparéil de cuisson et couvrez la casserole ou la poèle avec un couvercle afin d'étouffer la flamme. Si vous avez une hotte, ne la mettez jamais en route sans surveillance quand vous faites chauffer de l'huile. Ne laïsez pas de matières inflammables pres de votre apparéil de cuisson lorsqu'il fonctionne.
-
Posez toujours les ustensiles de cuisson au centre de la zone de cuisson et positionnez les poignées de telle sorte qu'elles ne puissant pas gérer ou être attrapées par un enfant.
-
N'utilisez pas les zones de cuisson avec des casseroles vides ou sans casserole.
- Sur les plaques électriques, utilisez uniquement des recipients à fond plat.
- Ne coupez pas de pain sur le verre des plaques vitro et induction. Le plan de travail en verre ne doit pas ettre utilisé comme surface de travail. Faites attention a ne pas poser sur le verre des recipients qui pouraient l'abimer.Des recipients ayant des bords tranchants peuvent rayer la surface du dessus et l'endommager.

CONSEIL
Essuyez systématiquement le dessous des cassetoles avec un chiffon avant de les posersur la surface en verre afind'enlever les microparticulessous le récipient quirisqueraient de rayer le verre.
- Sur les dessus tout, utilisez uniquement des ustensiles à fond plat.
- Sur les dessus induction, utilisez uniquement des ustensiles à fond plat spécifiques à l'induction (indiqué sous l'ustensile par le fabricant).
- Il est possible que vous entendiez un petit bruit à la mise en marché d'une zone de cuisson.
- Les utilisateurs qui possèdent un pacemaker doivent se tener à 30 cm minimum des zones de cuisson à induction quand ces dernières sont allumées.
- Si vous n'avez pas l'intention d'utiliser votre apparéil de cuisson pendant une longue période, nous vous conseillons de le débrancher électriquement. Veillez aussi à fermer en même temps le robinet de gaz lorsque vous n'utilise pas l apparéil.
- Si vous ne vous servez pas de vos plaquespendant un certain temps, il sera nécessaire
demettre unpeudhuile dessusafin d'eviter qu'ellesne rouillent (plaques enfonte).
Assurez-vous que les manettes de commande de votre apparéil de cuisson sont toujours sur la position « 0 » lorsque votre apparéil de cuisson n'est pas utilisé.
- Enlevez du couvercle tout résidu de débordement avant de l'ouvrir. Laissez refroidir le plan de cuisson avant de fermer le couvercle. Positionnez bien les grilles du four dans les glissières laterales prévues à cet effet. Dans le cas contraire, lorsque vous tirerez sur les grilles, elles pourraient s'incliner et le liquide chaud contenu dans les ustensiles de cuisson pourrait couler ou vous brûler.
- Certains appareils de cuisson avec four électricque sont équipés d'un ventilateur tangentiel. Ce ventilateur fonctionne pendant la cuisson. L'air est expulsé à travers des orifices entre la porte du four et le bandeau de commande. Le ventilateur peut continuer à fonctionner après l'accêt du four pour aider les commandes à refroidir : ne vous inquiétez pas.

ATTENTION!
L'utilisation d'un apparéil de cuisson à gaz génére de la chaleur, de l'humidité, des odeurs et des produits issus de la combustion du gaz dans la piece au sein de laquelle est installée l' apparéil de cuisson. Assurez-vous que la cuisine est bien ventilée lorsque l' apparéil de cuisson fonctionne, laissez les ouvertures dégagées ou installez un dispositif de ventilation mécanique ( comme une hotte aspirante mécanique). Pour les apparéils de cuisson à energia électrique, la cuisson produit aussi de l'humidité et des odeurs. Il sera également nécessaire d'inşaller un dispositif de ventilation mécanique Une utilisation prolongée de votre apparéil de cuisson peut nécessiter une aération supplémentaire, comme l'ouverture d'une fenêtre ou l'augmentation du niveau de la ventilation mécanique siinstallede. Si vous utilisez le grill gaz (suivant modèle), il est impératif de laisser la porte ouverte et demettre en place la tôle de protection (pour le bandeau et les manettes) fournie avec votre apparéil de cuisson. N'utilise jamais le grill gaz lorsque la porte du four est fermée (pour les apparéils de cuisson à gaz avec grill gaz). Pour les apparéils de cuisson avec four électrique, si vous utilisez le grill électrique (suivant modèle), la porte du four doit être fermée.

ATTENTION!
Les couvercles en verre peuvent se briser sous l'effect de la chaleur.

- Avant de referrer le couvercle, fermez tous les brûleurs ou zones de cuisson et laissez la surface de la plaque de cuisson refroidir.
- Lorsque la porte du four ou le tiroir sous-four sont ouverts, ne posez rien dessus et ne laïsez pas les enfants grimper sur la porte ou s'y asseoir. Cela pourrait déséquilbrer votre apparéil de cuisson et casser le couvercle (d'ou la nécessité demettre en place les fixations anti-basculement).
-
Ne rangez aucun objet lourd ou inflammable (nylon, sac en plastique, papier, vétement...) dans le tiroir placé sous le four. Les ustensiles de cuisine en plastique en font également partie (ainsi que les manches d'ustensiles).
-
Ne séchez pas de serviette, éponge ou vêtement dans ou sur votre apparéil de cuisson, ni sur la poignée du four.
- Pendant le nettoyage et l'entretien
- Arrêtez toujours votre apparéil de cuisson avant le nettoyage ou l'entretien, en le débranchant ou en éteignant l'interrupteur principal.
- Ne retirez jamais les boutons de commande pour nettoyer le panneau de commande.
- N'utilisez jamais de nettoyeur vapeur pour nettoyer les éléments de votre apparéil de cuisson.
Afin de garantir l'efficacité et la sécurité de votre apparéil, nous vous recommendons de toujours utiliser les pieces d'origine et de contacter nos représentants en cas de besoin.
Utilisation des brûleurs
Allumage des brûleurs
Les symboles des manettes sur le bandeau indiquent la position du bruleur.
Allumage manuel des brûleurs à gaz
Si vous cuisinière n'est dotée d'aucun allumage électrique ou si le réseau électrique est en panne, respectez les procédures décrites ci-dessous :
Pour les brûleurs du plan de cuisson : Pour allumer l'un des brûleurs, appuyez et tournez la manette du robinet concerné dans le sens antihoraire jusqu'à ce qu'elle soit en position maximale et approchez aussiot la flamme d'une allumette ou un allume-gaz de la couronne avec troughs du brûleur. Éloignez ensuite la source d'allumage aussiot que vous voyagez une flamme stable.
Pour les brûleurs du plan de cuisson avec thermocouple : Les plans de cuisson équipés de sécurités avec thermocouple minimisent le danger lorsque la flamme s'éteint accidentellement. Pour cette raison, pendant l'allumage manuel, maintenez la manette du robinet appuyée jusqu'à obtenir des flammes stables. Si les flammes restent instables après avoir relâché le bouton, reprenez la procédure. Si la flamme s'éteint, le système thermocouple fermera l'acciviée de gaz du robinet concerné vers le brûleur et évitera toute accumulation de gaz non brûlé. Attendez obligatoirement 90 secondes minimum avant de rallumer un brûleur gaz éteint suite à une coupure automatique.
Pour le brûleur du four (équipé du thermocouple): Tous les brûleurs de four/gril sont équipés de sécurités avec thermocouple et minimisent le danger lorsque la flamme s'eteint accidentellement. Pour allumer le brûleur du four, appuyez et tournez la manette du robinet four dans le sens antihoraire jusqu'à ce qu'il se trouve en position maximale. Tout en appuyant sur la manette, approchez aussiot une allumette ou un allume-gaz de l'orifice d'allumage situé sur le côte gauche avant du brûleur. Dès que le brûleur est allumé avec une flamine stable, éloignez aussiot la source d'allumage et maintenez la manette appuyée pendant environ 3 secondes. Si les flames sont instables après avoir relâché le bouton, reprenez la procédure. Si la flamme s'eteint, le système thermocouple fermera l'accrée de gaz du robinet du four vers le brûleur et évitera toute accumulation de gaz non brûlé. Si le brûleur du four ne s'allume pas après avoir maintainu le bouton du brûleur appuyé pendant 30 secondes maximum, ouvrez la porte du four et attendez impérativement 90 secondes minimum avant d'essayer de rallumer. Lorsque des flames s'échappent accidentellement du four, reprenez la même procédure.
Explication du dispositif de sécurité thermocouple : un composant thermique detecte la flamme du brûleur et maintain le gaz ouvert. En cas de disparition de la flamme, le composant thermique detecte la perte de chaleur et coupe l'arrivée de gaz du robinet.

Français
Utilisation des brûleurs de la table de cuisson
Positions Arret

Positions MAXI

Positions MINI

Intermédiaire
Les manettes de robinet de la table de cuisson ont 3 positions: Arrêt [0], Maxi (symbole de grosse flamme) et Mini (symbole de petite flamme). ÀpRES avoir allumé le brûleur en position «Maxi», comme expliqué ci-dessus, vous avez la possibilité de régler la longueur de la flamme entre les positions «Maxi» et «Mini». Évitez demettre la manette entre les positions «Maxi» et «Arrêt».



Fig. 16
Après l'allumage, procédez à une vérification visuelle des flammes. Si vous voyagez une pointe jaune ou des flammes suspendues ou instables, fermez le robinet à gaz et vérifiez si les chapeaux couronnés sont bien positionnées (fig.15).
Attention, ces éléments sont très chauds, attendez qu'ils refroidissent pour éviter de vous brûler. Attention à ce qu'aucun liquide ne s'écoule à l'intérieur des brûleurs. Si des flammes s'échappent accidentellement du brûleur, fermez les robinets, aéréz la cuisine avec de l'air frais et attendez au minimum 90 secondes avant de rallumer.
Pour arrêté la cuisson, tournez la manette du brûleur dans le sens horaire jusqu'à ce que le repère de la manette soit en face du point « 0 » (repère manette vers le haut).
Votre plaque de cuisson est équipé de brûleurs de diamètres différents. Afin d'obtenir la meilleure efficacité des brûleurs, faites attention à la taille des casseroles placées sur les brûleurs et utilisez des casseroles parfaitement planes. N'utilise pas de casseroles dont le fond est concave ou convexe pour éviter des pertes d'énergies. Utilisez des casseroles de taille correspondante à la flamme. Si vous utiliser des recipients aux dimensions inférieures à celles précisées ci-après, vous risquez des pertes d'énergie. Le moyen le plus économique d'utiliser le gaz consiste à ramener la flamme à la position minimale une fois le point d'ébullition atteint. Nous vous recommendons de
covrir systématiquement votre récipient de cuisson.




Brûleur rapide : 22-26 cm
Brûleur semi-rapide : 14-22 cm
Brûleur auxiliaire : 12-18 cm
Lorsque vous n'utilise pas votre cuisinière pendant des périodes prolongées, veuillez toujours fermer le robinet d'arrivée de gaz.

AVERTISSEMENT!
Utilisez uniquement des casseroles à fond plat et assez écais.
Veillez à ce que la base de la casserole soit sèche avant de la placer sur les brûleurs.
- La température des parties exposerées à la flamme peut être très élevé lors de l'utilisation. C'est pourquoi il est impératif de tener les enfants et les animaux hors de portée des brûleurs pendant et après la cuisson.
- Àproussutilisation,la plaque de cuisson reste très chaudependant une longue durée. Ne la touchez pas et ne placez pas d'objets dessus.
- Évitez de poser des couteaux, fourchettes, cuillères et couvercles sur la table de cuisson car ils deviendraient chauds et poursaient provoquer de graves brûlures.
- N'utilisez pas de recipients de cuisine qui débordent de la table de travail.
Utilisation du brûleur du four gaz

Après avoir allumé le brûleur du four comme expliqué ci-dessus, vous pouvez régler la température à l'intérieur du four en positionnant la manette en face des indications qui se trouvent sur le panneau de commande ou sur la base de la manette (mini à maxi). Si votre four est équipé d'un thermostat, consultez le tableau des températures ci-dessous pour désirir la température appropriée en fonction des aliments à cuire. Évitez de faire fonctionner le four en mettant la manette entre la position « Arrêt » et l'indication de température minimum (dans le sens antihoraire). Utilisez toujours le four entre les positions maximum et minimum.
Pour arrêté la cuisson du four, tournez la manette du brûleur four dans le sens horaire jusqu'à ce que le repère de la manette soit en face du point « 0 » (repère manette vers le haut).
Prechauffage
Si vous nevez préchauffer le four, il est conseilé de le faire 10 minutes avant d'enfournier les plats.
Pour les recettes nécessitant des températures élevées comme le pain, les pâtes, les pains cuits en galette, les soufflés, etc., il convient de préchauffer le four afin d'obtenir des résultats optimaux.
Préchauffez systématiquement le four avant de faire cuire des denrées congelées ou fraîches prêtes à la consommation afin d'obtenir de plusieurs résultats lors de la cuisson.
Cuisson
-党的建设 - Votre cuisine est livrée (suivant modele) avec des plaques, une l'échefrite, une grille et une broche pour roir la volaille. Vous pouvez par ailleurs utiliser des plats en verre, des moulés à gâteaux ou des plaques à four spécifique adaptés à la cuisson au four que vous trouvrez dans le commerce.
Veillez a respecter les instructions données par le fabricant quant a l'utilisation des plats. Si vous utilisez des plats de petite dimension, placez-les sur la grille de façon a ce qu'ils soient bien au milieu de cette-ci. Les instructions suivantes doivent également etre respectees pour tous les plats émailés.
-
Si les alimentés destinés à cuire ne couvrent pas toute la surface de la plaque de cuisson, s'il s'agit d'aliments qui sortent du congélateur ou si la lèchefrite est utilisée pour recueillir les jus de cuisson susceptibles de couler durant le rôtissage, la plaque peut connaître des changements de forme dus aux fortes températures occasionnées par la cuisson ou le rôtissage. La plaque ne reprendra sa forme initiale que lorsqu'elle aura complètement refroidi après la cuisson. Il s'agit d'un phénomène tout a fait normal causé par les transferts de chaleur.
-
Si vous utilisez des plats ou autres ustensiles en verre pour la cuisson, ne les exposez pas directement au froid après les avoir sortis du four. Ne les posez pas sur des surfaces froides ou humides. Déposez les sur un torchon de cuisine sec ou sur un dessous de plat et veillez à ce qu'ils refroidissent lentement de manière à éviter qu'ils ne se cassent.

ATTENTION!
Ne posez jamais la l'échéfrite sur la partie inférieure du four car il y a risque de surchauffe et de détérioration de l'email du four.
Accessoires du four
- Si un petit plat est utilisé, posez-le au milieu de la grille afin qu'il soit correctement placé.
- Si les alimentés à cuire ne couvrent pas entièrement le plateau du four, si les alimentés sortent du congélateur ou si le plateau est utilisé pour récapérer le jus des alimentés pendant une grillade, le plateau peut se déformer en raison des températures de cuisson ou de grillade élevées. Le plateau retrouvera sa forme une fois refroidi après la cuisson. C'est une déformation physique normale résultat de l'effet de la chaleur.
-
Ne posez pas d'ustensiles de cuisson en verre dans un environnement froid directement après la cuisson. Ne les posez pas non plus sur des surfaces froides et mouillées. Assurez-vous qu'il refroidisse progressivement en le plaçant sur un dessous de plat ou un torchon. Dans le cas contraire, il pourrait se briser.
-
Si vous faites une grillade au four, nous vous conseillons d'utiliser la grille fournie avec le plateau pour ce produit (si vous four en est équipé). Si vous comptez utiliser la grande grille, insérez un plateau sur une des parties inférieures afin de recueillir l'huile. Versez également de l'eau dans ce plateau pour un nettoyage facile et afin d'éviter les fumées.
- Comme précisé dans le paragraphe précédent, n'utilisez jamais le brûleur du grill sans sa tôle de protection. Si vous four est équipé d'un brûleur grill à gaz et que vous avez perdu la tôle de protection, ne vous en servez pas et commandez-en une au plus vite au service agréé le plus proche.
Moufle du four
Accessoires du four
Les accessoires de votre four peuvent différer en fonction du modele.
GRILLE

La grille est utilisé avec les grillades et pour supporter différents ustensiles de cuisson. Pour bien positionner la grille dans le four, mettez-la sur n'importe quel support et poussez la jusqu'au fond.
PLATEAU MOYENNE ÉPAISSEUR

Le plateau moyenne épaissur sert à cuire les ragôuts. Pour bien positionner ce plateau dans le four, mettez-le sur n'importe quel support et poussez-le jusqu'à fond.

AVERTISSEMENT!
Veillez à placer correctement la grille sur une glissière du four et poussez-la jusqu'à bout.

Positions sur glissières moulées

Entretien et nettoyage
Veillez à ce que tous les brûleurs et commandes soient éteints et que la cusinière soit froide avant d'effectuer le nettoyage du four.

REMARQUE IMPORTANT! Débranchez toujours la prise electrique avant de commencer le nettoyage.
Vérifiez que les produits de nettoyage sontapprovés et recommends par le fabricant avant de les utiliser. N'utilisez pas de crèmes caustiques, de poudres nettoyantes abrasives, déponges abrasives, de laines d'accier épaisses ou d'outils durs pour éviter d'endommager les surfaces. Si les liquides débordent autour de votre four, les
parties émailées peuvent être endommagées.
Nettoyez immédiatement les liquides ayant débordé avec un produit approprié.
Nettoyage de l'intérieur du four
L'intérieur du four émailé se nettoie plus facilement lorsque le four est encore un peu chaud. Àpres chaque utilisation, essuyez le four avec un chiffon doux, au préalable trempé dans de l'eau savonneuse. Essuyez-le ensuite une fois de plus avec un chiffon humide, puis séchez-le. Il est parfois nécessaire d'utiliser un produit de nettoyage liquide pour effectuer un nettoyage complet. Ne nettoyez surtout pas le four avec des nettoyants secs, en poudre ou avec un nettoyeur à vapeur.
Démontage de la portedu four



Pour enlever la porte du four :
Ouvrez la portedou four (1).
- Ouvrez le loquet de blocage jusqu'à sa position finale (2).
- Fermez la porte jusqu'à ce qu'elle soit presque entièrement fermée comme indiquédans le 3^e schéma et enlevez-la en la tirant vers vous.

REMARQUE!
Pour remonter la porte, effectuez le processus dans les sens inverse.

ATTENTION!
Assurez-vous que les supports encastrés sont bien positionnés sur le support de charnière comme indiquédans le deuxieme schéma.
Pour remonter la porte, suivez les explications ciddessus dans l'ordre inverse du démontage. Assurez-vous que les loquets de blocagesont bienREMIS en place.
Nettoyage des brûleurs à gaz
- Retirez les grilles émaillées, les chapeaux de brûleurs et les brûleurs supérieurs (figure 15).
- Nettoyez-les à l'eau savonneuse.
- Rincez-les et séchez-les avec un chiffon doux. Veillez à ne pas les laisser mouillés.
- Àprous le nettoyage, assurez-vous d'avoir remis correctement les pieces en place.
- Évitez de nettoyer une partie de la plaque de cuisson avec une éponge métallique. Cela raierait la surface.
-
Les surfaces supérieures des grilles émaillées peuvent s'alterer dans le temps du fait de leur utilisation et des flammes des brûleurs. Ces parties ne seront pas affectées par la rouille et ce n'est pas une défaillance liée à la production.
-
Pendant le nettoyage de la plaque du plan de cuisson, faites attention à ce que de l'eau ne s'écoule pas à l'intérieur des brûleurs afin d'éviter d'obstruer les injecteurs.
Parties émailées :
Afin de les garder comme neuves, nettoyez-les régulierrement avec de l'eau tiède et savonneuse, puis séchez-les avec un chiffon doux. Ne les lavez pas lorsqu'elles sont encore chaudes et n'utilisez jamais de poudres ou de matérieliaux nettoyants abrasifs. Ne laissez pas les éléments suivants en contact prolongé avec les parties émaillées : vinaigre, café, lait, sel, eau, citron ou jus de tomate, sous peine d'altration irrémédiable de la surface émaillée.
Autres contrôls
Contrôlez régulierement la date de validité du tuyau d'arrivée de gaz. Si la date arrive à échéance, changez-le au plus vite. En cas de problème lors de l'utilisation des manettes de commande des brûleurs et du four (ex : manettes difficilles à tourner), veuillez contacter le service après-vente.
Astuces de dépannage
Avant de contacter le service après-vente
La cuisine ne fonctionne pas :
- Vérifiez si la cuisine est bien branchée.
- Vérifiez s'il n'y a pas de coupure de courant et s'il y a bien du courant sur la prise
Le four ne chaffe pas :
- La chaleur n'a peut-être pas eté régée avec la manette de contrôle du four.
Cuisson (si la partie inférieure ou supérieure ne cuit pas de manière égale): - Contrôlez les emplacements des grilles et plateaux, le temps de cuisson et la température du thermostat préconisés sur cette notice.
Les brûleurs du plan de cuisson ne fonctionnent pas correctement :
- Vérifiez si les éléments du brûleur ont été bien remis en place (surtout après un nettoyage ou après l'installation).
- Il se peut que la pression d'alimentation en gaz soit trop faible ou trop élevé. Pour les cuisinières qui fonctionnent avec des bouteilles GPL (butane ou propane), vérifie que les bouteilles ne sont pas vides.
Si le problème persististe même après avoir effectué les vérifications ci-dessus, contactez le service après-venture.
Informations relatives au transport
Si vous avez besoin de transporter la cusinière, gardez l'emballage original du produit et transportez-la avec. Respectez les consignes de transport indiquées sur l'emballage. Scotchez les brûleurs et les grilles de brûleurs afin que rien ne rougependant le transport (ou mettez ces éléments dans un carton séparé). Placez une feuille de papier entre le couvercle supérieur et le plan de cuisson, recouvre le couvercle supérieur puis scotchez-le aux surfaces laterales de la cusinière. Ouvrez la portedu four et mettez du carton ou du papier sur la vitre interieure afin que les plateaux et la grille n'endommagent pas la contre-portependant le transport. Scotchez aussi la portedu four aux parois laterales.
En l'absence de l'emballage original, prenez des mesures afin de proteter la cusinière, notamment ses surfaces externes (surfaces en verre et peintes), contre d'eventuels coups.
Conseils en matière d'économie d'énergie
- Utilisez des ustensiles de cuisine à fond plat.
- Utilisez des ustensiles de cuisine de taille appropriée.
- Utilisez des ustensiles de cuisine avec couvercle.
- Réduisez la quantité de liquides ou de graisse utilisé.
- Lorsque le liquide commence à bouillir, réduisez la puissance.

GN
Si vous appeareil est regle en usine pour etre alimenté au gaz naturel avec tuyau TFEM : Pour raccorder votre cuisinière avec un tuyau TFEM, ne demontez pas le raccord ni le joint deja installés sur l'arrivee de gaz. Assurez-vous que le tuyau que vous utilisez est conforme à la norme NF D 36100 / 36103/36121.

AVERTISSEMENT!
Après avoir effectué le branchement au gaz, n'oubliez pas de faire un test de fuite à l'eau savonneuse.

GPL
Si votre apparéil est réglé en usine pour être alimenté au gaz butane :
Si vous souhaitez utiliser un tuyau de raccordement TFEM adapté ou si vous souhaitez changer le mode d'alimentation et brancher votre cuisinière au gaz naturel avec un tuyau de raccordement TFEM.
Utilisez le raccord fourni avec les pièces de rechange. Assurez vous que le tuyau que vous utilisez est conforme à la norme NF D 36100 / 36103 / 36121. Utilisez toujours un joint entre le raccord et l'arrivée de gaz.

AVERTISSEMENT!
Après avoir effectué le branchement au gaz, n'oubliez pas de faire un test de fuite à l'eau savonneuse.
COLLECTE SELECTION DES DÉCHETS ÉLECTRIQUES ET ÉLECTRONIQUES

Cet apparéil porte le symbole DEEE (Déchet d'Équipement Électrique et Électronique) signifiant qu'en fin de vie, il ne doit pas être jeté aux déchets menagers, mais déposé au centre de tri de la localité. La valorisation des déchets contribue à préserver notre environnement.
PROTECTION DE L'ENVIRONNEMENT - DIRECTIVE 2012/19/EU
Afin de préserver notre environnement et notre santé, l'élimination en fin de vie des apparciels électriques etlectroniques doit se faire selon des régles bien précises et nécessite l'implication de chacun, qu'il soit fournisseur ou utilisateur.
C'est pour cette raison que votre apparéil, comme le signale le symbole apposé sur sa plaque signalétique ou sur son emballage, ne doit enaucun cas être jeté dans une poubelle publique ou privée destinée aux ordures menagères. L'utilisateur a le droit de déposer l' apparéil dans un lieu public de collecte procédant à un tri sélectif des déchets pour être recyclé ou réutilisé pour d'autres applications, conformément à la directive.

Nos embailages peuvent faire l'objet d'une consigne de tri.
Pour en savoir plus: www.consignesdetri.fr
Gracias!
Ce produit est garantie pour une période de 2 ans a partir de la date d'achat*, contre toute defaillance resultant d'un vice de fabrication ou de matériel. Cette garantie ne couvre pas les vices ou les dommages resultant d'une mauvaise installation, d'une utilisation incorrecte ou de l'usure anormale du produit.
*sur presentation du ticket de caisse.
ES
Notice Facile