Z64R7757BK - Plaque de cuisson SAMSUNG - Notice d'utilisation et mode d'emploi gratuit
Retrouvez gratuitement la notice de l'appareil Z64R7757BK SAMSUNG au format PDF.
| Type de table | Induction |
| Nombre de foyers | 4 |
| Commande | Touches tactiles |
| Puissance maximale | Non précisé |
| Dimensions (L x P) | Non précisées |
| Couleur | Noir |
| Fonction booster | Oui |
| Minuterie | Oui |
| Sécurité enfants | Oui |
| Détection automatique des casseroles | Oui |
| Arrêt automatique | Oui |
| Type d'installation | Encastrable |
| Matériau de surface | Verre céramique |
| Affichage | LED |
| Alimentation | Électrique |
FOIRE AUX QUESTIONS - Z64R7757BK SAMSUNG
Téléchargez la notice de votre Plaque de cuisson au format PDF gratuitement ! Retrouvez votre notice Z64R7757BK - SAMSUNG et reprennez votre appareil électronique en main. Sur cette page sont publiés tous les documents nécessaires à l'utilisation de votre appareil Z64R7757BK de la marque SAMSUNG.
MODE D'EMPLOI Z64R7757BK SAMSUNG
Table de cuisson à induction
Manuel d'utilisation
NZ64R7757BK


Table des matières
Utilisation de ce manuel 3
Les symboles suivants sont utilisés dans leprésent manuel d'utilisation : 3
Nom du modele et numero de série 3
Consignes de sécurité 3
Mise au rebut du matériel d'emballage 6
Mise au rebut appropriée de votre apparéil usage 6
Les bons gestes de mise au rebut de ce produit
(Déchets d'équipements électriques et électroniques) 7
Installation de la table de cuisson 7
Consignes de sécurité à l'attention de l'installateur 7
Raccordement à l'alimentation secteur 8
Installation de I'appareil dans le plan de travail 9
Pièces et caractéristiques 11
Zones de cuisson 11
Tableau de commande 12
Composants 12
Chauffage par induction 12
Principales caractéristiques de l'appareil 13
Dispositif d'arrêt de sécurité 14
Zone Flex zone Plus 14
Témoin de chaleur résiduelle 15
Detection de la températe 15
Utilisation de la table de cuisson 15
Premier nettoyage 15
Récipients pour les zones de cuisson à induction 15
Test d'aptitude à l'emploi 16
Tailles des recipients 16
Bruits de fonctionnement 16
Utilisation de recipients adaptés 17
2 Français
Nettoyage et entretien 24
Garantie et assistance 26
28



































































































































































































Nettoyage et entretien 24
Garantie et assistance 26
28
Utilisation des capteurs de commande tactile 17
Mise sous tension de l'appareil 17
Sélectionnez la zone de cuisson et le réglage de la température. 18
Mise hors tension de l'appareil 18
Arrêt rapide 18
Utilisation de la sécurité enfants 19
Minuterie (Baisser la durée) 19
Minuterie (Augmenter la durée) 20
Utilisation de la fonction maintain en au chaud 21
Commande de la fonction Pleine puissance 21
Gestion de la puissance 22
Pause 22
Commande Flex 22
Activation/désactivation du son 23
Suggestion de réglages pour la cuisson d'aliments spécifiques 23
Table de cuisson 24
Salissures legères 24
Salissures tenaces 24
Salissures spécifiques 25
Cadre de la table de cuisson (en option) 25
Pour éviter d'endommager votre apparéil 25
Questions fréquentes et dépannage 26
Assistance 27
Caracteristiques techniques 28
Zones de cuisson 28
Informations sur l'appareil 28
Utilisation des capteurs de commande tactile 17
Mise sous tension de l'appareil 17
Sélectionnez la zone de cuisson et le réglage de la température. 18
Mise hors tension de l'appareil 18
Utilisation de la sécurité enfants 19
Minuterie (Baisser la durée) 19
Minuterie (Augmenter la durée) 20
Utilisation de la fonction maintain en au chaud 21
Commande de la fonction Pleine puissance 21
Gestion de la puissance 22
Pause 22
Commande Flex 22
Activation/désactivation du son 23
Suggestion de réglages pour la cuisson d'aliments spécifiques 23
Table de cuisson 24
Salissures legères 24
Salissures tenaces 24
Salissures spécifiques 25
Cadre de la table de cuisson (en option) 25
Pour éviter d'endommager votre apparéil 25
Questions fréquentes et dépannage 26
Assistance 27
Caracteristiques techniques 28
Zones de cuisson 28
Informations sur l'appareil 28
Utilisation de ce manuel
Avant d'utiliser votre apparéil, veuillez dire attentivement toutes les instructions duprésent manuel d'utilisation et notamment les consignes de sécurité figurant dans la section suivante. Conservez soigneusement ce manuel en vue d'une consultation ultérieure.
Remettez-le au nouveau propriétaire en cas de vente.
Les symboles suivants sont utilisés dans leprésent manuel d'utilisation :
A VERTISSEMENT
Risques ou manipulations dangereuses susceptibles d'entrainer des blessures graves, voire mortelles.
ATTENTION
Risques ou manipulations dangereuses susceptibles d'entrainer des blessures légères ou des dégats matériels.
ATTENTION
Afin de réduire les risques d'incendie, d'explosion, d'électrocution ou de blessures lors de l'utilisation de la table de cuisson, vous devez respecter ces règles de sécurité de base.
REMARQUE
Astuces utiles, conseils ou informations aidant les utilisateurs à manipuler l'appareil.
Nom du modele et numero de série
Le nom du modele et le numero de série apparaissent tous deux sur l'etiquette apposée en dessous de la base de la table de cuisson.
Pour pouvoir vous y reporter ultérieurement, mettez à l'écrit les informations fournies ou apposez l'étiquette produit supplémentaire (située en haut de l'appareil) sur la page actuelle.
Nom du modele
Numéro de série
Consignes de sécurité
Cet apparéil est conforme à toutes les normes techniques et de sécurité en vigueur. En tant que fabricant de cet apparéil, nous pensons toutefois qu'il relève de notre responsabiliser de vous familiariser avec les consignes de sécurité suivantes.
AVENTISSEMENT
Cet apparéil n'est pas conscience pour être utilisé par des personnes (y compris les enfants) dont les capacities physiques, sensorielles ou mentalles sont réduites, ou ayant une expérience et des connaissances insuffisantes sur le sujet, sauf si celles-ci sont sous la surveillance de la personne responsable de leur sécurité ou si cette dernière leur a expliqué comment utiliser l' apparéil.
Les enfants doivent rester sous la surveillance d'un adulte afin de s'assurer qu'ils ne jouent pas avec l'appareil.
Cet apparéil peut être utilisé par des enfants à partir de 8 ans et des personnes ayant des capacité physiques, sensorielles ou mentales réduites ou un manque d'expérience et de connaissances, uniquement s'il sont assistés ou si vous leur avez donné les instructions appropriées leur permettant de se servir de l' apparéil en toute sécurité et de comprendre les risques encourus. Les enfants ne doivent pas jouer avec l' apparéil. Le nettoyage et l'entretien de l' apparéil ne doivent pas été effectuels par un enfant sans surveillance.
Le dispositif de sectionnement doit être intégré dans le câblage fixe conformément aux règles de câblage.
Consignes de sécurité
Cet apparéil doit pouvoir être débranché de l'alimentation après installation. Pour que l' apparéil puisse être facilement débranché une fois en place, veillez à ce que la prise murale reste accessible ou faites poser un interrupteur sur le câblage fixe, conformément aux normes de câblage. Si le cordon d'alimentation est endommagé, il doit être replacé par le fabricant, son réparateur agrée ou par toute personne de qualification similaire afin d'éviter tout danger.
La méthode de fixation indiquée ne doit pas faire usage d'adhésifs car ces derniers ne sont pas considérés comme un moyen de fixation fiable.
AVERTISSEMENT: Si la surface est fendue, éteignez l'appareil afin d'éviter tout risque d'électrocution.
Cet apparéil devient très chaud pendant son utilisation. Prenez garde à ne pas toucher les éléments chauffants situés à l'intérieur de la table de cuisson.
AVERTISSEMENT : Les parties accessibles peuvent devenir très chaudespendant l'utilisation. Les enfants en bas âge doivent être tenus à l'écart.
Un nettoyeur vapeur ne doit pas etre utilise.
Les objets métalliques, tels que les couteaux, les fourchettes, les cuillères et les couvercles ne doivent pas être placés sur la surface de la table de cuisson car ils peuvent devenir chauds.
Après utilise, éteignez l'élement de la table de cuisson à l'aide de sa commande correspondante et ne vous fiez pas au détecteur de récipient. L'appareil n'est pas conscience pour être utilisé avec une minutesie extérieure ou une télécommande séparée.
ATTENTION: Le processus de cuisson doit être effectué sous surveillance. Un processus de cuisson rapide doit être sous surveillance continue.
L'appareil ne doit pas etre instalé derrière une porte décorative, afin d'éviter tout risque de surchauffe.
AVERTISSEMENT : L'appareil et ses pieces accessibles deviennent très chauds pendant l'utilisation. Prenez garde à ne pas toucher les éléments chauffants. Les enfants de moins de 8 ans ne doivent pas s'approcher de l'appareil s'ils sont sans surveillance.
AVERTISSEMENT : Une cuisson sans surveillance sur une table de cuisson avec de la matière grasse ou de l'huile peut s'avérer dangereuse et entrainer un incendie.
N'essayez JAMAIS d'éteindre un incendie avec de l'eau. Éteignez plutôt l'appareil puis couvrez la flamme, par exemple avec un couvercle ou une couverture anti-feu.
AVERTISSEMENT: Danger d'incendie: n'entreposez pas d'éléments sur les surfaces de cuisson.
AVERTISSEMENT : Utilisez uniquement les dosserets de table de cuisson concus par le fabricant de l'appareil de cuisson ou ceux indiqués par le fabricant de l'appareil dans les instructions d'utilisation selon ce qui convient, ou encore les dosserets de table de cuisson intégrés à l'appareil. L'utilisation de dosserets inadaptés peut provoquer des accidents.
Les surfaces sont susceptibles de devenir chaudes pendant l'utilisation.
4 Français
Cet apparéil peut être utilisé par des enfants à partir de 8 ans et des personnes ayant des capacities physiques, sensorielles ou mentales réduites ou un manque d'expérience et de connaissances, uniquement s'il sont assistés ou si vous leur avez donné les instructions appropriées leur permettant de se servir de l' apparéil en toute sécurité et de comprendre les risques encourus. Les enfants ne doivent pas journé avec l' apparéil. Le nettoyage et l'entretien par l'utilisateur de l' apparéil ne doit pas être effectuels par un enfant âgé de moins de 8 ans si celui-ci est sans surveillance.
Maintenez l'appareil et son cordon hors de la portée des enfants âgés de moins de 8 ans.
ATTENTION
Assurez-vous que cet apparéil est correctement installé et mis à la terre par un technicien qualifié.
L'entretien de cet apparéil doit impératifement être effectué par une main d'œuvre qualifiée. Des réparations effectuées par des personnes non qualifiées peuvent cause des blessures ou un grave dysfonctionnement. Si votre apparéil doit être réparé, veillez prendre contact avec le centre de service local. Le non respect de ces instructions peut provoquer des dommages et entraîner l'annulation de la garantie.
Les apparêls encastrés ne doivent être mis en marche qu'après avoir été installés dans un meuble et un lieu de travail conformes aux normes en vigueur. Cette mesure vise à éviter tout contact avec les composants électriques, conformément aux normes de sécurité en vigueur.
En cas de dysfonctionnement ou de détérioration (cassure, fêlore) de l'appareil :
éteignez toutes les zones de cuisson ;
debranche la table de cuisson de l'alimentation ; et
- prenez contact avec le centre de service local.
Si la table de cuisson se fend, éteignez l'appareil afin d'éviter tout risque d'électrocution. N'utilise pas la table de cuisson tant que la surface vitrée n'a pas été remplaçaée.
N'utilise pas la table de cuisson pour réchauffer du papier aluminium, des produits enveloppés dans du papier aluminium ou des produits surgelés emballés dans des recipients en aluminium.
Le liquide situé entre le fond du plat et la table de cuisson peut produit une pression de vapeur. Cela peut faire sauter le plat.
Assurez-vous toujours que la plaque chauffante et le fond du plat restent secs.
Les zones de cuisson deviennent très chaudes lorsqu'vous cuisinez.
Veillez à toujours tener l'appareil hors de portée des enfants en bas âge.
Conservez tous les matériaux d'emballage hors de portée des enfants : les matériaux d'emballageprésentent un danger pour les enfants.
Cet apparéil doit uniquement être utilisé pour la cuisson normale et la friture d'aliments dans le cadre d'un usage domestique. Il n'est pas consçu pour une'utilisation commerciale ou industrielle.
N'utilisez jamais la table de cuisson pour chauffer la piece.
Consignes de sécurité
Soyez prudent lorsque vous branchez des apparêls électriques sur une prise murale située à proximité de la table de cuisson. Le cable de raccordement au secteur ne doit pas entraîre en contact avec la table de cuisson.
Les huiles ou les matieres grasses surchauffees peuvent rapidement s'enflammer. Ne laissez jamais les éléments de surface sans surveillance pendant que vos alimentés cuisent dans de l'huile ou de la matière grasse (si vous cuisine des frites, par exemple).
Eteignez les zones de cuisson après les avoir utilisées.
Veillez à ce que les tableaux de commandes restent toujours propres et secs.
Ne posez jamais d'objets inflammables sur la table de cuisson ; vous risqueriez de provoquer un incendie.
Il existe un risque de brûlure si l'appareil est utilisé de manière imprudente.
Les câbles des apparciels électriques ne doivent pas entraîr en contact avec la surface chaude de la table de cuisson ou avec des ustensiles chauds. N'utilise pas la table de cuisson pour faire sécher des vêtements.
Les utilisateurs portant des stimulateurs ou des implants cardiaques actifs doivent maintainir une distance d'au moins 30 cm entre la partie supérieure de leur corps et les zones de cuisson à induction lorsque celles-ci sont allumées. En cas de doute, vous nezvez consulter le fabricant de votre apparéil ou votre médecin. (Modèle avec table de cuisson à induction uniquement)
Ne tentez pas de réparer, démonter ou modifier vous-même l'appareil.
Éteignez toujours votre apparéil avant de le nettoyer.
Respectez les consignes de nettoyage et d'entretien de la table de cuisson fournies dans ce manuel.
Empêchez vos animaux domestiques de s'approcher de l'appareil car ils peuvent monter sur les commandes de l'appareil et provoquer un dysfonctionnement.
Mise au rebut du matériel d'emballage
A VERTISSEMENT
L'ensemble du matériel utilisé pour emballer l'appareil est entièrement recyclable. Les éléments en papier et en mousse dure portent la mention appropriée. Veuillez jeter le matériel d'emballage et les apparciels usagés en respectant les normes de sécurité et l'environnement.
Mise au rebut appropriée de votre apparéil usage
A AVERTISSEMENT
Avant de vous débarrasser de votre apparéil usage, assurez-vous que celui-ci est juste inutilisable et qu'il ne représenté donc pas une source de danger. Pour cela, demandez à un technicien qualifié de débrancher l' apparéil de l'alimentation secteur et de retarder le cable de raccordement au secteur. L' apparéil ne doit pas être jeté avec les ordures menagères.
Renseignez-vous auprès du service de voirie de votre ville ou de votre mairie pour connaître les dates de ramassage et les sites de traitement des ordures menagères.
Les bons gestes de mise au rebut de ce produit (Déchets d'équipements électriques etlectroniques)


(Applicable aux pays disposant de systèmes de collecte séparés)
Ce symbole sur le produit, ses accessoires ou sa documentation indique que ni le produit, ni ses accessoires électroniques usagés (chargeur, casque audio, cable USB, etc.) ne peuvent être jetsés avec les autres déchets menagers. La mise au rebut incontrolée des déchets représentant des risques environnementaux et de santé publique, veuillez séparer vos produits et accessoires usagés des autres déchets. Vous favoriserez ainsi le recyclage de la matière qui les compose dans le cadre d'un développement durable.
Les particuliers sont invités à contacter le magasin leur ayant vendu le produit ou à se renseigner auprès des autorités locales pour connaître les procédures et les points de collecte de ces produits en vue de leur recyclage. Les entreprises et particuliers sont invités à contacter leurs fournisseurs et à consulter les conditions de leur contrat de vente. Ce produit et ses accessoires ne peuvent être jetés avec les autres déchets.
Pour obtenir des informations sur les engagements environnementaux de Samsung et sur les obligations réglementaires spécifiques à l'appareil (par ex. la réglementation REACH, DEEE et celle relative aux batteries), rendez-vous sur : samsung.com/uk/aboutsamsung/samsungelectronics/corporatecitizenship/data-corner.html
Installation de la table de cuisson
A VERTISSEMENT
L'installation et la mise à la terre du nouvel apparéil doivent impérativement être effectuees par du personnel qualifié.
Veuillez vous conformer à ces instructions. Tout dommage résultat d'une mauvaise installation ne sera pas couvert par la garantie.
Les caractéristiques techniques figurent à la fin du présence manuel.
Consignes de sécurité à l'attention de l'instantiateur
- L'installation électrique nécessite un dispositif permettant de couper cet apparéil du secteur sur tous les pôles avec une ouverture des contacts d'au moins 3 mm de large. Les dispositifs d'isolation suivants peuvent être utilisés : disjoncteurs, fusibles (les fusibles à vis doivent être retirés de leur support), disjoncteurs différentiels et contacteurs.
- En termes de protection incendie, cet appeareil correspond à la norme EN 60335-2-6. Ce type d'appareil peut être installé avec un placard en hauteur ou un mur sur l'un des ses côtés.
L'installation doit assurer une protection contre les chocs.
L'élement de cuisine dans lequel l'appareil est encastré doit être conforme à la norme DIN 68930 en matière de stabilité. - Afin d'assurer la protection contre l'humidité, toutes les zones coupées doivent être enduites d'un mastic d'étanchéité.
- Sur les surfaces carrelées, les joints de la zone sur laquelle repose la table de cuisson doivent être complètement jointoyés.
- Sur de la pierre naturelle ou artificielle ou des surfaces en ceramique, les ressorts à action rapide doivent être fixés à l'aide d'une résine artificielle ou d'un adhésif à deux composants approprié.
Assurez-vous que le joint est correctement positionné contre la surface de travail, sans aucun interstice. N'appliquez pas de mastic en silicone supplémentaire. En cas de réparation, le retrait serait plus difficile.
Pour retirer la table de cuisson, degagez-la en la soulevant par dessous. - Une planche peut être installée sous la table de cuisson.
L'interstice de ventilation entre la surface de travail et l'avant de l'élement situé sous la table ne doit pas être couvert.
Installation de la table de cuisson
Raccordement à l'alimentation secteur
Avant de brancher l'appareil, vérifie que la tension nominale de l'appareil (tension électrique indiquée sur la plaque signalétique) correspond à la tension d'alimentation disponible. La plaque signalétique est située sur le revêtement inférieur de la table de cuisson.
A VERTISSEMENT
Coupez l'alimentation du circuit avant de brancher des fils sur le circuit.
La tension électrique de l'objet chauffant est de 230 V CA~. Cet apparéil fonctionne également très bien sur des réseaux électriques de 220 V CA~ ou 240 V CA~. Le raccordement au réseau de la table de cuisson doit être effectué de manière à prévoir un coupe-circuit sur tous les pôles avec une ouverture des contacts d'au moins 3 mm de large (par ex : disjoncteur de ligne automatique, disjoncteur différentiel ou fusible).
A VERTISSEMENT
Les branchements de cables doivent être conformes aux normes en vigueur et les vis de borne correctement serrées.
AVERTISSEMENT
Une fois la table de cuisson raccordée à l'alimentation secteur, vérifie que toutes les zones de cuisson sont prêtes à être utilisées en les allumant brievement une par une et en les réglient sur la puissance maximale à l'aide d'ustensiles de cuisine appropriés.
A VERTISSEMENT
Pour éviter d'endommager les composants, vérifie bien (au niveau de la conformité) l'attribution phase et neutre des branchements de l'habitation et des apparèils (cf. schémas de câblage).
La garantie ne couvre�除 un dommage resultant d'une utilisation inappropriée.
A VERTISSEMENT
Si le cordon d'alimentation est endommagé, il doit être remplace par le fabricant, son réparateur agrée ou par toute personne de qualification similaire, afin d'éviter tout danger.

1N~ (32 A)
| 01 | De 220 à 240 V ~ | 04 | Bleu |
| 02 | Marron | 05 | Gris |
| 03 | Noir | 06 | Vert/Jaune |

2N~ (16 A): Séparez les fils biphasés (L1 et L2) avant de procédé au branchement.
| 01 | De 220 à 240 V ~ | 05 | Bleu |
| 02 | De 380 à 415 V ~ | 06 | Gris |
| 03 | Marron | 07 | Vert/Jaune |
| 04 | Noir |

2 x 1N~ (16 A): Sépárez les fils avant de procéder au branchement.
| 01 | De 220 à 240 V ~ | 05 | Noir |
| 02 | Marron | 06 | Gris |
| 03 | Bleu | 07 | Vert/Jaune |
| 04 | De 220 à 240 V ~ |
A VERTISSEMENT
Pour réaliser correctement le branchement de l'alimentation, veuillez suivre le schéma de câblage joint à proximité des bornes.
8 Français

Installation de l'appareil dans le plan de travail

A. Numéro de série
REMARQUE
Recopiez le numéro de série inscrit sur l'étiquette signalétique de l'appareil avant de procéder à l'installation. Ce numéro vous sera demandé si vous faites appel à un service de dépannage. Étant donné qu'il figure sur la plaque signalétique d'origine située sous l'appareil, vous ne pourrez plus y accéder après l'installation.

REMARQUE
Veillez à respecter scrupuleusement les indications relatives aux espaces et distances de sécurité minimums exigés.

REMARQUE
Le bas de la table de cuisson est équipé de d'un ventilateur. S'il y a un tiroir sous la table de cuisson, il ne doit pas être utilisé pour stocker des petits objets ou du papier. Ils poursaient endommager le ventilateur ou interférer avec le refroidissement s'ils sont aspirés à l'intérieur.

| N° | Explication | Dimensions |
| 01 | Hauteur de l'orifice de ventilation | Minimum 2 mm |
| 02 | Largeur de l'orifice de ventilation | 560 mm |



| N° | Explication | Dimensions |
| 01 | Vérifier les 4 points | |
| 02 | Diamètre de perçage | Ø 6 |
| 03 | Angle droit du point de coupe | 90° |
| 04 | Largeur de coupe | 560±1 mm |
| 05 | Profondeur de coupe | 490±1 mm |
| 06 | Taille de la courbe | R3 |
| 07 | Épaisseur de la table | Maximum 50 mm, Minimum 20 mm |
| 08 | Distance entre l'extrémité de la table et le point de coupe (arrière) | Minimum 60 mm |
| 09 | Profondeur de la table | Minimum 600 mm |
| 10 | Distance entre l'extrémité de la table et le point de coupe (côté gauche) | Minimum 60 mm |
| 11 | Distance entre l'extrémité de la table et le point de coupe (côté droit) | Minimum 60 mm |
| 12 | Distance entre l'extrémité de la table et le point de coupe (avant) | Minimum 50 mm |
Installation de la table de cuisson

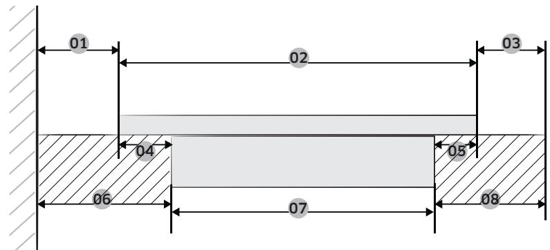
| N° | Explication | Dimensions |
| 01 | Distance entre le mur et la plaque à induction | Minimum 40 mm |
| 02 | Profondeur de la plaque à induction | 520 mm |
| 03 | Distance entre la plaque à induction et l'extrémité de la table | Minimum 40 mm |
| 04 | Distance entre la vitre et le brûleur de fond | 25 mm |
| 05 | Distance entre la vitre et le brûleur de fond | 15 mm |
| 06 | Distance entre le mur et le brûleur de fond | Minimum 60 mm |
| 07 | Profondeur du brûleur de fond | 480 mm |
| 08 | Distance entre le brûleur de fond et l'extrémité de la table | Minimum 50 mm |

| N° | Explication | Dimensions |
| 01 | Largeur de la ventilation arrêté | Minimum 550 mm |
| 02 | Hauteur de la ventilation arrêté | Minimum 35 mm |
| 03 | Profondeur du passage du cordon d'alimentation | Maximum 65 mm |
| 04 | Largeur du passage du cordon d'alimentation | Maximum 100 mm |
| 05 | Hauteur du panneau latté | Minimum 5 mm |

| N° | Explication | Dimensions |
| 01 | Dimensions de la ventilation | Minimum 20 mm |
| 02 | Minimum 2 mm | |
| 03 | Minimum 20 mm |
10 Français
Pièces et caractéristiques



Zones de cuisson
| 01 | Zone à induction Flex zone Plus (3300 W) avec le réglage Pleine puissance (3600 W) |
| 02 | Zone de cuisson à induction (1400 W) avec le réglage Pleine puissance (2000 W) |
| 03 | Zone de cuisson à induction (2200 W) avec le réglage Pleine puissance (3200 W) |
| 04 | Tableau de commande |
Pièces et caractéristiques

Tableau de commande
| 01 | Capteur de la commande Marche/Arrêt |
| 02 | Capteur de la zone Flex zone Plus |
| 03 | Témoins de réglage de la température et de la chaleur résiduelle |
| 04 | Capteur de zone de cuisson |
| 05 | Capteur de la fonction Maintien au chaud |
| 06 | Capteur de réglage de la minuterie etvoyant (Baisser la durée) |
| 07 | Capteur de réglage de la minuterie (Augmenter la durée) |
| 08 | Capteur de la commande de verrouillage |
| 09 | Capteur de réglage de la température |
| 10 | Capteur de la fonction Pause avant départ |
Composants

Table de cuisson à induction

Ressort du support
Chauffage par induction

A. Bobine à induction
B. Courants induits
C. Circuits électroniques
Le principe du chauffage par induction : lorsque vous placez vos reçipiens sur une zone de cuisson et que vous l'allumez, les circuits électroniques de votre table de cuisson à induction produit des "courants induits" dans le fond des récipiens, ce qui augmente instantanément leur température.
- Une vitesse de cuisson et de friture plus élevé: étant donné que la casserole est chauffée directement et non le verre, l'efficacité est plus grande que dans d'autres systèmes car il n'y pas de perte de chaleur. La plupart de l'énergie absorbée est transformée en chaleur.
12 Français
Principales caractéristiques de l'appareil
Surface de cuisson en vitrocéramique : la table de cuisson possède des zones de cuisson en ceramique très reactives.
- Capteurs de commande tactile : l'appareil fonctionne à l'aide de capteurs de commande tactile.
- Nettoyage facile : La table de cuisson plate en vitrocéramique offre un nettoyage facile.
- Capteur de la commande Marche/Arrêt : le capteur de la commande « Marche/Arrêt » permet d'équiper l'appareil d'un interrupteur secteur séparé. En touchant ce capteur, vous pouvezmettre en marche ou couper l'alimentation entièrement.
Voyants de commande et de fonction : l'affichage numérique et les témoin lumineux fournissant des informations sur les réglages et les fonctions activées, ainsi que sur la présence de chaleur résiduelle sur les différentes zones de cuisson.
Dispositif d'arrêt de sécurité : un dispositif d'arrêt de sécurité permet d'éteindre automatiquement les zones de ciisson après un intervalle de temps déterminé si chaque réglage n'est modifié.
- Pleine puissance P : utilisez cette fonction pourCHAuffer le contenu du récipient plus vite qu'avec la puissance maximale 15. (L'écran affiche P.)
- Détection automatique de récipient : chaque zone de cuisson compte un système de détction automatique de récipient. Ce système est régé de manière à reconnaître les casseroles dont le diamètre est légèrement inférieur à celui de la zone de cuisson. Les récipients doivent toujours être placés au centre de chaque zone de cuisson. Utilisez toujours des ustensiles appropriés.
-
Affichage numérique :
-
paramètres de chauffage sélectionnés à l'et P
- H chaleur résiduelle (Maintien au chaud)
chaleur résiduelle
L sécurité enfants activée
message : le capteur tactile n'a pas ete touche depuis plus de 8 secondes. - message [ɪː] : la plaque de cuisson est surchauffée en raison d'un dysfonctionnement. (exampie : utilisation avec un récipient vide)
-
U: le récipient utilisé est inadapté ou trop petit ouaucun récipient n' a été placé sur la zone de cuisson.
-
Maintien au chaud : utilisez cette fonction pour maintainir des alimentés cuisine s au chaud. L'écran affiche «L»,
- Pause : utilisez cette fonction pour passer toutes les zones de cuisson en faible puissance. (exampie : pour répondre au téléphone) L'écran affiche 2.
- Capteur de la zone Flex zone Plus : cette fonction permet d'endetre la zone de cuisson à toute la partie gauche.
Zone Flex zone Plus : la zone Flex zone Plus est grande, rectangulaire et compte pour cuisiner plusieurs plats. - Arrêt rapide : cette option permet de réduire le temps nécessaire pour arrêter la cuisson en appuyant une seule fois.
Pièces et caractéristiques
Dispositif d'arrêt de sécurité
Si l'une des zones de cuisson n'a pas ete eeteinte et que la chaleur n'a pas ete reglee apres un long intervalle de temps, cette zone de cuisson specifice s'eteint automatiquement.
Toute presence de chaleur résiduelle est signalée par la dette H, h (pour
« chaud ») sur l'affichage numérique correspondant aux zones de cuisson en question. Les zones de cuisson s'éteignent automatiquement après les intervalles de temps suivants :
| Réglage de la température | Extinction |
| De 1 à 3 | Après 6 heures |
| De 4 à 6 | Après 5 heures |
| De 7 à 9 | Après 4 heures |
| De 10 à 15 | Après 1,5 heures |

REMARQUE
Si la table de cuisson est surchauffee en raison d'un dysfonctionnement, [ ] s'affiche et l'appareil s'eteint.

REMARQUE
Si le récipient utilisé est inadapté ou trop petit ou siaucun récipient n'a été place sur la zone de cuisson, s'affiche.
Après 1 minute, la zone de cuisson correspondante s'éteint.

REMARQUE
Si une ou plusieurs zones de cuisson venaient à s'éteindre avant la durée indiquée, reportez-vous à la section « Dépannage »
Autres motifs pour lesquels une zone de cuisson peut s'eteindre
Toutes les zones de cuisson s'eteignent si un liquide en ébullition déborde et entre en contact avec le tableau de commande.
Le dispositif d'arrêt automatique est également activé si vous posez un chiffon mouillé sur le tableau de commande. Dans les deux cas, l'appareil doit être rallumé à l'aide du capteur de la commande Marche/Arrêt ① principale une fois le liquide essuyé ou le chiffon retire.
Zone Flex zone Plus

La Zone Flex zone est la grande surface de cuisson située sur le côté gauche de la table de cuisson (reportez-vous à l'illustration ci-dessous). Elle est spécialementisée pour accueillir simultanément plusieurs casseroles et poèles de formes et tailles variables. La Zone Flex zone possède quatre zones qui sont actionnées par des inducteurs individuels, ce qui vous permet de cusiner peu importe l'endetroit où le récipient est posé sur une zone de cuisson.
Avec Zone Flex zone Plus, vous pouvez utiliser une combinaison de zones de cuisson différentes afin d'agrandir la surface de cuisson. Reportez-vous au tableau ci-dessous pour connaître le capteur correspondant à toucher pour activer les différentes combinaisons.
Lorsque vous utilisez une seule zone de cuisson, le diametre du fond du récipient doit être inférieur à 14 cm.
Il peut falloir 5 à 10 secondes à la table de cuisson pour reconnaître la position du recipient.
- Des bruits peuvent être émis lorsque la table de cuisson reconnaît le écipient.
- Ne retirez pas le récipient pendant la cuisson. Pour des questions de sécurité, la table de cuisson s'arrête automatiquement si le récipient a été retirependant plus de 5 secondes.
Témoin de chaleur résiduelle
Lorsque l'une des zones de cuisson ou toute la table est eteinte, la presence de chaleur résiduelle est signalee par H, (pour « chaud ») sur I'affichage numérique des zones de cuisson en question. Meme une fois la zone de cuisson eteinte, le témoin de chaleur résiduelle reste affiché jusqu'à ce que la zone ait complètement refroidi.
Vou pouvez utiliser cette chaleur résiduelle pour conserver au chaud ou décongeler des alimentés.
A VERTISSEMENT
Le risque de brûlure subsiste tant que le témoin de chaleur résiduelle reste allumé.
A VERTISSEMENT
Si l'appareil est mis hors tension, le symbole H. disparaît et les informations relatives à la chaleur résiduelle ne sont plus visibles.
Vous risquez néanmoins toujours de vous brûler. Afin d'éviter tout accident, soyez toujours prudent lorsque vous vous trouvez à proximité de la table de cuisson.
Détection de la température
Si pour une quelconque raison la température de l'une des zones de cuisson vient à dépasser les niveaux de sécurité, la température de la zone de cuisson se règle automatiquement sur un niveau de puissance inférieur.
Après l'utilisation de la table de cuisson, le ventilateur de refroidissement continue à fonctionner jusqu'à ce que les éléments électroniques de la table de cuisson aient refroidi. Le ventilateur de refroidissement s'est automatiquement en fonction de la température des éléments électroniques.
Utilisation de la table de cuisson
Premier nettoyage
Nettoyez la surface en vitrocéramique à l'aide d'un chiffon humide et d'un nettoyant spécifique concu pour ce type de surface.
A VERTISSEMENT
N'utilisez jamais de nettoyants corrosifs ou abrasifs. Vous risqueriez d'endommager la surface.
Récipients pour les zones de cuisson à induction
La table de cuisson à induction ne peut être allumée que lorsqu'un récipient à base magnétique est place sur l'une des zones de cuisson. Vous pouvez utiliser les récipients adaptés suivants.
Matériau des récipiens
| Matériau des recipients | Adapté |
| Acier, acier émaillé | Oui |
| Fonte | Oui |
| Acier inoxydable | Si recommendé par le fabricant sur l'étiquette |
| Aluminium, cuivre, laiton | Non |
| Verre, céramique, porcelain | Non |
REMARQUE
Les récipiens adaptés à une table de cuisson à induction sont étiquetés comme tel par le fabricant.
REMARQUE
Lorsqu'il est utilisé sur des zones de cuisson à induction, le récipient peut émettre des bruits. Ceci est normal.
REMARQUE
Les récipients qui ne sont pas en inox sont une moins bonne conductibilité thermique que ceux en inox. Utiliser des récipients qui ne sont pas en inox allonge le temps de cuisson.
Utilisation de la table de cuisson
Test d'aptitude à l'emploi

Les récipients adaptés à la cuisson par induction possèdent un fond magnétique (faites le test avec un aimant) et sont étiquétés comme étant adaptés à ce type de cuisson par le fabricant du récipient.

REMARQUE
La cuisson par induction peut ne pas fonctionner correctement avec des récipients non ferreux dont le bord ne colle pas à l'aimant ou avec des récipients non ferreux dont le fond possède un revêtement en fer.
Taille des recipients
Les zones de cuisson à induction s'adaptent automatiquement à la taille du fond du écipient jusqu'à une certaine limite. Cependant, la partie magnétique du fond du écipient doit avoir un diamètre minimal correspondant à la taille de la zone de cuisson.
| Zones de cuisson | Diamètre minimal du fond du écipient |
| Brûleur arrière droit (145 mm) | 100 mm |
| Brûleur avant droit (210 mm) | 140 mm |
| Zone Flex zone Plus avant ou arrière | 140 mm |
| Zone Flex zone Plus | 240 mm (dimension dans la longueur), zone de cuisson ovale, poissonnière |
Bruits de fonctionnement
Il se peut que vous entendiez :
Craquement : le recipient est constitué de matérieliaux différents.
- Sifflement : vous utilisez plus de deux zones de cuisson et le écipient est constitué de matérieliaux différents.
- Souffle : vous utilisez des niveaux de puissance élevés.
- Cliquetis : une commutation électrique se produit.
Sifflement, bourdonnement : le ventilateur est en marche.
Ces bruits sont normaux et ne traduisent pas un dysfonctionnement.
A VERTISSEMENT
N'utilise pas de recipients de taille et de matériel differeents.
Utiliser des recipients de tailles ou matériaux différent(e)s peut entrainer
l'émission de bruits et de vibrations.
REMARQUE
Utiliser des niveaux de puissance faibles (de 1 à 5) peut provoquer l'émission de cliquetis.
Utilisation de récipients adaptations
Les mêleurs récipients donnent un résultat optimal.
- On reconnaît un bon récipient à son fond. Celui-ci doit être le plus écais et plat possible.
- Vérifiez le diamètre du fond du récipient lors de l'achat de nouveaux récipients. Les fabricants ne mentionnent souvent que le diamètre du bord supérieur du récipient.
- N'utilise pas de récipiens dont le fond est endommagé (ex : bords rugieux, Bavures). Des rayures permanentes peuvent apparaitre si vous faites glisser ces récipiens sur la surface de la table.
- À froid, les fonds des membres sont en général légèrement bombés vers l'intérieur (concaves). Ils ne doivent en�除 un cas être bombés vers l'extérieur (convexes).
- Si vous souhaitez utiliser un type spécifique de récipient (ex : autocuiseur, mischiefur ou wok), veuillez suivre les instructions du fabricant.
Conseils pour economiser de l'énergie

REMARQUE
Vou puez très facilement réaliser deséconomies d'énergie non négligeables enobservant les points suivants :
- Placez toujours les casseroles et les poèles sur la zone de cuisson avant de l'allumer.
- Des zones de cuisson et des fonds de recipients sales augmentent la consommation d'énergie.
Recouvrez si possible les cassetoles et poèles d'un couvercle. - Éteignez les zones de cuisson avant la fin de la cuisson afin d'utiliser la chaleur résiduelle pour conserver au chaud ou décongeler des alimentés.
REMARQUE

N'utilisez pas un même réseau sur les deux zones de cuisson gauche et droite.
Utilisation des capteurs de commande tactile
Si vous souhaitez utiliser les capteurs de commande tactile, touchez du bout de votre doigt le panneau de votrechioix jusqu'à ce que levoyant correspondant s'allume/s'éteigne ou jusqu'à ce que la fonction souhaitee s'active.
Assurez-vous de ne toucher qu'un seul panneau à capteur lorsque vous utilisez l'appareil. Si vous appuyez du plat de votre doigt sur le panneau, vous risquez d'actionner également le capteur adjacent.
Mise sous tension de l'appareil

L'appareil peut être mis sous tension à l'aide du capteur de la commande Marche/Arrêt ①.
Touchez le capteur de la commande Marche/Arrêt ① pendant environ
1 à 2 secondes.
L'affichage numérique affiche
REMARQUE
Une fois l'appareil allumé à l'aide du capteur de la commande Marche/Arrêt ①, vous avez environ 20 secondes pour sélectionner un réglage de température. Sans quoi, pour des raisons de sécurité, l'appareil s'éteint automatiquement.
Utilisation de la table de cuisson
Sélectionnez la zone de cuisson et le réglage de la température.

- Pour selectionner la zone de cuisson, touchez le capteur correspondant à la zone de cuisson souhaitée.

- Pour régler et ajuster le niveau de puissance, touchez le capteur de réglage de la température.
REMARQUE
Le niveau par défaut est régle sur 15 lors de la seLECTION de la zone de cuisson.
REMARQUE
Si vous appuyez sur plusieurs capteurs pendant plus de 8 secondes, d'apparait sur l'affichage des réglages de température.
Mise hors tension de l'appareil

Vou puez mettre l'appareil entierement hors tension en utilisant le capteur de la commande Marche/Arret ①.
Touchez le capteur de la commande
Marche/Arrêt ① pendant environ
1 à 2 secondes.
REMARQUE
Après avoir mis l'une des zones de cuisson ou toute la surface de cuisson hors tension, la présence de chaleur résiduelle au niveau des zones concernées est signalée sur l'affichage numérique sous la forme de H, H (pour « chaud »). La température est réduite et H, H disparait.
Arrêt rapide

Pourmettreunezonedecuissonhors tension,appuyezsurlecapteurde la zone de cuisson en question pendant 2 secondes.
REMARQUE
Le capteur de la zone Flex zone Plus ne prend pas en charge la fonction d'arrêt rapide.
Utilisation de la sécurité enfants
La sécurité enfants permet d'eviter une mise sous tension accidentelle d'une zone de cuisson et donc l'activation de la surface de cuisson. Vous pouvez également verrouiller le tableau de commande (à l'exception du capteur de la commande Marche/Arrêt ① que vous ne pouvez qu'éteindre) afin d'eviter toute modification accidentelle des réglages, par exemple en essuyant le panneau avec un chiffon.
Activation/Désactivation de la sécurité enfants

- Touchez le capteur de la commande Verrouillage pendant environ 3 secondes. Un signal sonore de confirmation retentit.

- Touchez n'importe quel capteur de commande. L s'affiche sur l'affichage, indiquant que la sécurité enfants a ete activee.
- Pour désactiver la sécurité enfants, touchez à nouveau le capteur de la commande Verrouillage pendant 3 secondes. Un signal sonore de confirmation retentit.
REMARQUE
Que l'appareil soit sous/hors tension, la sécurité enfants est activée.
REMARQUE
VoussupportezutiliserlacommandeVerrouillagependantlacuisson. Danscecas,poureteindrebruleur,vousdevezdésactiverleverrouillageoumettre l'appareil hors tension.
Minuterie (Baisser la durée)
Utiliser la minuterie comme dispositif d'arrêt de sécurité :
Si une durée spécifique est régée pour une zone de cuisson, celle-ci s'est int automatiquement une fois la durée écoulée. Cette fonction peut être utilisée simultanément pour plusieurs zones de cuisson.
Réglage du dispositif d'arrêt de sécurité
La ou les zones de cuisson pour lesquelles vous souhaitez appliquer le dispositif d'arrêt de sécurité doivent être allumées.

- Une fois allumée, appuyez sur la zone de cuisson correspondante pour activer le signal flash sur l'affichage de la zone de cuisson correspondante.

- Appuyez sur le capteur de la commande Minuterie ① . Le nombre 10 apparait au-dessus de l'affichage de la minuterie.
REMARQUE
Le réglage par défaut de la minuterie est 10.

- Utilisez le capteur de réglage de la minuteur (+ ou —) pour régler la durée souhaitée, par exemple 15 minutes, après laquelle la zone de cuisson s'eteindra automatiquement. Le dispositif d'arrêt de sécurité est à présent activé.
REMARQUE
La minuterie peut etre reglee de 1 a 99.
Utilisation de la table de cuisson

- Pour annuler les régles de la minuterie, sélectionnez le brûleur concerné et maintenez le capteur de la commande Minuterie 口 enforcé pendant 2 secondes. Cela annule les régles de la minuterie du brûleur avec l'émission d'un signal sonore. Si vous maintainez le capteur de la commande Minuterie 口 enforcé pendant 2 secondes sans sélectionner de brûleur, cela annule les régles de la minuterie du dernier brûleur modifié.
Si vous souhaitez afficher la durée restante pour l'une des zones de cuisson, utilisez le capteur de la commande Minuterie ① , après avoir sélectionné un brûleur.
Le témoin de la commande correspondante commence alors à clignoter lentement.
Les réglages sont réinitialisés à l'aide du capteur de réglage de la minuterie (+ ou —). Une fois la durée spécifiée écoulée, la zone de cuisson s'eteint automatiquement; un signal sonore de confirmation retentit et le témoin de la minuterie s'affiche.
REMARQUE
Pour modifier plus rapidement les réglages, maintenez l'un des capteurs de commande + ou — enforcé, jusqu'à ce que la valeur souhaitation s'affiche.
Minuterie (Augmenter la durée)
Pour pouvoir augmenter la durée de la minuterie, vous doivent allumer l'appareil, mais aucune zone de cuisson ne doit utiliser la minuterie comme dispositif d'arrêt de sécurité.

-
Touchez le capteur de la commande Minuterie ①.
② apparaît sur l'affichage de la minuterie. -
La fonction permettant d'augmenter la durée de la minuterie devient active et les nombres sur l'affichage augmentent au fur et à mesure. Pour annuler les réglages de la minuterie, maintenez le capteur de la commande Minuterie ① enforcé pendant 2 secondes.
-
Pour arrêté la minuterie, touche le capteur de la commande Minuterie
20 Frangois
Utilisation de la fonction maintain en chaud



- Utilisez cette fonction pour maintainir des alimentés cuisinés au chaud. Touchez le capteur de la zone de cuisson correspondante.
- Touchez le capteur de la fonction Maintien au chaud
- L'affichage du brûleur change. Touchez à nouveau pour éteindre le brûleur.
Commande de la fonction Pleine puissance
La fonction Pleine puissance P permet d'augmenter la puissance de chacune des zones de cuisson. (exemple : porter à ébullition un grand volume d'eau)
| Zones de cuisson | Temps maximal à pleine puissance |
| 145 mm | 10 min |
| 210 mm | 10 min |
| Zone Flex Plus (avant ou arrière) | 10 min |
| Zone Flex Plus (complète) | 5 min |
Une fois cette durée écoulée, les zones de cuisson reviennent automatiquement au niveau de puissance 15.
REMARQUE
Dans certaines circonstances, la fonction Pleine puissance peut etre désactivée automatiquement afin de proteger les composants electroniques internes de la table de cuisson.
Par exemple, il n'est pas possible d'émettre la puissance maximale simultanément sur la partie avant et la partie arrière de la zone Flex zone.
Utilisation de la table de cuisson
Gestion de la puissance
Chaque zone de cuisson dispose d'une puissance maximale qui lui est propre. Si la plage de puissance est dépassée lors de l'activation de la fonction Pleine puissance P, le dispositif de gestion de la puissance réduit automatiquement le réglage de température de la zone de cuisson.

1 et 2 sont jumeles
3 et 4 sont jumelezes
Le témoin de cette zone de cuisson
alterne pendant quelques secondes entre
la température actulement régée et la
température maximale autorisée.
Le témoin passe ensuite de la température
réglée à la température maximale possible
Pause
La fonction Pause permute simultanément toutes les zones de cuisson actuellément sous tension sur le réglage de faible puissance, puis à nouveau sur le réglage de température qui était régle précédemment. Cette fonction peut être utilisée pour interrompree brièvement puis poursuivre le processus de cuisson (par exemple pour prendre un appel téléphonique).
Lorsque la fonction Pause est activée, tous les capteurs tactiles sont déactivés, sauf les capteurs des commandes Pause , Verrouillage et Marche/Arrêt ①. Touchez à nouveau sur le capteur de la commande Pause pour reprendre la cuisson.
| Tableau de commande | Affichage | |
| Pourmettreetous tension | Appuyez surPause ▷∥ | € |
| Pourmettreet hors tension | Appuyez surPause ▷∥ | Revenir au niveau de puissance précédenti |
Commande Flex
La fonction Flex permet d'activer toute la zone de cuisson de gauche afin d'utiliser un écipient de grande taille. (exemple : écipient ovale, poissonnière)

- Touchez le capteur Zone Flex zone Plus

- Pour régler et ajuster le niveau de puissance, touchez le capteur de réglage de la température.

REMARQUE
- Si vous touchez le capteur Zone Flex zone Plus pendant l'utilisation, la fonction Zone Flex zone Plus sera désactivée.
- Si vous touchez le capteur Zone Flex zone Plus alors que tous les brûleurs fonctionnent à des niveaux différents, les brûleurs sont régles à un niveau élevé.
- Si vous touchez le capteur Zone Flex zone Plus alors que la Zone Flex zone est en marche, cette dernière s'est.
Lorsque vous déplacez ou ajoutez un réseau sur une nouvelle Zone Flex zone Plus, annulez l'opération en cours, puis appuyez sur le capteur correspondant pour activer la zone de cuisson.
22 Frangois
Activation/désactivation du son

- Touchez le capteur de la commande Marche/Arrêt ① pendant environ 1 à 2 secondes.

- 10 secondes après la mise sous tension, touchez le capteur de la commande Pause pendant 3 secondes.

- Le son est désactivé et DF apparait à l'écran.

- Pour changer le réglage du son, recommencez la procédure n^1 et n^2 . Le son est activé et apparaît à l'écran.
REMARQUE
Après la mise sous tension, vous ne pouvez pas utiliser la commande d'activation/désactivation du son après 10 secondes.
Suggestion de réglages pour la cuisson d'aliments spécifique
Les chiffres répertoriés dans le tableau ci-dessous sont disponibles à titre indicatif. Les régliages de température requis pour les différentes méthodes de cuisson dépendant de plusieurs variables, notamment la qualité du recipient utilisé et le type et la quantité des alimentés à faire cuire.
| Changer de réglage | Méthode de cuisson | Exemples d'utilisation |
| De 14 à 15 | Faire réchauffer Faire sauter Faire frire | Faire chauffer de grandes quantités de liquide, faire bouillir des pâtes, saisir de la viande, faire dorer du goulache, braiser de la viande |
| De 8 à 11 | Intensive Faire frire | Bifteck, aloyau, pommes de terre rissolées, crépes |
| De 7 à 10 | Faire frire | Escalope / côtelettes, foie, poisson, rissole, œurs au plat |
| De 5 à 7 | Faire bouillir | Faire cuire jusqu'à 1,5 l de liquide, des pommes de terre, des légumes |
| De 2 à 4 | Faire cuire à la vapeur Faire moyen Faire bouillir | Cuire à la vapeur et faire moyen de petites quantités de légumes, faire bouillir du riz et des laitages |
| De 1 à 2 | Faire fondre | Faire fondre du beurre ou du chocolat, dissoudre de la gelatine |
REMARQUE
Les réglages de température indiqués dans le tableau ci-dessus sont fournis à titre indicatif.
REMARQUE
Les réglages de température devront être adaptations en fonction du réseau et des alimentés spécifique.
Nettoyage et entretien
Table de cuisson
A VERTISSEMENT
N'appliquez aucun produit de nettoyage sur la surface en vitrocéramique lorsque celle-ci est chaude. Tous les produits de nettoyage doivent être retirés avec des quantités d'eau claire appropriées après le nettoyage, car ils peuvent avoir un effet corrosif lorsque la surface devient chaude. N'utilise aucun produit de nettoyage agressif (ex.: décapants pour grils ou jours, éponges à récurer ou produits vaisselle abrasifs).
REMARQUE
Après chaque utilisation, attendez que la surface vitrocéramique refroidisse légèrement avant de la nettoyer. Cela permet d'éviter que les éventuelles projections ne brûlent sur la surface. S'il y a lieu, retirez les traces de tartre, d'eau, de graisse et de décoloration métallique à l'aide d'un produit de nettoyage spécifique concu pour la vitrocéramique ou l'acier inoxydable (disponible dans le commerce).
Salissures légères
- Nettoyez la surface en vitrocéramique à l'aide d'un chiffon humide.
- Essuyez-la à l'aide d'un chiffon propre. Il ne doit rester aucune trace de produit de nettoyage sur la surface.
- Nettoyez soigneusement la surface de cuisson en vitrocéramique dans son intégralité une fois par这段时间, à l'aide d'un produit spécifique concu pour la vitrocéramique ou l'acier inoxydable (disponible dans le commerce).
- Essuyez la surface en vitrocéramique à l'eau claire (attention aux quantités) et essuyez-la à l'aide d'un chiffon propre et sec qui ne peluche pas.
Salissures tenaces

- Utilisez un gratoir pour surfaces en verre afin dePTRirer les traces laissees par les débordements d'aliments pendant la cuisson ou les taches tenaces.
- Inclinez légèrement le grattoir pour surfaces en verre sur la surface en vitrocéramique.
- Retirez les salissures en gratant avec la lame.
REMARQUE
Les grattoirs pour surfaces en verre et les produits de nettoyage pour vitrocéramique sont disponibles auprès de détaillants spécialisés.
24 François
Salissures spécifiques

- Enlevez immédiatement les traces de sucre brûlé, de plastique fondu, d'aluminium ou de tout autre matériel à l'aide d'un grattoir pour surfaces en verre lorsqu'elles sont encore chaudes.
A VERTISSEMENT
Faites attention à ne pas vous brûler lorsque vous utilisez le gratoir pour surfaces en verre sur une zone de cuisson chaude.
2. Nettoyez le table de cuisson comme d'habitude une fois celle-ci refroidie. Si vous laissez refroidir une zone de cuisson sur laquelle un produit a fondu, faites-la chauffer à nouveau avant de la nettoyer.
REMARQUE
Les rayures ou taches sombres sur la surface en vitrocéramique causées, par exemple, par les bords tranchants d'un récipient ne peuvent pas être enlevées. Ces taches n'entravent cependant pas le bon fonctionnement de la table de cuisson.
Cadre de la table de cuisson (en option)
A VERTISSEMENT
N'utilisez jamais de vinaigre, jus de citron ou détartrant pour nettoyer le cadre de la table de cuisson. Des taches sommes risqueraient d'apparaître.
- Essuyez le cadre à l'aide d'un chiffon mouillé.
- Humidifiez légèrement les taches ayant séché à l'aide d'un chiffon humide. Essuyez et séchéz bien.
Pour éviter d'endommager votre apparéil
- N'utilise pas la table de cuisson comme plan de travail ou pour y entreposer des objets.
- N'utilise pas une zone de cuisson si aucun récipient n'y est posé ou si le récipient est vide.
La vitrocéramique est très solide et résistance aux écarts de température. Elle n'est cependant pas incassable. Elle peut être endommagée lorsqu'un objet particulièrement pointu ou lourd tombe sur la table de cuisson. - Ne placez pas de recipients sur le cadre de la table de cuisson. Vous risqueriesz de rayer ou d'endommager la finition.
- Évitez de répandre des liquides acides (ex.: vinaigre, jus de citron ou détartrant) sur le cadre de la table de cuisson. Des taches sommes pourraient se former.
- Si du sucre ou une préparation à base de sucre entre en contact avec une zone de cuisson chaude et fond, nettoyez immédiatement la table à l'aide d'un gratoir de cuisine tant que celle-ci est encore chaude. Si vous la laissez refroidir, vous risquez d'endommager la surface en la nettoyant.
- Ne laïsez pas d'objets ou produits susceptibles de fondre (ex.: plastique, papier-aluminium ou papier sulfurisé) entre en contact avec la surface en vitrocéramique. Si un produit de cette nature fond sur la table de cuisson, retirez-le immédiatement à l'aide d'un gratoir.
Garantie et assistance
Questions fréquentes et dépannage
Une mauvaise utilisation peut entrainer de légers dysfonctionnements. Pour y remodelier, suivez les instructions ci-dessous. Ne tentez pas de réparer vous-même la table si les instructions suivantes s'avèrent inopérantes.

AVERTISSEMENT
Les réparations de l'appareil doiventIMPériativement êtreeffectueesuniquement par un réparateur qualifié.Des réparations mal réalisées peuvent faire courir de graves dangers à l'utilisateur. Si vous appleil nécessite des réparations, veuillez prendre contact avec le service après-vente.
| Problème | Cause possible | Solution |
| Que doit je faire si les zones de cuisson ne fonctionnent pas? | • Les fusibles de l'installation électrique du domicile sont intacts. | • Si les fusibles sautent de manière répétée, appelez un électricien/agréé. |
| Que doit je faire si les zones de cuisson ne s'allument pas? | • Le capteur de la commande Marche/Arrêt a été actionnée accidentellement. • Le tableau de commande est partiellement recouvert d'un chiffon mouillé ou de liquide. | • L'appareil est correctement mis sous tension. • Nettoyez le tableau de commande. |
| Que doit je faire si l'affichage, hormis pour le témoin de chaleur résiduelle H, H, s'éteint soudainement? | • Le capteur de la commande Marche/Arrêt a été actionnée accidentellement. • Le tableau de commande est partiellement recouvert d'un chiffon mouillé ou de liquide. | • L'appareil est correctement mis sous tension. • Nettoyez le tableau de commande. |
| Que doit je faire si, une fois les zones de cuisson éteintes, le témoin de chaleur résiduelle ne s'allume pas sur l'affichage? | • La zone de cuisson n'a été que brièvement utilisée et n'est donc pas devenue suffisamment chaude. | • Si la zone de cuisson est chaude, veuillez appeler un centre de service local. |
| Code d'information | Cause possible | Solution |
| C0 | Vérifiez le capteur de la commande Cuisson automatique. | Redémarrez l'appareil en utilisant le bouton Power (Marche/Arrêt). Si le problème persiste, débranchez l'alimentation pendant plus de 30 secondes. Ensuite, redémarrez l'appareil et réessayez. Si le problème persiste, prenez contact avec un centre de service local. |
| C1 | La température détectée est supérieure à celle spécifiée. | |
| C2 | Vérifiez le capteur de la commande Cuisson automatique. | |
| A2 | Le moteur CC ne fonctionne pas à cause de problèmes avec la carte de circuit imprimé ou le câblage, ou en raison de perturbations électriques sur la lame du moteur. | |
| d0 | You've appuyé sur le capteur pendant plus de 8 secondes. | Vérifiez si le pavé du capteur est mouillé ou actionné. Si le problème persiste, redémarrez l'appareil à l'aide du bouton Power (Marche/Arrêt). Si le problème persiste, prenez contact avec un centre de service local. |
| F0 | Les communications entre la carte de circuit imprimé principale et secondaire échéouent. | Redémarrez l'appareil en utilisant le bouton Marche/Arrêt Si le problème persiste, débranchez l'alimentation pendant plus de 30 secondes. Ensuite, redémarrez l'appareil. Si le problème persiste, prenez contact avec un centre de service local. |
| F2 | Le CI tactile communique de façon anormale. |
Que doit je faire si la zone de cuisson ne s'allume pas ou ne s'éteint pas?
Cela peut être la conséquence de l'une des situations suivantes :
Le tableau de commande est partiellement recouvert d'un chiffon mouillé ou de liquide.
La sécurité enfants est activée et « L » s'affiche.
Que doit je faire si I'affichage s'allume?
Vérifiez les points suivants :
Le tableau de commande est partiellement recouvert d'un chiffon mouillé ou de liquide.
Appuyez sur le capteur de la commande Marche/Arrêt pour réinitialiser les réglages.
Si du liquide a débordé sur le tableau de commande, essuyez-le.
Que doit je faire si I'affichage [I s'allume ?
Vérifiez les points suivants :
La table de cuisson surchauffe à cause d'un dysfonctionnement.
- Àprous le refroidissement de la table de cuisson, appuyez sur le capteur de la commande Marche/Arrêt pour réinitialiser les réglages.
Que doit je faire si I'affichage sallume?
Vérifiez les points suivants :
Le récipient utilisé est inadapté ou trop petit ouaucun récipient n'ā été placé sur la zone de cuisson.
- Si vous utilisez un réseau adapté, le message affiché disparaît automatiquement.
Que faire si le ventilateur de refroidissement continue à tourner une fois la table de cuisson éteinte ?
Vérifiez les points suivants :
Lorsque vous avez terminé d'utiliser la table de cuisson, le ventilateur de refroidissement fonctionne tout seul afin de la refroidir.
- Une fois les composants électroniques de la table de cuisson refroidis ou la duréeemaxile écoulée (10 minutes), le ventilateur de refroidissement s'eteint.
- Si vous demandez l'assistance d'un technician qualifié suite à une utilisation incorrecte de l'appareil, l'intervention pourra vous être facturée même si le problème survient pendant la période de garantie.
Assistance
Avant de faire appel au service d'assistance ou de réparation, veuillez vous reporter à la section « Dépannage ». Si le problème persististe, suivez les instructions figurant ci-dessous.
S'agit-il d'un défaut technique?
Si tel est le cas, veuilles prendre contact avec votre service après-vente.
Préparez toujours toutes les informations nécessaires avant de passer votre appel. Cela permettra de déterminer plus facilement la nature du problème et de decide si l'intervention du service après-vente est nécessaire.
Veuiliez noter les informations suivantes :
- Quelle est la nature du problème?
- Àquel moment le problème survient-il?
Avant de passer votre appel, veuillez notes le modele et le numero de série de votre apparéil. Ces informations figurent sur la plaque signalétique sous la forme suivante :
Description du modele
Code S/N (15 chiffres)
Nous vous recommendons de noter les informations fournies à cet emplacement afin de les retrouver facilement.
Modèle:
- Numéro de série :
Dans quels cas les frais d'assistance sont-ils facturés, même pendant la période de garantie ?
- Si vous auriez pu remédier vous-même au problème en vous reportant à la section « Dépannage »
- Si le technicien de service après-vente est obligé de se déplacer plusieurs fois car vous ne lui avez pas fourni les informations nécessaires avant sa visite, par exemple pour rapporter des pieces. Préparez votre appel en suivant les instructions ci-dessus afin d'éviter de deafoir prendre en charge les frais de ces déplacements.
Caracteristiques techniques
\section*{Caracteristiques techniques}
| Dimensions de l'appareil | Largeur | 600 mm |
| Profondeur | 520 mm | |
| Hauteur | 56 mm | |
| Dimensions extérieures du plan de travail | Largeur | 560 mm |
| Profondeur | 490 mm | |
| Hauteur | 72 mm | |
| Rayon d'angle | 3 mm | |
| Tension électrique | De 220 à 240 V ~ 50 / 60 Hz | |
| Puisance connectée maximale | 7,2 kW | |
| Poids | Net | 13,2 kg |
| Brut | 16,0 kg | |
Zones de cuisson
| Emplacement | Diamètre | Puisance |
| Avant droit | 210 mm | 2200 W / Pleine puissance 3200 W |
| Arrière droit | 145 mm | 1400 W / Pleine puissance 2000 W |
| Zone Flex Plus (avant) | - | 1800 W / Pleine puissance 2600 W |
| Zone Flex Plus (arrière) | - | 1800 W / Pleine puissance 2600 W |
| Zone Flex Plus (centre) | - | 1800 W / Pleine puissance 3000 W |
| Zone Flex Plus (complète) | - | 3300 W / Pleine puissance 3600 W |
Informations sur l'appareil
| Nom du fournisseur | Samsung Electronics Co. Ltd. |
| Identification du modèle | NZ64R7757BK |
| Type de plaque | Encastrable |
| Technologie de chauffage | Zones de cuisson à induction et surface de cuisson |
| Nombre de zones et/ou aires de cuisson | 3 |
| Pour les zones ou aires de cuisson circulaires : diamètre de la surface utile par zone de cuisson électrique (Ø) | 21,0 cm, 14,5 cm |
| Pour les zones ou aires de cuisson non circulaires : longueur et largeur de la surface utile par zone ou aire de cuisson électrique (L x W) | 24,0 x 38,0 cm |
| Consommation d'énergie par zone ou aire de cuisson calculée par kg (EC cuisson électrique) | Ø 21,0 cm : 184,2 Wh/kg |
| Ø 14,5 cm : 191,3 Wh/kg | |
| 24,0 x 38,0 cm : 199,0 Wh/kg | |
| Consommation d'énergie de la plaque de cuisson, calculée par kg (EC plaque électrique) | 191,5 Wh/kg |
- Données déterminées conformément à la norme EN 60350-2 et aux Règlements de la Commission Européenne (UE) N°66/2014.
Conseils pour economiser de l'énergie
- Placez toujours les casseroles et les poêles sur la zone de cuisson avant de l'allumer.
- Des zones de cuisson et des fonds de recipients sales augmentent la consommation d'énergie.
L'utilisation d'un autocuiseur permet de réduire le temps de cuisson.
Notes

Notes


Notes

UNE QUESTION? DES COMMENTAIRS?
| PAYS | APPELEZ LE | OU CONTACTEZ-NOUS EN LIGNE SUR |
| AUSTRIA | 0800 72 67 864 (0800-SAMSUNG) | www.samsung.com/at/support |
| BELGIUM | 02-201-24-18 | www.samsung.com/be/support (Dutch) www.samsung.com/be_fr/support (French) |
| DENMARK | 707 019 70 | www.samsung.com/dk/support |
| FINLAND | 030-6227 515 | www.samsung.com/fi/support |
| FRANCE | 01 48 63 00 00 | www.samsung.com/fr/support |
| GERMANY | 06196 77 555 77 | www.samsung.com/de/support |
| ITALIA | 800-SAMSUNG (800.7267864) | www.samsung.com/it/support |
| CYPRUS | 8009 4000 only from landline, toll free | |
| GREECE | 80111-SAMSUNG (80111 726 7864) only from land line (+30) 210 6897691 from mobile and land line | www.samsung.com/gr/support |
| LUXEMBURG | 261 03 710 | www.samsung.com/be_fr/support |
| NETHERLANDS | 088 90 90 100 | www.samsung.com/nl/support |
| NORWAY | 21629099 | www.samsung.com/no/support |
| PORTUGAL | 808 207 267 | www.samsung.com/pt/support |
| SPAIN | 0034902172678 | www.samsung.com/es/support |
| SWEDEN | 0771 726 786 | www.samsung.com/se/support |
| SWITZERLAND | 0800 726 78 64 (0800-SAMSUNG) | www.samsung.com/ch/support (German) www.samsung.com/ch_fr/support (French) |
| UK | 0330 SAMSUNG (7267864) | www.samsung.com/uk/support |
| IRELAND (EIRE) | 0818 717100 | www.samsung.com/ie/support |
Notice Facile