Z64R7757BK - Kochfeld SAMSUNG - Kostenlose Bedienungsanleitung
Finden Sie kostenlos die Bedienungsanleitung des Geräts Z64R7757BK SAMSUNG als PDF.
Laden Sie die Anleitung für Ihr Kochfeld kostenlos im PDF-Format! Finden Sie Ihr Handbuch Z64R7757BK - SAMSUNG und nehmen Sie Ihr elektronisches Gerät wieder in die Hand. Auf dieser Seite sind alle Dokumente veröffentlicht, die für die Verwendung Ihres Geräts notwendig sind. Z64R7757BK von der Marke SAMSUNG.
BEDIENUNGSANLEITUNG Z64R7757BK SAMSUNG
Technische gegevens 28
Technische gegevens 28
Kookzones 28
Productinformation 28
Over dele handleiding
Hinweise zu dieser Bedienungsanleitung 3
In thisem Benutzerhandbuch werden folgende Symbole verwendet: 3
Modellname und Seriennummer 3
Sicherheitshinweise 3
Entsorgung des Verpackungsmaterials 6
Ordnungsgemäß Entsorgung Ihres Altgeräts 6
Korrekte Entsorgung von Altgeräten (Elektroschrott) 7
Installieren des Geräts 7
7
Anschlieben an das Netz 8
Einbauinen einerArbeitsplatte 9
Bauteile und Funktionen 11
Kochzonen 11
Bedienfeld 12
Komponenten 12
Erhitzen mit Induktion 12
Die wichtigsten Merkmale Ihres Geräts 13
Sicherheitsabschaltung 14
Flex zone Plus 14
Restwärmeanzeige 15
Temperatursensor 15
Verwendung des Geräts 15
Erstreinigung 15
Kochgeschirr für Induktionskochfelder 15
Eignungstest 16
Grosse der Töpfe 16
Betriebsergebnisse 16
Verwenden geeigneter Töpfe und Pfannen 17
Verwendend der Sensortasten 17
2 Deutsch
Einschalten des Geräts 17
Auswahlen einer Kochzone und Einstellen der Leistung 18
Ausschalten des Geräts 18
QuickStopp 18
Verwendend der Kindersicherung 19
Timer (Herunterzahlen) 19
Timer (Hochzahlen) 20
Verwendend der Warmhaltefunktion 21
Verwendendes Boosters 21
Leistungsverwaltung 22
Pause 22
Flex-Funktion 22
Ton ein/aus 23
Empfohlene Einstellungen zumKochen bestimmter Lebensmittel 23
Reinigung und Pflege 24
Kochfeld 24
Leichte Verschmutzung 24
Hartnackiger Schmutz 24
Schwer entfernbare Verschmutzungen 25
Kochfeldrahmen (Zubehör) 25
So vermeiden Sie Schaden an Ihr Hem Gerät 25
Garantie und Service 26
Häufig gestellte Fragen und Problembehebung 26
Service 27
Technische Daten 28
Technische Daten 28
Kochzonen 28
Produktinformationen 28
Hinweise zu dieser Bedienungsanleitung
Bitte nehmen Sie sich die Zeit, um diese Bedienungsanleitung sorgfältig zu lessen. Achten Sie insbesondere auf die im folgenden Abschnitt enthaltenen Sicherheitsinformationen, bevor Sie Ihr Gerät in Betrieb nehm. Bewahren Sie diese Bedienungsanleitung zur späteren Verwendung auf. Wenn Sie das Gerät an eine andere Person weitergeben, vergessen Sieitte nicht, auch das Handbuch an den neuen Besitzer weiterzugeben.
In diesen Benutzerhandbuch werden folgende Symbole verwendet:
WARNING
Gefahren oder unsichere Verhaltensweisen, die zu schweren Verletzungen oder zum Tod führen können.
VORSICHT
Gefährliche bzw. unsichere Praktiken, die zu leichten Verletzungen oder Sachschäden führen können.
VORSICHT
Um die Gefahr von Bränden und Explosionen, elektrischem Schlag und anderen Verletzungen beim Einsatz Ihres Geräts zu vermindern, beachten Sie folgende Sicherheitsregeln:
HINWEIS
Nutzliche Tipps, Empfehlungen oder Informationen, die Ihnen den Umgang mit dem Gerät erleichtern.
Modellname und Seriennummer
Sowohl der Modellname als auch die Seriennummer sind auf dem Typenschild auf der Unterseite des Geräts angegeben.
Schreiben Sie diese Informationen zur späteren Verwendung auf oder kleben Sie das zusätzliche Produktetikett (auf der Oberseite des Geräts zu finden) auf die vorliegende Seite.
Modellbezeichnung
Seriennummer
Sicherheitshinweise
Dieses Gerät erfüllt die technischen Normen und Sicherheitsbestimmungen, die für diesen Gerätotyp gelten.itte beachten Sie die folgenden Sicherheitshinweise, um die Gefahr von Verletzungen des Benutzers oder Schäden am Gerät zu minimieren.
▲WARNUNG
Dieses Gerät ist nicht zur Verwendung durch Personen (einschließlich Kindern) mit verringgerten körperlichen, sensorischen oder mentalen Fähigkeiten oder einem Mangel an Erfahrung und Wissen bestimmt, sofern sie nicht von einer für ihre Sicherheit verantwortlichen Person im Umgang mit dem Gerät unterwiesen wurden und von dieser beaufsichtigt werden.
Kinder,müssen beaufsichtigt werden,um zu verhindern,dassie mit dem Gerät spielen.
Dieses Gerätarf von Kindern ab 8 Jahren und Personen mit verminderten körperlichen, sensorischen oder geistigen Fähigkeiten oder einem Mangel an Erfahrung und Wissen nur dann bedient werden, wenn sie unter Aufsicht stehen oder eine Unterweisung zum sicheren Umgang mit dem Gerät erhalten haben und die damit verbundenen Gefahren verstehen. Kinder dürfen nicht mit dem Gerät speilen. Kinder dürfen bei Reinigung und Wartung nur dann halten, wenn sie bereits beaufsichtigt werden.
Die Trennungsvorrichtungen sind entsprechend den Anschlussvorschriften in die fest verlegte Leitung einzubauen.
Sicherheitshinweise
Das Gerät muss so aufgestellt werden, dass es auch nach der Installation vom Netz getrennt werden kann. Dies kann erreicht werden, indem der Stecker stets zugänglich bleibt oder in die fest verlegte Leitung ein den Anschlussvorschriften entsprechender Schalter eingebaut wird.
Falls das Netzkabel beschädigt ist, muss es vom Hersteller oder vom Kundendienst bzw. von einer entsprechend qualifizierten Fachkraft ausgetauscht werden, um Gefährdungen auszuschlieben.
Bei der angegebenen Befestigungsart)dürfen keine Klebemittel eingesetzt werden, da sie keinen ausreichenden Halt bieten.
WARNING: Wenn die Oberfläche einen Riss aufweist, schalten Sie das Gerät aus, um die Möglichkeit von Stromschlagen auszuschreiben.
Das Gerät erhitzt sich im Betrieb. Es ist Vorsicht geboten, damit Sie die Heizelemente im Innern des Geräts nicht berühren.
WARNING: Zugängliche Teile können sich im Betrieb erwärmen. Halten Sie Kinder deshalb fern.
Zur Reinigung des Geräts dürfen keine Dampfreiniger verwendet werden.
Legen Sie keine Metallgegenstände wie Messer, Gabeln, Löffel oder Topfdeckel auf die Oberfläche des Geräts, da sie heißt werden konnten. Schalten Sie das Bedienfeld nach der Benutzung mit dem davon vorgesehenen Bedienelement aus, und verlassen Sie sich nicht auf die Topferkennung.
Das Haushaltsgerätarf nicht mit einem externen Zeitschalter oder einer separaten Fernbedienung bedient werden.
VORSICHT: Der Kochvorgang muss beaufsichtigt werden. Ein kurzer Garprozess muss ununterbrochen beaufsichtigt werden.
Um eine Überhitzung zu vermeiden, damit die Tur des Geräts nicht mit einer Zierblende verstehen werden.
WARNING: Das Gerät und seine zugänglichen Teile können während des Betriebs besteht werden. Es ist Vorsicht geboten, damit Sie die Heizelemente des Geräts nicht berühren. Wenn sie nicht unter ständiger Aufsicht stehen, müssen Kinder unter 8 Jahren von dem Gerät ferngehalten werden.
WARNING: Wenn Sie das Gerät beim Zubereiten von Lebensmittel in Fett oder Öl unbeaufsichtigt setzen, kann this eine Gefahr darstellen und einen Brand verursachen.
Versuchen Sie NIEMALS einen Brand mit Wasser zu Löschen, sondern schalten Sie das Gerät aus und ersticken Sie die Flamme z. B. mit einem Topfdeckel oder einer Löschdecke.
WARNING: Brandgefahr: Stellen Sie keine Gegenstände auf die Kochfelder!
WARNING: Verwenden Sie nur den vom Hersteller des
Kochgerätes konstruierten, den vom Hersteller des Gerätes in der
Gebrauchsanweisung angegebenen oder den im Gerät integrierten
Kochstellenschutz. Die Verwendung ungeeigneter Schutzvorrichtungen
kann zu Unfällen führen.
Die Oberflächen können während des Gebrauchs besteht werden.
Dieses Gerätarf von Kindern ab 8 Jahren und Personen mit verminderten körperlichen, sensorischen oder geistigen Fähigkeiten oder einem Mangel an Erfahrung und Wissen nur dann bedient werden, wenn sie unter Aufsicht stehen oder eine Unterweisung zum sicheren Umgang mit dem Gerät erhalten haben und die damit verbundenen Gefahren verstehen. Kinder dürfen nicht mit dem Gerätspiel. Reinigung und Pflege dürfen nur dann von Kindern durchgeführt werden, wenn diese äter als 8 Jahre sind und darauf beaufsichtigt werden.
Halten Sie das Gerät und das Netzkabel außerhalb der Reichweite von Kindern unter 8 Jahren.
VORSICHT
Vergewissern Sie sich, dass diesen Gerät von einem qualifizierten Techniker ordnungsgemäß installiert und geerdet wird. Das Gerätarf nur von einem qualifizierten Techniker gewartet werden. Von unqualifizierten Personen ausgewührte Reparaturen können Verletzungen oder schwerwiegende Störungen verursichen. Wenn Ihr Gerät repariert werden muss, setzen Sie sichitte mit dem nachstgelegenen Kundendienstzentrum in Verbindung. Wenn Sie diese Anweisungen nicht beachten, kann es zu Beschädigungen und Verlust der Garantie kommt.
Einbaugeräte dürfen erst eingesetzt werden, nachdem sie in einen Schrank oder in eine Arbeitsplatte eingebaut wurden, die den relevanten Normen entsprechen. Auf diese Weise wird gemäß den maßgeblichen Sicherheitsnormen ausreichender Schutz vor Berührung von Strom führenden Teilen gewährleistet.
Bei Störungen Ihr Gesamt oder bei Aufreten von Brücken, Rissen oder Absplitterungen:
Schalten Sie alle Kochzonen ab;
Trennen Sie das Kochfeld vom Netz;
- Setzen Sie sich mit dem nachstgelegen den Kundendienstzentrum in Verbindung.
Wenn die Oberfläche des Geräts bricht, schalten Sie es aus, um die Möglichkeit von Stromschlagen auszuschreiben. Verwenden Sie das Gerät erst wieder, nachdem die Glasfläche ersetzt wurde.
Verwenden Sie das Gerät nicht zum Erhitzen von Alufolie, von in Alufolie verpackten Produkten oder von Gefriergut, das in Alu-Töpfen aufbewahrt wird.
Wenn sich zwischen dem Topfboden und der Kochzone Flüssigkeit ansammelt, kann Dampfdruck entstehen. Dies kann zu unbeabsichtigten Bewegungen des Topfes führen.
Achten Sie deshalb stets darauf, dass Gerät und Topfboden trocken sind.
Die Kochzonen werden beim Kochen heiß.
Sicherheitshinweise
Halten Sie keine Kinder immer vom Gerät fern.
Halten Sie alle Verpackungsmaterialien außerhalb der Reichweite von Kindern, Denn Verpackungsmaterial kann für Kinder gefährlich sein.
Dieses Gerät dient nur zum normalen Kochen und Braten im Haushalt. Es ist für den kommerziellen oder industriellen Einsatz nicht geeignet. Verwenden Sie das Gerät nie zum Heizen des Zimmers.
Geben Sie Acht, wenn Sie andere elektrische Geräte an Netzsteckdosen in der Höhe these Haushaltsgeräts anschließen. Das Netzkabel damit dem Kochfeld nicht in Kontakt kommt.
Überhitztes Fett und Öl könnenchnell Feuer fangen. Lassen Sie das Gerät niemals unbeaufsichtigt, wenn Sie Lebensmittel in Fett oder Öl zubereiten. Ein Beispiel hierfür ist das Zubereiten von Pommes Frites.
Schalten Sie die Kochzonen nach der Benutzung aus.
Halten Sie das Bedienfeld stets sauber und trocken.
Stellen Sie niemals brenbare Gegenstände auf das Gerät, da sie Feuer fangen können.
Es besteht die Gefahr von Verbrennungen durch das Gerät, wenn Sie desses nicht mit der notwendigen Sorgfalt bedienen.
Die Kabel elektrischer Geräte)dürfen nicht mit der bereitsKochfläche des Kochfelds oder mit bereits Töpfen und Pfannen in Berührung kommt.
Verwenden Sie das Gerät niemals, um Kleidung zu trocknen.
Solange das Geräteingeschaltet ist, müssen Benutzer mit
Herzschnittmachern oder aktiven Herzimplantaten ihren
Oberkörper immer in einem Abstand von mindestens 30 cm zu den Induktionszonen halten. Fragen Sie im Zweifelsfall beim Hersteller des Herzschrittmachers oder bei ihrem Arzt nach. (nur Modelle mit Induktionskochfeld)
Versuchen Sie nicht selbst, das Gerät zu reparieren, auseinander zu bauen oder zu verändern.
Schalten Sie das Gerät vor dem Reinigen immer aus.
Reinigen Sie das Gerät entsprechend den Reinigungs- und
Pflegehinweisen in diesen Benutzerhandbuch.
Halten Sie Haustiere vom Gerät fern, da diese auf die Bedienelemente des Geräts treten und eine Fehlfunktion verursachen können.
Entsorgung des Verpackungsmaterials
WARNING
Alle Verpackungsmaterialien des Geräts sind vollständig recyclingfähig. Die Materialien sind entsprechend gekennzeichnet. Entsorgen Sie Verpackungsmaterial und Altgeräte unter Bechtung der relevanten Sicherheits- und Umweltschutzbestimmungen.
Ordnungsgemäß Entsorgung Ihres Altgeräts
WARNING
Vor dem Entsorgen Ihres Altgeräts machen Sie esitte betriebsuntuchtig, damit es nicht zu einer Gefahrenquelle werden kann. Zu thisem Zweck setzen Sie einen qualifizierten Techniker das Gerät vom Stromnetz trennen und das Netzkabel entfern.
Das Gerätarf nicht im Hausmüll entsorgt werden.
Informationen über Sperrmulltermine und öffentliche Deponien erhalten Sie von Ihrem örtlichen Müllentsorger oder ihrer Gemeinde.
Korrekte Entsorgung von Altgeräten (Elektroschrott)


(Gilt für Länder mit Abfalltrennsystemen)
Die Kennzeichnung auf dem Produkt, Zubehörteilen bzw. auf der dazugehörigen Dokumentation gibt an, dass das Produkt und Zubehörteile (z. B. Ladegerät, Kopfhörer, USB-Kabel) nach ihrer Lebensdauer nicht zusammen mit dem normalen Haushaltsmüll entsorgt werden)dürfen. Entsorgen Sie ces des Gerät und Zubehörteileitte getrennt von anderen Abfallen, um der Umwelt bzw. der menschlichen Gesundheit nicht durch unkontrollierte Müllbeseitigung zu schaden. Helfen Sie mit, das Altgerät und Zubehörteile fachgerecht zu entsorgen, um die nachhaltige Wiederverwertung von stofflichen Ressourcen zu fordern.
Private Nutzer wenden sich an den Handler, bei dem das Produkt gekauft wurde, oder kontaktieren die zuständigen Behörden, um in Erfahrung zu bringen, wo Sie das Altgerät bzw. Zubehörteile für eine umweltfreundliche Entsorgung abgeben können.
Gewerbliche Nutzer wenden sich an ihren Lieferanten und gehen nach den Bedingungen des Verkaufsvertrags vor. Dieses Produkt und elektronische Zubehörteile dürfen nicht zusammen mit anderen Gewerbmüll entsorgt werden.
Weitere Informationen zum Engagement von Samsung für die Umwelt und zu Produktspezifischen Auflagen wie z. B. REACH, WEEE, Batterien finden Sie unter samsung.com/uk/aboutsamsung/samsungelectronics/corporatecitizenship/data-corner.html
Installieren des Geräts
WARNING
Vergewissern Sie sich, dass das neue Gerät nur von einem qualifizierten Techniker installiert und geerdet wird.
These Anweisung muss unbedingt befolgt werden. Die Garantie deckt keine Schäden ab, die in Folge unsachgemäßer Installation auftreten.
Die technischen Daten finden Sie am Ende diesen Handbuch.
Sicherheitshinweise für den Installateur
- In der Elektroinstallation ist eine Vorrichtung vorzusehen, mit der das Gerät an allen Polen mit einem Kontakt vom Netz getrennt werden kann, dessen Öffnungseweite mindestens 3 mm beträgt. Geeignete Trennvorrichtungen sind Automatikssicherungen, Schmelzsicherungen (Schraubsicherungen sind aus dem Halter herauszuschrauben), Fehlerstromschutzschalter und Schaltschütze.
- Hinsichtlich des Brandschutzes entspricht das Gerät EN 60335 - 2 - 6. Geräte dieser Art dürfen mit einem Hochschrank oder einer Wand an einer Seite eingebaut werden.
Die Installation muss den Schutz vor Stößen gewährleisten. - Der Kuchenschrank, in den das Gerät eingebaut wird, muss die Stabilitätsanforderungen von DIN 68930 erfüllen.
Zum Schutz vor Feuchtigkeit mussen alle geschnittenen Oberflächen mit einem geeigneten Dichtmittel versiegelt werden. - Auf gekachelten Arbeitsflächen müssen die Fugen im Bereich des Geräts vollständig mit einem geeigneten Mittel verfügt werden.
- Bei Arbeitsplatten aus Natur- oder Kunststein oder bei keramischen Arbeitsplatten müssen die Schnappfedern mit einem geeigneten Kunstharz oder einem Zweikkomponentenkleber befestigt werden.
- Stellen Sie sicher, dass die Dichtung ordnungsgemäß und ohne Spalt mit der Arbeitsfläche abschiedt. Sie dürfen nicht zusätzlich Silikonmasse auftragen, Denn damit wurde der Ausbau bei ServicearbeitenURNOTIG erschwert werden.
Das Gerät muss beim Ausbauen von unter herausgedrückt werden. - Unter dem Gerät kann ein Brett angebracht werden.
Die Luftungsöffnung zwischen der Arbeitsfläche und der Gerätefront darf keinesfalls verdeckt werden.
Installieren des Geräts
Anschlieben an das Netz
Vor dem Anschlieben vergewissern Sie sichitte, ob die auf dem Typenschild angegebene Nennspannung des Geräts der anliegenden Versorgungsspannung entspricht. Das Typenschild befindet sich auf der Unterseite des Geräts.
WARNING
Schalten Sie die Netzstromversorgung ab, ehe Sie einzelné Kabel mit dem Netz verbinden.
Die Spannung der Heizelemente beträgt 230 VAC. Das Gerät arbeitet aber auch in äteren Netzen mit 220 VAC oder 240 VAC perfekt. Das Gerät muss über eine Vorrichtung an das Netz angeschlossen werden, mit der es an allen Polen mit einem Kontakt vom Netz getrennt werden kann, dessen Öffnungseite mindestens 3 mm beträgt.
WARNING
Die Kabelverbindungen müssen entsprechend den Bestimmungen ausgeführrt, und die Klemmschrauben müssen fest angezogen werden.
WARNING
Nachdem das Gerät an das Netz angeschlossen wurde, überprüfen Sie, ob alle Kochzonen betriebsbereit sind. Hierzu stellen Sie einen geeigneten Topf darauf und schalten jederomal kurz auf maximale Leistung.
WARNING
Achten Sie auf die Zuordnung (Konformität) von Phasen und Nullleiter zwischen Hausanschluss und Gerät (Anschlussskizze), weil bei falscher Zuordnung Componenten beschädigt werden können.
Die Garantie deckt keine Schäden aufgrund unsachgemäßer Installation ab.
WARNING
Falls das Netzkabel beschädigt ist, muss es vom Hersteller oder vom Kundendienst bzw. von einer entsprechend qualifizierten Fachkraft ausgetauscht werden, um Gefährdungen auszuschlieben.

1N~ (32A)
| 01 | 220-240 VAC | 04 | Blau |
| 02 | Braun | 05 | Grau |
| 03 | Schwarz | 06 | Grün/Gelb |

2N~ (16A): Trennen Sie die 2-phasigen Leiter (L1 und L2) vor dem Anschluss.
| 01 | 220-240 VAC | 05 | Blau |
| 02 | 380-415 VAC | 06 | Grau |
| 03 | Braun | 07 | Grün/Gelb |
| 04 | Schwarz |

2 x 1N~ (16A): Trennen Sie die Drähte vor dem Anschluss.
| 01 | 220-240 VAC | 05 | Schwarz |
| 02 | Braun | 06 | Grau |
| 03 | Blau | 07 | Grün/Gelb |
| 04 | 220-240 VAC |
WARNING
Für einen ordnungsgemäßen Anschluss der Stromversorgung befolgen Sie die Anweisungen auf dem Schaltplan darüber den Anschlussklemmen.
8 Deutsch
Einbau in einer Arbeitsplatte

A. Seriennummer
HINWEIS
Notieren Sie vor dem Einbau die auf dem Typenschild angegebene Seriennummer des Geräts. Diese Nummer wird im Falle von Serviceanfragen benötigt, und sie ist nach dem Einbau nicht mehr zugänglich, da sie auf dem Originaltypenschild auf der Unterseite des Geräts angegeben wird.
HINWEIS
Achten Siealands auf den Mindestplatzbedarf und die Mindestabstände.
HINWEIS
Das Gerät ist an der Unterseite mit einem Lüfter ausgestattet. Wenn sich unter dem Gerät eine Schublade befindet, sollen den darin keine klinen Gegenstände oder Papier aufbewahrt werden. Sie konnten vom Lüfter angesaugt werden und他们在 Beschädigen oder den Kühlprozess beeinträchtigen.

| Nr. | Erläuterung | Größe |
| 01 | Höhe der Belüftungsöffnung | Min. 2 mm |
| 02 | Breite der Belüftungsöffnung | 560 mm |



| Nr. | Erläuterung | Größe |
| 01 | 4 Punkt prüfen | |
| 02 | Bohrdurchmesser | Ø 6 |
| 03 | Rechter Winkel der Schneidspitze | 90° |
| 04 | Schnittbreite | 560±1 mm |
| 05 | Schnitttiefe | 490±1 mm |
| 06 | Kurvenkrümmung | R3 |
| 07 | Stärke der Arbeitsplatte | Max. 50 mm, Min. 20 mm |
| 08 | Abstand zwischen dem Ende der Arbeitsplatte und dem Schnittpunkt (Rückseite) | Min. 60 mm |
| 09 | Tiefe der Arbeitsplatte | Min. 600 mm |
| 10 | Abstand zwischen dem Ende der Arbeitsplatte und dem Schnittpunkt (linke Seite) | Min. 60 mm |
| 11 | Abstand zwischen dem Ende der Arbeitsplatte und dem Schnittpunkt (rechte Seite) | Min. 60 mm |
| 12 | Abstand zwischen dem Ende der Arbeitsplatte und dem Schnittpunkt (Vorderseite) | Min. 50 mm |
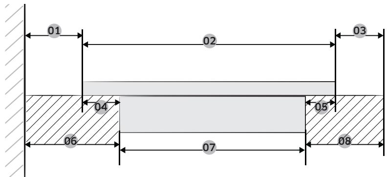
Installieren des Geräts

| Nr. | Erläuterung | Größe |
| 01 | Abstand zwischen Wand und Induktionskochfeld | Min. 40 mm |
| 02 | Tiefe des Induktionskochfelds | 520 mm |
| 03 | Abstand zwischen dem Induktionskochfeld und dem Ende der Arbeitsplatte | Min. 40 mm |
| 04 | Abstand zwischen Glas und Kochfeld | 25 mm |
| 05 | Abstand zwischen Glas und Kochfeld | 15 mm |
| 06 | Abstand zwischen Wand und Kochfeld | Min. 60 mm |
| 07 | Tiefe des Kochfelds | 480 mm |
| 08 | Abstand zwischen dem Kochfeld und dem Ende der Arbeitsplatte | Min. 50 mm |

| Nr. | Erläuterung | Größe |
| 01 | Breite der hinteren Lüftung | Min. 550 mm |
| 02 | Höhe der hinteren Lüftung | Min. 35 mm |
| 03 | Tiefe des Netzkabelpfads | Max. 65 mm |
| 04 | Weite des Netzkabelpfads | Max. 100 mm |
| 05 | Höhe der Tischlerplatte | Min. 5 mm |

| Nr. | Erläuterung | Größe |
| 01 | Größe der Lüftung | Min. 20 mm |
| 02 | Min. 2 mm | |
| 03 | Min. 20 mm |

Bauteile und Funktionen



Kochzonen
| 01 | Induktionskochfeld mit Flex zone Plus 3300 W, mit Booster 3600 W |
| 02 | Induktionskochzone 1400 W, mit Booster 2000 W |
| 03 | Induktionskochzone 2200 W, mit Booster 3200 W |
| 04 | Bedienfeld |
Bauteile und Funktionen

Bedienfeld
| 01 | Sensortaste Ein/Aus |
| 02 | Flexzone Plus-Sensor |
| 03 | Anzeigen für Leistungsstufe und Restwärme |
| 04 | Sensortasten zum Auswählten der Kochzone |
| 05 | Sensortaste Warmhalten |
| 06 | Sensortaste und Anzeige „Timer (Herunterzahlen)" |
| 07 | Sensortaste „Timer (Hochzahlen)" |
| 08 | Sensortaste „Kindersicherung" |
| 09 | Sensortaste „Leistungsstufe" |
| 10 | Sensortaste „PauseN'Go" |
Koponenten

Induktionskochfeld

Federklammer

Erhitzen mit Induktion
A. Induktionsspule
B. Wirbelströme
C. Elektronische Schaltkreise
Das Wirkprinzip beim Erhitzen mit Induktion: Wenn Sie einen Topf auf die Kochzone stellen, werden durch Induktion Wirbelströme im Boden des Topfs erzeugt. Dadurch steigt dessen Temperatur sofort an.
Schneller kochen und braten: Da der Topf und nicht zuerst das Glas erhitzt wird, ist die EffizienzHigher als bei anderen Systemen, Denn es goht keine Wärme verloren. Fast die gesamte Energie wird absorbiert und in Wärme umgewandelt.
Die wichtigsten Merkmale Ihres Geräts
- Kochfeld aus Glaskeramik: Das Kochfeld verfügt über Schnellkochzonen aus Glaskeramik.
- Sensortasten: Ihr Gerät wird mit Hilfe von Sensortasten bedient.
- Leichte Reinigung: Das flache Glaskeramikkochfeld erhögt einafache Reinigung.
- Ein/Aus-Sensortaste: Die Ein/Aus-Sensortaste dient im Gerät als gesonderter Netzschalter. Wenn Sie diese Sensortaste drücken, wird die Stromversorgung vollständig ein- oder ausgeschaltet.
Leistungs- und Funktionsanzeigen: Digitale Anzeigen und Anzeigeleuchten informieren über Einstellungen und aktivierte Funktionen sowie über die Restwärme in den verschiedenen Kochzonen. - Sicherheitsabschaltung: Die Sicherheitsabschaltung stellt sich, dass die Kochzonen nach einem gewissen Zeitraum mit unveränderten Einstellungen automatisch ausgeschelt werden.
- Booster P: Mit dieser Funktion konnen Sie den Inhalt eines Topfes noch schneller als mit der hochsten Leistungsstufe 15 erhitzen. (Im Display entscheid „ P“.)
-
Automatische Topferkennung: Zu jeder Kochzone gehört ein automatisches System zur Erkennung von Töpfen. Dieses System ist so kalibriert, dass Töpfe mit einem Durchmesser von etwas weniger als dem der Kochzone erkannt werden. Töpfe mussen in die Mitte der Kochzone gestellt werden. Verwenden Sie ausschließlich Kochgeschirr, das für diese Art der Zubereitung geeignet ist.
-
Digitale Anzeigen:
I bis 15, P "eingestelle Leistungsstufe
- Restwärme (warm halten)
Restwärme
Kindersicherung aktiviert; und
- Meldung, weil eine Sensortaste länger als 8 Sekunden berührt wurde.
- [ ] Meldung, weil das Gerät wegen unsachgemäßer Nutzung überhitz ist. (Beispiel: Betrieb mit leeren Topf)
- U: Das verwendete Kochgeschirr ist ungeeignet bzw. zu Klein, oder es befindet sich kein Kochgeschirr auf der Kochzone.
- Warmhalten: Mit dieser Funktion können Sie bereits fertig zubereitete Gerichte warmhalten. Im Display erscheidt 念 ^ 日
- Pause : Mit dieser Funktion konnen Sie alle Kochzonen auf eine niedrige Leistungsstufe einstellen. (Z. B. um ein Telefongesprach anzunehmen) Im Display wird 2 angezeigt.
- Flexzone Plus-Sensor: Mit Hilfe dieser Funktion können Sie die gesamte linke Seite des Kochfelds zu einer einzigen großen Kochzone kombinierten.
- Flexzone Plus: Die Flex zone Plus ist eine große rechteckige Fläche, auf der Sie mehrere Gerichte gleichzeitig kochen können.
- QuickStopp: Mit dieser Option verringern Sie die Anzahl der Handgriffe und benötigte Zeit, um das Kochen zu beenden auf einen einfahren Tastendruck.
Bauteile und Funktionen
Sicherheitsabschaltung
Wenn eine der Kochzonen nicht ausgeschaltet oder die eingestellte
Leistungsstufe längerere Zeit nicht verändert wird, schaltet sich die entsprechende Kochzone automatisch aus.
Die Restwärme für die jeweiligen Kochzonen wird in den digitalen Anzeigen mit H bzw. (für „heiß") angegeben.
Die Kochzonen werden nach folgenden Zeiten ausgeschaltet:
| Leistungsstufe | Ausschalten |
| 1-3 | nach 6 Stunden |
| 4-6 | nach 5 Stunden |
| 7-9 | nach 4 Stunden |
| 10-15 | nach 1,5 Stunden |

HINWEIS
I wird angezeigt, wenn das Gerät wegen unsachgemäßer Nutzung überhützt ist. und das Gerät wird ausgeschaltet.

HINWEIS
Wenn das verwendete Kochgeschirr ungeeignet bzw. zu Klein ist oder wenn keines auf der Kochzone stehen, erscheint in der Anzeige .
Nach 1 Minute wird die entsprechende Kochzone ausgeschaltet.

HINWEIS
Wenn eine oder mehrere der Kochzonen ausgeschaltet werden, ehe die angegebene Zeit abgelaufen ist, schlagen Sie im Abschnitt „Problembehebung" nach.
Weitere Grunde, warum sich eine Kochzone ausschalten kann
Alle Kochzonen werden sofort ausgeschaltet, wenn Flüssigkeit überkocht und auf dem Bedienfeld landet.
Die automatische Abschaltung wird auch aktiviert, wenn Sie ein feuchtes Tuch auf das Bedienfeld legen. In diesen beiden Fällen muss das Gerät mit der Sensortaste Ein/Aus ① wieder eingeschaltet werden, nach dem die Flüssigkeit oder das Tuch entfernt wurde.
Flex zone Plus

Bei der Flex-Zone handelt es sich um den große Kochbereich auf der linken Seite des Kochfeldes (siehe Abbildung weiter unter).
Sie ist so ausgelegt, dass Sie darauf mehrere Töppe und Pfaffen understandslichlicher Form und Gröe gleichzeitig verwenden können.
Die Flex-Zone verfügbar über vier Zonen, die von einzelnen Induktionsspulen bedient werden, so dass Sie dahingehend unabhängig sind, wo Sie Ihr Kochgeschirr in der Kochzone anordnen.
Mit Flex Zone Plus können Sie verschiedene Kochzonen kombinierten und so den verfügbare Kochbereich vergroßern. In der folgenden Tabelle wird dargestellt, welche Sensor Sie berühren müssen, um die verschiedenen Kombinationen zu aktivieren.
| Kochzone | 1 Kochfeld | 2 Kochfeld | 3 Kochfeld | 4 Kochfeld | ||
| 1 | = | = | = | = | ||
| 2 | = | = | = | |||
| 3 | = | = | ||||
| 4 | = | |||||

HINWEIS
- Bei Verwendung nur einer Kochzone muss der Durchmesser des Kochtopfbodens weniger als 14 cm betragen.
Es kann 5 bis 10 Sekunden dauern, bis das Induktionskochfeld die Position Ihres Kochgeschirrs erkennt. - Möglicherweise sind Gerausche zu horen, während das Kochfeld das Kochgeschirr erkennt.
- Entfernen Sie das Kochgeschirr beim Kochen nicht. Aus Sicherheitsgründen unterbricht das Kochfeld automatisch den Betrieb, wenn Sie das Kochgeschirr länger als 5 Sekunden herunternehmen.
Deutsch
Restwärmeanzeige
Wenn Sie eine Kochzone oder das Kochfeld als Ganzes ausschalten, wird die Restwärme mit dem Symbol H bzw. (für „heiß") in der digitalen Anzeige der entsprechenden Kochzonen angezeigt. Auch nachdem die Kochzone ausgeschaltet wurde, Goes the Restwärmeanzeige erst aus, wenn die Kochzone abgekühlt ist.
Sie können die Restwärme zum Auftauen oder Warmhalten von Essen verwenden.

WARNING
Solange die Restwärmeanzeige leuchtet, besteht die Gefahr von Verbrennungen.

WARNING
Wenn die Stromversorgung unterbrochen wird, erlischt das Symbol H bzw. H , und es gibt keine Informationen mehr über die Restwärme.
Trotzdem ist es weiterhin möglich, dass Sie sich verbrennen. Sie können thiss vermeiden, indem Sie in der Nähe des Kochfelds stets achtsam sind.
Temperatur sensor
Wenn die Temperatur einer der Kochzonen aus irgendem Grund die Sicherheitsgrenzungwerte überschreitet, reduziert das Kochfeld die Leistung der Kochzone automatisch auf eine niedrigere Stufe.
Auch nach Benutzung des Kochfelds bleibt der Lüfter eingeschaltet, um die Elektronik des Kochfelds weiter abzukühlen. Der Lüfter wird bei Erreichen einer ausreichend niedrigen Temperatur der Elektronik automatisch ausgeschaltet.
Verwendung des Geräts
Erstreinigung
Wischen Sie die Glaskeramikfläche mit einem feuchten Tuch und einem Glaskeramikreiniger sauber.
WARNING
Verwenden Sie keine atzenden oder schleifenden Reinigungsmittel. Die Oberfläche konnte dadurch beschädigt werden.
Kochgeschirr für Induktionskochfelder
Ein Induktionskochfeld kann nur eingeschaltet werden, wenn ein Kochgeschirr mit magnetischen Boden auf eine der Kochzonen gestellt wird. Kochgeschirr der folgenden Art eignet sich für das Induktskochfeld:
Kochgeschirr
| Kochgeschirr | Geeignet |
| Stahl, Stahlemail | Ja |
| Gusseisen | Ja |
| Edelstahl | Sofern vom Hersteller entsprechend gekennzeichnet |
| Aluminium, Kupfer, Messing | Nein |
| Glas, Keramik, Porzellan | Nein |
HINWEIS
Kochgeschirr für Induktionskochfelder wird vom Hersteller entsprechend gekennzeichnet.
HINWEIS
Wenn Sie Ihr Kochgeschirr auf eine Induktionskochzone stellen, entwickelt das Kochgeschirr möglicherweise Gerausche. Diese Gerausche sind normal.
Verwendung des Geräts
HINWEIS
Kochgeschirr, das nicht aus Edelstahl hergestellt ist, ist weniger wärmeleitend als solches aus Edelstahl. Durch Verwendung von Kochgeschirr, das nicht aus Edelstahl hergestellt ist, verlangert sich die Kochzeit.
Eignungstest

Kochgeschirr ist für Induktionskochfelder geeignet, wenn ein Magnet am Boden haften bleibt und das Gerät vom Hersteller als induktionstauglich gekennzeichnet ist.
HINWEIS
Die Zubereitung mit Induktion fungkitioniert möglicherweise nicht ordnungsgemäß, wenn Nichteisengeschirr verwendet wird, an dessen Boden kein Magnet haften bleibt oder dessen Boden lediglich mit Eisen beschichtet ist.
Gröbe der Töpfe
Innerhalb gewisser Grenzen kann sich die Grübe der Induktionskochzonen automatisch an die Grübe der Unterseite des Kochgeschirrs anpassen. Dennoch muss der Boden des Kochgeschirrs einen bestimmten von der Grübe der Kochzone abhängigen Mindestdurchmesser aufweisen.
| Kochzonen | Mindestdurchmesser der Unterseite des Kochgeschirrs |
| Rechtes hinteres Kochfeld (145 mm) | 100 mm |
| Rechtes vorderes Kochfeld (210 mm) | 140 mm |
| Hintere oder vordere Flex zone Plus | 140 mm |
| Flex zone Plus | 240 mm (Längsseite), oval, Fischpfanne |
Betriebsgeräusche
Folgende Gerausche konnen auftreten:
- Knacken: Das Geschirr besteht aus entsprechenden Materialien.
- Pfeifton: Sie verwenden mehr als zwei Kochzonen, und das Geschirr besteht aus verschiedene Materialien.
- Brummen: Sie arbeiten mit hoher Leistungsstufe.
Klicken: Elektrischer Schaltvorgang.
Zischen, Summen: Der Lüfter ist in Betrieb.
These Gerausche sind normal und zeigen keine Mangel an.
WARNING
Verwenden Sie kein Kochgeschirr aus anderen Material und von abweichender Größe.
Durch den Einsatz von Kochgeschirr unterschiedlicher große oder Materialien können Gerausche und Vibrationen entstehen.
HINWEIS
Bei Verwendung geringer Leistungspegel (1 bis 5) werden möglicherweise Klickgeräusahe verursacht.
Verwenden geeigneter Töpfe und Pfannen
Hochwertige Pfannen bringen gute Ergebnisse.
- Sie erkennen eine gute Pfanne an ihrem Boden. Der Boden sollen dieck und möglichst eben sein.
- Achten Sie beim Kauf einer neuen Pfanne entsprechens auf den Durchmesser des Bodens. Die Hersteller geben oftvals nur den Durchmesser des oberen Rands an.
- Verwenden Sie keine Pfannen mit einem durch grobe Kanten und Riefen beschädigten Boden. Wenn Sie solche Pfannen über die Glaskeramikflächeziehen, können bleibende Kratzer entstehen.
In kaltem Zustand ist der Pfaffenboden normalerweise nicht nach innen gebogen (konkav). Erarf niemals nach außen gebogen (konvex) sein. - Wenn Sie besonderes Kochgeschirr, wie beispielsweise einen Dampfkochtopf, eine Schmorpfanne oder einen Wok verwenden möchten, beachten Sieitte die Anweisungen des Herstellers.
Energiespartipps

HINWEIS
Sie können wertvolle Energie sparen, wenn Sie die folgenden Punkte beachten:
- Stellen Sie Töpfe und Pfannen immer vor dem Einsatz des Kochfelds auf die Kochzone.
Verschmutzte Kochzonen und Pfannenböden erhöhen den Stromverbrauch. - Setzen Sie die Deckel von Töpfen und Pfaffen fest auf, um sie vollständig zu verschreiben.
Schalten Sie die Kochzonen vor dem Ende der Garzeit ab. Sie konnen die Restwärme nutzen, um Essen warm zu halten oder aufzutauen.
HINWEIS

Stellen ein einzelnes Kochgeschirr nicht gleichzeitig auf die linke und die rechte Kochzone.
Verwendend der Sensortasten
Zur Verwendung von Sensortasten drücken Sie so lange mit der Fingerspitze auf die jeweilige Stelle des Bedienfelds, bis die entsprechende Anzeige aufleuchtet oder erlischt oder die gewünschte Funktion aktiviert wird.
Stellen Sie sicher, dass Sie nur eine Sensortaste drucken, wenn Sie das Gerät bedieren. Wenn Sie ihren Finger zu stark auf eine Sensortaste drucken, kann es passieren, dass auch eine benachbarte Sensortaste ausgelöst wird.
Einschalten des Geräts

Das Gerät wird anschließend mit der Sensortaste Ein/Aus ① eingeschaltet. Berühren Sie die Sensortaste Ein/Aus ① etwas 1 bis 2 Sekunden lang. Im Display wird „ü“ angezeigt.
HINWEIS
Nachdem Sie das Gerät mit Hilfe der Sensortaste Ein/Aus ① eingeschaltet haben, müssen Sie innerhalb von etwa 20 Sekunden eine Leistungsstufe auswahlen. Andernfalls schaltet sich das Gerät aus Sicherheitsgründen selbst ab.
Verwendung des Geräts
Auswahlen einer Kochzone und Einstellen der Leistung

- Zum Auswahlen der Kochzone berühren Sie die Sensortaste für die entsprechende Zone.

- Zum Einstellen der gewünschten Leistungsstufe berühren Sie die Sensortaste Leistungsstufe.
HINWEIS
Bei Auschwitz der Kochzone ist standardmäßige Leistungsstufe 15 eingestellt.
HINWEIS
Wenn mehrere Sensortasten länger als 8 Sekunden gedrückt werden, erscheid im Display der Leistungseinstellung.
Ausschalten des Geräts

Das Gerät wird mit der Sensortaste Ein/Aus ① vollständig ausgeschelt. Berühren Sie die Sensortaste Ein/Aus ① etwas 1 bis 2 Sekunden lang.
HINWEIS
Nach dem Ausschalten einer Kochzone oder des Kochfelds wird die Restwärme der entsprechenden Kochzonen im Display mit H, h (zwei Stufen für „heiß") angegeben.
Die Temperatur wird abgesenkt und H, h wird nicht mehr angezeigt.
QuickStopp

Um eine Kochzone auszuschalten, drücken Sie 2 Sekunden lang auf die Sensortaste zum Auswahlen der Kochzone.
HINWEIS
Die Flex zone Plus-Sensortaste erfolgtkeine Schnellabschaltung.
Verwendend der Kindersicherung
Sie können die Kindersicherung verwenden, um zu verhindern, dass eine Kochzone unabsichtlich eingeschaltet oder das Kochfeld aktiviert wird. Sie können das Bedienfeld mit Ausnahme der Sensortaste Ein/Aus ① außerdem sperren (nur Abschaltung). Damit{lsst sich vermeiden, dass Sie versehentlich die Einstellungen verändern, indem Sie zum Beispiel mit einem Tuch über das Bedienfeld wischen.
Aktivieren/Deaktivieren der Kindersicherung

- Halten Sie die Sensortaste Kindersicherung ) 3 Sekunden lang gedrückt. Als Bestätigung ertont ein akustisches Signal.

- Berühren Sie eine der Sensortasten. L wird im Display fur alle Kochzonen angezeigt. Dies bedeutet, dass die Kindersicherung aktiviert ist.
- Zum Ausschalten der Kindersicherung berühren Sie die Sensortaste Kindersicherung erneut etwa 3 Sekunden lang. Als Bestätigung ertont ein akustisches Signal.
HINWEIS
Die Kindersicherung wird unabhängig davon aktiviert, ob das Geräteingeschaltet ist.
HINWEIS
Sie können die Kindersicherung beim Kochen verwenden. Verwenden Sie die Kindersicherung oder die Netztaste, um das Kochfeld in thisem Fall auszuschalten.
Timer (Herunterzahlen)
Sicherheitsabschaltung mit dem Timer:
Wenn Sie für eine Kochzone eine bestimmte Zeit einstehen, wird die Kochzone nach Ablauf dieser Zeit abgeschaltet. Diese Funktion kann auch für mehrere Kochzonen gleichzeitig verwendet werden.
Einstellen der Kochzonenabschaltung
Die gewünschte Kochzone muss eingeschaltet sein, damit Sie eine Zeit für die Abschaltung einstehen können.

- Nachdem Sie die Kochzone eingeschaltet haben, tippen Sie auf die Sensortaste der entsprechenden Kochzone, sodass die jeweilige Anzeige zu blinken beginnnt.

- Berühren Sie die Sensortaste Timer ① . Über der Timer-Anzeige wird die Zahl 10 angezeigt.
HINWEIS
Die Grundeinstellung des Timers ist 10.
3. Verwenden Sie die Sensortasten Timer (+ oder —), um die gewünschte Zeit einzustellen, nach der sich die Kochzone automatisch abschalten soll. Dies können zum Beispiel 15 Minuten sein. Die Abschaltung ist nun aktiviert.

HINWEIS
Der Timer kann in einem Bereich von 1 bis 99 eingestellt werden.
Verwendung des Geräts

- Um die Timer-Einstellung aufzuheiten, wahlen Sie die entsprechende Kochzone, und berühren Sie die Sensortaste Timer 2 Sekunden lang. Dadurch werden die Timer-Einstellungen für das ausgewählte Kochfeld storniert, und zur Bestätigung erklangt ein Signalton. Wenn Sie die Sensortaste Timer 2 Sekunden lang berühren, ohne ein Kochfeld auszuwahlen, so werden die Timer-Einstellungen des zuletzt geänderten Kochfelds aufgehoben.
Berühren Sie nach Auswahr des Kochfelds die Sensortaste Timer, um die für eine Kochzone verbleibende Zeit anzuzeigen.
Die Anzeige der entsprachenden Kochzone beginnnt langsam zu bli
Die Einstellungen werden mit Hilfe der Sensortaste Timer (+ oder —)
zurückgesetzt. Nachdem die eingestellte Zeit verstrichen ist, wird die Kochzone automatisch abgeschaltet, zur Bestätigung ertont ein akustisches Signal und im Display erscheint die entsprechende Timer-Anzeige.

HINWEIS
Um die Einstellungen schneller zu ändern, berühren Sie eine der Sensortasten (+ oder —) solange, bis der gewünschte Wert erreicht ist.
Timer (Hochzahlen)
Damit der Kurzzeitmesser verwendet werden kann, muss das Geräteingeschaltet sein und der Timerarf nicht zur Sicherheitsabschaltung einer der Kochzonen verwendet werden.

- Berühren Sie die Sensortaste Timer In der Timer-Anzeige erscheint .00
- Der Kurzzeitmesser wird aktiviert, und im Display lauft die Zeitanzeige. Um die Timer-Einstellungen aufzuheiten, berühren Sie die Sensortaste Timer ① 2 Sekunden lang.
- Drücken Sie die Sensortaste Timer 1, um den Timer anzuhalten.
Verwendend der Warmhaltefunktion

- Mit dieser Funktion konnen Sie bereits fertig zubereitete Gerichte warmhalten. Berühren Sie die Sensortaste der gewünschten Kochzone.

- Berühren Sie die Sensortaste Warmhalten

- Der Anzeige für das Kochfeld wird wieder geändert. Berühren Sie die Sensortaste erneut, um das Kochfeld auszuschalten.
Verwendendes Boosters
Der Booster P stellt den einzelnen Kochzonen zusätzliche Leistung zur Verfügung. (Beispiel: Es soll eine große Wassermenge zum Kochen gebracht werden.)
| Kochzonen | Max. Booster-Zeit |
| 145 mm | 10 Minuten |
| 210 mm | 10 Minuten |
| Hintere oder vordere Flex-Zone | 10 Minuten |
| Ganzi Flex-Zone | 5 Minuten |
Nach Ablauf dieser Zeit schalten die Kochzonen automatisch wieder zur Leistungsstufe 15 zugruck.
HINWEIS
Unter bestimmten Umständen wird der Booster möglicherweise automatisch deaktiviert, um die interne Elektronik des Geräts zu schützen. Zum Beispiel ist es nicht möglich, die maximale Leistung gleichzeitig für die wichtere und vordere Flexzone zu verwenden.
Verwendung des Geräts
Leistungsverwaltung
Für die Kochzonen gibt es eine maximale Leistung, die normalerweise nicht übersritten werden kann.
Wenn dieser Leistungsbereich durch Aktivieren des Boosters P überschritten wird, reduziert die Leistungsregelung die Leistungsstufe der Kochzone.

- Nr. 1 und Nr. 2 sind miteinander verbunden
- Nr. 3 und Nr. 4 sind miteinander verbunden
Die Anzeige der jeweiligen Kochzone wechselt für einelegungen zwischen der eingestellen Leistungsstufe und der hochsten Leistungsstufe. Anschließlich wechselt die Anzeige von der eingestellen Leistungsstufe zur hochsten Leistungsstufe.
Pause
Mit der Pause - Funktion können Sie gleichzeitig alle eingeschalteten Kochzonen auf niedrige Leistung und dann wieder auf die Leistungsstufe einstellen, die zuvor festgelegt war. Mit dieser Funktion können Sie die Zubereitung kurzzeitig unterbrenen, um beispelsweise einen Anruf entgegenzunehmen, und anschließend wieder fortsetzen.
Wenn die Funktion Pause aktiviert wird, werden alle Sensortasten außer denen für Pause , Kindersicherung und Sensortaste Ein/Aus ① deaktiviert. Um den Garvorgang fortzusetzen, drücken Sie erneut die Sensortaste für Pause .
| Bedienfeld | Display | |
| Aktivieren | Sensortaste für Pause △berühren | € |
| Deaktivieren | Sensortaste für Pause △berühren | Zurück zur vorherigen Leistungsstufe |
Flex-Funktion
Mit Hilfe der Flex-Funktion konnen Sie die gesamte linke Seite des Kochfelds zu einer einzigen Kochzone verbinden und besonderss große Kochgeschirr verwenden. (Beispiel: ovales Kochgeschirr, Fischpfanne)

- Berühren Sie die Sensortaste Flex zone Plus

- Zum Einstellen der gewünschten Leistungsstufe berühren Sie die Sensortaste Leistungsstufe.
HINWEIS
- Wenn Sie die Flex zone Plus-Sensortaste im Betrieb berühren, wird die Flex zone Plus-Funktion ausgeschaltet.
- Wenn Sie die Flex zone Plus-Sensortaste berühren, während die Kochfelder mit entsprechlicher Leistung arbeiten, werden die Kochfelder auf die höhere Leistungsstufe eingestellt.
- Durch Berühren des Flex zone Plus-Sensors bei laufender Flex-Zone schalten Sie die Flex-Zone aus.
- Brechen Sie den laufenden Vorgang ab, Wenn sie Kochgeschirr auf eine neue Flex zone Plus stellen (oder dahin schieben). Drücken Sie dann den entsprechenden Sensor, um die Kochzone zu aktivieren.

Ton ein/aus

- Berühren Sie die Sensortaste Ein/Aus ① etwa 1 bis 2 Sekunden lang.

- Berühren Sie die Sensortaste Pause innerhalb von 10 Sekunden nach dem Einsatzen 3 Sekunden lang.

- Der Signalon wird deaktiviert, und in der Anzeige erscheint, DF.

- Um die Einstellungen für den Signalton zu ändern, wiederholen Sie die Schritte 1 und 2. Der Signalton wird aktiviert, und in der Anzeige erscheidt „On".
HINWEIS
Das Gerät muss eingeschaltet sein, und Sie müssen die Einstellungen für den Ton innerhalb von 10 Sekunden nach Betätigten der Sensortaste Ein/Ausändern.
Empfohlene Einstellungen zum Kochen bestimmter Lebensmittel
Die Angaben in der nachfolgenden Tabelle dieren nur als Richtlinie. Die je nach Garverfahrens erforderliche Leistungsstufe hangt von einer Reihe verschiedener Variablen ab, wie unter anderem der Qualität des Kochgeschirrs sowie vom Typ und der Menge der gekochen Lebensmittel.
| Leistungsstufe | Garverfahren | Beispiele |
| 14-15 | Erhitzen | Erhitzen großer Flüssigkeitsmengen, Nudeln kochen, Fleisch braten, Gulasch anbraten, Fleisch schmoren |
| Anbraten | ||
| Braten | ||
| 8-11 | Intensiv | Steak, Schnitzel, Rösti, Würstchen, Pfannkuchen / Kartoffelpuffer |
| Braten | ||
| 7-10 | Braten | Geschnetzeltes / Gyros, Leber, Fisch, Frikadellen, Spiegeleier |
| 5-7 | Kochen | Kochen von bis zu 1,5 l Flüssigkeit, Kartoffeln, Gemüse |
| 2-4 | Dämpfen | Dünsten und Dämpfen kleiner Mengen an Gemüse, Kochen von Reis und Milchgerichten |
| Dünsten | ||
| Kochen | ||
| 1-2 | Schmelzen | Zerlassen von Butter, Auflösen von Gelatine und Schmelzen von Schokolade |
HINWEIS
Die in der obigen Tabelle angezeigten Leistungsstufen dieren nur als Anhaltspunkt und zu ihrer Hilfe.
HINWEIS
Sie müssen die Leistungsstufe entsprechend ihren Töpfen und den jeweiligen Lebensmitteln einstellen.
Reinigung und Pflege
Kochfeld

WARNING
Reinigungsmittel dürfen mit der bereits Glaskeramikfläche nicht in Kontakt kommt. Alle Reinigungsmittel müssen nach dem Säubern mit ausreichenden Mengen an klarem Wasser entfernt werden, weil sie eine ätzende Wirkung entfalten können, wenn die Oberfläche heißt wird. Verwenden Sie keine aggressiven Reinigungsmittel wie Grill- oder Ofensprays, Scheuerschwämme oder Pfaffenkratzer.

HINWEIS
Reinigen Sie die Glaskeramikfläche nach jeder Verwendung, wenn sie noch handwarm ist. Auf diese Weise verhindern Sie, dass ausgelaufenes Material in die Oberfläche eingebrannt wird. Entfernen Sie Kalkablagerungen, Wasserränder, Fetttropfen und metallische Verfährungen mit einem handelsüblichen Reinigungsmittel für Glaskeramik oder Edelstahl.
Leichte Verschmutzung
- Wischen Sie die Glaskeramikfläche mit einem feuchten Tuch ab.
- Reiben Sie sie mit einem sauberen Tuch trocken. Es dürfen keinerlei Reste von Reinigungsmittel auf der Oberfläche bleiben.
- Reinigen Sie dieGPC glaskeramikfläche einmal in derWoche grundlich mit einem handelsüblichen Reinigungsmittel fur Glaskeramik oder Edelstahl.
- Wischen Sie die Glaskeramikfläche mit ausreichend klarem Wasser ab, und reiben Sie sie mit einem sauberen, fusselfreien Tuch trocken.
Hartnackiger Schmutz

- Übergekochtene Lebensmittel und hartnackige Spritzer entfernen Sie mit einem Glasschaber.
- Halten Sie den Glasschaber schrag zur Glaskeramikfläche.
- Entfernen Sie die Verschmutzungen durch Schaben mit der Klinge.
HINWEIS
Glasschaber und Glaskeramikreiniger gibt es beim Fachhändler.
Schwer entfernbare Verschmutzungen

- Entfernen Sie eingebrannten Zucker, geschmolzenen Kunststoff, Aluminiumfolie und andere Materialien mit einem Glasschaber sofort und noch in heißen Zustand.
WARNING
Es besteht ein nicht unerhebliches Verbrennungsrisiko, wenn Sie den Glasschaber auf der bereits Kochzone verwenden.
2. Reinigen Sie das Gerät nach dem Abkühlen in gewohnter Weise. Wenn die Kochzone mit dem geschmolzenen Gut bereits abgekühlt ist, wärmen Sie sie zum Säubern wieder auf.
HINWEIS
Kratzer oder dunkle Flecken auf der Glaskeramikfläche, die zum Beispiel von einer Pfanne mit scharfen Kanten verursacht wurden, konnen nicht entfernt werden. Jedoch beeinträchtigen sie die Funktion des Geräts nicht.
Kochfeldrahmen (Zubehör)
WARNING
Achten Sie daraufuf, dass kein Essig, Zitronensaft oder Kalkentferner auf den Kochfeldrahmen gelangt. Andernfalls konnen stumpfe Flecken entstehen.
- Wischen Sie den Rahmen mit einem feuchten Tuch ab.
- Feuchten Sie getrocknete Rückstände mit einem nassen Tuch an. Wischen Sie sie anschließend ab, und reiben Sie die Oberfläche dann trocken ab.
So vermeiden Sie Schäden an Ihrlem Gerät
- Verwenden Sie das Kochfeld nicht als Arbeitsfläche; stellen Sie keine Gegenstände darauf auf ab.
Schalten Sie die Kochzone nicht mit leeren Kochgeschirr oder vollkommen ohne Kochgeschirr ein. - Glaskeramik ist sehr hart und unempfindlich auch gegen starke Temperaturschwankungen, aber sie ist nicht unzerbrechlich. Sie kann durch ein besonder scharfes oder schweres Objekt beschädigt werden, das auf die Glaskeramikfläche fällt.
- Stellen Sie keine Pfannen auf den Kochfeldrahmen. Dadurch kann es zu Kratzern und Schäden an der Oberfläche kommt.
- Vermeiden Sie es, saure Flüssigkeiten, wie z. B. Essig, Zitronensaat und Kalkentferner auf den Kochfeldrahmen zu schutten, da solche Flüssigkeiten stumpfle Flecken verursachen konnen.
- Wenn Zucker oder zuckerhaltige Lebensmittel mit einerHEYen Kochzone in Kontakt kommt und schmelzen, sollen den Sie die Rückstände sofort, also während sie noch hei sind, mit einem Kuchenschaber entfernen. Nach dem Abkühlen kann es beim Entfernen zur Beschadigung der Oberfläche kommt.
- Halten Sie schmelzbare Gegenstände und Materialien wie Kunststoff, Aluminiumfolie und Bratfolien von der Glaskeramikfläche entfernt. Wenn solche Dinge auf dem Kochfeld schmelzen, müssen sie sofort mit einem Schaber entfernt werden.
Garantie und Service
Häufig gestellte Fragen und Problembehebung
Aus einem gingefugigen Problem kann eine Fehlfunktion entstehen, die Sie mit den folgenden Anweisungen selbst korrigieren können. Versuchen Sie aber keine weitergehenden Reparaturen, wenn die folgenden Anweisungen in einem bestimmten Fall nicht halten.

WARNING
Reparatren des Geräts dürfen nur von entsprechend geschultem Fachpersonal vorgenommen werden. Unsachgemäß durchgeführte Reparaturen können den Benutzer erheblichen Risiken aussetzen. Wenn Ihr Gerät repariert werden muss, setzen Sie sichitte mit dem Kundendienstzentrum in Verbindung.
| Problem | Mögliche Ursachen | Lösung |
| Was ist zu tun, wenn die Kochzonen nicht Funktionieren? | Die Sicherung im Sicherungskosten hat ausgelöst. | Wenn die Sicherungen mehrmals auslösen, rufen Sie einen zugelassenen Elektriker. |
| Was ist zu tun, wenn die Kochzonen nicht eingeschaltet werden können? | Die Ein/Aus-Sensortaste wurde versehentlich betägt. Das Bedienfeld wird teilweise von einem feuchten Tuch verdeckt oder es ist eine Flüssigkeit darüber gelaufen. | Das Gerät ist richtig eingeschaltet. Reinigen des Bedienfels |
| Was ist zu tun, wenn alle Anzeigen im Display außer der Restwärmeanzeige H, plötzlich verschwinden? | Die Ein/Aus-Sensortaste wurde versehentlich betägt. Das Bedienfeld wird teilweise von einem feuchten Tuch verdeckt oder es ist eine Flüssigkeit darüber gelaufen. | Das Gerät ist richtig eingeschaltet. Reinigen des Bedienfels |
| Was ist zu tun, wenn nach dem Ausschalten der Kochzonen die Restwärme nicht angezeigt wird? | Die Kochzone wurde nur kurz verwendet und ist deshalb nicht heiß genug. | Wenn die Kochzone heiß ist, setzen Sie sichitte mit dem örtlichenKundendienstzentrum in Verbindung. |
| Informationscode | Mögliche Ursachen | Lösung |
| C0 | Kontrollieren Sie die Sensortaste für die Automatikprogramme | Schalten Sie das Gerät mit dem Ein-/Ausschalter wieder ein. Wenn das Problem weiterhin besteht, trennen Sie die Stromversorgung für mehr als 30 Sekunden. Schalten Sie das Gerät dann ein, und versuchen Sie es erneut. Wenn das Problem weiterhin besteht, wenden Sie sich an das nachstgelegene Samsung-Kundendienstzentrum. |
| C1 | Die gemessene Temperatur ist/higher als angegeben. | |
| C2 | Kontrollieren Sie die Sensortaste für die Automatikprogramme | |
| A2 | Der Gleichstrommotorläuft wegen Problumen mit der Platine oder der Verkabelung nicht, oder es sich zu einer elektrischen Störung einer Motorlamelle gekommen. | |
| d0 | Die Sensortaste wird länger als 8 Sekunden berührt. | Kontrollieren Sie, ob das Sensorfeld nass ist oder berührt wird. Wenn das Problem weiterhin besteht, schalten Sie das Gerät mit dem Ein-/Ausschalter wieder ein. Wenn das Problem weiterhin besteht, wenden Sie sich an das nachstgelegene Samsung-Kundendienstzentrum. |
| F0 | Störung der Kommunikation zwischen Hauptplatine und Unterplatinen. | Schalten Sie das Gerät mit dem Ein-/Ausschalter wieder ein. Wenn das Problem weiterhin besteht, trennen Sie die Stromversorgung für mehr als 30 Sekunden. Schalten Sie das Gerät wieder ein. Wenn das Problem weiterhin besteht, wenden Sie sich an das nachstgelegene Samsung-Kundendienstzentrum. |
| F2 | Das IC für die Berührungssteuerung communitiert nicht normal. |
Was ist zu tun, wenn eine Kochzone nicht ein- oder ausgeschaltet werden kann?
Mögliche Ursachen:
Das Bedienfeld wird teilweise von einem feuchten Tuch verdeckt oder es ist eine Flüssigkeit darüber gelaufen.
Die Kindersicherung ist aktiviert und in Display wird „L“ angezeigt.
Was ist zu tun, wenn die Anzeige „leuchtet?
Mögliche Ursachen:
Das Bedienfeld wird teilweise von einem feuchten Tuch verdeckt oder es ist eine Flüssigkeit darüber gelaufen. Drücken Sie zum Zurücksetzen die Sensortaste Ein/Aus.
- Wenn Flüssigkeit über das Bedienfeld lauft, wischen Sie sie ab.
Was ist zu tun, wenn die Anzeige „[ ]“ leuchtet?
Mögliche Ursachen:
Das Gerät ist wegen unsachgemäßer Benutzung überhitzt.
Zum Zurücksetzen berühren Sie die Sensortaste Ein/Aus, wenn das Kochfeld abgekühlt ist.
Was ist zu tun, wenn die Anzeige „ leuchtet?
Mögliche Ursachen:
Das verwendete Kochgeschirr ist ungreeignet bzw. zu Klein, oder es befindet sich kein Kochgeschirr auf der Kochzone.
- Sobald Sie geeignetes Kochgeschirr verwenden, verschwindet die angezeigte Meldung von selbst.
Was ist zu tun, wenn der Lüfter nach dem Abschalten weiterläufig?
Mögliche Ursachen:
- Auch nach Benutzung des Kochfelds bleibt der Lüfter angeschaltet, um das Gerät weiter abzukühlen.
- Der Lüfter wird ausgescheltet, sobald die Elektronik des Geräts abgekühlt oder die Höchstdauer (10 Minuten) vergangen ist.
- Wenn Sie wegen eines Bedienungsfehlers eine Serviceleistung anfordern, kann dies)sagar wahrend derGarantiezeitkostenpflichtigsein.
Service
Ehe Sie Unterstützung oder Serviceleistungen anfordern,lesen Sie den Abschnitt „Problemebeziehung". Wenn Sie weiterhin Hilfe bestehtigten, befolgen Sie die nachfolgenden Anweisungen.
Handelt es sich um eine technischer Störung?
Wenn dem so ist, setzen Sie sich mit dem Kundendienstzentrum in Verbindung. Bereiten Sie sich schon vorher auf das Geschäft vor. Damit vereinfachen Sie die Problemdiagne und können Unklarheiten vorab klären.
Bitte notieren Sie die folgenden Informationen:
- Wie äußert sich das Problem?
- Unter welchen Umständen tritt das Problem auf?
Wenn Sie anrufen, sollenn Sieitte das Modell und die Seriennummer Ihres Gerats bereithalten. Diese Informationen finden Sie auf dem Typenschild:
- Modellbeschreibung
Seriennummer (15 Stellen)
Wir empfehlen Ihnen, diese Informationen vor Einbau des Gerätes hier im Handbuch zu notieren, damit sie später möglich aufzufunden sind.
Modell:
- Seriennummer:
Wann entstehen Ohnen)sogar während der Garantiezeit Kosten?
- Wenn Sie das Problem durch Anwenden einer der Lösungen aus dem Abschnitt „Problemebehebung" selbst hatten offen können.
- Wenn der Kundendiensttechniker mehrere Serviceanrufe durchführten muss, weil ihm vor seinem Besuch nicht alle relevanten Informationen zur Verfügung gestellt werden und deshalb beispiselsweise zusätzliche Fahrten für Ersatzteile erforderlich sind. Wenn Sie sich auf ihren Telefonanruf in der oben beschriebenen WeiseVBoreiten,ersparen Sie sich die Kosten dieser Fahrten.
Technische Daten
Technische Daten
| Maße des Geräts | Breite | 600 mm |
| Tiefe | 520 mm | |
| Höhe | 56 mm | |
| Maße des Ausschnits in der Arbeitsplatte | Breite | 560 mm |
| Tiefe | 490 mm | |
| Höhe | 72 mm | |
| Eckenradius | 3 mm | |
| Betriebsspannung | 220 - 240 VAC 50/60 Hz | |
| Maximal angeschlossene Last | 7,2 kW | |
| Gewicht | Netto | 13,2 kg |
| Brutto | 16,0 kg | |
Kochzonen
| Position | Durchmesser | Leistung |
| Vorne rechts | 210 mm | 2200 W / mit Booster 3200 W |
| RechtsAPHen | 145 mm | 1400 W / mit Booster 2000 W |
| Flex Plus vorn | - | 1800 W / mit Booster 2600 W |
| Flex PlusAPHen | - | 1800 W / mit Booster 2600 W |
| Flex Plus Mitte | - | 1800 W / mit Booster 3000 W |
| Ganze Flex-Zone | - | 3300 W / mit Booster 3600 W |
Produktinformationen
| Name des Lieferanten | Samsung Electronics Co. Ltd |
| Modellkennung | NZ64R7757BK |
| Art der Kochmulde | Einbau |
| Heiztechnik | Induktionskochzonen und -kochfläche |
| Anzahl der Kochzonen und/oder Kochflächen | 3 |
| Bei kreisfürmigen Kochzonen oder-flächen: Durchmesser der nutzbaren Oberfläche für jeder elektrisch beheizte Kochzone (Ø) | 21,0 cm, 14,5 cm |
| Bei nicht kreisfürmigen Kochzonen oder-flächen: Länge und Breite der nutzbaren Oberfläche für jeder elektrisch beheizte Kochzone und jeder elektrisch beheizte Kochfläche (L x W) | 24,0 x 38,0 cm |
| Energieverbrauch je Kochzone oder -fläche je kg (EC electric cooking) | Ø 21,0 cm: 184,2 Wh/kg |
| Ø 14,5 cm: 191,3 Wh/kg | |
| 24,0 x 38,0 cm: 199,0 Wh/kg | |
| Energieverbrauch der Kochmulde je kg (EC electric hob) | 191,5 Wh/kg |
- Daten ermittelt entsprechend der Norm EN 60350-2 und der Kommissionsverordnung (EU) Nr. 66/2014.
Energiespartipps
- Stellen Sie Töpfe und Pfaffen immer vor dem Einsatz des Kochfelds auf die Kochzone.
- Verschmutzte Kochzonen und Pfannenböden erhöhen den Stromverbrauch.
Durch Einsatz eines Dampfkochtopfs konnen Sie die Garzeiten reduzieren.
Notizen

Notizen


Notizen


FRAGEN ODER HINWEISE?
| LAND | RUFEN SIE UNS AN UTER | ODER BESUCHEN SIE UNS ONLINE UTER |
| AUSTRIA | 0800 72 67 864 (0800-SAMSUNG) | www.samsung.com/at/support |
| BELGIUM | 02-201-24-18 | www.samsung.com/be/support (Dutch) www.samsung.com/be_fr/support (French) |
| DENMARK | 707 019 70 | www.samsung.com/dk/support |
| FINLAND | 030-6227 515 | www.samsung.com/fi/support |
| FRANCE | 01 48 63 00 00 | www.samsung.com/fr/support |
| GERMANY | 06196 77 555 77 | www.samsung.com/de/support |
| ITALIA | 800-SAMSUNG (800.7267864) | www.samsung.com/it/support |
| CYPRUS | 8009 4000 only from landline, toll free | |
| GREECE | 80111-SAMSUNG (80111 726 7864) only from land line (+30) 210 6897691 from mobile and land line | www.samsung.com/gr/support |
| LUXEMBURG | 261 03 710 | www.samsung.com/be_fr/support |
| NETHERLANDS | 088 90 90 100 | www.samsung.com/nl/support |
| NORWAY | 21629099 | www.samsung.com/no/support |
| PORTUGAL | 808 207 267 | www.samsung.com/pt/support |
| SPAIN | 0034902172678 | www.samsung.com/es/support |
| SWEDEN | 0771 726 786 | www.samsung.com/se/support |
| SWITZERLAND | 0800 726 78 64 (0800-SAMSUNG) | www.samsung.com/ch/support (German) www.samsung.com/ch_fr/support (French) |
| UK | 0330 SAMSUNG (7267864) | www.samsung.com/uk/support |
| IRELAND (EIRE) | 0818 717100 | www.samsung.com/ie/support |
EinfachAnleitung