Z64R7757BK - Kookplaat SAMSUNG - Gratis gebruiksaanwijzing en handleiding
Vind de handleiding van het apparaat gratis Z64R7757BK SAMSUNG in PDF-formaat.
Download de handleiding voor uw Kookplaat in PDF-formaat gratis! Vind uw handleiding Z64R7757BK - SAMSUNG en neem uw elektronisch apparaat weer in handen. Op deze pagina staan alle documenten die nodig zijn voor het gebruik van uw apparaat. Z64R7757BK van het merk SAMSUNG.
GEBRUIKSAANWIJZING Z64R7757BK SAMSUNG
Gebruikershandleiding
NZ64R7757BK

Inhoud
Overdeze handleiding 3
In deze gebruikershandleiding worden de volgende symbolen gebruikt: 3
Modelnaam en serienummer 3
Veiligheidsinstructures 3
Verpakkingsmaterial opruimen 6
Dejuiste wijze om uw oude apparatuur af te voeren 6
Correcte verwijdering van dit product
(elektrische & elektronische afvalapparatuur) 7
Installatie van de kookplaat 7
Veiligheidsinstrumentes voor de installmenteur 7
Aansluiting op de stroomvoorziening 8
Installatie in het werkblad 9
Onderdelen en kenmerken 11
Kookzones 11
Bedieningspaneel 12
Onderdelen 12
Verhitting door inductie 12
De belangrijkste functies van uw apparaat 13
Veiligheidsuitschakeling 14
Flexzone Plus 14
Restwarmte-indicator 15
Temperatuurdetectie 15
Gebruik van de kookplaat 15
Eerste Reinigung 15
Pannen voor inductiekookzones 15
Geschiktheidstest 16
Panformaat 16
Bedieningsgeluiden 16
Gebruik geschichte pannen 17
2 Netherlands
De tiptoetsbediening gebruiken 17
Het apparaat inschakelen 17
Selecteer de gewenste temperatuurinstelling. 18
Het apparatus uitschakelen 18
Snelletop 18
Het kinderslot gebruiken 19
Timer (aftellen) 19
Timer (optellen) 20
Warm houden gebruiken 21
Vermogensversterking 21
Energiebeheer 22
Onderbreken 22
Flexzones 22
Geluid aan/uit 23
Suggesties voor het bereiden van bepaalde levensmiddelen 23
Reiniging en behandeling 24
Kookplaat 24
Lichte bevuiling 24
Hardnekig vuil 24
Probleemvuil 25
Frame van kookplaat (optioneel) 25
Voorkom schade aan uw apparaat: 25
Garantie en service 26
Veelgesteldevragenenprobleemoplossing 26
Service 27
Neemt u even rustig deijd om deze gebruiksaanwijzing door te lezen alvorens u het apparaat aansluit en let waar bij in het bijzonder op de veiligheidsinformatie in de volgende paragraaf. Bewaar deze gebruiksaanwijzing zodate u er ook in de toekomst gebruik van=kunt make. Wanner u het apparaat verkoopt of overdraagt, dient u de gebruiksaanwijzing bij te voegen.
In deze gebruikershandleiding worden de volgende symbolen gebruikt:
WAARSCHUWING
Risico's of onveiligige situatuies die kuren leiden tot ernstig lichamelijk letsel of de dood.
VOORZICTIG
Risico's of onveiligige situatives die kuren leiden tot Licht lichamelijk letsel of schade aan eigendommen.
VOORZICTIG
Om de kans op brand, explosies, elektrische schokken of persoonlijk letsel bij het gebruik van uw kookplaat te verminderen, dient u deze veiligheidsvoorschriften te volgen.
OPMERKING
Handige tips, aanbevelingen of informatie over het gebruik van het product.
Modelnaam en serienummer
Zowel de modelnaam als het serialummer staan op een etiket op de onderzijde van de kookplaat.
Noteer deze informatatie, of bevestig het extra productetiket (op de boenzijde van het product) aan deze pagina voor later gebruik.
Modelnaam
Serienummer
Veiligheidsinstructies
De veiligheidsvoorzieningen van dit apparaat voldoen aan alle technische normen en veiligheidsnormen op dit gebied. Als producent van dit product hij wijECHTER van mening dat het van belang is dat u de volgende veiligheidsinstructies grondig doormeemt.
WAARSCHUWING
Dit apparaat is Niet bedoeld voor gebruik door Personen (inclusief kinderen) met een verminderd fysiek, zintuiglijk of mental vermogen, of met onvoldoende ervaring en kennis, tenzijdezetoestemming voor of instructies met betrekking tot het gebruik van het apparaat hebben gekregen van een persoon die verantwoordelijk is voor hun verilgheid.
Kinderen dienen onder toezicht te worden gehonden om te voorkomen dat ze met het apparaat gaan spelen.
Dit apparaat kan door kinderen vanaf acht Jaar en door personen met een verminderd fysiek, zintuiglijk of mentalaal vermogen, of gebrek aan ervaring en kennis, worden gebruikt als ze onder toezicht staan of instructies hebben gekreten omtrent het veilige gebruik van het apparaat en ze de risico's begrijpen. Kinderen mogen Niet met het apparaat spelen. Kinderen mogen alleen onder toezicht reinigings- en onderhoudswerkzaamheden uitvoeren.
De möglichkheid om het apparaat los te koppelen,要去inz ingebouwd in de vaste bedrading overeenkomstig de richtlijnen voor bedrading.
Veiligheidsinstructies
Dit apparaat要去 installatie nog van het stroomnet kennen worden losgekoppeld. U kunt het apparaat loskoppelen door de stekker toegankelijk te latent of door een schakelaar in de bedrading in te bouwen overeenkomstig met de richtlijnen voor bedrading. Als het netsnoer is beschadigd,要去 u het latentervangen door de fabrikant of de onderhoudsdienst van de leverancier, of door een andere gekwalificierde monteur, om gevaarlijke situatuies te voorkomen.
Voor de bevestigingsmethode mogen geen kleefstoffen worden gezrukt, aangezien deze Niet als een betrouwbare bevestigingsmethode worden beschouwd.
WAARSCHUWING: Als de kookplaat barsten vertoont, schakelt u het apparaatuit om een eventuele elektrische schok te voorkomen.
Het apparaat wordt heetijdens het gebruik. Zorg ervoor dat u de verwarmingselementen binnen in de kookplaat nooit aanraakt.
WAARSCHUWING: Bereikbare onderdelen können heet wordenijdens het gebruik. Houdjonge kinderen uit de buurt.
Gebruik geen stoomreiniger.
Metalen voorwerpen zoals messen, vorken, lepels en deksels mogen Niet op de kookplaat worden geplaatst, aangezien deze heet+kennen worden.
Schakel na gebruik de betreffende kookzone uit via het bijbehorende bedieningselement en vertrouw Niet slechts op de pandetector.
Het apparaat is Niet bedoeld voor bediening met een externe timer of een apart systeem voor bediening op afstand.
VOORZICHTIG: Houd het vereidingsproces in de gaten. Houd een vereidingsproces van korte duur voortdurend in de gaten.
Om oververhitting te voorkomen, mag u dit apparaat Niet darüber een decoratieve kastdeur installeren.
WAARSCHUWING: Het apparaat en de bereikbare onderdelen ervan worden heetijdens gebruik. Zorg ervoor dat u de verwarmingselementen nooit aanraakt. Kinderenjonger dan acht发展格局要去enuit de buurt van het apparaat worden gehouden, tenzij ze onder voortdurend toezicht staan.
WAARSCHUWING: Als u met vet of olie op een kookplaat kookit en dit Niet in de gaten houdt, kan dit gevaarlijk zijn en tot brand leiden. Probeer NOOIT brand te blussen met water, maar schakel het apparaatuit en bedek de vlammen bijvoorbeeld met een deksel of een branddeken.
WAARSCHUWING: Brandgevaar: bewaar geen voorwerpen op het kookoppervlak.
WAARSCHUWING: Gebruik alleen kookplaatbeschemmers van de fabrikant van het kookapparaat of waarvan door de fabrikant van het apparaat in de gebruiksinstructies worden aangegeven dat ze geschikt zich, of kookplaatbeschemmers die in het apparaat�ingebouwd. Het gebruik van ongeschikte beschemmers kan leiden tot ongelukken.
4 Netherlands
De oppervlakken können heet wordenijdens het gebruik.
Dit apparaat kan door kinderen vanaf acht waar en door personen met een verminderd fysiek, zintuiglijk of mentalaal vermogen, of gebrek aan ervaring en kennis, worden gebruikt als ze onder toezicht staan of instructies hebben gekregen omtrent het veilige gebruik van het apparaat en ze de risico's begrijpen. Kinderen mogen Niet met het apparaat spelen. Reiniging en door gebruikers te plegen onderhoud mogen Niet worden uitgevoerd door kinderen, tenzij zij ouder zich dan 8aar en er toezicht op ze worden gehonden.
Houd het apparaat en het netsnoer buiten het bereik van kinderen diejonger dan acheel waar+zijn.
VOORZICTIG
Zorg dat het apparaat op de juiste manier is geinstalleerd en geaard door een gekwalificierde monteur.
Het apparaat mag alleen worden onderhoven door onderhoudspersoneel dat hiervoor gekwalificiererd is. Reparaties die worden uitgevoerd door Niet-gekwalificierde Personen können leiden tot ernstig letsel of storingen. Als uw apparaat要去 worden gerepareerd, neemt u hiervoor contact op met uwplaatsilijke servicecentrum. Het Niet opvolgen van deze instructies kan leiden tot schade en het verwallen van uw garantie.
Apparaten voor inbouw mogen pas worden gezruikt nadat ze zijn ingebouwd in kasten of werkbladen die aan de geldende normen voldoen. Hierdoor worden contact met de elektrische eenheden voorkomen, zoals voorgeschreven in de geldende verligheidsnormen.
Wonneer het apparaat een storing vertoont, bredkt, scheurt of er barsten in ontstaan:
schakelt u alle kookzones UIT;
sluit u de kookplaat van de stroomvoorziening af; en
- neemt u contact op met uwplaatselijke servicecentrum.
Als de kookplaat barst, dient u het apparaat UIT te schakelen om een eventuele elektrische schok te voorkomen. U kunt de kookplaat pas waar gebruiken wanner het glazen oppervlak is verrangen.
Gebruik de kookplaat nooit om aluminiumfolie, producten die in aluminiumfolie zijn gew Wikkeld of bevroen levensmiddelen in een aluminium verpakking te verhitten.
Vloeistoffen:tussen de onderkant van de pan en de kookplaat+kunnen stoom onder hoge druk produceren. Hierdoor kan de pan omhoog springen.
Zorg er.altijd voor dat de kookplaat en de onderkant van de pandroog blijven.
De kookzones worden warm wanner u kookt.
Houdkleine kinderen altijduit de buurt van het apparaat.
Veiligheidsinstructies
Houd alle verpakkingsmaterialen buiten bereik van kinderen, aangezien deze materialen gevaarlijk voor kinderen können+zijn.
Dit apparaat mag alleen worden gebruikt voor de normale bereiding van voedsel in een huishouden. Het is Niet geschikt voor commercieel of industrieel gebruik.
Gebruik de kookplaat nooit om een ruimte te verwarmen.
Let op wonneer u elektrische apparaten aansluit op een stopcontact in de buurt van de kookplaat. Snoeren mogen nooit in aanraking met de kookplaatkommen.
Oververhitte vetten en olie kuren snel ontvlammen. Blijf alkijd bij het apparaat wanner u voedsel bereidt in vetten of olie, bijvoorbeeld wanner u friet bakt.
Schakel de kookzones na gebruik UIT.
Houd de bedieningszones schoon en droog.
Plaats nooit ontbrandbare items op de kookplaat i.v.m. brandgevaar. Onzorgvuldig gezbruik van het apparaat kan tot brandwonden leiden. Snoeren van elektrische apparaten mogen nooit in aanraking komem met het hete oppervlak van de kookplaat of hete pannen.
Gebruik de kookplaat Niet om kleding te drogen.
Gebruikers met een pacemaker of een actief hartimplantaat要去en met hun bovenlichaam ten minste 30~cm afstand tot ingeschakelde inductiezones bewaren. Raadpleeg bij twijfel de fabrikant van het apparaat of een arts. (Alleen modellen met een inductiekookplaat)
Probeer het apparaat Niet eigenhandig te repareren, te demonteren of aan te passen.
Schakel de apparatuur alkijd uit alvorens u deze gaat reinigen.
Volg bij het reinigen van de kookplaat de aanwijzingen in deze gebruiksaanwijzing.
Houd huisdieren uit de buurt van het apparaat, aangezien ze op de bedieningselementen van het apparaat+kennen stappen en zo een storing hunnenveroorzaken.
Verpakkingsmaterialiaol opruimen
WAARSCHUWING
Alle gebruike verpakkingsmaterialen zijn volledig recyclehaar. Vellen en harde schuimdelen zijn op de geeigende manier gemarkeerd. Let er bij de verwijdering van verpakkingsmaterial en oude apparaten op dat u zich houdt aan veiligheids- en milieuvoorschriften.
De juiste wijze om uw oude apparatuur af te voeren
WAARSCHUWING
Voordat u het oude apparaat afvoert, dient u het onklaar te latent makeen om te voorkomen dat het een veiligheidsrisico vormt. Met dit doel maar u een bevoegd technicus het apparaat loskoppelen van de stroomvoorziening en het netsnoer verwijderen.
Het apparaat mag nicht worden meegegeven met het huisvuil.
Informatie over het ophalen van grofvuiel en eventuele stortplaatsen is beschikbaar bij de milieudienst van uw gemeente.
Correcte verwijdering van dit product (elektrische & elektronische afvalapparatuur)


(Van toepassing in landen waar afval gescheiden worden ingezameld)
Dit merkteken op het product, de accessoires of het informatiematerialia duidt erop dat het product en+zijn elektronische accessoires (bv. lader, headset, USB-kabel) Niet met ander huishoudelijk afval verwijderd mogen worden aan het einde van hun gebruiksduur. Om möglichke schade aan het milieu of de menselijke gezondheid door ongecontroleerde afvalverwijdering te voorkomen, moet u deze articelen van andere soorten afval scheiden en op een verantwoorde manier recyclen, zodat het duurzame hergebruik van materiaalbronnen worden bevorderd. Huishoudelijk gebruikers要去en contact opnemen met de winkel waar ze dit product hebben gekocht of met de gemeente waar ze wenen om te vernemen waar en hoe ze deze artikelen milieuvriendelijk kunnen latent recyclen. Zakelijk gebruikers要去en contact opnemen met hun leverancier en de algemene voorwaarden van de koopovereenkomst nalezen. Dit product en+zijn elektronische accessoires mogen Niet met ander bedrijfsafval voor verwijdering worden gemengd.
Ga voor informatie over de milieuverbintenissen en productspecifieke wettelijkke verplichtingen van Samsung (zoals REACH, WEEE en batterijen of accu's) maar : samsung.com/uk/aboutsamsung/samsungelectronics/corporatecitizenship/datacorner.html
Installatie van de kookplaat
WAARSCHUWING
Zorg dat uw apparaat uitsluitend worden geinstalleerd en geaard door een gekwalificierde monteur.
Houdt u zich aan deze instructie. De garantie geldt nicht voor etwa vorm van schade die het gevolg is van onjuiste installmentie.
Technische gegevens zijn te vinden achefterin deze gebruiksaanwijzing.
Veiligheidsinstructies voor de installmenteur
- De elektrische installmentie van het apparaat要去 zodanig�n dat het aan beiden polen kan worden afgesloten van de stroom en dat de contacten ten minste 3 mm van elkaar verwijderd hunnen worden. Geschikte installies hiervoor�n onder meer smeltveiligheden,zekeringen (schroefzekeringen要去en uit de houder worden genomen), aardlekschakelaars en andere schakelaars.
- Op het gebied van de brandveiligheid voldoet dit apparaat aan EN 60335 - 2 - 6. Dit type apparaat kan worden geinstalleerd naast een hove kast of een wand aan een kant.
- De installmentie moet bescherming bieden gegen schokken.
- De keukeneenheid waarin het apparaat worden gemonteerd, moet voldoen aan de stabiliteitseisen van DIN 68930.
- Als beschermende maatregel gegen vocht dienen alle open oppervlakken te worden afgesloten met een geschikte aufdichtingskit.
- Op betegelde werkbladen要去en de voegen in de omgeving van de kookplaat volledig�zem gevuld met voegspecie.
- Bij werkbladen van natuursteen, kunststof en aardewerk moeten de veren worden vastgezet met een geschikte kunsthars of een menglijk.
Zorg dat de affdichting goed aansluit op het werkblad en dat er geen openingsen ontstaan. Gebruik nooit extra siliconenkit; hierdoor worden verwijdering bij onderhoud en reparaties erg moeilijk. - De kookplaat要去 van onderaf omhoog worden geduwd om hem te kannenuitnemen.
Er kan een plank onder de kookplaat worden geplaatst. - De ventilatieopeningCUSHTHET WERKBLAD EN DE Voorkant van de eenheid eronder mag Niet worden afgedekt.
Installatie van de kookplaat
Aansluiting op de stroomvoorziening
Alvorens u overgaat tot aansluiting, contrôleert u of het nominale voltage, d.w.z. het voltage op het typeplaatje, overeenkomt met het aangeboden voltage van de stroomvoorziening. Dit plaatje vindt u onder aan de behuizing van de kookplaat.
WAARSCHUWING
Sluit de stroom af alvorens u de bedrading aansluit.
Het verwarmingselement heeft een voltage van AC 230 V~. Het apparatus watkt erchter ook prima opoudere netten met AC 220 V~ of AC 240 V~. De kookplaat要去zadanig worden aangesloten dat hij aan beiden polen kan worden afgesloten van de stroom en dat de contactpunten ten minste 3mm van elkaar verwijderd+kunnen worden, bijvoorbeeld door middel van smeltveiligheden,zekeringen (schroefzekeringen要去enuit de houder worden genomen), aardlekschakelaars en andere schakelaars.
WAARSCHUWING
De kabelaansluitingen要去en voldoen aan de regelgeving en de schroeven van de aansluitingen要去en stevig worden aangedraaid.
WAARSCHUWING
Wonneer de kookplaat eenmaal is aangesloten op de stroomvoorziening, controleert u of alle kookzones gereed zichen voor gebruik door ze een voor een in te schakelen en met geschikte pannen op maximaal te zetten.
WAARSCHUWING
Let op (naleving) van de juiste aansluiting van fase en neutraal bij de aansluitingen in huis en van het apparaat (aansluitschema's); anders können onderden beschadigd raken.
De garantie geldt nicht voor schades die zich ontstaan door onjuiste installmentie.
WAARSCHUWING
Als het netsnoer is beschadigd,要去 hedaten verrangen door de fabrikant of de onderhoudsdienst van de leverancier, of door een andere gekwalificeerde monteur, om gevaarlijke situatuies te voorkomen.

1N~ (32A)
| 01 | 220-240 V ~ | 04 | Blauw |
| 02 | Bruin | 05 | Grijs |
| 03 | Zwart | 06 | Groen/Geel |

2N~ (16A): scheid de 2-fasige draden (L1 en L2) vór aansluiting.
| 01 | 220-240 V ~ | 05 | Blauw |
| 02 | 380-415 V ~ | 06 | Grijs |
| 03 | Bruin | 07 | Groen/Geel |
| 04 | Zwart |

2 x 1N~ (16A): scheid de draden vór aansluiting.
| 01 | 220-240 V ~ | 05 | Zwart |
| 02 | Bruin | 06 | Grijs |
| 03 | Blauw | 07 | Groen/Geel |
| 04 | 220-240 V ~ |
WAARSCHUWING
Volg voor een correcte aansluiting op de stroomtoevoer het bedradingsschemat dat in de buurt van de aansluitingen te vinden is.
8Nederlands
Installatie in het werkblad

A. Serienummer
OPMERKING
Neem het serialummer van het apparaat over voordat u het installeert. Dit nummer heeft u nodig wonneer u om assistentie vraagt en het is Niet longer zichtaar na installmentatie, aangezien het zich op het typeplaatje bevindt op de onderzijde van het apparaat.
OPMERKING
Let op de minimale vereisten voor ruimte en speling.
OPMERKING
De onderkant van de kookplaat is uitgerust met een ventilator. Als zich een lade onder de kookplaat bevindt, mag deze Niet worden gezruikt voorkleine voorwerpen of papier, aangezien de ventilatoren beschadigd+kennenraken of de koeling nadelig kan worden beinvloed als ze in de ventilatoren worden gezogen.

| Nr. | Uitleg | Afmeting |
| 01 | Hoogte van ventilatiegat | Min. 2 mm |
| 02 | Breedte van ventilatiegat | 560 mm |



| Nr. | Uitleg | Afmeting |
| 01 | Controle 4 punten | |
| 02 | Board diameter | Ø 6 |
| 03 | Juiste hoek van snijpunt | 90° |
| 04 | Afmeting snijbredsde | 560±1 mm |
| 05 | Afmeting snijdiepe | 490±1 mm |
| 06 | Afmeting ronding | R3 |
| 07 | Afmeting tafeldikte | Max. 50 mm, Min. 20 mm |
| 08 | Afstand:tussen uiteinde tafel en snijpunt (achterkant) | Min. 60 mm |
| 09 | Diepte van tafel | Min. 600 mm |
| 10 | Afstand:tussen uiteinde tafel en snijpunt (linkerkant) | Min. 60 mm |
| 11 | Afstand:tussen uiteinde tafel en snijpunt (rechterkant) | Min. 60 mm |
| 12 | Afstand:tussen uiteinde tafel en snijpunt (voorkant) | Min. 50 mm |

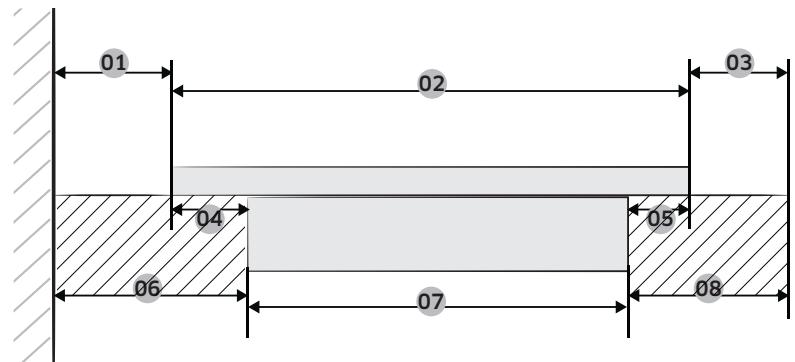
Installatie van de kookplaat

| Nr. | Uitleg | Afmeting |
| 01 | Afstand:tussen muur en inductie | Min. 40 mm |
| 02 | Diepte van inductie | 520 mm |
| 03 | Afstand:tussen inductie en uiteinde van tafel | Min. 40 mm |
| 04 | Afstand:tussen glas en brander | 25 mm |
| 05 | Afstand:tussen glas en brander | 15 mm |
| 06 | Afstand:tussen muur en brander | Min. 60 mm |
| 07 | Diepte van brander | 480 mm |
| 08 | Afstand:tussen brander en uiteinde van tafel | Min. 50 mm |

| Nr. | Uitleg | Afmeting |
| 01 | Breedte van ventilatiechers | Min. 550 mm |
| 02 | Hoopte van ventilatiechers | Min. 35 mm |
| 03 | Diepte van netsnoergoot | Max. 65 mm |
| 04 | Breedte van netsnoergoot | Max. 100 mm |
| 05 | Hoopte van meubelplaat | Min. 5 mm |

| Nr. | Uitleg | Afmeting |
| 01 | Afmeting ventilatie | Min. 20 mm |
| 02 | Min. 2 mm | |
| 03 | Min. 20 mm |

Onderdelen en kenmerken



Kookzones
| 01 | Inductie Flexzone Plus 3300 W, met vermogensversterking 3600 W |
| 02 | Inductiekookzone 1400 W, met vermogensversterking 2000 W |
| 03 | Inductiekookzone 2200 W, met vermogensversterking 3200 W |
| 04 | Bedieningspaneel |
Onderdelen en kenmerken

Bedieningspaneel
| 01 | Aan/Uit-toets |
| 02 | Flexzone Plus-toets |
| 03 | Indicatoren voor temperatuurinstellenen en restwarmte |
| 04 | Kookzone-toets |
| 05 | Toets Warm houden |
| 06 | Timertoets en indicator (aftellen) |
| 07 | Timertoets en indicator (optellen) |
| 08 | Vergrendelingstoets |
| 09 | Temperatuurinstelling |
| 10 | Pauze&Gaan-toets |

Onderdelen
Inductiekookplaat

Veersteun

Verhitting door inductie
A. Inductiespoel
B. Inductiestromen
C. Stroomcircuits
- Het principe anschter verhitting door inductie: Wonneer u een pan op een kookzone plaatst en deze inschakelt, produceert het stroomcircuit in de inductiekookplaat een "inductiestroom" in de bodem van de pan, waardoor de temperatuur van de pan onmiddelijk stijgt.
Sneller koken, bakken en braden: Doordat de pan rechtstreeks worden verhit, dus zonder dat het glas eerst worden verhit, is dit systeme efficienter dan andere, omdat er geen warmte verloren gaat. De meeste opgenomen energia worden in warmte omgezet.
De belangrikkste functies van uw apparaat
- Keramisch glazen kookoppervlak: De kookplaat heeft keramische, snel reagerende kookzones.
Tiptoetsen: Het apparaat kan worden bediend door middel van tiptoetsen. - Eenvoudig reinigen: De platte kookplaat van keramisch glas is eenvoudig te reinigen.
- Aan/Uit-toets: De Aan/uit-toets dient als aan/uit-schakelaar voor het apparaat. Wonneer u deze aantikt, worden de stroom volledig in- ofuitgeschakeld.
- Controle- en functie-indicatoren: Digitale displays en indicatorlampjes geben informatie over deinstallen en de geactiveerde functies en over eventuele restwarmte in deverschillende kookzones.
Veiligheidsschakeling: Een veiligheidsschakeling zorgt ervoor dat alle kookzones automatisch worden uitgeschakeld wonneer de instelling na een bepaaldeijd Niet is gewijzigd. - Vermogensversterking P: Met deze functie kut u de inhoud van de pan sneller verwarmen dan met het maximaal instelbare vermogen 15 möglichk is. (Op het display worden P weergegeven.)
-
Automatische pandetector: elke kookzone bevat een automatische pandetector. Deze is ingesteld om pannen te herkennen die net ieits kleiner zichn dan de kookzone. Pannen要去 altijd midden op de kookzone worden geplaatst. Tevens要去 den pannen voor inductie geschikt zichn.
-
Digitale displays:
I t/m 15, F voor het selecteren van temperatuurinstellenen
H: restwarmte (Warm blijven)
H:restwarmte
L: het kinderslot is geactiveerd
- : melding, de tiptoets is langer dan 8 seconden aangeraakt.
- [1]: melding, de kookplaat is oververhit geraakt vanwege onjuist gebruik. (Voorbeeld: door gebruik van lege pannen.)
: de pan is ongeschicht of te Klein, of er is geen pan op de kookzone geplaatst.
Warm honden: gebruik deze functie om bereide gerechten warm te honden. Op het display wordt 一 _ 一 ^ weergegeven.
- Onderbreken : gelebruik deze functie om alle kookzones op laag vermogen in te stellen. (Voorbeeld: om een telefoongesprek aan te nemen.) Op het display worden weergegeven.
- Flexzone Plus-toets [E]: met deze functie kunt u de kookzone maar de hele linkerkartant uitbreiden.
- Flexzone Plus: de Flexzone Plus is een groot, rechtshoekig gebied waarop meerdere gerechten können worden bereid.
- Snelle stop: met deze functie schakelt u een zone snel en met eén aanrakinguit.
Onderdelen en kenmerken
Veiligheidsuitschakeling
Als een van de kookzones nicht wordenuitgeschakeld of als de
temperatuurinstelling gedurende langerearendiet wordt gewijzigd,wordt de kookzone automatisch uitgeschakeld.
Eventuele restwarmte worden aangegeven met H, h (voor 'heet') op de digitale displays van de desbetreffende kookzones.
De kookzones worden na de onderstaande perioden automatischuitgeschakeld.
| Temperatuurinstelling | Uitgeschakeld |
| 1-3 | Na 6 uu |
| 4-6 | Na 5 uu |
| 7-9 | Na 4 uu |
| 10-15 | Na 1,5 uu |

OPMERKING
Als de kookplaat oververhit is vanwege onjuist gebruik, worden [ ] afgebeeld. De kookplaat wordenervolgensuitgeschakeld.

OPMERKING
Als de pan ongeschickt of te Klein is, of als er geen pan op de kookzone is geplaatst, worden 一 weergegeven.
Vervolgens worden de desbetreffende kookzone na 1 minuut uitgeschakeld.

OPMERKING
Als een of meer van de kookzones wordenuitgeschakeld voor de aangegeven vrijverstreken is, raadpleegt u het gedeelte "Probleemoplossing".
Andere redenen waarom een kookzone soms automatisch wordenuitgeschakeld
Alle kookzones worden uitgeschakeld wonneer vloeistof overkookt en op het bedieningspaneel verechtkommen.
Deze automatische uitschakeling worden ook geactiveerd wanner u een vochtige doek op het bedieningspaneel legt. In beiden geallen要去 het apparaat opniew worden ingeschakeld met de Aan/Uit-toets ① nadat de vloeistof of de doek is verwijderd.
Flexzone Plus

De Flexzone is het grote kookgebied aan de linkerkant van de kookplaat (zie afbeelding hieronder) dat special ontworpen is om meerdere potten en paffen van diverse vormen en afmetingen tegelijkkertijd te gebruiken. De Flexzone heeft vier zones die door afzonderlijke inductoren worden bediend zodate u kunt koken, ongeacht waar de paffen op een kookzone zijn geplaatst.
Met Flexzone Plus gekruikt u een combinatie van verschillende kookzones om het kookgebied te vergroten. Zie de onderstaande tabel voor de betreffende toets die u要去 aanraken om de verschillende combinaties te activeren.
- Wonneer u slechts een kookzone gebruikt, moet de diameter van de onderkant van de pankleiner zichn dan 14 cm.
- De kookplaat kan er 5 à 10 seconden over doen om de positie van de pan te herkennen.
- Terwijl de kookplaat de pan aan het herkennen is, kutu geluid horen.
- Verwijder pannen nicht tijdens het koken. Als pannen langer dan 5 seconden worden verwijderd, stopt de kookplaat om veiligheidsredenen automatisch.
Nederlandsl
Restwarmte-indicator
Wonneer een van de kookzones of de gehele kookplaat worden UITgeschakeld, worden de achtergebleven restwarmte aangegeven met een H, H (voor 'heet') op de digitale displays van de desbetreffende kookzones. Zelfs nadat de kookzone is uitgeschakeld, zal de restwarmte-indicator pas uitgaan wonneer de kookzone is afgekoeld.
U=kunt de restwarmte gebruiken voor het ontdooien of het warm houden van voedsel.
WAARSCHUWING
Zolang de restwarme-indicator oplicht bestaat er verbrandingsgevaar.
WAARSCHUWING
Als de stroomvoorziening worden onderbroken, dooft het symbol H, en is er Niet longer informatatie over restwarmte beschikbaar.
U kurz zich dan darüber nog altijd aan de kookplaat branden. U kurz dit voorkomen door in de omgeving van de kookplaat altijd voorzichtig te zijn.
Temperatuurdetectie
Als de temperatuur van een of meer kookzones om welke reden dan ook de veiligheidsniveauaus overschrijden, worden de desbetreffende kookzones automatisch op een lager vermogen gezet.
Nadat u klaar bent met het gebruik van de kookplaat, treedt de ventilator in werkung totdat de elektronica is afgekoeld. De ventilator worden automatischuitgeschakeld, afhankelijk van de temperatuur van de elektronica.
Gebruik van de kookplaat
Eerste reiniging
Veeg het keramisch glazen oppervlak schoon met een vochtige doek en een speciale reiniger voor keramische kookplaten.
WAARSCHUWING
Gebruik nooit bijtende of schurende reinigingsmiddelen. Het oppervlak zou hierdoor können worden beschadigd.
Pannen voor inductiekookzones
De inductiekookplatz kan alleen worden ingeschakeld wanner er een pan met een magnetische bodem op een van de kookzones is geplaatst. De volgende soorten pannen zich geschikt.
Pannen
| Pannen | Geschikt |
| Staal, geëmailleerd staal | Ja |
| Gietijzer | Ja |
| Roestvrij staal | Indien door de fabrikant aangegeven |
| Aluminium, koper, brons | Nee |
| Glas, aardewerk/keramiek, porssein | Nee |
OPMERKING
Pannen voor inductiekookplaten zijn als zodanig door de fabrikant aangemerkt.
OPMERKING
Pannen können geluid produceren wanner ze op inductiekookzones worden gebrukt. Dit geluid is normalaal.
OPMERKING
Niet-roestvrijstalen pannen geleiden warmte minder goed dan roestvrijstalen pannen. Als u Niet-roestvrijstalen pannen gebruikt, worden de kooktijd verlengd.
Gebruik van de kookplaat
Geschiktheidstest

Pannen zicht voor inductiekoken als er een magneet door de bodem van de pan worden aangetrokken en de pan als geschikt worden aangemerkt door de fabrikant van de pan.
OPMERKING
Inductiekoken kan minder goed functioneren bij pannen van andere metalen dan ijzer en waarvan de rand Niet aan de magneet blijft plankken, of waarbij de bodem een ijzercoating heeft.
Panformulaat
Inductiekookzones passen zich aan het formaat van de panbodem aan, maar tot een bepaalde grens. Het magnetische deel van de bodem van de pan要去chter een bepaalde minimumdiameter hebben, afhankelijk van de groote van de kookzone.
| Kookzones | Minimumdiameter van de bodem van de pan |
| Rechterbranderfter (145 mm) | 100 mm |
| Rechterbrander voor (210 mm) | 140 mm |
| Flexzone Plus voor ofijken | 140 mm |
| Flexzone Plus | 240 mm (afmeting lange kant) ovaal, vispan |
Bedieningsgeluiden
Als u het volgende hoogt:
- Krakend geluid: de pan is vervaardigd van verschillende materialen.
- Gefluit: u gezebuilt meer dan twee kookzones en de pan is gemaakt van verschillende materialen.
- Gezoem: u gebrukt een hoog vermogensniveau.
Geklik: er vinden elektrische schakelingen plaats.
Gesis, gezoem: de ventilator is in bedrijf.
Deze geluiden zijn normal en duiden Niet op een defect.
WAARSCHUWING
Gebruik geen pannen met een ander formaat en materiaal.
Als u paffen van verschillende groottes of materialen gebruikt, kan dit lawaai en trillingen veroorzaken.
OPMERKING
Als u lage vermogensstanden (1~5) gebruikt, kan dit een klikgeluid geben.
Gebruik geschikte pannen
Betere pannen leiden tot betere resultaten.
- U herkent geschikte pannen aan hun onderkant. De onderkant dient zo dik en zo plat möglichk te+zijn.
- Wonneer uulative pannen koopt, dient u vooral ook te letten op de diameter van de onderkant. Fabrikanten geben vaak alleen de diameter van de bovenrand van de pan aan.
- Gebruik geen pannen die een beschadigde onderzijde hebben met ruwe randen of bramen. Er können krassen ontstaan wanner deze pannen worden verschoven.
- De onderzieje van koude pannen is normal gesproken ie'saar binnen gebogen (concaaf).Deze mag nooit waar buiten gebogen zichn (convex).
- Als u een special type pan wilt gebruiken, bijvoorbeeld een hogedrukpan, een sudderpan of een wok, raadpleegt u de instructies van de fabrikant.
Tips voor energiebesparing

OPMERKING
U kurz kostbare energia besparen door op de volgende zaken te letten.
Zorg alkijd dat de potten en pannen op de kookplaat staan voordat u de kookzone inschakelt.
- Verontreinigde kookzones en onderzijden van pannen leiden tot een hoger energieverbruik.
- Plaats zo veel möglichk de deksels stevig op de pannen om deze geheel af te sluiten.
Schakel de kookzones uit voordat het einde van de kooktijd is bereikt om de restwarmte te gebruiken om het voedsel warm te houden of om voedsel te ontdooien.
OPMERKING

Gebruik Niet slechts een pan op zowel de linker- als rechterkookzones.
De tiptoetsbediening gebruiken
Als u de tiptoetsen wilt bedieren, raakt u het gewenste paneel met de top van uw wijsvinger aan totdat het betreffende display oplicht of uitgaat of tot de gewenste functie is geactiveerd.
Zorg dat u slechts een tiptoets tegelijk aanraakt wanner u het apparaat bedient. Als de vinger te plat op het paneel worden gedrukt, kan een tiptoets ernaat ook worden ingeschakeld.
Het apparatus inschakelen

Het apparatus kan worden in-/uitgeschakeld met de tiptoets Aan/Uit ①.
Raak de tiptoets Aan/Uit ① ongeveer 1 à 2 seconden aan.
Op het digitale display wordt weergegeven.
OPMERKING
Nadat de tiptoets Aan/Uit ① is aangeraakt om het apparaat in te schakelen, moet binnen onceveer 20 seconden een temperatuur worden ingesteld.
Anders schakelt het apparaat zichzelf om veiligheidsredenen weeur UIT.
Gebruik van de kookplaat
Selecteer de gewenste temperatuurinstelling.

- Raak voor het selecteren van de kookzone de tiptoets van de gewenste zone aan.

- Voor het instellen van het temperatuurniveau voor koken, raakt u de Temperatuurinstelling aan.
OPMERKING
Het standardniveau is ingesteld op 15 wanner u de kookzone selecteert.
OPMERKING
Wanneer meer dan een tiptoets gedurende langer dan 8 seconden worden ingedrukt, worden weergegeven op het temperatuurdisplay.
Het apparatus uitschakelen

Het apparaat kan volledig wordenuitgeschakeld met de tiptoets Aan/Uit ① Raak de tiptoets Aan/Uit ① ongeveer 1 à 2 seconden aan.
OPMERKING
Nadat u een kookzone of het gehele kookoppervlak hebt uitgeschakeld, worden de aanwezigheid van restwarmte aangegeven op de digitale displays van de betreffende kookzones in de vorm van een H, H (twee stappen voor 'heet). De temperatuur daalt, H, H verdwijnt.
Snelle stop

Als u een kookzone wilt uitschakelen, drukt u gedurende 2 seconden op de toets van de kookzone.
OPMERKING
Flexzone Plus-toets [E] werkt nicht met de functie Snelle stop.
Het kinderslot gebruiken
U kunt het kinderslot gebruiken om de apparatuur te vergrendelen gegen onbedoeld inschakelen van een kookzone en activering van het kookoppervlak. Het bedieningspaneel kan worden vergrendeld om te voorkomen dat instellenen per ongeluk worden veranderd, bijvoorbeeld wanner u met een doek over het paneel veegt. Dit geldt nicht voor de toets Aan/Uit (1) (alleen om UIT te schakelen).

Het kinderslot in- en uitschakelen
- Raak de tiptoets voor vergrendeling ongeveer 3 seconden aan. Er klinkt een geluid ter bevestiging.

- Raak een tiptoets aan. L verschijnt nu op het display om aan te geben dat het kinderslot is geactiveerd.
- Als u het kinderslot wilt uitschakelen, raakt u de tiptoets voor vergrendeling nogmaals gedurende 3 seconden aan. Er klinkt een geluid ter bevestiging.
OPMERKING
Het kinderslot is geactiveerd, ongeacht of het apparaatuit of aan is.
OPMERKING
Tijdens het koken(Int)kunt u Vergrendelingstoets gebruiken. Om in dat geval de brander uit te schakelen, dient u de vergrendeling of het apparaat uit te schakelen.
Timer (afterlen)
De timer als veiligheidsuitschakeling gebruiken:
Wonneer er een specifiekeijd worden ingesteld voor een kookzone, worden deze kookzone automatisch uitgeschakeld zodra dezeijd is verstreten. Deze functie kan worden gezruikt voor meerde kookzones tegelijk.
Veiligheidsuitschakeling instellen
De kookzones waarop u de veiligheidsschakeling wilt toepassen要去en+zijn ingeschakeld.

- Raak na inschakeling de desbetreffende kookzone aan om het knippersignaal voor de kookzone te activeren.

- Druk op de tiptoets voor de timer ① Het getal 10 wordt boven de timer weergegeven.
OPMERKING
De standaardinstelling van de timer is 10.

- Gebruik de Timerinsteltoets (+ of —) om de gewenstearend in te stellen, bijvoorbeeld 15 minuten, waarna de kookzone automatisch wordenuitgeschakeld. De veiligheidsuitschakeling is nu geactiveerd.
OPMERKING
De timer kan worden ingesteld op 1-99.
Gebruik van de kookplaat

- Om de timerinstellenen te annuleren, selecteert u de betreffende brander en raakt u de timertoets ① gedurende 2 seconden aan. Na een piep worden de timerinstellenen van de brander geannuleerd. Als u de timertoets ① gedurende 2 seconden aanraakt zonder een brander te selecteren, worden de timerinstellenen voor de LAST gewijzigde brander geannuleerd.
Als u de resterendeijd voor een kookzone wilt weergeven, gebruikt u de Timertoets 們 nadat u de brander hebt geselecteerd.
De overeenkomstige indicator begint dan langzaam te knipperen.
DeinstallingenkunnenwordengeresetmetdeTimerinsteltoets(+of—).
Nadat de ingestelde periode is verlopen, worden de kookzone automatischuitgeschakeld, klinkt er een signaal en worden dit op het display aangegeven
OPMERKING
Als u deinstallingen sneller wilt wijzigen, houdt u de bedieningssensor + of — ingedrukt tot de gewenste waarde is bereikt.
Timer (optellen)
Als u de opteltimer wilt gebruiken, moet het apparaat+zijn ingeschakeld, maar mag geen enkele van de kookzones de timer als veiligheidsuitschakeling gebruiken.

- Raak de tiptoets voor de timer ① aan. Op het timerdisplay worden ⑩ weergegeven.
- De opteltimerfunctie worden geactiveerd en de getallen op het display nemen toe. Om de timerinstallingen te annuleren, raakt u de Timertoets ① gedurende 2 seconden aan.
- Als u de timer wilt stoppen, raakt u de Timertoets 口 aan.
Warm houden gebruiken



- Gebruik deze functie om bereide gerechten warm te honden. Raak de tiptoets voor de betreffende kookzone aan.
- Raak de tiptoets Warm houden aan.
- Het display van de brander worden gewijzigd. Raak het opnieuw aan om de brander uit te schakelen.
Vermogensversterking
De functie voor Vermogensversterking P zorgt dat er extra vermogen voor de kookzones beschikkaar komt. (Voorbeeld: om een große hoeveelheid water aan de kook te brengen.)
| Kookzones | Max. versterkingstijd |
| 145 mm | 10 min |
| 210 mm | 10 min |
| Flex Plus voor ofijken | 10 min |
| Volledige Flex Plus | 5 min |
Hierna keert de kookzone automatisch terug maar normal vermogen 15.
OPMERKING
Onder bepaalde omstandigheden kan de vermogensversterking automatisch worden uitgeschakeld, om de interne elektronische onderdelen van de kookplaat te beschermen.
Het is bijvoorbeeld onmogelijk om tegelijkertijd maximaal vermogen toe te passen op Flexzone darüber en Flexzone voor.
Gebruik van de kookplaat
Energiebeheer
De kookzones kennen een maximaal vermogen.
Als dit maximum wordt overschreden doordat de Vermogensversterking P wordt ingeschakeld, wordt de temperatuurinstelling van een andere kookzone automatisch door de vermogensbeheerfunctie verlaagd.

Nr. 1 en nr. 2 zijn gekoppeld
- Nr. 3 en nr. 4 zijn gekoppeld
De indicator voor deze kookzone wisselt enkele seconden:tussen de ingestelde temperatuur en de maximale temperatuurinstelling. Daarna verandert de indicator van de ingestelde temperatuur maar de maximaletemperatuurinstelling.
Onderbreken
De functie Onderbreken schakelt alle aktieve kookzones tegelijkkertijd waar laag vermogen en verwolgens terug maar de erder ingestelde temperatuurinstelling. Deze functie kan worden gebruikt om het bereidingsproces kort te onderbreken en verwolgens voort te zetten, bijvoorbeeld om een telefoongesprek aan te nemen.
Wonneer de functie Onderbreken is geactiveerd, worden alle tiptoetsen met uitzondering van de toetsen Onderbreken Vergrendeling _1 en de Aan/Uit-toets ① uitgeschakeld. Als u de bereiding wilt hervatten, drukt u nogmaals op de toets Onderbreken
| Bedieningspaneel | Display | |
| Inschakelen | Raak Onderbreken ▷ aan | € |
| Uitschakelen | Raak Onderbreken ▷ aan | Terug maar vorig vermogensniveau |
Flexzones
Met de flexfunctie kan de volledige linkerkookzone worden ingeschakeld voor gebruik met grotere pannen. (Voorbeeld: ovalen pannen, een vispan, enz.)

-
Raak de toets Flexzone Plus aan.
-
Voor het instellen van het temperatuurniveau voor koken, raakt u de Temperatuurinstelling aan.

OPMERKING
- Als u tijdens de werkking de Flexzone Plus-toets aanraakt, worden de functie Flexzone Plus uitgeschakeld.
- Als u de Flexzone Plus-toets aanraakt verwijl elke brander op een andere niveau werkkt, worden de brander op een hoog niveau ingesteld.
- Als u tijdens de werkung van de Flexzone de Flexzone Plus-toets aanraakt, worden de Flexzoneuitgeschakeld.
- Als u pannen verplaatst of toevoegt aan een neue Flex zone Plus (Flexzone Plus), annuleer dan de huidige werkung en druk verwolgens op de betreffende toets om de kookzone te activeren.
22 Netherlands

Geluid aan/uit

- Raak de tiptoets Aan/Uit ① ongeveer 1 à 2 seconden aan.

- Raak de tiptoets Onderbreken binnen 10 seconden na het inschaken gedurende 3 seconden aan.

- Het geluid worden UITgeschakeld en QF wordt weergegeven op het display.

- Als u de geluidsinstalling wilt wijzigen, herhaalt u stap 1 en 2. Het geluid worden ingeschakeld en n worden weergegeven op het display.
OPMERKING
Na het inschakelen is het gedurende 10 seconden nicht möglichk om de Aan/Uit-toets voor het geluid te gebruiken.
Suggesties voor het bereiden van bepalde levensmiddelen
De waarden in de onderstaande tabel�zijn algemene richtlijnen. De vereiste temperatuurinstellenen voor de verschillende kookmethoden�zen afhankelijk van een aantal variabelen, zoals de kwaliteit van de gebruikte pannen en de hoeveelheid voedsel die worden bereid.
| Instelling schakelaar | Bereidingswijze | Praktische voorbeelden |
| 14-15 | Verwarmen Sauteren Braden | Het verwarmen van groeveelheden vloeistof, het koken van pasta,血液循环vroom (goulash bruinen, vlees smoren) |
| 8-11 | Intensief Braden | Steak, lendenstuk, gebakken aardappels, worst, pannenkoeken/poffertjes |
| 7-10 | Braden | Schnitzel/karbonade, lever, vis, rissole, gebakken ei |
| 5-7 | Koken | Het koken van tot 1,5 I vloeistof, aardappels, groenten |
| 2-4 | Stomen Stoven Koken | Stomen en stoven vankleine hoeveelheden groenten, rijst koken en gerechten met melk |
| 1-2 | Smelten | Boter smelten, gelatine oplossen, chocolade smelten |
OPMERKING
De temperatuurinstellungen in de bovenstaande babel vormen uitsluitend een indicatie.
OPMERKING
Alaar gelang de gebruike pannen en de hoeveelheden voedsel dient u de temperatuurinstelleningen aan te passen.
Reiniging en behandeling
Kookplaat
WAARSCHUWING
Reinigungsmiddelen mogen nicht in contactkommen met het verwarmde keramisch glazen oppervlak: Alle reinigungsmiddelen moeten na reiniging met voldoende schoon water worden verwijderd, aangezien ze anders een bijtend effect kuren hebben wonneer het oppervlak worden verwarmd. Gebruik geen agressieve reinigungsmiddelen zoals grill- of ovenspray en metalen of kunststof schuursponsjes.
OPMERKING
Reinig het keramisch glazen oppervlak steeds na gebruik wanner het nog net warm aanvoelt. Zo voorkomt u dat eventuele gemorst voedsel op het oppervlak vastbrandt. Verwijder kalkresten, watervlekken, vetspetters en metaalverkleuring met een speciale reiniger voor keramisch glas.
Lichte bevuiling
- Veeg het keramisch glazen oppervlak met een vochtige doek schoon.
- Droog vegen met een schone doek. Er mogen geen resten van het reinigingsmiddel op het oppervlak hinterblijven.
- Reinig het gehele keramisch glazen oppervlak minsten eenmaal per week met een speciaal reinigingsmiddel voor keramisch glas.
- Neem het keramisch glazen oppervlak met voldoende water af en wrijf het met een Niet-pluizende doek droog.
Hardnekig vuil

- Gebruik voor het verwijderen van overgekooekte etensresten en ander hardnekig vuil een glasschaper.
- Zet de glasschraper onder een hoek op het keramisch glazen oppervlak.
- Verwijder het vuil door te schrapen.
OPMERKING
Glasschrapers en reinigingsmiddelen voor keramisch glasংzijn bij speciaalzaken verkrijngbaar.
24Nederlands
Probleemvuil

- Verwijder vastgebrande suiker, gesmolten plastic, aluminiumfolie of andere materialen direct met een glasschaper terwijl ze nog heet zich.
WAARSCHUWING
Pas op dat u zich nicht verbrandt wanner u de glasschraper op een hete kookzone gebruikt:
- Reinig de kookplaat op de normale manier wanner hij eenmaal is afgekoeld. Als de kookzone waarop iets is vastgesmolten inmiddels is afgekoeld, warmt u deze weeer op om hem te reinigen.
OPMERKING
Krassen of donkere vlekken op het oppervlak van het keramische glas die bijvoorbeeld zijn veroorzaakt door een pan met scherpe randen können nicht worden verwijderd. Ze hebben darüber geen nadelig effect op de werkking van de kookplaat.
Frame van kookplaat (optioneel)
WAARSCHUWING
Gebruik nooit azijn, citroensap of ontkalkingsmiddelen op het frame van de kookplaat; dit leidt tot doffe vlekken.
- Veeg het frame met een vochtige doek schoon.
- Maakt resten eerst met een natte doek vochtig. Veeg ze nu weg een wrijf deplaats droog.
Voorkom schade aan uw apparaat:
- Gebruik de kookplaat nooit als werkblad of om dingen op te zetten.
Zet nooit een kookzone aan als er geen pan op staat of wanner de pan leeg is. - Keramisch glas is erg duurzaam en bestand gegen temperatuerschokken, maar het is Niet onbreekbaar. Wanner een scherp of hard object op de kookplaat valt, kan deze hierdoor worden beschadigd.
- Plaats nooit pannen op het frame van de kookplaat. Dit kan leiden tot beschadigingen van de afwerking.
- Voorkom dat u zure vloeistoffen, bijvoorbeeld azijn, citroensap en ontkalkingsmiddelen op het frame van de kookplaat morst, aangezien dit soort middelen doffe plekken kan veroorzaken.
- Wonneer suiker of een gerecht dat met suiker is bereid in contact kommt met een=hete kookzone en smelt, moet dit direct met een glasschaper worden verwijderd terwijl het nog warm is. Als u dit soort vuil eerst的那一afkoelen, kan bij het verwijderen beschadiging optreden.
- Houd alle voorwerpen en materialen die kuren smelten, bijvoorbeeld plastic, aluminiumfolie en ovenfolie uit de buurt van het keramisch glazen oppervlak. Als een dergelijk product op de kookplaat smelt,要去 dit direct met een glasschaper worden verwijderd.
Garantie en service
Veelgesteldevrageneprobleemoplossing
Storingen können het gevolgijken vankleine kwesties, en u Aunt dit helpen voorkomen aan de hand van de volgende instructies. Probeer geen verdere reparationsuit te voeren indien de instructies hieronder Niet helpen in de aangegeven geallen.
WAARSCHUWING
Reparaties aan de apparatuur mogen alleen worden uitgevoerd door een gekwalificeerde onderhoudstechnicus. Onjuist uitgevoerde reparaties+kennen aanzienlijke risico's opleveren voor de gebruiker. Als uw apparaat gerepareererd moet worden, neemt u contact op met het servicecentrum.
| Probleem | Mogelijkke oorzaak | Oplossing |
| Wat moet ik doe als de kookzones nicht werken? | • Is de zekering in de stoppenkast doorgeslagen? | • Als dit meerere malen achtereen gebeurt, belt u een elektricien. |
| Wat moet ik doe als ik de kookzones nicht kan inschakelen? | • De Aan/Uit-toets is per ongeluk geactiveerd. • Het bedieningspaneel is gedeeltelijk bedekt met een vochtige doek of vloeistof. | • Is het apparaat ingeschakeld? • Maak het bedieningspaneel schoon. |
| Wat moet ik doe als het gehele display, behalve de indicator voor restwarmte H, H ineens uitgaat? | • De Aan/Uit-toets is per ongeluk geactiveerd. • Het bedieningspaneel is gedeeltelijk bedekt met een vochtige doek of vloeistof. | • Is het apparaat ingeschakeld? • Maak het bedieningspaneel schoon. |
| Wat moet ik doe als de kookzones zijn uitgeschakeld en er geen restwarmte worden aangegeven op het display? | • Is de kookzone slechts kort gezebruikt zodate er geen restwarmte is? | • Als de kookzone heet is, neemt u contact op met eenplaatselijk servicecentrum. |
| Informatiecode | Mogelijk oorzaak | Oplossing |
| C0 | Controller de tiptoets Automatisch bereiden. | Schakel het apparaat opnieuw in met de Aan/uit-toets. Als het probleem aanhoudt, schakelt u alle stroom gedurende langer dan 30 seconden UIT. Schakel verwolgens het apparaat opnieuw in en probeer het opnieuw. Als het probleem desondanks aanhoudt, neemt u contact op met eenplaatselijk servicecentrum. |
| C1 | De waargenomen temperatuur is hoger dan opgegeven. | |
| C2 | Controller de tiptoets Automatisch bereiden. | |
| A2 | De DC-motor functioneert nicht vanwege problemen met de PCB of bedrading of een elektrische storing aan het motorblad. | |
| d0 | De tiptoets is langer dan 8 seconden ingedrukt. | Controller of de tiptoetsen nat+zijn of ingedrukt,zijn. Als het probleem aanhoudt, schakelt u het apparaat opnieuw in met de Aan/uit-toets. Als het probleem desondanks aanhoudt, neemt u contact op met eenplaatselijk servicecentrum. |
| F0 | Communicatie:tussen de hoofd-PCB en sub-PCB's is mislukt. | Schakel het apparaat opnieuw in met de Aan/uit-toets. Als het probleem aanhoudt, schakelt u alle stroom gedurende langer dan 30 seconden UIT. Schakel het apparaat opnieuw in. Als het probleem desondanks aanhoudt, neemt u contact op met eenplaatselijk servicecentrum. |
| F2 | De aanraak-IC communiceert Niet maar behoren. |
Wat要去ikdoenalsikdekookzonesnietkanin- ofuitschakelen?
Dit kan de volgende oorzaken hebben:
- Het bedieningspaneel is gedeelelijk bedekt met een vochtige doek of vloeistof.
- Het kinderslot is geactiveerd en op het display staat "L".
Wat要去ikdoenalshetddisplayknippert?
Controleer het volgende:
- Het bedieningspaneel is gedeeltelijk bedekt met een vochtige doek of vloeistof.
Druk op de Aan/Uit-toets om het apparatus te resetten. - Als er vloeistof over het bedieningspaneel is gestroomd, veegt u de vloeistof weg.
Wat要去ikdoenalshet[displayknippert?
Controleer het volgende:
- De kookplaat is oververhit geraakt vanwege onjuist gebruik.
- Raak nadat de kookplaat is afgekoeld de Aan/Uit-toets aan om het apparaat te resetten.
Wat要去ikdoenalshet -displayknippert?
Controleer het volgende:
- De pan is ongeschickt of te Klein, of er is geen pan op de kookzone geplaatst.
- Als u een geschikte pan gebruikt, verwijdint de melding automatisch.
Wat要去ikdoenalsdekoelventilatordraaitnadatdekookplaatisuitgeschakeld?
Controleer het volgende:
- Als ukaar bent met het gebruik van de kookplaat, draait de koelventilator automatisch om het apparatusaat af te koelen.
- Wonneer de elektronica van de kookplaat is afgekoeld of de max.ijd van 10 minutes is verstreken, worden de koelventilator uitgeschakeld.
- Als u onnodig een monteur-Laat komen als gevolg van een bedieningsprobleem, kan dit voor u kosten opleveren, ook tijdens de garantietermijn.
Service
Raadpleeg voordat u een monteur waar komen voor reparatie of onderhoud eerst het gedeelte "Probleemoplossing". Als u dan nog steeds hulp nodig heeft, volgt u de onderstaande aanwijzingen.
Betreft het een technische storing?
Als dit het geval is, neemt u contact op met het servicecentrum.
Zorg alsigt dat u gegevens bij de hand hebt voordat u belt. Zo worden het eenvoudiger om het probleem vast te stellen en te bepalen of er een monteur moet worden gestuurd.
Zorg dat u de volgende gegevenskaar hebt:
- Waaruit bestaat het probleem?
- Onder welke omstandigheden doet het probleem zich voor?
Houd het model en het seriENUMmer van uw apparaat gereed wonneer u belt. Deze gegevens vindt u op het typeplaatje:
- Beschrijving model
S/N-code (15 cijfers)
Wij raden u aan deze informatatie hier te noteren voor uw gemak.
Model:
Serienummer:
Wonneer dost service geld, zelfs tijdens de garantieperiode?
- Als u het probleem zich had hunne verhopen door een van de oplossingen te volgen die werden aangedragen onder "Probleemoplossing".
- Als de servicemonteur meertere bezoeken要去 afleggen,ondat u voor het eerste bezoek Niet alle vereiste informatatie hebt doorgegeven en hij daardoor extra onderdelen要去 gaan halen. Als u het telefoongesprek goed voorbereidt zoals hierboven is aangegeven, kunt u zich deze kosten besparen.
Technische gegevens
Technische gegevens
| Afmetingen apparaat | Breedte | 600 mm |
| Diepte | 520 mm | |
| Hoogte | 56 mm | |
| Afmetingen uitsnede werkblad | Breedte | 560 mm |
| Diepte | 490 mm | |
| Hoofte | 72 mm | |
| Radius hoek | 3 mm | |
| Aansluitingsvoltage | 220 - 240 V ~ 50 / 60 Hz | |
| Maximaal uitgangsvermogen | 7,2 kW | |
| Gewicht | Netto | 13,2 kg |
| Bruto | 16,0 kg | |
Kookzones
| Positie | Diameter | Aan/Uit |
| Rechtsvoor | 210 mm | 2200 W / Versterkt 3200 W |
| Rechtsachter | 145 mm | 1400 W / Versterkt 2000 W |
| Flex Plus voor | - | 1800 W / Versterkt 2600 W |
| Flex Plusijken | - | 1800 W / Versterkt 2600 W |
| Flex Plus midden | - | 1800 W / Versterkt 3000 W |
| Volledige Flex Plus | - | 3300 W / Versterkt 3600 W |
Productinformationie
| Naam van leverancier | Samsung Electronics co. Ltd. |
| Identificatie van het model | NZ64R7757BK |
| Type kookplaat | Inbouw |
| Verwarmingstechnologie | Inductiekookzones en -kookgebied |
| Aantal kookzones en/of -gebieden | 3 |
| Voor cirkelvormige kookzones of -gebieden: diameter van de nuttige kookoppervlakte per elektrisch verwarmde kookzone (Ø) | 21,0 cm, 14,5 cm |
| Voor nicht-cirkelvormige kookzones of -gebieden: lenghte en breedte van de nuttige kookoppervlakte per elektrisch verwarmd(e) kookzone of -gebied (L x W) | 24,0 x 38,0 cm |
| Energieverbruik per kookzone of -gebied, berekend per kg (EC elektrisch koken) | Ø 21,0 cm: 184,2 Wh/kg |
| Ø 14,5 cm: 191,3 Wh/kg | |
| 24,0 x 38,0 cm: 199,0 Wh/kg | |
| Energieverbruik van de kookplaat, berekend per kg (EC elektrische kookplaat) | 191,5 Wh/kg |
- Gegevens bepaald in overeenstemming met standard EN 60350-2 en Commissieverordeningen (EU) Nr 66/2014.
Tips voor energiebesparing
Zorg alsijd dat de potten en pannen op de kookplaat staan voordat u de kookzone inschakelt.
- Verontreinigde kookzones en onderzijden van pannen leiden tot een hoger energieverbruik.
- Het gebruik van een hogedrukpan verkort de kooktijd.
Memo

Memo

Memo


VRAGEN OF OPMERKINGEN?
| LAND | BEL | OF BEZOEK ONS ONLINE OP |
| AUSTRIA | 0800 72 67 864 (0800-SAMSUNG) | www.samsung.com/at/support |
| BELGIUM | 02-201-24-18 | www.samsung.com/be/support (Dutch) www.samsung.com/be_fr/support (French) |
| DENMARK | 707 019 70 | www.samsung.com/dk/support |
| FINLAND | 030-6227 515 | www.samsung.com/fi/support |
| FRANCE | 01 48 63 00 00 | www.samsung.com/fr/support |
| GERMANY | 06196 77 555 77 | www.samsung.com/de/support |
| ITALIA | 800-SAMSUNG (800.7267864) | www.samsung.com/it/support |
| CYPRUS | 8009 4000 only from landline, toll free | |
| GREECE | 80111-SAMSUNG (80111 726 7864) only from land line (+30) 210 6897691 from mobile and land line | www.samsung.com/gr/support |
| LUXEMBURG | 261 03 710 | www.samsung.com/be_fr/support |
| NETHERLANDS | 088 90 90 100 | www.samsung.com/nl/support |
| NORWAY | 21629099 | www.samsung.com/no/support |
| PORTUGAL | 808 207 267 | www.samsung.com/pt/support |
| SPAIN | 0034902172678 | www.samsung.com/es/support |
| SWEDEN | 0771 726 786 | www.samsung.com/se/support |
| SWITZERLAND | 0800 726 78 64 (0800-SAMSUNG) | www.samsung.com/ch/support (German) www.samsung.com/ch_fr/support (French) |
| UK | 0330 SAMSUNG (7267864) | www.samsung.com/uk/support |
| IRELAND (EIRE) | 0818 717100 | www.samsung.com/ie/support |
Induktionskochfeld
Benutzerhandbuch
NZ64R7757BK

SimpelGids