7130 S - Aspirateur EURO-PRO - Notice d'utilisation et mode d'emploi gratuit
Retrouvez gratuitement la notice de l'appareil 7130 S EURO-PRO au format PDF.
| Type d'appareil | Machine à coudre |
| Modèles compatibles | 7130 / 7130 S / 7130 Q |
| Nombre de points | Non précisé |
| Vitesse de couture | Non précisé |
| Type de moteur | Non précisé |
| Alimentation | Électrique |
| Fonction de boutonnière | Oui |
| Éclairage intégré | Oui |
| Type de canette | Non précisé |
| Poids | Non précisé |
| Dimensions | Non précisé |
| Accessoires inclus | Non précisé |
| Garantie | Non précisé |
| Langues du manuel | Anglais, Espagnol, Français |
| Fabricant | Non précisé |
FOIRE AUX QUESTIONS - 7130 S EURO-PRO
Questions des utilisateurs sur 7130 S EURO-PRO
0 question sur cet appareil. Repondez a celles que vous connaissez ou posez la votre.
Poser une nouvelle question sur cet appareil
Téléchargez la notice de votre Aspirateur au format PDF gratuitement ! Retrouvez votre notice 7130 S - EURO-PRO et reprennez votre appareil électronique en main. Sur cette page sont publiés tous les documents nécessaires à l'utilisation de votre appareil 7130 S de la marque EURO-PRO.
MODE D'EMPLOI 7130 S EURO-PRO
Models / Modelos / Modèles
7130 / 7130 S / 7130 Q
Instruction Manual
Manuel d'Instructions

Lorsqu'on utilise une machine à coudre, il faut toujours respecter certaines règles fondamentales de sécurité, notamment les suivantes:
Lire toutes les directives avant usage.
DANGER - Pour éviter les risques de secousses électriques:
- Ne pas laisser sans surveillance lorsque branchée. Toujours débrancher la machine immédiatement après usage et avant de la nettoyer.
- Toujours débrancher avant de changer l'ampoule. Remplacer l'ampoule par une ampoule de même calibre 10 watts.
AVIS - Afin de réduire les risques de brûlures, feu, risques de secousses électriques, ou blessures:
- Ne pas permettre l'utilisation comme jouet. Exercer une étroite surveillance lorsque la machine est utilisée à proximé d'un enfant ou lorsqu'elle est utilisée par ce dernier.
- N'utilise cette machine à coudre que pour l'utilisation décrite dans ce manuel. N'utiliser que les accessoires recommendés par le manufacturier décrites dans ce manuel.
- Ne pas utiliser cette machine à coudre si le cordon ou la prise sont en mauvais état, si elle ne fonctionne pas normalement, si elle est tombée et endommagée, ou plongée dans l'eau. Retourner la machine à coudre chez le dépositaire autorisé le plus après pour examen, réparations, réglages électriques ou mécanique.
- Ne jamais utiliser la machine à coudre lorsque les trous d'aération sont bloqués. Garder les trous d'aération
de la machine à coudre et de la commande de vitesse libres de toute accumulation de charpie, poussières et tissus.
- Ne jamais échapper ou insérer tout objet dans les ouvertures.
- Ne pas utiliser à l'extérieur.
- Ne pas utiliser dans un endroit où des produits aérosol sont utilisés on dans un endroit où on administré de l'oxygène.
- Mettre la machine hors tension avant de la brancher ou de la débrancher.
- Ne pas tirer sur le cordon pour débrancher la machine à coudre. Pour débrancher, saisir la fiche et tirer.
- Tenir les doigts éloignés des pieces mobiles. Tout spécifique de l'aiguille.
- Toujours utiliser la plaque à aiguille appropriée.
- Ne pas utiliser d'iguille croche.
- Ne pas tirer ou pousser sur le tissu en cousant, afin d'eviter de briser l'aiguille.
- Mettre la machine hors tension pour effectuer tout réglage, tel enfilier l'aiguille, changer l'aiguille ou plaque aiguille.
- Toujours débrancher la machine à coudre pour effectuer l'entretien ou tout autre réglage mentionnés dans ce manuel.
CONSERVER CES INSTRUCTIONS
GB Congratulations
A titre de nouveau propriété d'une machine à coudre EURO-PRO, vous pourrait apprecier une couture de qualité sur tous les genres de tissus, que ce soit plusieurs épaisseurs de denom ou de la soie délicate.
Votre machine à coudre EURO-PRO offre ce qu'il y a de mieux en fait de simplicité et de facilité d'usage. Pour votre sécurité et afin de pleinement appréciencer les nombreux avantages de votre machine à coudre, nous recommendons que vous lisiez toutes les mesures de sécurité et les instructions qui sont continues dans leprésent manuel.
Permettez-nous de vous suggérer, avant d'utiliser votre machine à coudre, de découvertir les nombreuses caractéristiques et avantages en feuilletant ce manuel, étape par étape, assise face à votre machine à coudre.
Pièces principales de la machine 3/5
Accessoires 7
Mise en place de la table-rallonge 9
Branchement de la machine à coudre 11
Changement de l'ampoule 13
Levier du pied-de-biche à deux positions/ Ajustement de la pression du pied-de-biche .15
Montage du support du pied-de-biche 17
Remplir la canette 19
Mise en place de la canette 21
Mise en place de l'aiguille (Système 130/705H) 23
Enfilage fil supérieur 25
Enfileur automatique 27
Tension du fil 29
Remonter le fil inférieur 31
Marche arrière/ Retrait de l'ouvrage/ Couper les fils 33
Escamotage de la griffe d'entrainment 34
Tableau des aiguilles et fils 37
Selection des points 39
Couture au point droit et position d'iguille 41
Couture au point zig-zag 43
Ourlet au point invisible 45
Point overlock 47
Pose des boutons 49
Coudre les boutonnières/boutonnières à une étapé 51
Equilibrage droit et gauche de la boutonniere 53
Pose d'une fermetre à glissiere 55
Coudre avec le pied ourleur 57
Point zig-zag cousu 59
Selection des points 61
Point nid d'abeille 63
Coudre avec le pied pour cordonnet 65
Reprise 67
Pointsutilitaires 69
Reprisage 71
Pose de la dentelle 73
Applique 75
Couture à deux aiguilles 77
Monogramme et broderie à main libre* 79
Coudre avec le guide 81
Le fronçage 83
Patchwork 85
Pied de transport supérieur 87
Entretien de la machine 89
Comment remedier soi-même aux petits problèmes 92
F Pièces principales de la machine
- Régulateur de tension du fil
- Régulateur de pression du pied-de-biche
- Releveur de fil
- Coupe-fil
- Pied-de-biche
- Plaque à aiguille
- Table-rallonge et boitier pour les accessoires
- Butée du bobineur
- Bouton pour la longueur du point
- Bouton pour la largeur du point
- Affichage du point
- Levier de marche arriere
- Abaisissement du transporteur
- Levier de boutonnere à une étape
-
Enfilleur automatique
-
Handle
- Bobbin winder
- Spool pin
- Handwheel
- Pattern selector dial
- Power switch
-
Main plug socket
-
Bobbin thread guide
- Upper thread guide
- Presser foot lever
- Buttonhole stitch balance adjustment slot


F Pièces principales de la machine
- Poignée
- Bobineur
- Broche porte-bobine
- Volant
- Selecteur de point
- Interrupteur principal
- Prise
- Guide-fil du bobineur
- Guide-fil supérieur
- Levier du pied-de-biche
- Bouton d'équilibrage de la boutonnière
a. Pied universel
b. Pied pour fermetures à glissière
c. Pied pour poser des boutons
d. Pied à boutonnière
e. Tournevis
f. Pinceau/ Découseur
g. Huilier
h. Aiguilles (3x)
i. Canettes (3x)
j. Aiguille double
k. Feutre pour broche
porte-bobines (2x)
Pieds-de Biche Supplémentaires (2)
I. Pied à broder
m.Pied a overlock
n. Pied ourleur
o. Pied pour ourlet invisible
p. Pied pour cordonnet
q. Pied fronceur
r. Pied pour quilt (ouatinage)
Accessoires de Matelassage Optionnels (Ces accessoires ne sont pas inclus qu'avac la machine à coudre modele 7130 Q. Ils sont toutefois également disponibles pour les modetes 7130 et 7130 S par l'entremise de EURO-PRO Operating LLC.) r. Pied de transport supérieur s. Pied a reprimer t. Pied pour quilt (ouatinage) u. Guide pour piqueage

Pousser la table-rallonge dans le sens de la flèche jusqu'à ce qu'elle s'enclenche. (1)
Si I'on doit coudre sur le bras libre seulement, il faut alors enlever la table-rallonge.
L'intérieur de la table-rallonge est prévu pour les accessoires. Pour ouvrir la table-rallonge, tirer la porte dans le sens de la flèche. (2)




Caution:
La machine doit toujours être débranchée et l'interrupteur principal à "O" lorsque la machine n'est pas utilisé, pour changer des pieces et/ou accessoires.
- Cette machine à coudre est munie d'une fiche polarisée et ne doit être branchée que dans une prise murale appropriée.
- Brancher la machine dans une prise murale selon l'illustration. (1/2)
- Enfoncer la fiche (A) dans la machine. (1)
- L'interrupteur principal se trouve juste au dessus du branchement du réseau.
- La lumière d'éclairage est automatiquement allumée lorsque l'interrupteur principal est à " I " .
- Pourmettre la machine en marche,appuyer sur la pédale de commande.(4)
- La vitesse de la machine est régée par la pression du pied sur la pédale de commande.
Attention:
Consulter unElectricien qualifie en cas de doute pour brancher la machine. Debrancher la machine quand celle-ci c'est pas en service. Le pied de contrôle doit etre obligatoirement utilise avec les apareils 4C-316B (110-120V area) / 4C-126G ou 4C-326G (230V area) / 4C-316C ou 4C-326C (220-240V area) fabriqués par MATSUSHITA ELECTRIC (TAIWAN) CO., LTD.
AVIS IMPORTATNT
Cette machine a une fiche polarisée (une lame plus large que l'autre). Pour réduire le risque de secousse électricque, cette fiche est conçue pour être branchée d'une seule façon dans une prise de courant polarisée. Si la fiche ne se branche pas pleinement dans la prise, invser der fiche et si elle ne se branche pas pleinement, contacter un electricien pour installer la prise de courant appropriée.
Ne pas modifier la prise de courant de chaque façon que ce soit. (3)
a. Fiche polarisée
b. Conducteur pour mise à la masse


Caution:
F Changement de l'ampoule
Avertissement:
Assurez-vous que la machine est débranchée de la prise murale avant de changer la lampe.
- Desserrer la vis (A) qui se trouve sur le côté du couvercle frontal (sur la face latérale). (1)
- Enlever le couvercle frontal (B).
- Dévisser l'ampoule et la remplacer par une neue (C). (2)
- Replacement le couvercle frontal et desserrer la vis.

F Lever du pied-de-biche à deux positions
Pour faciliter l'insertion de tissus très écais sous le pied-de-biche, on peut augmenter l'espace entre le pied-de-biche et la plaque à aiguille, en relevant le levier du pied-de-biche d'un cran.
Ajustement de la pression du pied-de-biche
Le régulateur de pression du pied-de-biche a été ajusté et devrait convenir à tous les types de tissus (du plus fin au tissu épais).
Cependant, si un ajustement s'avere nécessaire, tournez la vis d'ajustement en vous servant d'une piece de monnaie.
Pour les tissus très fins, desserer le régulateur de pression en tournant dans le sens contraire des aiguilles d'une montre, et pour les tissus écais, augmenter la pression en tournant la vis dans le sens des aiguilles d'une montre.




Attention:
F Montage du support du pied-de-biche
Attention:
Placer l'interrupteur principal à "O" avant de procéder.
Relever la barre du pied-de-biche (a) en vous servant du levier à l'arrière de la machine. Installer le support de pied-de-biche tel qu'indiqué sur le schéma (1).
Mise en place du pied-de-biche
Abaisser le support du pied-de-biche (b) jusqu'à ce que la rainure (c) se trouve positionnée au-dessus de la broche (d). Pousser légèrement le levier (e) vers l'avant. Abaisser la barre du pied-de-biche (a) et le pied-de-biche (f) s'enclenchera. Schéma (2).
Retrait du pied-de-biche
Relever le pied-de-biche en vous servant du levier à l'arrière de la machine à coudre. Pousser légèrement le levier (e) vers l'avant, de manière à dégager le pied-de-biche. Schéma (3).
Mise en place du guide de piqueage
Insérer le guide (g) à l'arrière du support du pied-de-biche et régler à la distance désirée. Le guide s'utilise pour le piquage, les ourlets, les plis etc. Schéma (4).


- Placer une bobine de fil sur la broche porte-bobine. (1)
- Amener le fil vers la gauche et le passer à travers le guide et la tension du bobineur. Ramener le fil vers la droite. (1)
- Passer le fil dans un trou du dessus de la canette par l'intérieur et enrouler à la main le fil de quelques tours sur la canette. (2)
- Placer la canette vide sur la broche du bobineur. (2)
- Pousser la canette, vers la droite, contre l'arrêt du bobineur. La couture s'interrrompt automatiquement. (2)
- Retenir l'extrémité du fil et appuyer sur la commande au pied pour bobiner. Àpres quelques tours de bobinage, arrêté la machine et couper le fil près du trou.
- Remetre la machine en marche. Dès que la canette est pleine, le processus de bobinage est automatiquement interrompu.
- Retirer la canette et couper le fil.
a. Feutre de la broche portobobine


Attention:
Mise en place de la canette
Attention:
Assurez-vous de placer l'interrupteur principal en position "O" avant d'insérer ou desteroler la canette.
Lors de la mise en place et du retrait de la canette, veiller à ce que l'aiguille se trouve à sa plus haute position.
- Ouvrir le couvercle à charnière du bras libre. (1)
- Tenir le boitier à canette d'une main. Introduire la canette de façon à que le fil s'enroule dans le sens des aiguilles d'une montre (flèche) (2).
- Engager le fil dans la fente et tirer vers la gauche et sous le ressort jusqu'à ce que le fil apparaissé dans l'ouverture rectangulaire (3). Laisser dépasser le fil environ 15cm (6").
- Maintainir le loquet du boftier à canette entre le pouce et l'index.
- Glisser le boitant à canette dans la coursière du crochet, en vous assurant que le doigt du boitant s'insere complètement dans la fente de la coursière.

Caution:
F Mise en place de l'aiguille (Système 130/705H)
Attention:
Assurez-vous de placer l'interrupteur principal en position "O" avant de changer l'aiguille.
Remplacer l'aiguille des que les premiers signes d'usure se manifestent: la machine saute des points, le fil s'effiloche et brise etc.
Remplacer l'aiguille si la grosseur ne convient pas pour le tissu à coudre.
Selectionner une aiguille de grosseur et de type appropriés au tissu à coudre.
- Tournier le volant vers vous jusqu'à ce que l'aiguille soit à son point le plus haut.
- Desserrer la vis du pince-aiguille (A) et enlever l'aiguille existante. (1)
- Mettre en place la nouvelle aiguille (C) en vous assurant que le côté plat du talon de l'aiguille soit vers l'arrière de la machine à coudre. (1)
- Introduire l'aiguille (C) jusqu'à la butée au fond du pince-aiguille. Serrer la vis du pince-aiguille. (1)
L'aiguille doit toujours être en parfait état pour une couture sans problèmes.
Remplacer l'aiguille si elle est tordue (A), émoussée (B) ou crochue (C). (2)





Caution:
Enfilage fil supérieur
Attention:
Placer l'interrupteur principal à "O".
Relever l'aiguille à sa plus haute position. Relever le pied-de-biche. Placer une bobine sur la broche porte-bobine.
Tirer le fil vers la gauche et le passer à travers les deux guide-fil sur le dessus de la machine.
Ramener le fil vers l'avant dans la rainure de haut en bas, à droite de la plaque de séparation. Tirer sur le fil pour vous assurer qu'il pénétre bien dans les disques de tension.
En passant sous la plaque de séparation, remonter le fil à gauche de la plaque de séparation et le passer de droite à gauche dans le releveur de fil. Continuer de guider le fil vers le bas.
Passer le fil dans le guide-fil du pince-aiguille.
Enfilier l'aiguille de l'avant vers l'arrière. Laisser environ 10cm (4") de fil derrière l'aiguille.
a. Feutre de broche porte-bobine


Enfileur automatique
- Relever l'aiguille à la position la plus élevé.
- Abaisser le levier (A) à sa plus BASSE position.
- L'enfilleur tournera automatiquement à la position pour l'enfilage (B).
- Passer la fil au tour du guide de fil (C).
- Passer le fil devant l'aiguille au tour du crochet (D) du bas en haut.
- Lacher le levier (A).
-Tirer le fil a travers l'oeil de laiguille.
Attention:
Tourner l'interrupteur à "O"!



Note:
Normalement la tension du fil inférieur ne doit pas etre modifiee.
Tension du fil inférieur
Pour vérifier la tension du fil inférieur,sterol le boitier a canette et tenez-le suspendu par le fil. La tension du fil est correcte lorsque le fil se déroule vers le bas de 5 à 10cm env. quand on lui imprime un léger balancement (la canette doit être pleine lors du test). Si la tension est trop serrée, le fil se déroule très difficilement ou pas du tout. Si la tension est trop faible, le fil se déroule trop vite. Pour ajuster, tourner la vis sur le côté du boitier. (1)
Tension du fil supérieur
Position de reférence de la tension du fil: "4" (2)
Il faut que la tension des fil soit équilibriée correctement. S'il s'avere nécessaire de la modifier, ce réglage s'effectue normalement en changeant la tension du fil supérieur. Pour le point zigzag, la tension correcte est que le fil supérieur apparaisse légèrement sur l'envers du tissu.
A. Tensionnormale
B. Tension du fil supérieur trop lâche
C. Tension du fil supérieur trop serrée


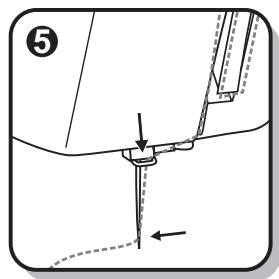
F Remonter le fil inférieur
Lever la barre du pied presseur. Tener le fil supérieur de la main gauche et avec la main droite, tournier le volant vers vous jusqu'à ce que l'aiguille descendé et remonte à son plus haut point. (1)
- Tirer légèrement le fil supérieur pour que la boucle formée par le fil inférieur apparaisse à la surface de la plaque à aiguille. Sortir la boucle de la plaque à aiguille à la main.
- Passer les deux fils sous le pied-de-biche et les faire dépasser de 10cm (3") environ vers l'arrière.

La marche arrête est utilisé comme point d'arrêt au début et à la fin d'une couture ou lorsqu'un renforcement est nécessaire. Pour renforcer le début d'une couture, abaisser l'aiguille dans le tissu à environ 1cm (1/2") du point de départ et abaisser le pied presseur. Appuyer sur le levier de marche arrête et le tenir abaisse tout en coupant en marche arrête. Relâcher le levier et coudre la couture. À la fin de la couture, tenir à nouveau le levier en marche arrête pour environ 1cm (1/2").
Retrait de l'ouvrage
Amener le levier releveur de fil à sa position la plus haute en tournant le volant vers vous. Soulever le pied-de-biche. Tirer la partie de l'ouvrage se trouvant sous le pied-de-biche vers l'arrière, puis couper les fils.
Couper les fils
Pour couper les fils, tener des deux mains les fils derrière le pied-de-biche, les glisser dans la fente (B) et les tirer vers le bas.
Yououpouzeegalementutiliserlecoupe-filsituésurle cotegauchede la machine.


Escamotage de la griffe d'entrainement
Pour les travaux de couture usuals, la griffe d'entrainmente resten position haute. Pousser le
levier (a) vers la gauche. Le transporteur est automatiquement repoussé vers le haut des le premier point. Pour certains travaux tels que le reprisage ou la broderie à mains libres, l'ouvrage ne doit pas être entrainé. Il faut donc abaiser la griffe d'entrainment. Pousser le levier (b) vers la droite.

NEEDLE, FABRIC, THREAD SELECTION GUIDE
| GROSSEUR DE LAIGUILLE | TISSUS | FILS |
| 9-11(65-75) | Tissus Légers: Coton léger, voile, serge, mousseline, tricot de cotton, jersey, crêpes, polyester, tissu pour blouse ou chemise. | Fil de coton, fil de soie, fil de nylon ou fil synthétique. |
| 12(80) | Tissus moyens: Coton moyen, satin, toile, tricot double, lainage léger. | Les fils vendus en magasin convennent à tous ces tissus etGXsures d'aiguilles. Utiliser le fil synthétique pour les tissus synthétique et le fil de coton pour les tissus en fibre naturelle.Assurez-vous d'voir le même fil sur le dessus et dans la canette. |
| 14(90) | Tissus moyens à écais: Coton écais, lainages, tricot écais, ratine, denim, velours côtelez. | |
| 16(100) | Tissus écais: canevas, lainage écais, toile de tente, tissu piqué, denim, tissu à recouvrement (léger à moyen). | |
| 18(110) | Tissus écais: Lainages à manteau, tissu pour vêtements d'extérieur, certains cuir et vinyle. | Fil fort, fil à denim. (Augmenter la pression sur le pied presseur). |
IMPORTANT: Assurez-vous que la grosseur de l'aiguille convienne à l'épaissur du tissu à coudre
SELECTION DE L'AIGUILLE PAR RAPPORT AU TISSU
| AIGUILLES | DESCRIPTIONS | GENRE DE TISSUS |
| HAx 1 15× 1 | Aiguilles réguliers et universelles. Grosseurs disponibles de 9 (65) à 18 (110). | Tissu en fibre naturelle: coton, lainage, soie. Non recommendé pour tricot-double. |
| 15× 1/705H (SIN) | Aiguilles à demi-bille. Grossoirs disponibles 9 (65) à 18 (110). | Pour fibre naturelle et synthétique ou un mélange des deux fibres: étoffe tissé, tricot, interlock etc. |
| 15× 1/705HS (SUK) | Aiguilles à bille entière. Grossoirs disponibles 9 (65) à 18 (110). | Trico à chandelier, lycra, tissu pour costume de bain, elastique. |
| 15 x 1/ 705 HJ | Aiguilles robustes à pointe universelle, 14 (90) à 18 (110). | Denim, canevas, tissu à recouvrement, toile. |
| 130 PCL | Aiguilles avec pointe en forme d'angle acéré, 12 (80) à 18 (110). | Cuir, vinyle, plastiqueSouple. |
Remarque:
- Les aiguilles jumelles peuvent etre achetees dans un but utilise ou decoratif.
- Quand vous cousez avec les aiguilles jumelles, le bouton de largeur de point doit etre au moins sur le chiffre "2.5" et moins.
- Les aiguilles européennes sont numéroétées 65, 70, 80 etc. Les aiguilles américain et japonaises sont numéroétées 9, 11, 12 etc.
- Changer souvent les aiguilles (après le couture d'un vêtement) et / ou à la premièrerupture du fil ou des points.

F Sélection des points
Points droits sélectionné le bouton de sélection de point (4) et tournez-le jusqu'au symbole souhaité ou jusqu'à ce que la lecture "A" apparaissée dans la fenêtre (3). Réglage de la position de l'aiguille à gauche ou à droite en tournant le bouton de sélection de largeur de point. Régler la longueur des points avec le bouton de sélection de point (2).
Points zigzag sélectionnez le bouton de sélection de point (4) et tournez-le jusqu'au symbole souhaité ou jusqu'à ce que la lecture "B" apparaisse dans la fenêtre (3). Régler la longueur et la largeur des points selon le tissu utilisé.
Autres points de la première ligne tournez le bouton de selection de point jusqu'au symbole souhaité ou jusqu'à ce que la lecture apparaissée dans la fenêtre. Régler la longueur et la largeur des points selon vos besoins.
Autres points de la deuxième ligne tournez le bouton de selection de point jusqu'au symbole souhaité ou jusqu'à ce que la lecture apparaissée dans la fenêtre. Positionnez le bouton de longueur de point sur "S". Régler la largeur des points selon vos besoins.
- Bouton pour la largeur du point
- Bouton pour la longueur du point
- Affichage du point
- Selecteur de point
- Levier de marche arrière

F Couture au point croit et position d'aiguille
Tourner le bouton de selection jusqu'à ce que le point croit apparaisse dans la fenêtre d'affichage du point.
Ajuster la longueur du point selon le tissu à coudre, en tournant le bouton de longueur de point.
Suivre la règle suivante: plus le tissu est lourd, plus l'aiguille doit être grosse et plus le point doit être long.
Choisissez votre position d'aiguille, de la position d'aiguille centre, à la position de gauche en réglient la largeur du point du "0" à "5".
- Bouton pour la largeur du point
- Bouton pour la longueur du point
- Affichage du point
- Selecteur de point
- Levier de marche arrête


Points zigzag Sélectionnez le bouton de sélection de point et tournez-le jusqu'au symbole souhaité ou jusqu'à ce que la lecture "B" apparaisse dans la fenêtre.
Fonction de la largeur du point lors de la couture
La largeur maximum du zigzag est "5". Cependant, cette largeur peut etre réduite ou augmentée en tournant le bouton de "0" à "5". Aiguilles jumelles: ne jamais dépasser la largeur "2.5". (1)
Fonction de la longueur du point lors de la couture du point zigzag
La densité du point augmente lors que le réglage du bouton de longueur de point approche du "0". (2). Pour un point zig-zag efficace, la longueur de point devrait être à "2.5" ou moins.
Point satin
Lorsque le bouton de longueur de point est situé entre "0" - "1", les points sont très serrés produitant ainsi le point satin. Ce réglage est utilisé pour la boutonneire, les points décoratifs et les appliqués.
Tissus fins
Lorsque le tissu à coudre est très fin, placer une mince feuille de papier sous le tissu pour le coudre. Il est facile de déchirer et d'enlever le papier une fois la couture terminée.

Ourlet au point invisible
- Le pied pour ourlet invisible est un accessoire optionnel qui n'est pas fourni avec votre machine.
Pour ourlets, rideaux, pantalons, jupes etc.
Ourlet au point invisible pour tissus élastiques. Sélectionner le point "F".
A. Ourlet au point invisible/ point de lingerie pour tissus stables. Sélectionner le point "E".
Régler la machine comme indiqué sur le schéma.
Attention:
La réalisation d'un ourlet au point invisible requiert un peu d'exercice. Le比较好 est donc de plusieurs fois faire un échantillon d'essai.
Plier l'ouvrage comme indiqué sur le schéma-l'envers se trouvant en haut. (1)
Placer l'ouvrage sous le pied-de-biche. Tourner le volant vers l'avant jusqu'à la position extréme gauche de l'aiguille.
Celle-ci ne doit piquer que sur le bord du pli. Si ce n'est pas le cas, rectifier la largeur de point. (2)
Ajuster le guide (3) en tournant le bouton (4) pour qu'il soit aligné le long du pli du tissu.
Piquer lentement et guider soigneusement l'ouvrage afin que la position ce dernier par rapport au guide ne se trouve trouve àaucun moment modifiée.
a. Largeur du point
b. Longueur du point
c. Pied-de-biche
d. Modèle de point

- Le pied à overlock est un accessoire optionnel qui n'est pas fourni avec votre machine.
Coutures, pique et surfilage des bords, ourlet visible.
Placer sur position "S" le bouton pour la longueur de point.
La largeur du point peut etre adaptee au tissu.
Point overlock:
Pour etoffes à fines mailles, tricots, encolures, cordures. (A)
Pour ouvrages tricotés fins, éléments tricotés à la main, coutures. (B)
Tous les points overlock peuvent être utilisés pour le piquage et le surfilage des bords en une seule opération. Suivant l'effet recherche, on peut surfiler directement le bord coupé ou piquer au ras celui-ci.
Attention:
Utiliser une nouvelle aiguille ou une aiguille à pointe sphérique!




Déplacez le levier d'entrainment vers la droite, pour abaiser les griffes. (1) Mettez en place le pied bouton.
Placez l'ouvrage sous le pied. Positionnez le bouton à l'endroit désiré et abaissez le pied presseur. Réglez le sélecteur de motif en position zigzag " 32 " et réglez la largeur de points entre "3" et "5" selon l'écartement des trous du bouton. Tournez le volant pour vous assurer que l'aiguille traverse librement les trous gauche et droit du bouton. En plaçant le sélecteur de points sur la position " | ", piquez quelques points d'arrêt, puis replacez le sélecteur sur " 32 " et piquez lentement une dizaine de points. Replacez le sélecteur en position " | " et piquez quelques points d'arrêt (2).
Si vous souhaitez coudre un bouton et obtenir une tige sous celui-ci, placez une aiguille à reprimer au dessus du bouton avant de le coudre sur l'ouvrage (3). Pour coudre un bouton à 4 trous, piquez tout d'abord les deux premiers trous (2), puis déplacez votre ouvrage pour piquer les deux autres trous (3).





D
F Coudre les boutonnières/ boutonnières à une position
Changer le pied
Régler la machine comme indiqué " "
- Marquer la position de la boutonniere sur le tissu.
- Positionner le pied sur la marque, abaisser le pied (A)
- Ouvrir la plaque de boutonnière et introduire le bouton (B)
- Abaisser le levier de boutonniere et tirer vers l'arrière (C)
- Tenir légèrement le fil supérieur et démarrer la machine
- Coudre la boutonniere (D)
- Arrête la machine à la fin de la boutonnière
Couture d'une boutonnière sur un tissu elastique (E)
Un fil de soutien est nécessaire pour les boutonnieres sur tissus elastiques
- Préparation comme mentionné plus haut
- Poser le fil de soutien à l'arrière du pied et tirer vers l'avant les deux extrémités du fil, les fixer dans la rainure et nouer les bouts
-
Abaisser le pied et coudre la boutonniere
-
Adapter la largeur du point à l'épaissur du tissu
-
Quand la boutonniere est terminée, tirer légrement le fil, fixer et découvertes surplus


F Equilibrage droit et gauche de la boutonniere
La densité du côté croit et gauche de la boutonnière peut être régée avec le bouton d'équilibrage.
La position de ce bouton doit normalement se trouver au milieu (entre "+" & "-").
Si les points du côte gauche de la boutonnière sont trop petits, tourner le bouton à gauche (+).
- La densité de point du côté gauche est ainsi augmentée.
Si les points du côté gauche de la boutonnière sont trop grands, tourner le bouton à droite (-) .
- La densité de point du côte gauche est ainsi réduite.
La densité du coté croit de la boutonnière est réglé par le bouton de longueur de point.

F Pose d'une fermetre a glissiere
Régler la machine comme indiqué sur le schéma.
Régler la longueur de point entre "1" et "4" selon l'épaissieur du tissu.
Le pied pour fermeture à glissière peut être fixer du côté gauche ou du côté droit dépendant quel côté du fermoire à glissière vous désirez coudre. (1)
Pour éviter de dévier lorsque vous arrivè pres du curseur, laisser l'aiguille piqué dans le tissu. Lever le pied-de-biche, puis pousser le curseur derrière le pied-de-biche. Abaisser ce dernier puis continuer à coudre.
Il est également possible d'utiliser le pied pour fermeture à glissière pour coudre un cordonnet ou passé-poil. (2)

F Coudre avec le pied ourleur
- Le pied ourleur est un accessoire optionnel qui n'est pas fourni avec votre machine.
Pour ourler les tissus fins et légers.
Régler la machine comme indiqué sur le schéma.
Le tissu à ourler doit être coupé droit au préalable.
Replier l'extrème bord du tissu en formant un double pli d'env. 3mm et le maintainir par 4 ou 5 points. Tirer légèrement les fils d'aiguille et de canette vers l'arrière, piquer l'aiguille dans le tissu. Relever le pied-de-biche. Guider le bord vif du tissu pour qu'il s'engage dans le cornet de l'ourleur. (1)
Continuer de piquer en veillant à ce que le tissu pénétre uniformément dans le cornet de l'ourleur. (2)

Pose d'élastique et de dentelle, ravaudage, recommodage de déchirures, renforcement de bords.
Régler la machine comme indiqué sur le schéma.
Poser le morceau d'etoffe sur le tissu endommagé. (1)
Pour le raccommodage de déchirures, il est conseilé de placer un tissu de renforcement sur l'envers. Commencer par coudre sur le milieu, puis coudre sur les deux côtés. Selon le genre de tissu et la nature des dommages, faire 3 à 5 passages. (2)







1
2
F Sélection des points
Triple point droit: (1/3)
Pour coutures à toute épréuve.
Placer sur position "S" le bouton pour longueur de point.
La machine effectue deux points en avant et un point en arrêté ce qui permet d'obtenir une couture à triple renfort.
Pour coutures à toute épreuve, ourlets et coutures décoratives.
Placer sur position "S" le bouton pour longueur de point.
Placer le bouton pour largeur de point entre les positions "3" - "5".
Le triple point zigzag convient pour les tissus résistants tels que jeans, velours côtelez, etc.

F Point nid d'abeille
Coutures, ourlets, T-shirts, sous-vêtements, etc.
Régler la machine comme indiqué sur le schéma.
Ce point peut être utilisé: pour différents types de jersey (tricot) ainsi que pour les étoffes tissées. (1)
Coudre l'ourlet à env. 1 cm du bord coupé, puis couper le surplus de tissu. (2)
Placer sur position "S" le bouton pour longueur de point.

F Coudre avec le pied pour cordonnet
- Le pied pour cordonnet est un accessoire optionnel qui n'est pas fourni avec votre machine.
Décorations, coussins, nappes etc.
Régler la machine comme indiqué sur le schéma. On peut utiliser divers points tels le zigzag, le triple zigzag, points décoratifs, etc.
Faire passer les fils dans le ressort de guidage puis les disposer vers l'arrière, sous le pied-de-biche. Veiller à ce que les fils se trouvent dans les rainures (tenir compte de l'épaissur du cordonnet). Le pied pour cordonnet permet de coudre un, deux ou trois fils. La largeur de point varie en fonction du nombre de fils et du point choisi. (1/2)

- Le pied à reprimer est un accessoire optionnel qui n'est pas fourni avec votre machine.
Régler la machine comme indiqué sur le schéma. Abaisser le transporteur. (1)
Retirer le support de pied-de-biche. (2)
Fixer le pied à reprimer à la barre. Le levier (A) doit se才知道er derrière, au dessus de la vis de fixation de l'aiguille (B). Avec l'index, appuyer fermement par l'arriere sur le pied à reprimer, puis serrer la vis (C). (3)
Commencer par coudre tout autour du trou (pour empêcher les mailles de filer). (4)
Première rangée: Travailler toujours de gauche à droite.
Tourner l'ouvrage d'un quart et finir la reprise.
Pour obtenir un meilleur résultat, nous conseillons d'utiliser un tambour à reprimer.




F Points utilitaires
Régler la machine comme indiqué sur le schéma.
La largeur et la longueur des points peuvent etre adaptees à la nature des tissus.
Point coquille pour ourlets (A)
Pour renforcements decoratifs de bords.
Convient pour cordures de matériaux minces, stables ou élastiques. Le grand point devrait déborder très légèrement du tissu, pour donner cet effet de coquille.
Point de croissant (B)
Pour un bord délicat au long du tissu.
La longueur du point devrait etre regle entre "0.5" - "1.0".
Point universal (C) (motif de rempart)
Coutures très décoratives avec effet d'ourlet à jours. Réalisation des rangiées avec du fil normal ou du fil élastique.

- Régler la longueur du point selon la longueur désirée.
- Placer le sélecteur de points à la couture droite, position d'aiguille au centre.
- Faufiler une piece de renfort sous la section à reprimer et placer le tissu sous le pied-de-biche.
- Abaisser le pied-de-biche et coudre alternatively en marche avant et en marche arrêté en vous servant du levier de marche arrêté.
- Répéter ce mouvement jusqu'à ce que toute la surface à reprimer soit couverte.
Pour les instructions de marche arrête. Voir P. 33.

- Régler le bouton de longueur de point selon la longueur désirée.
- Placer le sélecteur de point à la couture droite, position d'aiguille au centre.
- Plier le bord non fini de l'ouvrage environ 6mm (1/4").
- Placer la dentelle sous le bord relié de façon à ce que le dessus chevauche légèrement le dessous tout en suivant le patron de la dentelle.
- Coudre pres du bord replie.
- Vous pouvez ajouter une touche de fantaisie en utilisant un point satin à la place du point droit.

- Régler le bouton de longueur de point selon la longueur désirée.
- Placer le sélecteur de point à un point de zigzag étroit.
- Découper l'appliqué et le fauiler au vêtement.
- Coudre lentement près du bord extérieur de l'appliqué.
- Recouper tout excédent de tissu en prénant soin de ne couper aucun des points cousus.
- Retirer le faufil.
- Tirer le fil à l'envers du tissu et attacher ensemble.




F Couture à deux aiguilles
- Régler le bouton de longueur de point à la longueur désirée.
- Placer le sélecteur de point à la couture droite, position centre.
Vérifiez que la largeur de point est réglée sur "0".
- Assurez-vous que les deux fils utilisés soient de mêmeGXsseur. Vous pouvez utiliser deux fils de meme couleur ou de couleurs differentes.
- Retirer l'aiguille simple et installer l'aiguille double de la meme façon que l'aiguille simple. Le cote plat de l'aiguille doit always etre vers I'arriere de la machine.
- Enfilier la machine selon la procédure normale d'enfilage jusqu'à l'aiguille. Séparer les fils et assurez-vous que le fil venant de la bobine de croite entre dans l'aiguille de croite et que le fil venant de la bobine de gauche entre dans l'aiguille de gauche.
Attention:
Pour bien coudre avec des aiguilles jumelées, prenez votre temps et assurez vous que la vitesse de couture est réduite, afin d'obtenir des points d'aspect irreprochable.
Pour coudre un zig-zag avec des aiguille double, assurez vous que le sélecteur de largeur de points est positionnée entre "0" et "2.5". Ne cousez pas avec des aiguilles jumelées si la largeur de points excède "2.5".

F Monogramme et broderie a main libre\*
- Régler la machine tel que démontré ci-dessus.
- Enlever le pied-de-biche et le portepied.
- Abaisser le transporteur. (1)
- Abaisser le levier du pied presseur avant de commencer à coudre.
- Ajuster la largeur du zigzag selon la grandeur du monogramme ou du motif à broder.
Préparation pour le monogramme et la broderie à main libre*
- Dessiner le monogramme ou le motif sur l'endoit du tissu.
- Placer le tissu dans un cerceau à broder et le tendre le plus fermement possible.
- Placer le tissu sous l'aiguille. Assurez-vous que la barre du pied presseur est à sa position la plus)basse.
- En tournant le volant vers vous, faire passer le fil de la canette à travers le tissu et dessortir sur l'endetroit du tissu. Coudre quelques points d'arrêt au point de départ.
-
Retenir le cerceau avec le pouce et l'index des deux mains, tout en pressant le tissu avec les doigts du milieu alors que l'auriculaire soutient le bord extérieur du cerceau.
-
Le cerceau à broder n'est pas inclus avec les accessoires de la machine.

F Coudre avec le guide
- Le pied pour quilt (ouatinage) est un accessoire optionnel qui n'est pas vendu avec cette machine.
Régler la machine comme indiqué.
Selectionner le point "A".
Position de l'aiguille au milieu.
Longueur de point: selon le tissu.
Insérer le guide dans le ressort du pied et fixer dans la largeur désirée.
Coudre des lignes parallètes en s'aidant du guide.




- Le pied fronceur est un accessoire optionnel qui n'est pas vendu avec cette machine.
Régler la machine comme indiqué.
Selectionner le point "A".
Position de l'aiguille au milieu.
Longueur de point: selon le tissu.
- Coudre une ou plusieurs lignes de points droits.
- Relâcher la tension du fil supérieur (env. position 2) pour faciliter le fronçage.
- Tirer le fil inférieur et froncer.




Ces points sont destinés à unir deux pieces de tissu tout en laissant un espace libre entre les deux rebords.
- Pliez les rebords pour former un ourlet et bâtissez les bords sur une fine feuille de papier en laissant un petit espace libre entre les deux.
- Placez la selection de motif sur "H".
Placer sur position "S" le bouton pour longueur de point.
- Cousez le long du rebord en tirant les deux fils de côté au début de la couture. Utilisez un fil plus écais que les fils standards habituels.
- Eliminez les surfils et le papier après la couture. Nouez les fils (début et fin de couture) sur l'envers pour arreter.



F Pied de transport supérieur (Optionnels)
- Le pied de transport supérieur est un accessoire optionnel qui est fourni seulment avec modèle 7130 Q.
Utilisation du pied de transport supérieur.
Pour la couture de tous les tissus tissés ou tricotés, les couvertures en laine, la soie, le vinyle, les cuirs synthétiques, etc.
Le pied de transport supérieur équilibre le transport du tissu (dessus et dessous) et améliore l'ajustement de couvertures, bandes et motifs. Il facilité le transport régulier des tissus problématiques.
Régler la machine comme indiqué.
Selectionner le point "A".
Position de l'aiguille au milieu.
Longueur de point: selon le tissu.
- Soulever le pied.
- Enlever le pied et son support.
- Fixer le pied de transport supérieur comme suit:
i) La vis de fixation de l'aiguille doit se trouver entre la fourchette. (2)
ii) Fixer le pied de transport supérieur à la barre du pied. (3)
iii) Viser la vis (d).
- Contrôler que la vis de fixation de l'aiguille. soit bien serrée.
- Saisir le fil inférieur.
- Glisser les deux fils sous le pied.
a. Vis de fixation
e. Barre du pied
b. Fourchette
f. Vis de fixation du pied
c. Vis de fixation de I'iguille
d. Barre de l'aiguille


Caution:
Toujours débrancher la machine etmettre l'interrupteur principal en position "O"pendant toute l'opération de nettoyage.
Retirer la plaque a aiguille:
Tourner le volant jusqu'à ce que l'aiguille soit à sa plus haute position. Ouvrir le couvercle de la coursière et dévisser les vis de fixation avec le tourne-vis fourni dans la boîte d'accessoire. (1)
Nettoyage des griffes d'entrainment:
Retirer la boîte à canette et nettoyer à fond à l'aide du pinceau. (2)
Nettoyage et huilage du crochet:
Retirer la boîte à canette. Tourner les deux leviers de fixation (a) du crochet vers l'extérieur. Enlever l'anneau de fixation de la coursière (b) et le crochet (c) et les nettoyer avec un tissu doux et sec. Mettre 1 ou 2 gouttes d'huile pour machine à coudre dans la coursière (d). Tourner le volant jusqu'à ce que la coursière du crochet (e) soit à gauche. Replacer le crochet (c) et l'anneau de fixation (a). Tourner les deux leviers vers le centre du crochet et assurez-vous que les leviers accrochent bien sur les goujons. Remettre en place la boîte à canette et la plaque à aiguille.
Important: La poussière et les déchets de fils doivent être nettoyés de façon régulière. Une révision complète de la machine devrait aussi être effectuee par un technicien à un intervalle régulier.
| Problem | Cause | Correction |
| Upper thread breaks | 1. The machine is not threaded correctly2. The thread tension is too tight3. The thread is too thick for the needle4. The needle is not inserted correctly5. The thread is round wound the spool holder pin6. The needle is damaged | 1. Rethread the machine2. Reduce the thread tension (lower number)3. Select a larger needle4. Remove and reinsert the needle (flat side towards the back)5. Remove the reel and wind thread onto reel6. Replace the needle |
| Lower thread breaks | 1. The bobbin case is not inserted correctly2. The bobbin case is threaded wrongly3. The lower thread tension is too tight | 1. Remove and reinsert the bobbin case and pull on the thread. The thread should pull easily2. Check both bobbin and bobbin case3. Loosen lower thread tension as described |
| Skipped stitches | 1. The needle is not inserted correctly2. The needle is damaged3. The wrong size needle has been used4. The foot is not attached correctly | 1. Remove and reinsert needle (flat side towards the back)2. Insert a new needle3. Choose a needle to suit the thread and fabric4. Check and attach correctly |
| Needle breaks | 1. The needle is damaged2. The needle is not correctly inserted3. Wrong needle size for the fabric4. The wrong foot is attached | 1. Insert a new needle2. Insert the needle correctly (flat side towards the back)3. Choose a needle to suit the thread and fabric4. Select the correct foot |
| Loose stitches | 1. The machine is not correctly threaded2. The bobbin case is not correctly threaded3. Needle/ fabric/ thread combination is wrong4. Thread tension wrong | 1. Check the threading2. Thread the bobbin case as illustrated3. The needle size must suit the fabric and thread4. Correct the thread tension |
| Seams gather or pucker | 1. The needle is too thick for the fabric2. The stitch length is wrongly adjusted3. The thread tension is too tight | 1. Select a finer needle2. Readjust the stitch length3. Loosen the thread tension |
| Uneven stitches, uneven feed | 1. Poor quality thread2. The bobbin case is wrongly threaded3. Fabric has been pulled | 1. Select a better quality thread2. Remove bobbin case and retreat and insert correctly3. Do not pull on the fabric while sewing, let it be taken up by the machine |
| The machine is noisy | 1. The machine must be lubricated2. Fluff or oil have collected on the hook or needle bar3. Poor quality oil has been used4. The needle is damaged | 1. Lubricate as described2. Clean the hook and feed dog as described3. Only use good quality sewing machine oil4. Replace the needle |
| The machine jams | Thread is caught in the hook | Remove the upper thread and bobbin case, turn the handwheel backwards and forwards by hand and remove the thread remains. Lubricate as described |
| Problema El hiló superior se rompe | Causa 1. Laística está mal enhebrada 2. La tension del hiló es demasiado fuerte 3. El hiló es demsiado grueso para la agua 4. La agua no está colocada correctamente 5. El hiló se ha enredado en el portobobinas 6. La agua está torcida o despuntada | Corrección 1. Enhebrar laística correctamente 2. Disminuir la tension del hiló superior (número menor) 3. Usar una agua más gruesa 4. Colocar la agua correctamente (elazo plano hacía antes) 5. SACar la bobina y devanar el hilo 6. Cambiar la agua |
| El hilol inferior se Rompe | 1. La caja de bobina no está bien colocada 2. El porta-canillas no está bien enhebrado 3. La tensión del hiló inferior es demasiado fuerte | 1. Colocar nuevomente la caja de bobina y tirar del hilo. Este tiene que desen-Rollarse fácilmente. 2. Controlar la canilla y el porta-canillas 3. Corregir la tensión del hiló inferior conforme las instrucciones |
| Pérdida de+puntadas | 1. La agua no está colocada correctamente 2. La agua está torcida o despuntada 3. Se ha colocado una agua equivocada 4. Se está usingando un pié equivocado | 1. Colocar la agua correctamente (elazo plano hacía antes) 2. Cambiar la agua 3. Colocar la agua adecuada al tejido y al hilo. 4. Colocar el pie adecuado al trabajo a efectuar. |
| La agua se rompe | 1. La agua está torcida o despuntada 2. La agua no está colocada correctamente 3. Ropa demasiado gruesa / grosor incorrecto de la agua 4. Se ha montado un pie errado | 1. Cambiar la agua 2. Colocar la agua correctamente (elazo plano hacía antes) 3. Adaptar la agua al tejido y al hilo 4. Usar el pie correcto |
| Durante lacostura se Forman lazos | 1. Laística está mal enhebrada 2. La caja porta bobina está mal enhebrada 3. La relacion agua / ropa / hilo no es correcta 4. La tensión del hiló no es correcta | 1. Enhebrar laística correctamente 2. Enhebrar el porta-canillas conforme las instrucciones 3. El grosor de la agua Tiene que coincidir con el hilo y la ropa 4. Corregir la tensión del hiló |
| La costura seencoge, La TCLa se frunce | 1. La agua es demasiado gruesa para el tejido 2. El largo de la+punta está mal regulado 3. La tensión del hiló es demasiado fuerte | 1. Usar una agua más Fiona 2. Regular correctamente ellarge de la(punta)喷涂ada 3. Controlar la tensión del hiló |
| La costura y elAvance de la TCLa sonIrregulares | 1. El hilo es demasiado débil 2. El porta-canillas no está bien enhebrado 3. Se ha tirado de la TCLa durante lacostura | 1. Usar un hilo de mayor calidad 2. Enhebrar de nuevo el porta-canillas y colocarlo correctamente 3. No tirar de la TCLa.Esta es Alimentada automatistically |
| Laquina hace Ruido y está dura | 1. Hay que lubricar la这笔a 2. Pelusa y trazos de aceite se han pegado en la lanzadora o en la barra prensatelas | 1. Lubrificar la这笔a según las instrucciones 2. Limpiar la lanzadora y el transporte conforme las instrucciones |
| ProblèmeLe fil supérieurcasse | Cause1. L'enfilage du fil est incorrect2. La tension du fil est trop forte3. Le fil est trop écais pour l'aiguille4. L'aiguille n'est pas inséréecorrectement5. Le fil s'est entortillé sur la broche de la bobine6. L'aiguille est endommagée | Remède1. Enfilier à nouveau le fil à travers la machine et l'aiguille2. Réduire la tension du fil supérieur (chiffre inférieur)3. Utiliser une aiguille plus grosse4. Enlever l'aiguille, puis la remettre en place (talon dirigé vers l'arrière)5. Retirer la bobine et bobiner le fil6. Remplacer l'aiguille |
| Le fil inférieurcasse | 1. La boîte à canette n'est pas placeecorrectement2. La boîte à canette n'est pas enfilléecorrectement3. La tension du fil est trop forts | 1. Enlever la navette, puis la remettre en place et tirer sur le fil. Si le fil se déroule facilement, la navette est bien en place.2. Contrôler la canette et la navette3. Rectifier la tension du fil inférieur de la manière prescrite |
| Les points ne se forment pas toujours | 1. L'aiguille n'est pas inséréecorrectement2. L'aiguille est tordue ou épointée3. L'aiguille n'a pas la classe ou la grosseur correcte4. Le pied-de-biche ne convient pas | 1. Enlever l'aiguille puis la remettre en place (talon dirigé vers l'arrière)2. Remplacer l'aiguille3. Choisir une aiguille dont la grosseur est adaptée au fil et à l'étoffe4. Vérifier si le pied-de-biche utilisé convient pour l'ouvrage |
| L'aiguille casse | 1. L'aiguille est tordue ou épointée2. La boîte à canette n'est pas enfilléecorrectement3. Tissu trop écais/ grosseur incorrecte de l'aiguille4. Le pied-de-biche ne convient pas | 1. Remplacer l'aiguille2. Enlever l'aiguille, puis la remettre en place (talon dirigé vers l'arrière)3. Choisir une aiguille dont la grosseur est adaptée au fil et au tissu4. Changer le pied-de-biche |
| Des noëuds se forment au cours du travail | 1. Le fil n'est pas enfilé correctement2. La boîte à canette n'est pas enfilléecorrectement3. Le rapport aiguille/ tissu/ fil est incorrect4. Le fil n'est pas tendu correctement | 1. Enfilier correctement le fil dans la machine2. Enfilier la navette de la manière prescrite3. Choisir une aiguille dont la grosseur est adaptée au fil et à l'étoffe4. Rectifier la tension du fil |
| Les coutures se rétractent ou se froncent | 1. L'aiguille est trop grosse pour le tissu2. La tension du fil est trop forts | 1. Utiliser une aiguille plus fine2. Rectifier la tension du fil |
| Les points et l'entrainment sont irréguliers | 1. Le fil n'est pas assez solide2. La boîte à canette n'est pas enfilléecorrectement3. Le tissu est tiré lors du pique | 1. Utiliser un fil de meilleur qualité2. Enfilier à nouveau la boîte à canette, puis la remettre en place3. Ne pas tirer le tissu lors de la couture. Celui-ci doit être entraîné automatiquement. |
| La machine est bruyante | 1. La machine doit être lubrifiée2. Présence de bourre ou de trace d'huile sur le cro-chet ou sur la barre d'aiguille3. L'huilage a été effectué avec une huile de mauvaise qualité4. L'aiguille est tordue ou épointée | 1. Huiler la machine en suivant les instructions2. Nettoyer le crochet et la griffe d'entrainment en suivant les instructions3. Pour le huilage, utiliser exclusivement une huile spéciale pour machine à coudre4. Remplacer l'aiguille |
| La machine est bloquée | Le fil est coincé dans le crochet | Enlever le fil supérieur et la navette, tourner le volant par secousses à la main en avant et en arrrière. Enlever les restes de fil. Huiler selon les instructions. |
Notice Facile