7500 - Aspirateur EURO-PRO - Notice d'utilisation et mode d'emploi gratuit
Retrouvez gratuitement la notice de l'appareil 7500 EURO-PRO au format PDF.
| Type d'appareil | Machine à coudre |
| Modèle | Non précisé |
| Nombre de points | Non précisé |
| Vitesse de couture | Non précisé |
| Type d'alimentation | Électrique |
| Poids | Non précisé |
| Dimensions | Non précisé |
| Fonction de boutonnière | Oui |
| Type de canette | Non précisé |
| Écran | Non précisé |
| Accessoires inclus | Non précisé |
| Matériau du châssis | Non précisé |
| Garantie | Non précisé |
| Langues du manuel | Français, Anglais, Espagnol |
| Fabricant | Non précisé |
FOIRE AUX QUESTIONS - 7500 EURO-PRO
Questions des utilisateurs sur 7500 EURO-PRO
0 question sur cet appareil. Repondez a celles que vous connaissez ou posez la votre.
Poser une nouvelle question sur cet appareil
Téléchargez la notice de votre Aspirateur au format PDF gratuitement ! Retrouvez votre notice 7500 - EURO-PRO et reprennez votre appareil électronique en main. Sur cette page sont publiés tous les documents nécessaires à l'utilisation de votre appareil 7500 de la marque EURO-PRO.
MODE D'EMPLOI 7500 EURO-PRO
Another quality product Un autre produit de qualité

Model 7500
Instruction Manual
Manuel d'Instructions
Lorsqu'on utilise une machine à coudre, il faut toujours respecter certaines règles fondamentales de sécurité, notamment les suivantes:
Lire toutes les directives avant usage.
DANGER - Pour éviter les risques de secousses électriques:
- Ne pas laisser sans surveillance lorsque branchée. Toujours débrancher la machine immédiatement après usage et avant de la nettover.
- Toujours débrancher avant de changer l'ampoule. Remplacer l'ampoule par une ampoule de même calibre 10 watts (110-120V area) ou 15 watts (220-240V area).
AVIS - Afin de réduire les risques de brûlures, feu, risques de secousses électriques, ou blessures:
- Ne pas permettre l'utilisation comme jouet. Exercer une étroite surveillance lorsque la machine est utilisé à proximé d'un enfant ou lorsqu'elle est utilisée par ce dernier.
- N'utilisez cette machine à coudre que pour l'utilisation décrite dans ce manuel. N'utiliser que les accessoires recommends par le manufacturer décrits dans ce manuel.
- Ne pas utiliser cette machine à coudre si le cordon ou la prise sont en mauvais état, si elle ne fonctionne pas normalement, si elle est tombée et endommagée, ou plongée dans l'eau. Retourner la machine à coudre chez le dépositaire autorisé le plus après pour examen, réparations, réglages électriques ou mécanique.
- Ne jamais utiliser la machine à coudre lorsque les trouss d'airation sont bloqués. Garder les trouss d'airation de la machine à coudre et de la commande de vitesse libres de toute accumulation de charpie, poussières et tissus.
- Ne jamais échapper ou insérer tout objet dans les ouvertures.
- Ne pas utiliser à l'extérieur.
- Ne pas utiliser dans un endroit où des produits aérosol sont utilisés on dans un endroit où on administré de l'oxygène.
- Mettre la machine hors tension avant de la brancher ou de la débrancher.
- Ne pas tirer sur le cordon pour débrancher la machine à coudre. Pour débrancher, saisir la fiche et tirer.
- Tenir les doigs t'éloignés des pieces mobiles. Tout spécialement de l'aiguille.
- Toujours utiliser la plaque à aiguille appropriée.
- Ne pas utiliser d'aiguille croche.
- Ne pas tirer ou pousser sur le tissu en cousinsant, afin d'eviter de briser l'aiguille.
- Mettre la machine hors tension pour effectuer tout réglage, tel enfiler l'aiguille, changer l'aiguille ou plaque aiguille.
- Toujours débrancher la machine à coudre pour effectuer l'entretien ou tout autre réglage mentionnés dans ce manuel.
CONSERVER CES INSTRUCTIONS
GB Congratulations
A titre de nouveau propriété d'une machine à coudre, vous pourrez approucem une couture de qualite sur tous les genres de tissus, que ce soit plusieurs epaisseurs de denim ou de la soie delicate.
Votre machine à coudre offre ce qu'il y a de nouveaux en fait de simplicité et de facilité d'usage. Pour votre sécurité et afin de pleinement appréciencer les nombreux avantages de votre machine à coudre, nous recommendons que vous lisiez toutes les mesures de sécurité et les instructions qui sont continues dans le present manuel.
Permettez-nous de vous suggérer, avant d'utiliser votre machine à coudre, de découvert les nombreuses caractéristiques et avantages en feuilletant ce manuel, étape par étape, assise face à votre machine à coudre.
GB List of contents
Principal parts 2
Accessories 4
Pièces principales de la machine 3
Accessoires 4
Mise en place de la table-rallonge 5
Branchement de la machine à coudre 7
Changement de I'ampoule 8
Levier du pied-de-biche à deux positions/ Ajustement de la pression du pied-de-biche ....9
Montage du support du pied-de-biche 10
Remplir la canette 11
Mise en place de la canette 12
Mise en place de I'aiguille (Système 130/705H) 13
Enfilage du fil supérieur 14
Tension du fil 15
Remonter le fil inférieur 16
Marche arriere/ Pour modifier le sens de la couture 17
Retrait de l'ouvrage/ Couper les fils 18
Tableau des aiguilles et fils 20
Selection des points 21
Couture au point droit et position d'iguille 22
Couture au point zig-zag 23
Ourlet au point invisible 24
Point overlock 25
Pose des boutons 26
Faire les boutonnières 27
Pose d'une fermetre a glissiere 28
Coudre avec le pied ourleur 29
Point zig-zag cousu 30
Selection des points 31
Point nid d'abeille 32
Coudre avec le pied pour cordonnet 33
Reprise à main libre 34
Pointsutilitaires 35
Reprisage 36
Pose de la dentelle 37
Applique 38
Couture à deux aiguilles 39
Monogramme et broderie à main libre* 40
Coudre avec le guide 41
Le fronçage 42
Point feston 43
Patchwork 44
Entretien de la machine 45



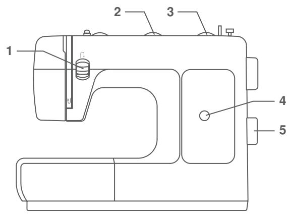
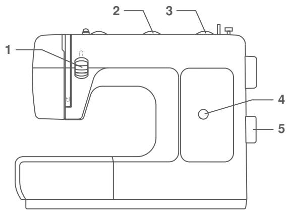
Principal parts
F Pièces principales de la machine
- Régulateur de tension du fil
- Guide-fil du bobineur
- Régulateur de pression du pied-de-biche
- Releveur de fil
- Levier de marche arrière
- Coupe-fil
- Pied-de-biche
- Plaque à aiguille
- Table-rallonge et boitier pour les accessoires
- Butée du bobineur
- Bouton pour la longueur du point
- Bouton pour la largeur du point
- Affichage du point
- Broche porte-bobine
- Bobineur
- Volant
- Selecteur de point
- Interrupteur principal
- Prise
- Guide-fil supérieur
- Poignée
- Levier du pied-de-biche
1
a

006806008
b

006905008

d

006914008
e

f


i

g

h

m

K

1


006812008
q

006016008
2
n

006804008
0

006803008
p

006812008
006917008
#

006810008
S

006800008
t

006916008
U
006917008
E
Accesorios
(Ces 6 pieds-de biche ne sont pas fournis avec cette machine: ils sont cependant disponibles comme accessorières spéciaux de votre dépositair.)
a. Pied universel
b. Pied pour fermetures à glissière
c. Pied à boutonnière
d. Pied pour poser des boutons
e. Huilier
f. Pinceau/ Découseur
g. Tournevis
h. Aiguilles (3x)
i. Aiguille jumelée
j. Canettes (3x)
k. Plaquette de reprisage
I. Guide pour piquage
m. Tige porte-bobine supplémentaire
Extra Pieds-de-biche (2)
(Ces 6 pieds-de-biche ne font pas partie de l'équipement standard. Mais ils sont disponibles comme accessoires spéciaux auprès de votre agent local.)
n. Pied à broder
o. Pied à overlock
p. Pied pour ourlet invisible
q. Pied à repriser/ Broderie
r. Pied pour cordonnet
s. Pied ourleur
t. Pied pour quilt (ouatinage)
u. Pied fronceur



Ajusta la snap-in mesa plana corrediza
Mise en place de la table-rallonge
Pousser la table-rallonge dans le sens de la flèche jusqu'à ce qu'elle s'enclenche. (1)
Si I'on doit coudre sur le bras libre seulement, il faut alors enlever la table-rallonde.
L'intérieur de la table-rallonge est prévu pour les accessoires. Pour ouvrir la table-rallonge, tirer la porte dans le sens de la flèche. (2)


2

3

Branchement de la machine à coudre
Mise en garde:
La machine doit toujours être débranchée et l'interrupteur principal à "O" lorsque la machine n'est pas utilisé, pour changer des pieces et/ou accessoires.
- Cette machine à coudre est munie d'une fiche polarisée et ne doit être branchée que dans une prise murale appropriée.
- Brancher la machine dans une prise murale selon l'illustration. (1)
- Enfoncer la fiche (A) dans la machine. (1)
- L'interrupteur principal se trouve juste au dessus du branchement du réseau.
- La lumière d'éclairage est automatiquement allumée lorsque l'interrupteur principal est à " I ".
- Pourmettre la machine en marche,appuyer sur la pédale decommande.(3)
- La vitesse de la machine est réglée par la pression du pied sur la pédale de commande.
Attention:
Consulter un électricien qualifié en cas de doute pour brancher la machine. Débrancher la machine quand celle-ci est pas en service. Le pied de contrôle doit être obligatoirement utilisé avec les apareils 4C-316B (110-120V area) / 4C-316C (220-240V area) fabriqués par MATSUSHITA ELECTRIC (TAIWAN) CO., LTD.
AVIS IMPORTATNT
Cette machine a une fiche polarisée (une lame plus large que l'autre). Pour réduire le risque de secousse électricque, cette fiche est conçue pour être branchée d'une seule façon dans une prise de courant polarisée. Si la fiche ne se branche pas pleinement dans la prise, inverser la fiche et si elle ne se branche pas pleinement, contacter un électricien pour installer la prise de courant appropriée. Ne pas modifier la prise de courant de quelque façon que ce soit. (3)
a. Fiche polarisée
b. Conducteur pour mise à la masse

2

F Changement de l'ampoule
Avertissement:
Assurez-vous que la machine est débranchée de la prise murale avant de changer la lampe.
- Desserrer la vis (A) qui se trouve sur le (:é du couvercle frontal (sur la face latérale). (1)
- Enlever le couvercle frontal (B).
- Dévisser l'ampoule et la remplaçer par une neue (C). (2)
- Replacer le couvercle frontal et desserrer la vis.


E
Palanca alza-prensatelas con dos escalones
Levier du pied-de-biche à deux positions
Pour faciliter l'insertion de tissus très écais sous le pied-de-biche, on peut augmenter l'espace entre le pied-de-biche et la plaque à aiguille, en relevant le levier du pied-de-biche d'un cran.
Ajustement de la pression du pied-de-biche
Le régulateur de pression du pied-de-biche a été ajusté et devrait convenir à tous les types de tissus (du plus fin au tissu écais).
Cependant, si un ajustement s'avere nécessaire, tournez la vis d'ajustement en vous servant d'une piece de monnaie.
Pour les tissus très fins, desserrer le régulateur de pression en tournant dans le sens contraire des aiguilles d'une montre, et pour les tissus épais, augmenter la pression en tournant la vis dans le sens des aiguilles d'une montre.




F Montage du support du pied-de-biche
Attention:
Placer l'interrupteur principal à "O" avant de procéder.
Relever la barre du pied-de-biche (a) en vous servant du levier à l'arrière de la machine. Installer le support de pied-de-biche tel qu'indiqué sur le schéma (1).
Abaisser le support du pied-de-biche (b) jusqu'à ce que la rainure (c) se trouve positionné au-dessus de la broche (d). Pousser légarement le levier (e) vers l'avant. Abaiser la barre du pied-de-biche (a) et le pied-de-biche (f) s'enclenchera. Schéma (2).
Retrait du pied-de-biche
Relever le pied-de-biche en vous servant du levier à l'arrière de la machine à coudre. Pousser légèrement le levier (e) vers l'avant, de manière à dégager le pied-de-biche. Schéma (3).
Mise en place du guide de piquage
Insérer le guide (g) à l'arrière du support du pied-de-biche et régler à la distance désirée. Le guide s'utilise pour le piquage, les ouletts les plis etc. Schéma (4).



- Placer une bobine de fil sur la broche porte-bobine et la retenir avec l'étrier.
- Amener le fil vers la gauche et le passer à travers le guide et la tension du bobineur. Ramener le fil vers la droite. (1/2)
- Passer le fil dans un trou du dessus de la canette par l'intérieur et enrouler à la main le fil de quelques tours sur la canette. (3)
- Placer la canette vide sur la broche du bobineur. (3)
- Pousser la canette, vers la droite, contre l'arrêt du bobineur. La couture s'interrrompt automatiquement. (3)
- Retenir l'extrémité du fil et appuyer sur la commande au pied pour bobiner. Àpres quelques tours de bobinage, arrêté la machine et couper le fil pres du trou.
- Remetre la machine en marche. Dès que la canette est pleine, le processus de bobinage est automatiquement interrompu.
- Retirer la canette et couper le fil.





F Mise en place de la canette
Attention:
Assurez-vous de placer l'interrupteur principal en position "O" avant d'insérer ou de retarder la canette.
Lors de la mise en place et du retrait de la canette, veiller à ce que l'aiguille se trouve à sa plus haute position.
- Ouvrir le couvercle à charnière du bras libre. (1)
- Tenir le boîtier à canette d'une main. Introduire la canette de façon à que le fil s'enroule dans le sens des aiguilles d'une montre (flèche) (2).
- Engager le fil dans la fente et tirer vers la gauche et sous le ressort jusqu'à ce que le fil apparaissé dans l'ouverture rectangulaire (3). Laisser dépasser le fil environ 15cm (6").
- Maintenir le loquet du boîtier à canette entre le pouce et l'index.
- Glisser le boîtier à canette dans la coursière du crochet, en vous assurant que le doigt du boîtier s'insère complètement dans la fente de la coursière.


E
Mise en place de l'aiguille (Système 130/705H)
Attention:
Assurez-vous de placer l'interrupteur principal en position "O" avant de changer l'aiguille.
Remplacer l'aiguille dés que les premiers signes d'usure se manifestent: la machine saute des points, le fil s'effiloche et brise etc.
Remplacer l'aiguille si la grosseur ne convient pas pour le tissu à coudre.
Selectionner une aiguille de grosseur et de type appropriés au tissu à coudre.
- Tournier le volant vers vous jusqu'à ce que l'aiguille soit à son point le plus haut.
- Desserrer la vis du pince-aiguille (A) et enlever l'aiguille existante. (1)
- Mettre en place la nouvelle aiguille (C) en vous assurant que le côté plat du talon de l'aiguille soit vers l'arrière de la machine à coudre. (1)
- Introduire l'aiguille (C) jusqu'à la butée au fond du pince-aiguille. Serrer la vis du pince-aiguille. (1)
L'aiguille doit toujours être en parfait état pour une couture sans problèmes.
Remplacer l'aiguille si elle est tordue (A), émoussée (B) ou crochue (C). (2)







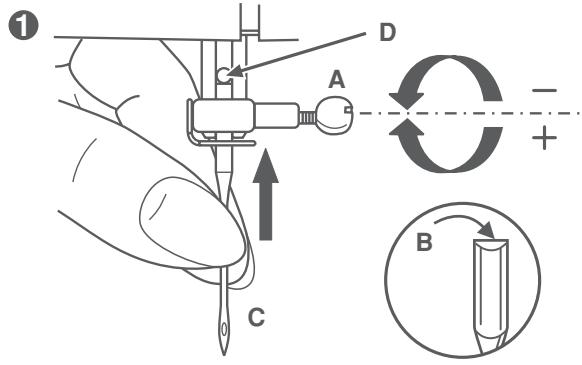
Enfilagedu fil supérieur
Attention:
Placer l'interrupteur principal à "O".
Relever l'aiguille à sa plus haute position. Relever le pied-de-biche. Placer une bobine sur la broche portebobine et la retenir avec l'étrier.
Tirer le fil vers la gauche et le passer à travers les deux guide-fil sur le dessus de la machine.
Ramener le fil vers l'avant dans la rainure de haut en bas, à droite de la plaque de séparation. Tirer sur le fil pour vous assurer qu'il pénétre bien dans les disques de tension.
En passant sous la plaque de séparation, remonter le fil à gauche de la plaque de séparation et le passer de droite à gauche dans le releveur de fil. Continuer de guider le fil vers le bas.
Passer le fil dans le guide-fil inférieur et le guide-fil du pince-aiguille.
Enfilier l'aiguille de I'avant vers I'arriere. Laisser environ 10cm (4") de fil derrière l'aiguille.



E Tensión del hiló
Normalement la tension du fil inférieur ne doit pas etre modifiee.
Tension du fil inférieur
Pour vérifier la tension du fil inférieur,sterol le boitier a canette et tenez-la suspendue par le fil. La tension du fil est correcte lorsque le fil se déroule vers le bas de 5 à 10cm env. quand on lui imprime un léger balancement (la canette doit être pleine lors du test). Si la tension est trop serrée, le fil se déroule très difficilement ou pas du tout. Si la tension est trop faible, le fil se déroule trop vite. Pour ajuster, tourner la vis sur le côte du boitier. (1)
Tension du fil supérieur
Position de reférence de la tension du fil: "4" (2)
Il faut que la tension des fils soit équilibrée correctement. S'il s'avère nécessaire de la modifier, ce réglage s'effectue normalement en changeant la tension du fil supérieur. Pour le point zigzag, la tension correcte est que le fil supérieur apparaissé légèrement sur l'envers du tissu.
A. Tension normale
B. Tension du fil supérieur trop l'âche
C. Tension du fil supérieur trop serrée

1

2

Remonter le fil inférieur
Lever la barre du pied presseur. Tener le fil supérieur de la main gauche et avec la main droite, tourner le volant vers vous jusqu'à ce que l'aiguille descendé et remonte à son plus haut point. (1)
- Tirer légèrement le fil supérieur pour que la boucle formée par le fil inférieur apparaissé à la surface de la plaque à aiguille. Sortir la boucle de la plaque à aiguille à la main.
- Passer les deux fils sous le pied-de-biche et les faire dépasser de 10cm (3") environ vers l'arrière.


E Coser hacía antes
La marche arrière est utilisée comme point d'arrêt au début et à la fin d'une couture ou lorsqu'un renforcement est nécessaire. Pour renforcer le début d'une couture, abaiser l'aiguille dans le tissu à environ 1cm (1/2") du point de départ et abaiser le pied presseur. Appuyer sur le levier de marche arrrière et le tener abaisé tout en cousant en marche arrrière. Relâcher le levier et coudre la couture. À la fin de la couture, tener à nouveau le levier en marche arrière pour environ 1cm (1/2").
Pour modifier le sens de la couture
- Arrête la machine à l'endroit souhaïte pour le changement de direction, en laissant l'aiguille piqué dans le tissu.
- Relever le pied-de-biche et faire pivoter le tissu autour de l'axe formé par l'aiguille, pour l'orienter dans la nouvelle direction. (4)
- Abaisser le pied-de-biche et commencer à coudre dans le nouveau sens.

1

2

Como SACAR la labor de laquina
Retrait de l'ouvrage
Amerer le levier releveur de fil à sa position la plus haute en tournant le volant vers vous. Soulever le pied-de-biche. Tirer la partie de l'ouvrage se trouvant sous le pied-de-biche vers l'arrière, puis couper les fils. (2)
Couper les fils
Pour couper les fils, tener des deux mains les fils derrière le pied-de-biche, les glisser dans la fente (B) et les tirer vers le bas.
Vous pouvez également utiliser le coupe-fil situé sur le côté gauche de la machine. (3)
NEEDLE, FABRIC, THREAD SELECTION GUIDE
F Tableau des aiguilles et fils
NEEDLE, FABRIC, THREAD SELECTION GUIDE
| GROSSEUR DE LAIGUILLE | TISSUS | FILS |
| 9-11(65-75) | Tissus Légers: Coton léger, voile, serge, mousseline, tricot de coton, jersey, crépes, polyester, tissu pour blouse ou chemise. | Fil de cotton, fil de soie, fil de nylon ou fil synthétique. |
| 12(80) | Tissus moyens: Coton moyen, satin, toile, tricot double, lainage léger. | Les fils vendus en magasin convennent à tous ces tissus et grosseurs d'iguilles. Utiliser le fil synthétique pour les tissus synthétique et le fil de cotton pour les tissus en fibre naturelle. Assurez-vous d'avoir le même fil sur le dessus et dans la canette. |
| 14(90) | Tissus moyens à épais: Coton épais, lainages, tricot épais, ratine, denim, velours côtelez. | |
| 16(100) | Tissus épais: canevas, lainage épais, toile de tente, tissu piqué, denim, tissu à recouvrement (léger à moyen). | |
| 18(110) | Tissus épais: Lainages à manteau, tissu pour vêtements d'extérieur, certains cuir et vinyle. | Fil fort, fil à denim. (Augmenter la pression sur le pied presseur). |
IMPORTANT: Assurez-vous que la grosseur de l'aiguille convienne à l'épaissur du tissu à coudre
SELECTION DE L'AIGUILLE PAR RAPPORT AU TISSU
| AIGUILLES | AIGUILLES | GENRE DE TISSUS |
| HA×1 15×1 | Aiguilles régulières et universelles. Grosseurs disponibles de 9 (65) à 18 (110). | Tissu en fibre naturelle: coton, lainage, soie. Non recommendé pour tricot-double. |
| 15×1/705H (SUK) | Aiguilles à demi-bille. Grosseurs disponibles 9 (65) à 18 (110). | Pour fibre naturelle et synthétique ou un mélange des deux fibres: étoffe tissé, tricot, interlock etc. |
| 15×1/705HS (SUK) | Aiguilles à bille entière. Grosseurs disponibles 9 (65) à 18 (110). | Trico à chandelier, lycra, tissu pour costume de bain, élastique. |
| 15×1/705HJ | Aiguilles robustes à pointe universelle, 14 (90) à 18 (110). | Denim, canevas, tissu à recouvrement, toile. |
| 130 PCL | Aiguilles avec pointe en forme d'angle acéré, 12 (80) à 18 (110). | Cuir, vinyle, plastiqueSouple. |
Remarque:
- Les aiguilles jumelles peuvent etre achetées dans un but utilise ou decoratif.
- Quand you cousez avec les aiguilles jumelles, le bouton de largeur de point doit etre au moins sur le chiffre "3".
- Les aiguilles européennes sont numérotiées 65, 70, 80 etc. Les aiguilles americaires et japonaises sont numérotiées 9, 11, 12 etc.
- Changer souvenir les aiguilles (apres le couture d'un vetelement) et / ou à la première rupture du fil ou des points.



Sélection des points
Points droits sélectionné le bouton de sélection de point (5) et tournez-le jusqu'au symbole souhaïte ou jusqu'à ce que lalette apparaissée dans la fenêtre "A" (4).Réglage de la position de l'aiguille à gauche ou à droite en tournant le bouton de sélection de largeur de point. Regler la longueur des points avec le bouton de sélection de point (3).
Points zigzag Sélectionnez le bouton de sélection de point (5) et tournez-le jusqu'au symbole souhaité ou jusqu'à ce que la lettuce apparaisse dans la fenêtre "B" (4). Régler la longueur et la largeur des points selon le tissu utilisé.
Autres points de la première ligne tournez le bouton de sélection de point jusqu'au symbole souhaïte ou jusqu'à ce que la lecture apparaissé dans la fenêtre. Régler la longueur et la largeur des points selon vos besoins.
Autres points de la deuxième ligne tournez le bouton de sélection de point jusqu'au symbole souhaïte ou jusqu'à ce que la dette apparaisse dans la fenêtre. Positionné le bouton de longueur de point sur "S1". Régler la largeur des points selon vos besoin.
- Levier de marche arrière
- Bouton pour la largeur du point
- Bouton pour la longueur du point
- Affichage du point
- Selecteur de point



Couture au point droit et position d'aiguille
Tourner le bouton de selection jusqu'à ce que le point droit apparaissé dans la fenêtre d'affichage du point.
Ajuster la longueur du point selon le tissu à coudre, en tournant le bouton de longueur de point.
Suivre la règle suivante: plus le tissu est lourd, plus l'aiguille doit être grosse et plus le point doit être long.
Choisissez votre position d'aiguille, de la position d'aiguille centre, à la position de gauche en réglant la largeur du point du "0" à "5".
- Levier de marche arrête
- Bouton pour la largeur du point
- Bouton pour la longueur du point
- Affichage du point
- Selecteur de point


E Zigzag
Points zigzag Sélectionnez le bouton de sélection de point et tournez-le jusqu'au symbole souhaïte ou jusqu'à ce que la dette apparaisse dans la fenêtre "B".
Fonction de la largeur du point lors de la couture
La largeur maximum du zigzag est "5". Cependant, cette largeur peut être réduite ou augmentée en tournant le bouton de "0" à "5". Aiguilles jumelées: ne jamais dépasser la largeur "3". (1)
Fonction de la longueur du point lors de la couture
La densité du point augmente lorsqu'le réglage du bouton de longueur de point approche du "0". (2). Pour un point zig-zag efficace, la longueur de point la longueur de point devrait être à "2.5" ou moins.
Point satin
Lorsque le bouton de longueur de point estitué entre "0" - "1", les points sont très serrés produit ainsi le point satin. Ce réglage est utilisé pour la boutonneire, les points décoratifs et les appliqués.
Tissus fins
Lorsque le tissu à coudre est très fin, placer une mince feuille de papier sous le tissu pour le coudre. Il est facile de déchirer et d'enlever le papier une fois la couture terminée.

a

b

C

d


Costura invisible/ Punto de lenceria
Ourlet au point invisible
- Le pied pour ourlet invisible est un accessoire optionnel qui n'est pas fourni avec votre machine.
Pour ourlets, ridesaux, pantalons, jupes etc.
Ourlet au point invisible pour tissus elastiques.
Ourlet au point invisible/ point de lingerie pour tissus stables.
Régler la machine comme indiqué sur le schéma.
Attention:
La réalisation d'un ourlet au point invisible requiert un peu d'exercice. Le mieux est donc de tousjours faire un échantillon d'essay.
Plier l'ouvrage comme indiqué sur le schéma-l'envers se trouvant en haut. (1)
Placer l'ouvrage sous le pied-de-biche. Tourner le volant vers l'avant jusqu'à la position extréme gauche de l'aiguille.
Celle-ci ne doit piquer que sur le bord du pli. Si ce n'est pas le cas, rectifier la largeur de tissu. (2)
Poser le guide (3) sur le pli du tissu en tournant le bouton. (4) Piquer lentement et guider soigneusement l'ouvrage afin que la position de ce dernier par rapport au guide ne se trouve trouve àaucun moment modifiée.
a. Largeur du point
b. Longueur du point
c. Pied-de-biche
d. Modèle de point





A

B

E Puntos overlock
- Le pied à overlock est un accessoire optionnel qui n'est pas fourni avec votre machine.
Coutures, plusage et surfilage des bords, ourlet visible.
Placer sur position "S1" le bouton pour la longueur de point.
La largeur du point peut etre adaptee au tissu.
Point overlock:
Pour étoffes à fines mailles, tricots, encolures, cordures. (A)
Pour ouvrages tricotés fins, éléments tricotés à la main, coutures. (B)
Tous les points overlock peuvent être utilisés pour le piquage et le surfilage des bords en une seule opération. Suivant l'effet recherché, on peut surfiler directement le bord coupé ou piquer au ras celui-ci.
Attention:
Utiliser une nouvelle aiguille ou une aiguille à pointe sphérique!






2

3
E Coser botones
Instalar la zurcida plancha (1).
Placer la plaque de reprisage selon l'illustration (1).
Positionner l'ouvrage du dessous du pied. Poser les boutons à la position marquee, abaisser le pied, régler la largeur du point à "0" et coudre quelques points de sécurité. Régler la largeur du point. Tourner le volant pour vérifier que l'aiguille va parfaitement dans le trou à gauche du bouton (regler la largeur du point selon le bouton), et coudre sur le bouton. Régler la largeur du point à "0" et coudre quelques points de sécurité.
Si un tige est demandé, poser une aiguille à reprise sur le bouton et coudre. (3) Pour les boutons à 4 troughs, coudre d'abord en passant par les 2 troughs en avant (2), pousser l'ouvrage en avant et puis coudre en passant par les 2 troughs derrière comme montré. (3)





E Coser ojales
Preparar
F Faire les boutonnieres
Preparation:
Poser le pied pour boutonnières.
Régler la longueur du point entre "0.5" - "1". La densité du point dépend de l'épaissieur du tissu.
Note: Toujours faire une boutonnere d'essai.
Mesurer le diamètre du bouton et ajouter 0.3cm pour la bride.
Si vous avez un bouton épais, il faut ajouter à la longueur.
Marquer la position et la longueur de la boutonniere sur le tisu.
Placer le tissu afin que l'aiguille soit au bout de la marque le plus éloigné de vous.
Tirer le pied à boutonnière vers vous jusqu'à bout et abaiser le pied.
a. Tourner le sélecteur de point à [ ] . Coudre à vitesse modérée jusqu'au bout de la marque.
b. Tourner le sélecteur de point à et coudre 5-6 points d'arrêt.
c. Tourner le sélecteur de point à et coudre le côté gauche de la boutonnière jusqu'au point de départ.
d. Tourner le sélecteur de point à [ ] et coudre les points d'arrêt.
Pour nouer les fils,mettre le selecteur de point à "B" (largeur de point à "0") et coudre quelques points.
Suggestions:
- Pour deromeurs résultats, réduire légèrement la tension du fil supérieur.
- Utiliser une feuille de papier pour éviter les distorsions sur les tissus très fins ou synthétiques.
- Pour les tissus extensibles ou les tricots, il est préféable d'utiliser un cordonnet. Le point doit couvir complètement le cordonnet. (e)






1

F Pose d'une fermeture à glissière
Régler la machine comme indiqué sur le schéma.
Régler la longueur de point entre "1" et "4" selon l'épaisseur du tissu.
Le pied pour fermeture à glissière peut être fixer du côté gauche ou du côté droit dépendant quel côté du fervoir à glissière vous désirez coudre. (1)
Pour éviter de dévier lorsque vous arrivès pres du curseur, laisser l'aiguille piqué dans le tissu. Lever le pied-de-biche, puis pousser le curseur derrière le pied-de-biche. Abaisser ce dernier puis continuer à coudre.
Il est également possible d'utiliser le pied pour fermeture à glissière pour coudre un cordonnet ou passé-poil. (2)





1

2
F Coudre avec le pied ourleur
- Le pied ourleur est un accessoire optionnel qui n'est pas fourni avec votre machine.
Pour ourler les tissus fins et légers.
Régler la machine comme indiqué sur le schéma.
Le tissu à ourler doit être coupé droit au préalable.
Replier l'extrème bord du tissu en formant un double pli d'env. 3mm et le maintainir par 4 ou 5 points. Tirer légèrement les fils d'aiguille et de canette vers l'arrière, piquer l'aiguille dans le tissu. Relever le pied-de-biche. Guider le bord vif du tissu pour qu'il s'engage dans le cornet de l'ourleur. (1)
Continuer de piquer en veillant à ce que le tissu penètre uniformément dans le cornet de l'ourleur. (2)





1

3

4
GB 3-step zig-zag
Pose d'élastique et de dentelle, ravaudage, recommodage de dechirures, renforcement de bords.
Régler la machine comme indiqué sur le schéma.
Poser le morceau d'etoffe sur le tissu endommagé. (1)
Pour le raccommodage de déchirures, il est conseilé de placer un tissu de renforcement sur l'envers. Commencer par coudre sur le milieu, puis coudre sur les deux côtes. Selon le genre de tissu et la nature des dommages, faire 3 à 5 passages. (2)
Couture d'elastiques
- Placer l'élastique sur le tissu.
- A mesure que l'on coud, tendre l'élastique de part et d'autre du pied-de-biche (voir fig. 3).
Assemblage de tissus
Le point élastique peut servir à assembler deux morceaux de tissu. Il s'avéré particulièrement efficace pour la couture de tricots. Avec du fil nylon, la couture sera invisible.
- Placer bord à bord les deux pieces de tissu et les centrer sous le pied-de-biche.
- Les assembler avec le point élastique, en prénant bien soin de garder les deux pieces bord à bord comme le montre la fig. (4).

F Sélection des points
Triple point droit: (1)
Pour coutures à toute épréuve.
Placer sur position "S1" le bouton pour longueur de point.
La machine effectue deux points en avant et un point en arrêté ce qui permet d'obtenir une couture a triple renfort.
Point zigzag triple: (2)
Pour coutures à toute épréuve, ourlets et coutures décoratives.
Placer sur position "S1" le bouton pour longueur de point.
Placer le bouton pour largeur de point entre les positions "3" - "5".
Le triple point zigzag convient pour les tissus résistants tels que jeans, velours côtélé, etc.





1

2
F Point nid d'abeille
Coutures, ourlets, T-shirts, sous-vêtements, etc.
Régler la machine comme indiqué sur le schéma.
Ce point peut être utilise: pour différents types de jersey (tricot) ainsi que pour les étoffes tissées. (1)
Coudre l'ourlet à env. 1 cm du bord coupé, puis couper le surplus de tissu. (2)
Placer sur position "S1" le bouton pour longueur de point.





1

2
F Coudre avec le pied pour cordonnet
- Le pied pour cordonnet est un accessoire optionnel qui n'est pas fourni avec votre machine.
Décorations, coussins, nappes etc.
Régler la machine comme indiqué sur le schéma. On peut utiliser divers points tels le zigzag, le triple zigzag, points décoratifs, etc.
Faire passer les fils dans le ressort de guidage puis les disposer vers l'arrière, sous le pied-de-biche. Veiller à ce que les fils se trouvent dans les rainures (tenir compte de l'épaissur du cordonnet). Le pied pour cordonnet permet de coudre un, deux ou trois fils. La largeur de point varie en fonction du nombre de fils et du point choisi. (1/2)






2

3
F Reprise à main libre
- Le pied à reprimer est un accessoire optionnel qui n'est pas fourni avec votre machine.
Régler la machine comme indiqué sur le schéma. Installer la plaque à repriseage. (1)
Retirer le support de pied-de-biche. (2)
Fixer le pied à reprimer à la barre. Le levier (A) doit se couver derrière, au dessus de la vis de fixation de l'aiguille (B). Avec l'index, appuyer fermement par l'arrière sur le pied à reprimer, puis serrer la vis (C). (3)
Commencer par coudre tout autour du trou (pour empêcher les mailles de filer). (4)
Première rangée Travailler toujours de gauche à droite.
Tourner l'ouvrage d'un quart et finir la reprise.
Pour obtenir un excellent résultat, nous conseillons d'utiliser un tambour à reprimer.





1

2
3

Puntos útiles
Regular laquina segun la ilustracion.
Régler la machine comme indiqué sur le schéma.
La largeur et la longueur des points peuvent être adaptées à la nature des tissus.
Point coquille pour ourlets (1)
Affichage du point à "F".
Pour renforcements decoratifs de bords.
Convient pour cordures de matériaux minces, stables ou élastiques. Le grand point devrait déborder très légarement du tissu, pour donner cet effet de coquille.
- La tension du fil doit être légèrement supérieure à la normale.
- Coudre le tissu sur le biais après l'avoir placé sous le pied-de-biche de sorte que la machine puisse coudre des points droits sur la ligne de couture et des points zigzag légèrement au-dessus du bord replié.
- Coudre lentement.
Point rempart (2)
Affichage du point à "G".
Pour coutures de raccords plates, coutures de bandes élastiques, ourlets visibles.
Ce point permet de travailler sur divers tissus stables et à mailles.
Point de relais (3)
Affichage du point à "H".
Coutures très décoratives avec effet d'ourlet à jours.
Réalisation des rangiées avec du fil normal ou du fil elastique.





E Zurcido
- Régler la longueur du point selon la longueur désirée.
- Placer le sélecteur de points à la couture droite, position d'aiguille au centre.
- Faufiler une piece de renfort sous la section à reprimer et placer le tissu sous le pied-de-biche.
- Abaisser le pied-de-biche et coudre alternatively en marche avant et en marche arrêté en vous servant du levier de marche arrêté.
- Répéter ce mouvement jusqu'à ce que toue la surface à reprimer soit couverte.
Pour les instructions de marche arrière. Voir P. 18.





E ComoPEGAR encajes
- Régler le bouton de longueur de point selon la longueur désirée.
- Placer le sélecteur de point à la couture droite, position d'aiguille au centre.
- Plier le bord non fini de l'ouvrage environ 6mm (1/4").
- Placer la dentelle sous le bord relié de façon à ce que le dessus chevauche légèrement le dessous tout en suivant le patron de la dentelle.
- Coudre pres du bord replie.
- Vous pouvez ajouter une touche de fantaisie en utilisant un point satin à la place du point droit.






E Aplicación
- Régler le bouton de longueur de point selon la longueur désirée.
- Placer le sélecteur de point à un point de zigzag étroit.
- Découper l'appliqué et le fauiler au vêtement.
- Coudre lentement près du bord extérieur de l'appliqué.
- Recouper tout excédent de tissu en prénant soin de ne couper aucun des points cousus.
- Retirer le faufil.
- Tirer le fil à l'envers du tissu et attacher ensemble.




GB Twin needle
F Couture à deux aiguilles
- Regler le bouton de longueur depuis à la longueur désirée.
- Placer le sélecteur de point à la couture droite, position centre.
Vérifiez que la largeur de point est réglée sur "0".
- Assurez-vous que les deux fils utilisés soient de même grosseur. Vous pouvez utiliser deux fils de même couleur ou de couleurs différentes.
- Retirer l'aiguille simple et installer l'aiguille double de la meme façon que I'aiguille simple. Le cote plat de I'aiguille doit toujours etre vers I'arriere de la machine.
- Enfiler la machine selon la procédure normale d'enfilage jusqu'à l'aiguille. Séparer les fils et assurez-vous que le fil venant de la bobine de croite entre dans l'aiguille de croite et que le fil venant de la bobine de gauche entre dans l'aiguille de gauche.
Attention:
Pour bien coudre avec des aiguilles jumelées, prenez votre temps et assurez vous que la vitesse de couture est réduite, afin d'obtenir des points d'aspect irréprochable.
Pour coudre un zig-zag avec des aiguille double, assurez vous que le sélecteur de largeur de points est positionné entre "0" et "3". Ne couse pas avec des aiguilles jumeles si la largeur de points excède "3".




1

2
E
Monogramme et broderie à main libre*
- Régler la machine tel que démontré ci-dessus.
- Enlever le pied-de-biche et le portepied.
- Placer la plaque de reprisage selon l'illustration (1).
- Abaisser le levier du pied presseur avant de commencer à coudre.
- Ajuster la largeur du zigzag selon la grandeur du monogramme ou du motif à broder.
Préparation pour le monogramme et la broderie à main libre*
- Dessiner le monogramme ou le motif sur l'endetroit du tissu.
- Placer le tissu dans un cerceau à broder et le tendre le plus fermement possible.
- Placer le tissu sous l'aiguille. Assurez-vous que la barre dupied presseur est à sa position la plus)basse.
- En tournant le volant vers vous, faire passer le fil de la canette à travers le tissu et ressoirir sur l'endetroit du tissu. Coudre quelques points d'arrêt au point de départ.
- Retenir le cerceau avec le pouce et l'index des deux mains, tout en pressant le tissu avec les doigts du milieu alors que l'auriculaire soutient le bord extérieur du cerceau.
- Le cerceau à broder n'est pas inclus avec les accessoires de la machine.







Para acolchar
Coudre avec le guide
- Le pied pour quilt est un accessoire optionnel qui n'est pas vendu avec cette machine.
Régler la machine comme indiqué.
Selectionner le point "A".
Position de l'aiguille au milieu.
Longueur de point: selon le tissu.
Insérer le guide dans le ressort du pied et fixer dans la largeur désirée.
Coudre des lignes parallètes en s'aidant du guide.





E Para fruncir
- Le pied fronceur est un accessoire optionnel qui n'est pas vendu avec cette machine.
Régler la machine comme indiqué.
Selectionner le point "A".
Position de l'aiguille au milieu.
Longueur de point: selon le tissu.
- Coudre une ou plusieurs lignes de points droits.
- Relâcher la tension du fil supérieur (env. position 2) pour faciliter le fronçage.
- Tirer le fil inférieur et froncer.





1

2
E Puntada festón
Cette machine cree automatique un point de feston qui peut servir a realiser des lisieres decoratives (a picots).
- Tourner le bouton selection des points à "K".
- Effectuer le point de feston le long de la lisière du tissu. (1)
- Si on le souhaite, découvert autour des coquilles à l'aide d'une paire de ciseaux pour festonner le tissu. Faire attention cependant de ne pas couper le fil. (2)






Patch work
Ces points sont destinés à unir deux pieces de tissu tout en laissant un espace libre entre les deux rebords.
- Pliez les rebords pour former un ourlet et bâtissez les bords sur une fine feuille de papier en laissant un petit espace libre entre les deux.
- Placez la selection de motif sur "G".
Placer sur position "S1" le bouton pour longueur de point.
- Cousez le long du rebord en tirant les deux fils de côté au début de la couture. Utilisez un fil plus écais que les fils standards habituels.
- Elimínez les surfils et le papier après la couture. Nouez les fils (début et fin de couture) sur l'envers pour arrêter.

1
2



Manutencion de laquina
Atencion:
Toujours débrancher la machine etmettre l'interrupteur principal en position "O"pendant toute l'opération de nettoyage.
Retirer la plaque a aiguille:
Tournier le volant jusqu'à ce que l'aiguille soit à sa plus haute position. Ouvrir le couvercle de la coursière et dévisser les vis de fixation avec le tourne-vis fourni dans la boîte d'accessoire. (1)
Nettoyage des griffes d'entrainement:
Retirer la boîte à canette et nettoyer à fond à l'aide du pinceau. (2)
Nettoyage et huilage du crochet:
Retirer la boîte à canette. Tourner les deux leviers de fixation (a) du crochet vers l'extérieur. Enlever l'anneau de fixation de la coursière (b) et le crochet (c) et les nettoyer avec un tissu doux et sec. Mettre 1 ou 2 gouttes d'huile pour machine à coudre dans la coursière (d). Tourner le volant jusqu'à ce que la coursière du crochet (e) soit à gauche. Replacer le crochet (c) et l'anneau de fixation (a). Tourner les deux leviers vers le centre du crochet et assurez-vous que les leviers accroche bien sur les goujons. Remettre en place la boîte à canette et la plaque à aiguille.
Important: La poussière et les déchets de fils doivent être nettoyés de façon régulière. Une révision complète de la machine devrait aussi être effectuee par un technicien à un intervalle régulier.
| Problem | Cause | Correction |
| Upper thread breaks | 1. The machine is not threaded correctly2. The thread tension is too tight3. The thread is too thick for the needle4. The needle is not inserted correctly5. The thread is round wound the spool holder pin6. The needle is damaged | 1. Rethread the machine2. Reduce the thread tension (lower number)3. Select a larger needle4. Remove and reinsert the needle (flat side towards the back)5. Remove the reel and wind thread onto reel6. Replace the needle |
| Lower thread breaks | 1. The bobbin case is not inserted correctly2. The bobbin case is threaded wrongly3. The lower thread tension is too tight | 1. Remove and reinsert the bobbin case and pull on the thread. The thread should pull easily2. Check both bobbin and bobbin case3. Loosen lower thread tension as described |
| Skipped stitches | 1. The needle is not inserted correctly2. The needle is damaged3. The wrong size needle has been used4. The foot is not attached correctly | 1. Remove and reinsert needle (flat side towards the back)2. Insert a new needle3. Choose a needle to suit the thread and fabric4. Check and attach correctly |
| Needle breaks | 1. The needle is damaged2. The needle is not correctly inserted3. Wrong needle size for the fabric4. The wrong foot is attached | 1. Insert a new needle2. Insert the needle correctly (flat side towards the back)3. Choose a needle to suit the thread and fabric4. Select the correct foot |
| Loose stitches | 1. The machine is not correctly threaded2. The bobbin case is not correctly threaded3. Needle/ fabric/ thread combination is wrong4. Thread tension wrong | 1. Check the threading2. Thread the bobbin case as illustrated3. The needle size must suit the fabric and thread4. Correct the thread tension |
| Seams gather or pucker | 1. The needle is too thick for the fabric2. The stitch length is wrongly adjusted3. The thread tension is too tight | 1. Select a finer needle2. Readjust the stitch length3. Loosen the thread tension |
| Uneven stitches, uneven feed | 1. Poor quality thread2. The bobbin case is wrongly threaded3. Fabric has been pulled | 1. Select a better quality thread2. Remove bobbin case and retread and insert correctly3. Do not pull on the fabric while sewing, let it be taken up by the machine |
| The machine is noisy | 1. The machine must be lubricated2. Fluff or oil have collected on the hook or needle bar3. Poor quality oil has been used4. The needle is damaged | 1. Lubricate as described2. Clean the hook and feed dog as described3. Only use good quality sewing machine oil4. Replace the needle |
| The machine jams | Thread is caught in the hook | Remove the upper thread and bobbin case, turn the handwheel backwards and forwards by hand and remove the thread remnants. Lubricate as described. |
| Problema | Cause | Corrección |
| El hiló superior se rompe | 1. Laística está mal enhebrada2. La tension del hiló es demasiado fuerte3. El hiló es demsiado grueso para la agua4. La agua no está colocada correctamente5. El hiló se ha enredado en el portobobinas6. La agua está torcida o descentpuntada | 1. Enhebrar laística correctamente2. Disminuir la tension del hiló superior (número menor)3. Usar una agua más gruesa4. Colocar la agua correctamente (elazo plano fácilas)5. SACar la bobina y devanar el hilo6. Cambiar la agua |
| El hoil inferior se rompe | 1. El porta-canillas no está bien montado2. El porta-canillas no está bien enhebrado3. La tensión del hiló inferior es demasiado fuerte | 1. Montar nuevomente el porta-canillas y tirar del hiló. Este tiene que desenrollarse fácilmente2. Controlar la canilla y el porta-canillas3. Corregir la tensión del hiló inferior conforme las instrucciones |
| Falta de punto | 1. La agua no está colocada correctamente2. La agua está torcida o descentpuntada3. Se ha montado una agua errada4. Se ha montado un pie errado | 1. Colocar la agua correctamente (elazo plano fácilas)2. Cambiar la agua3. Adaptar la agua al tejido y al hilo4. Controlar si se ha montado el pie adecuado |
| La agua se rompe | 1. La agua está torcida o descentpuntada2. La agua no está colocada correctamente3. Ropa demasiado gruesa / grosor incorrecto de la agua4. Se ha montado un pie errado | 1. Cambiar la agua2. Colocar la agua correctamente (elazo plano fácilas)3. Adaptar la agua al tejido y al hilo4. Usar el pie correcto |
| Durante la costura se forman lazos | 1. Laística está mal enhebrada2. El porta-canillas está mal enhebrado3. La relacion aguja / ropa / hilo no es correcta4. La tensión del hiló no es correcta | 1. Enhebrar laística correctamente2. Enhebrar el porta-canillas conforme las instrucciones3. El grosor de la agua Tiene que coincidir con el hiló y la ropa4. Corregir la tensión del hiló |
| La costura se encoge, la tela se frunce | 1. La agua es demasiado gruesa para el tejido2. Ellarge de laGMTada está mal regulado3. La tensión del hiló es demasiado fuerte | 1. Usar una agua más Fiona2. Regularcorrectamente ellarge de laGMTada3. Controlar la tensión delhiló |
| Los+puntos y el transporte de la ropa son irregulares | 1. Elhilo es demasiado débil2. El porta-canillas no está bien enhebrado3. Se ha tirado de la tela durante lacostura | 1. Usar un hilo de mayor calidad2. Enhebrar de nuevo el porta-canillas y colocarlo correctamente3. No tirar de la ropa.Esta viene transporte automática |
| Laística hace ruidocose duramente | 1. Hay que lubricar laística2. Pelusa y trazos de aceite se han pegado en la lanzadora o en la barra prensatelas | 1. Lubrificar laística según las instrucciones2. Limpiar la lanzadora y eltransportadorconformeclas instrucciones |

Comment liéier soi-même aux petits problèmes
| Problème | Cause | Remède |
| Le fil supérieur casse | 1. L'enfilage du fil est incorrect2. La tension du fil est trop fort3. Le fil est trop écais pour l'aiguille4. L'aiguille n'est pas insérée correctement5. Le fil s'est entortillé sur la broche de la bobine6. L'aiguille est endommagée | 1. Enfilier à nouveau le fil à travers la machine et l'aiguille2. RÉduire la tension du fil supérieur (chiffre inférieur)3. Utiliser une aiguille plus grosso4. Enlever l'aiguille, puis la remette en place (talon dirigé vers l'arrière)5. Retirer la bobine et bobiner le fil6. Remplacer l'aiguille |
| Le fil inférieur casse | 1. La boîte à canette n'est pas placée correctement2. La boîte à canette n'est pas enfillée correctement3. La tension du fil est trop forts | 1. Enlever la navette, puis la remette en place et tirer sur le fil. Si le fil se déroule facilement, la navette est bien en place.2. Contrôler la canette et la navette3. Rectifier la tension du fil inférieur de la manière prescrite |
| Les points ne se forment pas toujours | 1. L'aiguille n'est pas insérée correctement2. L'aiguille est tordue ou épointée3. L'aiguille n'a pas la classe ou la grosseur correcte4. Le pied-de-biche ne convient pas | 1. Enlever l'aiguille puis la remette en place (talon dirigé vers l'arrière)2. Remplacer l'aiguille3. Choisir une aiguille dont la grosseur est adaptée au fil et à l'étoffe4. Vérifier si le pied-de-biche utilisé pour l'ouvrage |
| L'aiguille casse | 1. L'aiguille est tordue ou épointée2. La boîte à canette n'est pas enfillée correctement3. Tissu trop écais/ grosseur incorrecte de l'aiguille4. Le pied-de-biche ne convient pas | 1. Remplacer l'aiguille2. Enlever l'aiguille, puis la remette en place (talon dirigé vers l'arrière)3. Choisir une aiguille dont la grosseur est adaptée au fil et au tissu4. Changer le pied-de-biche |
| Des noëuds se forment au cours du travail | 1. Le fil n'est pas enfilé correctement2. La boîte à canette n'est pas enfillée correctement3. Le rapport aiguille/ tissu/ fil est incorrect4. Le fil n'est pas tendu correctement | 1. Enfilier correctement le fil dans la machine2. Enfilier la navette de la manière prescrite3. Choisir une aiguille dont la grosseur est adaptée au fil et à l'étoffe4. Rectifier la tension du fil |
| Les coutures se rétractent ou se froncent | 1. L'aiguille est trop grossse pour le tissu2. La tension du fil est trop forté | 1. Utiliser une aiguille plus fine2. Rectifier la tension du fil |
| Les points et l'entrainment sont irréguliers | 1. Le fil n'est pas assez solide2. La boîte à canette n'est pas enfillée correctement3. Le tissu est tiré lors du piquage | 1. Utiliser un fil de meilleur qualité2. Enfilier à nouveau la boîte à canette, puis la remetre en place3. Ne pas tirer le tissu lors de la couture. Celui-ci doit être entrainé automatiquement. |
| La machine est bruyante | 1. La machine doit être lubrifiée2. Préstance de bourre ou de trace d'huile sur le cro-chet ou sur la barre d'aiguille3. L'huilage a été effectué avec une huile de mauvaise qualité4. L'aiguille est tordue ou épointée | 1. Huiler la machine en suivant les instructions2. Nettoyer le crochet et la griffe d'entrainment en suivant les instructions3. Pour le huilage, utiliser exclusivement une hujie spéciale pour machine à coudre4. Remplacer l'aiguille |
| La machine est bloquée | Le fil est coincé dans le crochet | Enlever le fil supérieur et la navette, tourner le volant par secousses à la main en avant et en arrêtre. Enlever les restes de fil. Huiler selon les instructions. |
Notice Facile