ABF 14 R - Brûleur ARIANE - Notice d'utilisation et mode d'emploi gratuit
Retrouvez gratuitement la notice de l'appareil ABF 14 R ARIANE au format PDF.
| Type d'appareil | Brûleur de chauffage |
| Combustible | Mazout |
| Puissance thermique | Non précisé |
| Tension d'alimentation | Non précisé |
| Fréquence | Non précisé |
| Consommation de carburant | Non précisé |
| Type de flamme | Non précisé |
| Pression d'alimentation | Non précisé |
| Dimensions | Non précisé |
| Poids | Non précisé |
| Normes | CE |
| Utilisation | Chauffage domestique ou industriel |
| Type de montage | Non précisé |
| Contrôle de la flamme | Non précisé |
| Type de moteur | Non précisé |
| Garantie | Non précisé |
FOIRE AUX QUESTIONS - ABF 14 R ARIANE
Téléchargez la notice de votre Brûleur au format PDF gratuitement ! Retrouvez votre notice ABF 14 R - ARIANE et reprennez votre appareil électronique en main. Sur cette page sont publiés tous les documents nécessaires à l'utilisation de votre appareil ABF 14 R de la marque ARIANE.
MODE D'EMPLOI ABF 14 R ARIANE
Les données sont refereers aux installation sans étranglements et ayantes une tenue hydraulique parfaite. On conseille l'utilisation de tuyaux en cuivre. Ne pas dépasser la depression max. de 0,4 bar (30 cm Hg).
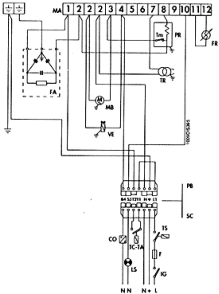
COLLEGAMENTI ELETTRICIRACCORDEMENTS ELECTRIQUES

| F | Fusibile | Fusible |
| FA | Filtro antidisturbo | Filtre antiparasite |
| FR | Fotoresistenza | Photoresiatance |
| IG | Interruttore generale | Intérupteur général |
| LS | Lampada sicurezza (eventuale) | Lampe de sécurité (eventuelle) |
| MA | Morsettiera apparecchiatura LANDIS LOA 21-24 | Bornier du coffret LANDIS LOA 21-24 |
| MB | Motore bruciatore | Moteur brûleur |
| MC | Morsettiera collegamenti | Bornier connexion |
| PR | Preriscaldatore | Préchauffeur |
| TC | Termostato caldaia | Thermostat chaudière |
| Tm | Termostato di minima | Thermostat minimum |
| TR | Trasformatore | Transformateur |
| TS | Termostato sicurezza | Thermostat sécurité |
| VE | Valvola elettromagnetica | Electrovanne |
9 TABELLA SCELTA GICLEUR TABLEAU CHOIX GICLEUR
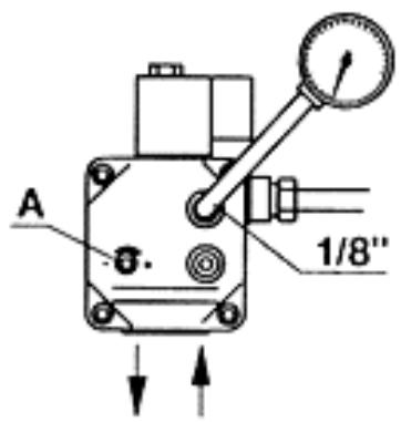
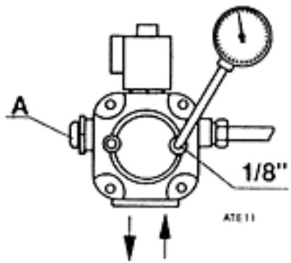
REGOLAZIONEPRES.POMPA Régul.PRESSIONPOMPE

SUNTEC

DANFOSS

DELTA
La pressione e regolata in fabbrica a 12 bar. Per variare la pressione (min...max) agire sulla vite A
La pressiion est reglee par le constructeur a 12 bar. Pour la varier (min...max) agir sur la vis A.
| UGELLO GICLEUR | PORTATA kg/h DEBIT kg/h | ||||
| USgal/h | 7 bar kg/h | 8 bar kg/h | 10 bar kg/h | 12 bar kg/h | 14 bar kg/h |
| 0,40 | 1,22 | 1,30 | 1,46 | 1,59 | 1,72 |
| 0,45 | 1,38 | 1,48 | 1,66 | 1,81 | 1,96 |
| 0,50 | 1,56 | 1,67 | 1,87 | 2,04 | 2,21 |
| 0,55 | 1,76 | 1,88 | 2,11 | 2,31 | 2,49 |
| 0,60 | 1,98 | 2,11 | 2,37 | 2,59 | 2,80 |
| 0,65 | 2,23 | 2,38 | 2,67 | 2,92 | 3,15 |
| 0,75 | 2,45 | 2,62 | 2,94 | 3,22 | 3,47 |
| 0,85 | 2,76 | 2,96 | 3,31 | 3,62 | 3,91 |
| 1,00 | 3,11 | 3,32 | 3,72 | 4,07 | 4,40 |
| 1,10 | 3,54 | 3,79 | 4,24 | 4,64 | 5,01 |
| 1,20 | 3,72 | 3,98 | 4,45 | 4,87 | 5,26 |
| 1,25 | 3,94 | 4,21 | 4,71 | 5,15 | 5,57 |
| 1,35 | 4,32 | 4,62 | 5,17 | 5,66 | 6,11 |
| 1,50 | 4,88 | 5,22 | 5,84 | 6,39 | 6,90 |
| 1,65 | 5,08 | 5,43 | 6,08 | 6,66 | 7,19 |
| 1,75 | 5,48 | 5,85 | 6,55 | 7,17 | 7,55 |
avec prechaouffeur : kg/h - 10%


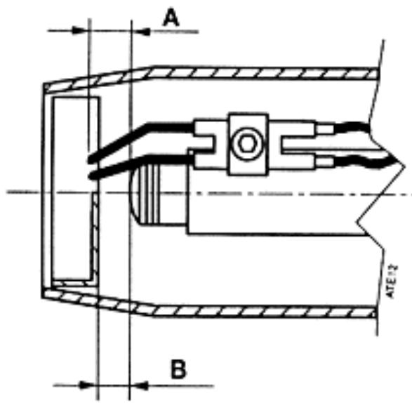
| Mod. | A | B | C | D |
| ABF 14 R | 2·3 | 2·3 | 3 | 6·6,5 |
11 REGOLAIZIONE COMBUSTIONE REGLAGE COMBUSTION


Après avoir desséré la vis C, avec la vis A on a la régulation de l'air de combustion, suivant les indications de l'indexé B.
A tarage effectue,fermer la vis C.
Le reglage de la tete est effectuee par le vis D, comme des indications de I'indexe E.
En enlevant la capoil est possible d'acceder aux parties suivantes: moleur-condensateur, boite de contrôle transformateur, photoresistance, pompe-soupape electromagnétique.

Fig. 8
Fig. B
Défaire la vis 3 (ne pas l'enlever).
Tournier la capot dans la direction de la flèche, comme le montre le dessin, jusqu'à ce qu'il sorte de son emboitement. Ensuite le déplacer légèrement vers le bos selon la flèche 1 (le capot doit se décrocher).
Enlever complètement le capot comme le montre la flèche 4.

PERNO FISSAGGIO PIASTRA GOUJON D'ASSEMBLAGE DE LA PLAQUE


Fig. C
Fig. C
Le goujon d'assemblage de la plaque permel d'ouvoir le bruleur de façon à pouvoir acceder au ventilateur, ou gicleur, aux electrodes et ou préchauffeur.
SMONTAGGIO GICLEUR (Fig. D-D1)
Per smontare il gicdeur:
Pour démonter le giclreur:
a) desserrer la vis 1 et relirer le groupe deflecteur/electrodes:
b] dévisser le giclaur par clé/contré-clavette
Introduire le copol dans la portie inférieure comme le montre le dessin, selon la flèche 1. Le mettre en position de façon à l'accrocher dans les fentes prévues, situées dans la portie inférieure du copot.
Tourner le capot dans la direction de la flèche 2 jusqu'à serrer complètement le brûleur (en appuyant légarrement sur ses côts).
les iluions et les donnnes sont a tte indicat et ons engagemet. la ARIANE se reserve le drot d'opporter ons obligation de prens les modilations quelle reont le plus ninesaines pour Ievolution du product.
Notice Facile