CF 30 - Chaudière ARIANE - Notice d'utilisation et mode d'emploi gratuit
Retrouvez gratuitement la notice de l'appareil CF 30 ARIANE au format PDF.
| Type d'appareil | Chaudière fioul |
| Puissance thermique | Non précisé |
| Capacité du réservoir | Non précisé |
| Type de combustion | Fioul |
| Rendement | Non précisé |
| Dimensions (L x H x P) | Non précisé |
| Poids | Non précisé |
| Pression maximale | Non précisé |
| Type de régulation | Non précisé |
| Alimentation électrique | Non précisé |
| Type d'installation | Fixe |
| Maintenance | Recommandée annuellement |
| Normes et certifications | CE |
| Garantie | Non précisé |
| Utilisation | Chauffage domestique |
FOIRE AUX QUESTIONS - CF 30 ARIANE
Téléchargez la notice de votre Chaudière au format PDF gratuitement ! Retrouvez votre notice CF 30 - ARIANE et reprennez votre appareil électronique en main. Sur cette page sont publiés tous les documents nécessaires à l'utilisation de votre appareil CF 30 de la marque ARIANE.
MODE D'EMPLOI CF 30 ARIANE
pour l'installation, l'utilisation et la maintenance des chaudières fioul
ACF 37
CF 30
30 B
Dans la notice technique, conserver le "Certificat d'essai" inséré dans la chambre de combustion des modèles "ACF 37 - CF 30".
1 Description de la chaudiere
1.1 INTRODUCTION 2 1.2 DIMENSIONS D'ENCOMBREMENT 1.3 DONNES TECHNIQUES 3 1.4 CIRCUIT HYDRAULIQUE "30 B" 1.5 DIMENSIONS CHAMBRE DE COMBUSTION 4
2 Installation
2.1 CHAUFFERIERIE 4 2.2 DIMENSIONS DE LA CHAUFFERIE 2.3 BRANCHEMENT INSTALLATION 2.4 RACCORDEMENT A LA CHEMINEE 5 2.5 MONTAGE DE LA JAQUETTE "ACF 37 - CF 30" 2.6 BRANCHEMENT ELECTRIQUE 6
Mode d'emploi et entretien
3.1 CONTROLES AVANT LA MISE EN MARCHE 8 3.2 MISE EN MARCHE ET FONCTIONNEMENT 3.3 DEMONTAGE DE LA JAGUETTE "30 B" 9 3.4 ANODE DE MAGNESIUM 3.5 RAMONAGE DE LA CHAUDIERE 3.6 MISE EN GARDE POUR LUTILISATEUR
1.1 Introduction
Les chaudières en fonte "ACF 37 - CF 30 - 30 B" ont été conçues selon la Norme Européenne CEE 92/42.
Elles fonctionnent à mazout avec une
combustion parfaitement équilibrée et avec un très haut rendement qui permettent de réaliser de très importantes économies de combustible.
Les chaudières "30 B" sont des chaudières mixtes pour le chauffage et la
Les chaudières "ACF 37 - CF 30" ne servent qu'au chauffage. Les groupes thermiques "ACF 37 - CF 30" sont livrés en colis séparés : corps de la chaudière, jaquette et panneau d'instruments.
1.2.1 Modèle "ACF 37 - CF 30
Modèle "ACF 37"

Modèle "CF 30"
ACF 37 CF 30
P Profondeur
475 495
M Départ
11/2" 11/2"
R Retour
11/2" 11/2"
S Vidange
1/2" 1/2"
1.2.2 Modèle "30 B
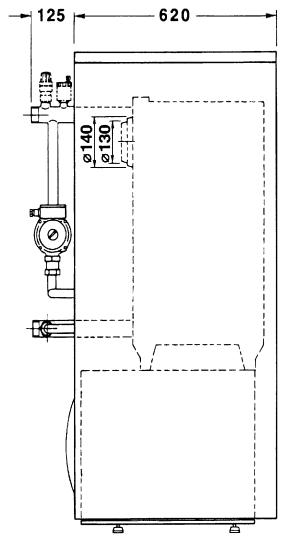
Fig. 1

Fig. 1/a
M Départ chauffage 1 1/4"
R Retour chauffage 1^1 / 4 S Vidange chaudière 1/2" E Entrée E. F. S. 3/4" C Récirculation E. C. S. 3/4" U Sortie E. C. S. 3/4"
1.3 DONNES Techniques
| ACF 37 | CF 30 | 30 B | ||
| Puisance utile | kW | 29,4 | 29,4 | 29,4 |
| kcal/h | 25.300 | 25.300 | 25.300 | |
| Débit calorifique nominal | kW | 33,4 | 33,4 | 33,4 |
| kcal/h | 28.700 | 28.700 | 28.700 | |
| Éléments | n° | 4 | 4 | 4 |
| Pression maxi de service | bar | 4 | 4 | 4 |
| Contenance en eau | l | 23 | 23 | 27 |
| Pertes de charge | ||||
| Côté fumées | mbar | 0,12 | 0,12 | 0,12 |
| Côté eau [Δt 10°C] | mbar | 2,50 | 2,50 | 2,50 |
| Pression,chambre combustion | mbar | - 0,01 | - 0,01 | - 0,01 |
| Dépression mini. cheminée | mbar | 0,13 | 0,13 | 0,13 |
| Température fumées | °C | 219 | 219 | 219 |
| Débit fumées | m³n/h | 31,8 | 31,8 | 31,8 |
| Volume fumées | dm³ | 11 | 11 | 11 |
| CO2 | % | 11,1 | 11,1 | 11,1 |
| Plage de réglage | ||||
| Chauffage | °C | 30÷85 | 30÷85 | 30÷85 |
| Sanitaire | °C | - | - | 30÷60 |
| Soutirage continu d'eau Δt 30°C * | l/h | - | - | 650 |
| Contenance en eauallon | l | - | - | 65 |
| Pression maxi de serviceallon | bar | - | - | 6 |
| Poids | kg | 122 | 122 | 179 |
- Température d'entrée d'eau froide 15°C - Température chaudière 80°C
1.4 Circuit hydraulique "30 B
Fig. 2
Legende
1 Chaudière en fonte 2 Thermomètre 3 Purgeur d'air automatique (non fourni) 4 Soupape de sécurité (non fournie) 5 Clapet de non-retour 6 Pompe de charge ballon 7 Robinet de vidange chaudière (non fourni) 8 Vase d'expansion ballon (non fourni) 9 Soupape de sécurité ballon (non fourni) 10 Robinet de vidange ballon (non fourni) 11 Anode en magnésium 12 Ballon 13 Brûleur (non fourni)
1.5 Dimensions chambre de combustion
La chambre de combustion est à passage direct et elle est conforme à la norme PR EN 303-3, annexe E.
Ses dimensions sont reportées sur la fig. 3.
La dalle réfractaire est fournie de série pour toutes les chaudières.
| L mm | Volume m3 | |
| ACF 37 | 377 | 0,019028 |
| CF 30 | 377 | 0,019028 |
| 30 B | 377 | 0,019028 |
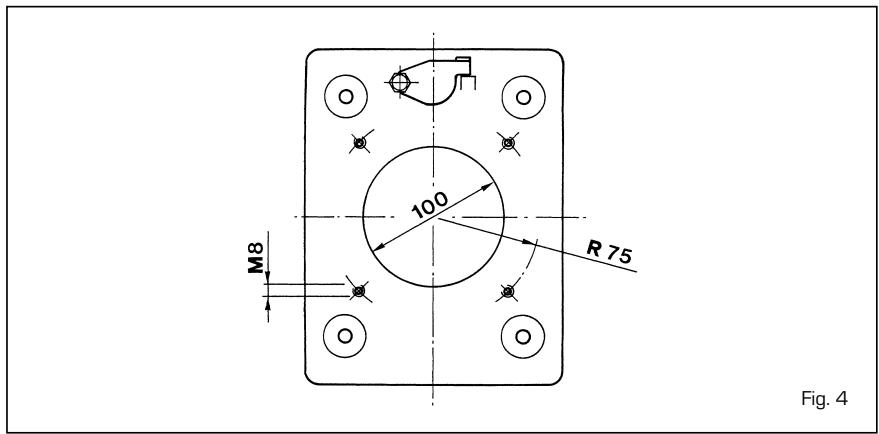
1.5.1 Montage du brûleur
La chaudière livre est prédisposée pour le montage du brûleur.
Les dimensions de la bride de fixation sont indiquées sur la fig. 4.
Les brûleurs doivent être réglés de façon à ce que la valeur du CO_2 corresponde à celle indiquée au point 1.3 avec une tolérance de ± 5%.
Fig. 3

2.1 Chaufferie
La chaufferie doit remplir toutes les conditions requises par les normes prévues pour les installations thermiques à combustibles liquides.
2.2 Dimensions de la chaufferie
Placer le corps de la chaudière sur une embase préparée à cet effet et ayant une hauteur minimale de 10 cm.
Le corps doit s'appuyer sur une surface lui permettant de glisser, en utilisant si possible des tôles en fer.
Entre les parois de la chaufferie et la chaudière il faut laisser une espace libre d'au moins 0,6 m ; tandis que entre le haut de la chaudière et le plafond il faut disposer d'au moins 1 m.
Cette distance peut être réduite à 0,50 m pour les chaudières à ballon incorporé (cependant, la hauteur mini)
La hauteur minimale de la chaufferie ne doit pas être inférieure à 2,5 m].
2.3 Branchement installation
Avant d'effectuer les branchements hydrauliques, assurez-vous que les indications données à la fig. 1 soient scrupuleusement observées.
Ces branchements doivent être facilement démontables, utilisez de préférence des raccords rotatifs à trois sections.
L'installation doit être à vase d'expansion fermé.
2.3.1 Accessoires recommandés chaudière "30 B
Pour assurer un fonctionnement correct de la chaudière, il est nécessaire de monter sur le manchon de 3/8 du départ chauffage un purgeur d'air
automatique [3 fig. 2] et sur le manchon de 1/2, une soupape de sécurité étalonnée à 3 bar [4 fig. 2].
En outre, il faut monter une soupape de sécurité étalonnée à 7 bar (9 fig. 2) sur l'entrée eau froide sanitaire du gallon pour éviter le risque de rupture à cause d'une surpression accidentelle élevée. Dans le cas où la soupape de sécurité s'ouvre souvent, il est conseillé de monter dans le circuit E. C. S. un vase d'expansion [8 fig. 2] de 5 litres avec une pression maximale de 8 bar. Le vase d'expansion devra être équipé d'une membrane en caoutchouc type alimentaire.
2.3.2 Remplissage de l'installation
Avant de raccorder la chaudière, il est bon de faire circuler de l'eau dans la tuyauterie de l'installation pour éliminer les éventuels copeaux ou résidus qui pourraient comprometer le bon fonctionnement de l'installation.
Le replissage doit etre fait lentement pour permettre la purge de I'air. Dans les installations a circuit fermé la pression de pre-charge du vase d'expansion doit correspondre ou au moins ne pas etre inférieure à la hauteur manometrique statique de l'installation par exemple pour 5 m de hauteur d'eau, la pression de pre-charge du vase d'expansion et la pression de charge de l'installation a froid ne devront pas etre inférieures a la pression minimale de O,5 bar).
2.3.3 Production eau sanitaire "30 b
En position E. C. S. la pompe de charge du ballon restera en marche aussi longtemps que l'E. C. S. n'aura pas atteint la température sur l'aquastat.
Une fois la pompe ballon arrêtée et à condition que l'interrupteur ETE/HIVER soit en position HIVER et que le thermostat d'ambiance soit en besoin, la pompe de l'installation (non comprise dans la fourniture) peut démarrer.
La chaudière n'est en mesure de produire la quantité d'E. C. S. prévue que si au moment de la première mise en service tout l'air contenu dans le serpentin a été évacué.
Pour faciliter cette opération, ouvrir le clapet de non-retour (5 fig. 2) en mettant l'encoche en position horizontale.
Remettre la vis dans la position d'origine une fois la purge terminée.
Le ballon E. C. S. de 65 litres est du type à accumulation rapide en acier émaillé, isolé avec polyurethane.
Le haut niveau d'isolation du ballon limite les fuites d'irradiation, limitant ainsi les frais d'entretien en régime d'eau sanitaire.
En présence d'eau avec une durée - TH - supérieure à 20÷25 °Fr, il est recommandé de traiter l'eau pour éviter l'entartrage du gallon et par conséquent une sensible diminution de l'échange thermique.
2.3.4 Caractéristiques de l'eau d'alimentation
Le traitement de l'eau utilisé dans l'installation est absolument indispensable dans les cas suivants:
- Grandes installations [contenu en eau élevé].
- Introductions fréquentes d'eau: intégrations
intégrations des installations.
- S'il faut vider l'installation, partiellement ou complètement.
2.4 Raccordement a la cheminee
La cheminée a une importance fondamentale pour le bon fonctionnement de la chaudière ; en effet, si elle n'est pas exécutée conformément aux règles de l'art, on pourrait avoir des démarrages difficiles avec conséquence formation de suie, condensation, incrustation.
La cheminée doit répondre aux qualités requises ci-dessous:
- elle doit être faite avec un matériel imperméable et résistant à la température des fumées et des condensats relatifs;
- elle doit présenter une résistance mécanique suffisante et une conductivité thermique faible;
- elle doit être parfaitement étanche pour éviter que le carreau montant ne se refroidisse;
- elle doit être la plus verticale possible et sa partie terminale doit être munie d'un aspirateur statique assurant une évacuation efficace et constante des produits de la combustion:
- de façon à éviter que le vent ne crée, autour de la cheminée externe, des zones de pression prévalant sur la force ascensionnelle des gaz comburés, il est nécessaire que l'orifice d'évacuation surmonte d'au moins 0,4 m toutes les structures adjacentes à la cheminée (y compris le faîte du toit) et se trouvant à moins de 8 m de distance;
- le carreau montant doit avoir un diamètre non inférieur à celui du raccord de la chaudière; pour les carreaux à section carrée ou rectangulaire, la section intérieure doit être majorée d'au moins 10% par rapport à celle du raccord de la chaudière;
- la section utile de la cheminée doit respecter le rapport suivant:
$$ S = K \frac {P}{\sqrt {H}} $$
- 0,045 pour bois
- 0,030 pour charbon
- 0,024 pour mazout
- 0,016 pour gaz
H hauteur de la cheminée en mètre mesurée à partir de l'axe de la flamme jusqu'à la sortie de la cheminée dans l'atmosphère, diminuée de:
- 0,50 m pour chaque coude entre chaudière et cheminée;
- 1,00 m pour chaque mètre de longueur de conduit entre chaudière et cheminée.
2.5.1 Modèle "ACF 37
La jaquette et le panneau d'instruments sont fournis à part, dans des confections en carton. Dans le même emballage de la jaquette se trouve les documents de la chaudière et la laine de verre déjà prête pour isoler le corps de chauffe en fonte. Le montage des composants de la jaquette doit être réalisé selon le déroulement ci-dessous indiqué [fig. 5]:
- Enlever la plaque porte-brûleur en dévissant les 4 écrous de fixation;
- placer la laine de verre [2], fixer le panneau antérieur [3] avec les écrous contenus dans l'emballage et reposer la plaque porte-brûleur;
- fixer la bride supérieure [4] et la bride inférieure [5] sur la tête arrière, à l'aide des écrous insérés sur les tirants.
- placer le côté gauche [6] et le droit [7] en fixant la partie avant des côtés sur le panneau avant [3], à l'aide des tiges à enclenchement.
- bloquer les côtés de la bride supérieure et de la bride inférieure avec les 8 vis auto-taraudeuses fournies à la livraison.
- placer les deux panneaux postérieurs [8] et [9] aux côtés au moyen des 10 vis de serrage contenues dans l'emballage.
- placer le panneau de façade [10] en faisant entrer les pitons à pression des côtés dans les ressorts du panneau de façade;
- monter le panneau d'instruments [11] en insérant les deux languettes inférieures du panneau sur les décharges se trouvant sur les côtes et le fixer avec deux vis autotaraudeuses. Avant d'effectuer cette opération, il est nécessaire de dérouler les capillaires des deux thermostats du thermomètre en introduisant leurs sondes respectives dans la gaine [13], en bloquant le tout avec la barrette d'arrêt des capillaires fournie à la livraison;
- enlever le bouchon [14] et visser la sonde de l'hydromètre avec soupape de retenue;
- terminer l'assemblage en fixant le couvercle [12] sur les côtés.
Dans les documents de la chaudière, conserver le "Certificat d'essai" inséré dans la chambre de combustion.
Modèle "ACF 37" Fig. 5
Modèle "CF 30" Fig. 5/a
2.5.2 Modèle "CF 30
La jaquette et le panneau d'instruments sont fournis à part, dans un emballage de confection en carton. Dans le même emballage que la jaquette se trouvent les documents de la chaudière et la laine de verre déjà prête pour isoler le corps de chauffe en fonte. Le montage des composants de la jaquette doit être réalisé selon le déroulement ci-dessous indiqué (fig. 5/a):
- Enlever la plaque porte-brûleur en dévissant les 4 écrous de fixation.
- Placer la laine de verre [2], fixer le panneau antérieur [3] avec les écrous contenus dans l'emballage et reassembler la plaque porte-brûleur.
- Isoler le corps de chauffe en fonte avec la laine de verre [1].
- Placer le côté gauche [4] et le droit [5] en introduisant la boutonnière appropriée entre les écrous des tirants postérieures.
- Bloquer les côtés sur le panneau avant [3], à l'aide des tétons à enclenchement.
- Placer les deux panneaux postérieurs [6] et [7] aux côtés au moyen des 10 vis de serrage contenues dans l'emballage.
- Placer le panneau de façade [8] en faisant entrer les pitons à pressions des côtés dans les ressorts du panneau de façade.
- Monter le panneau d'instruments [9] à l'aide des pitons à pressions. Avant d'effectuer cette opération, il est nécessaire de dérouler les capillaires des deux thermostats du thermomètre en introduisant leurs sondes respectives dans la gaine [11], en bloquant le tout avec la barrette d'arrêt des capillaires fournie à la livraison.
Réaliserr les branchements électriques selon les instructions données au point 2.6
- Terminer l'assemblage en fixant le couvercle [10] sur les côtés.
NOTE: Dans les documents de la chaudière, conserver le "Certificate d'essai" inséré dans la chambre de combustion.
2.6 Branchement electrique
La chaudière est munie d'un câble électrique de alimentation et doit être alimentée avec une tension monophasée de 230V - 50Hz par l'intermédiaire
d'un interrupteur général protégé par des fusibles. Le thermostat d'ambiance, nécessaire pour obtenir une meilleure régulation de la température, devra être relié comme indiqué
sur les schémas [figs. 6 - 6/a]. Raccorder ensuite le câble d'alimentation du brûleur et de la pompe de circulation du système fournis à la livraison.
NOTE: Le fabricant décline toute responsabilité pour événuels accidents dus à la non mise à terre de la chaudière.
Modèle "ACF 37 - CF 30"
Legende
TS Aquastat de sécurité TA Thermostat d'ambiance TC Aquast chaudiere IG Interrupteur général PI Pompe installation B Bruleur SB Lampe de mise en sécurité du brûleur
TS Aquastat de sécurité SB Lampe de mise en sécurité du brûleur
El Interrupteur Été - Hiver TA Thermostat d'ambiance TB Aquastat de ballon TC Aquastat chaudière TL Aquastat limite
IG Interrupteur général PB Pompe de charge ballon PI Pompe installation B Brûleur TP Aquastat anti-inertie
3.1 Controles avant la mise en MARCHE
Au moment de la première mise en marche de la chaudière, il est recommandé de procéder aux contrôles suivants:
- s'assurer que l'installation soit remplie d'eau et convenablement purgée;
- vérifier que les robinets de barrage soient ouverts;
- s'assurer que le conduit d'évacuation des produits de combustion soit libre;
- vérifier que le branchement électrique et la mise à terre ont été faits correctement;
- s'assurer que il n'y a pas de liquides ou matériaux inflammables à proximité de la chaudière;
- vérifier que le circulateur n'est pas bloqué.
3.2.1 Mise en marche de la chaudière "ACF 37
Pour la mise en marche de la chaudière, procéder de la façon suivante [fig. 7]:
- s'assurer que le "Certificat d'essai" ne soit pas dans la chambre de combustion. - mettre la chaudière sous tension au moyen de l'interrupteur général [1]. Le brûleur démarre;
- régler l'aquastat chaudière [5] sur une température non inférieure à 60°C. Pour contrôler la valeur de température programmée, consulter le thermomètre [4].
3.2.2 Mise en marche de la chaudière "CF 30
Pour la mise en marche de la chaudière, procéder de la façon suivante [fig. 7/a]:
- S'assurer que le "Certificat d'essai" ne soit pas dans la chambre de combustion.
- Mettre la chaudière sous tension au moyen de l'interrupteur général [1]. Le brûleur démarre.
- Régler l'aquastat chaudière [3] à la température.
3.2.3 Mise en marche de la chaudière "30 B
Pour la mise en marche de la chaudière, procéder de la façon suivante [fig. 7/b]:
Modèle "ACF 37" Fig. 7
Modèle "CF 30" Fig. 7/a
Modèle "30 B" Fig. 7/b
-mettre la chaudiere sous tension au moyen de l'interrupteur général [1]. Le brûleur démarre; - régler l'aquastat ballon [4] à la température. La pompe de charge continuea à tourner aussi long temps que l'E. C. S. n'aura pas atteint la température. Pendant la production d'E. C. S. la température de la chaudière sera automatiquement maintainue autor de 80°C par l'aquastat limite [6]; - une fois terminée la production d'E. C. S. si l'interrupteur [2] est en position ETE on aura l'arrêt du brûleur et de la pompe de charge; le déviateur
(2) étant sur la position HIVER, le mouvement du circulateur du système est commandé par le thermostat d'ambiance. Dans ce cas, le brûleur fonctionne sous le contrôle de l'aquastat chaudière (5) à la température voulue par l'utilisateur.
- pour garantir un fonctionnement optimal de la chaudière et éviter toute formation de condensation, il est conseillé de tourner la poignée du l'aquastat chaudière (5) sur une température non inférieure à 60°C. Pour contrôler la valeur de température programmes, consulter le thermomètre (6).
3.2.4 Aquastat de sécurité
L'aquastat de sécurité (2 figs. 7 et 7/a-3 fig. 7/b) à réarmement manuel se déclenche automatiquement, provoquant ainsi l'extinction immédiate du brûleur principal, lorsque la température dépasse 95°C. Pour pouvoir faire repartir la chaudière, il faut dévisser le capuchon noir et appuyer sur le petit bouton qui se trouve dessous (fig. 8).
Si ce phénomène se produit fréquemment, il convient de faire contrôler l'appareil par un personnel technique agréé.

3.2.5 Aquast anti-inertie chaudière "30 B
L'aquestat évacue l'excès de température due à l'inertie thermique du corps en fonte vers le bouilleur. Il remet automatiquement en marche le circulateur-bouilleur lorsque la chaudière atteint la température de 90°C et l'éteint lorsque la température descend au-dessous de 90°C.
Contrôler périodiquement que l'hydromètre [4 fig. 7] indique des valeurs de pression, à froid, comprises entre 1 et 1,2 bars. Si la pression est inférieure à 1 bar, la rétablir à la valeur prescrite.
3.2.7 Extinction de la chaudière
Pour éteindre la chaudière, couper la tension en appuyant sur l'interrupteur général [1 figs. 7 - 7/a - 7/b].
3.3 Demontage de la jaguette "30 b"
Le démontage des composants de la jaquette de la chaudière doit être réalisé selon le déroulement ci-dessous indiqué [fig. 9]:
- enlever le couvercle [1] et le tableau de bord [3];

- enlever la bride porte-bruleur et le panneau antérieur central [5] en dévisant les 4 vis qui le fixent aux côtes;
- enlever le panneau antérieur supérieur (4) et le panneau antérieur inférieur (6);
- enlever les panneaux postérieurs [8] et [9] en dévissant les vis qui les fixent aux côtés;
- démonter le côté gauche [7] en dévissant la vis qui le fixe à la bride de support et en le tirant vers l'avant pour le dégager des pitons fixés sur le support du ballon;
- agir de la même façon pour démonter le côté droit [2].
3.4 ANODE de magnesium
L'anode de magnesium [11 fig. 2] protège le gallon contre les courants galvaniques. Son usure dépend de la nature de l'eau d'alimentation. L'anode de magnesium devra être contrôlée fréquemment et remplacée si nécessaire. L'anode est montée sur la partie avant du gallon et facilement démontable.
3.5 Ramonage de la chaudiere
A la fin de la saison de chauffage, il est nécessaire d'effectuer au moins un entretien périodique complet comportant le nettoyage du corps de la chaudière et du conduit d'évacuation de la
fumée. Enlever les turbulateurs [2 fig. 10]. L'entretien étant exécuté, les turbulateurs doivent être impérativement remis dans leur position d'origine. Pour le nettoyage des passages de la fumée, utiliser un écouvillon prévu à cet effet [1 fig. 10].
NOTE: Ces opérations ne doivent être effectuées par un installateur qualifié.
3.6 MISES en GARDE pour l'utilisateur
En cas de panne et/ou de mauvais fonctionnement, désactiver l'appareil et s'abstenir de toute tentative de réparation ou d'intervention directe. Pour toute intervention, s'adresser exclusivement au Service technique agréé le plus proche.
Gestionnaire Mise en Service & Garantie Constructeurs
Centre Opérationnel
96 Avenue de Caen
F 76100 ROUEN
Notice Facile