GF 25-3 AC - Chauffage industriel S.PLUS - Notice d'utilisation et mode d'emploi gratuit

Retrouvez gratuitement la notice de l'appareil GF 25-3 AC S.PLUS au format PDF.

📄 4 pages Français FR 💬 Question IA 9 questions ⚙️ Specs
Notice S.PLUS GF 25-3 AC - page 1
Type d'appareilChauffage d'atelier
AlimentationNon précisé
Puissance thermiqueNon précisé
Type de combustibleNon précisé
Débit d'airNon précisé
Dimensions (L x l x H)Non précisé
PoidsNon précisé
Matériau du corpsAcier
Type de ventilationVentilateur intégré
Mode de contrôleNon précisé
MobilitéAvec roues
Type d'allumageNon précisé
Protection thermiqueNon précisé
Utilisation recommandéeAtelier, espace fermé
Accessoires inclusSupport, roues
CouleurNon précisé
GarantieNon précisé

FOIRE AUX QUESTIONS - GF 25-3 AC S.PLUS

Quels sont les principaux problèmes rencontrés avec le S.PLUS GF 25-3 AC ?
Les utilisateurs signalent principalement des problèmes de performance, de bruit excessif et de pannes électriques.
Comment résoudre un problème de faible performance ?
Assurez-vous que le filtre est propre et que les conduits d'air ne sont pas obstrués. Vérifiez également les niveaux de réfrigérant.
Que faire si l'appareil fait trop de bruit ?
Vérifiez que l'appareil est installé sur une surface plane et stable. Inspectez également les pièces mobiles pour tout objet étranger.
Comment procéder en cas de panne électrique ?
Vérifiez le disjoncteur et assurez-vous que l'appareil est correctement branché. Si le problème persiste, contactez un technicien.
Y a-t-il un moyen de réduire la consommation d'énergie ?
Utilisez le mode éco si disponible, maintenez une température raisonnable et assurez-vous que les portes et fenêtres sont bien fermées.
Quelle est la durée de vie moyenne de cet appareil ?
La durée de vie moyenne du S.PLUS GF 25-3 AC est d'environ 10 à 15 ans avec un entretien adéquat.
Comment effectuer un entretien régulier ?
Nettoyez les filtres tous les mois et faites vérifier l'appareil par un professionnel au moins une fois par an.
Où trouver des pièces de rechange ?
Les pièces de rechange peuvent être commandées auprès du fabricant ou de revendeurs agréés.
Que faire si l'appareil ne démarre pas ?
Vérifiez l'alimentation électrique et assurez-vous que le thermostat est réglé correctement. Si le problème persiste, contactez un technicien.

Questions des utilisateurs sur GF 25-3 AC S.PLUS

0 question sur cet appareil. Repondez a celles que vous connaissez ou posez la votre.

Poser une nouvelle question sur cet appareil

L'email reste privé : il sert seulement à vous prévenir si quelqu'un répond à votre question.

Aucune question pour l'instant. Soyez le premier à en poser une.

Téléchargez la notice de votre Chauffage industriel au format PDF gratuitement ! Retrouvez votre notice GF 25-3 AC - S.PLUS et reprennez votre appareil électronique en main. Sur cette page sont publiés tous les documents nécessaires à l'utilisation de votre appareil GF 25-3 AC de la marque S.PLUS.

MODE D'EMPLOI GF 25-3 AC S.PLUS

GF 75.2 AC PLUS chauffage · ventilation · rafraîchissement

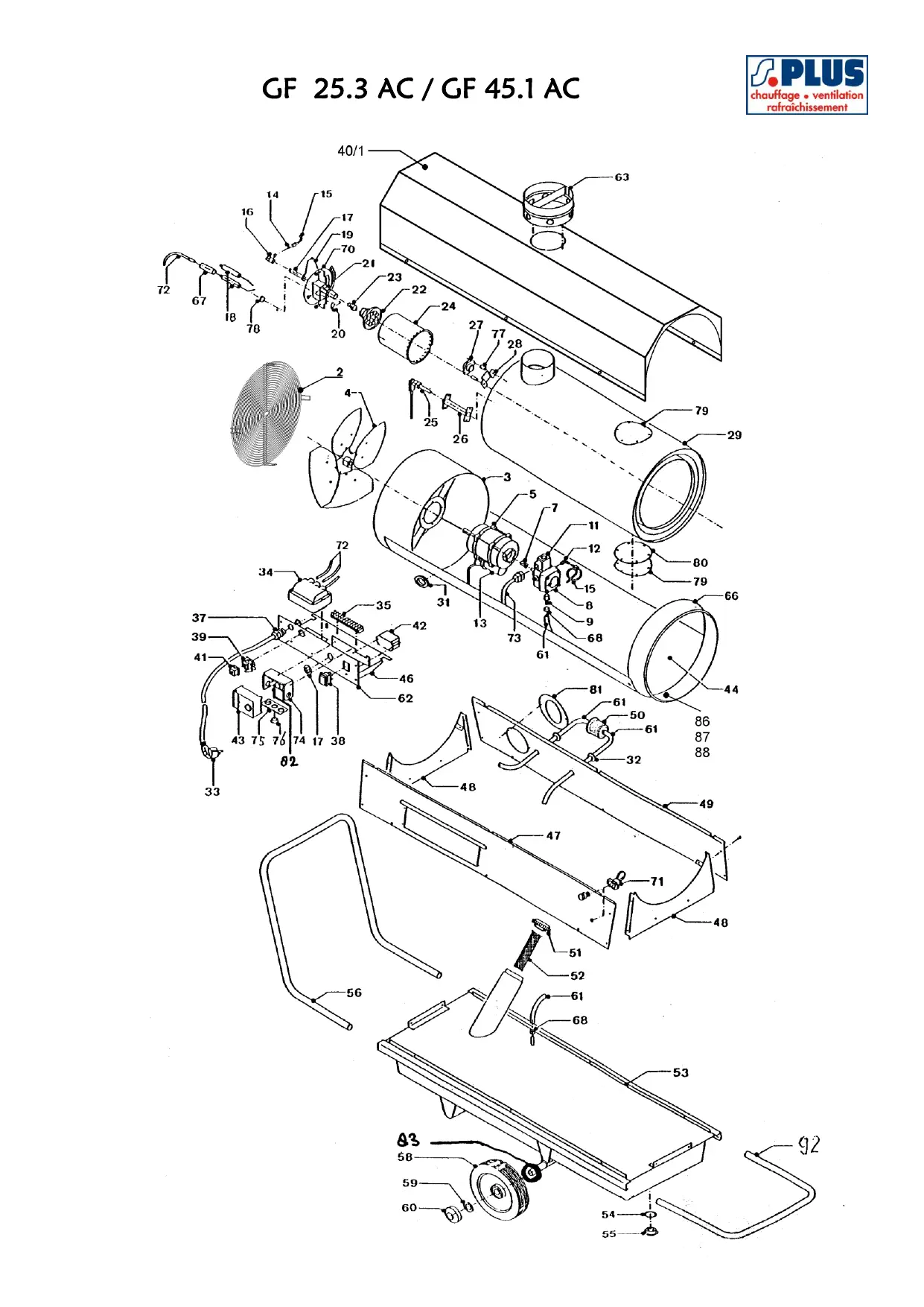
N° Rep.DésignationGF 25.3 ACGF 45.1 ACGF 75.2 AC
1Capot supérieur
2Grille arrière223 5145
3Logement du ventilateur
4Hélice223 5090223 5160
5Moteur223 5180223 5220223 5220
6Joint de bouchon de vidange223 5232223 5232223 5232
7Accouplément de la pompe223 5243223 5243
8Pompe223 5230223 5230223 5230
9Adapteur de tuyau223 5244223 5244223 5244
10Support
11Vanne électro-magnétique / Bobine223 5470223 5470223 5470
12Coude MM sortie pompe223 5523223 5523223 5523
13Condensateur223 5752223 5751223 5751
14Bicône 4 mm233 5523233 5523233 5523
15Tube223 5522223 5522223 5522
16Accouplement
17Joint de tube
18Électrode223 4860223 4860
19Prise d'air
20Anneau d'électrode
21Porteur de giclaur
22Volet du giclaur
23Giclaur223 4870223 4880223 4910
24Tête du brûleur
25Cellule photo-électrique223 4840223 4840223 4840
26Support cellule photo-électrique223 4841223 4841223 4841
27Thermostat de refroidissement223 5380223 5380223 5380
28Anneau de thermostat
29Chambre de combustion223 5721
30Virole de refroidissement
31Protection, grande
32Protection, petite
33Câble avec prise223 5305223 5305223 5305
34Transformateur223 539022353902235390
35Bande de connection
36Anneau transformateur
37Guide pour cable
38Interrupteur223 5460223 5460223 5460
39Connection de thermostat223 5290223 5290223 5290
40Couvercle
41Pont thermostat223 5360223 5360223 5360
42Relais auxiliaire223 5430223 5430223 5430
43Relais de brûleur223 4830223 4830223 4830
44Virole inférieure
45Câbles électriques
46Anneau pour relais
47Plaque, droite
48Support
49Plaque, gauche
50Filtre fioul223 4800223 4800223 4800
N°Rep.DésignationGF 25.3 ACGF 45.1 ACGF 75.2 AC
51Bouchon du réservoir223 5280223 5280223 5280
52Filtre du réservoir223 5300223 5800223 5300
53Réserveur
54Joint de bouchon de vidange223 5282223 5282223 5282
55Bouchon de vidange223 5283223 5283223 5283
56Barre à pousser223 5725
57Chàssis
58Roue
59Anneau de fixation
60Vidange
61Tube de fioul
62Tableau de manœuvre
63Cheminée223 5702223 5703
64Collier
65Cône inférieur
66Cône supérieur
67Tuyau
68Collier / tuyau fioul GF223 5707223 5707223 5707
69Support de roue
70Disque de tête de brûleur
71Thermostat max.
72Câble d'électrode223 4851223 4851223 4851
73Câble d'électrovanne223 5501223 5501223 5501
74Support relais du brûleur
75Plaque écrous de serrage
76Bouchon de blinding
77Entretoise thermostat de refroidissement223 5381223 5381
78Protection, petite
79Trappe de visite échangeur223 5706223 5706223 5706
80Joint de trappe de visite223 5705223 5705223 5705
81Cache tuyau de réservoir
82Condensateur
83Rondelles plates
84
85Collier de serrage
86Thermostat de surchauffe223 5270223 5480223 5480
87Anneau de thermostat
88Câble de thermostat
89
90Écrou de bicône223 5708223 5708223 5708
91Douille d'écart
92Bourrelet
93Capuchon
94Plaque de la mise à la terre
95Anneau
96
97Entretoise thermostat de refroidissement223 5381223 5381
98Plaque isolante
99Porte-fusible
100Fusible
101Plaque d'air
Assistant notice
Powered by ChatGPT
En attente de votre message
Informations produit

Marque : S.PLUS

Modèle : GF 25-3 AC

Catégorie : Chauffage industriel