GECO 70 - Générateur d'air chaud S.PLUS - Notice d'utilisation et mode d'emploi gratuit
Retrouvez gratuitement la notice de l'appareil GECO 70 S.PLUS au format PDF.
| Type d'appareil | Générateur d'air chaud |
| Modèles | GECO 70 à GECO 390 |
| Fonction principale | Chauffage par air chaud |
| Usage | Industriel et professionnel |
| Source d'énergie | Non précisé |
| Puissance thermique | Non précisé |
| Débit d'air | Non précisé |
| Type de ventilation | Ventilation forcée |
| Matériau de fabrication | Non précisé |
| Dimensions | Non précisées |
| Poids | Non précisé |
| Sécurité | Dispositifs de sécurité intégrés |
| Installation | Fixe, professionnelle |
| Maintenance | Facile, selon notice |
| Durabilité | Conçu pour une longue durée |
| Garantie | Non précisée |
FOIRE AUX QUESTIONS - GECO 70 S.PLUS
Téléchargez la notice de votre Générateur d'air chaud au format PDF gratuitement ! Retrouvez votre notice GECO 70 - S.PLUS et reprennez votre appareil électronique en main. Sur cette page sont publiés tous les documents nécessaires à l'utilisation de votre appareil GECO 70 de la marque S.PLUS.
MODE D'EMPLOI GECO 70 S.PLUS
Nous vous remercions d'avoir choisi un générateur d'air chaud série GECO, produit innovant, moderne, de qualité et d'un haut rendement. Cet appareil vous assurera bien-être, un silence maximum et la sécurité pour longtemps.
Cette notice technique contient des informations importantes qui devront être attentivement consultées avant l'installation et afin d'assurer la future utilisation du générateur GECO.
Merci encore.
S. PLUS
Les générateurs d'air chaud série GECO sont conformes :
✓ Aux directives machines 89/392/CEE, 93/44/CEE et 93/68/CEE, à la directive basse tension 73/22/CEE.
Dans cette notice, les descriptions commerciales sont remplacées par des indices de 1 à 8 de la rubrique "Type". Tableau des équivalences ci-dessous :
| Type | Modèle | Type | Modèle |
| 2 | GECO 70 | 6 | GECO 260 |
| 4 | GECO 100 | 7 | GECO 390 |
| 5 | GECO 190 |
Garantie
Les appareils sont garantis un an contre tous les vices de fabrication, sous réserve d’être installés par des professionnels qualifiés, conformément à la réglementation en vigueur, aux instructions figurant sur nos notices de montage et dans la mesure où ils fonctionnent dans des conditions normales d’utilisation.
La garantie prendra effet à la date de mise en service, au plus tard dans les six mois après mise à disposition du matériel par S. PLUS et à réception chez S. PLUS, dans les 15 jours qui suivent la mise en service, du bon de garantie attesté et signé. Nous déclinons toute responsabilité et aucune garantie ne serait applicable en cas d’installations défectueuses, mal adaptées ou non conformes aux Normes en vigueur. La garantie se limite à la remise en état ou à l’échange gratuit, après contrôle de notre part, de la (des) pièce(s) par une pièce identique ou similaire. Les frais de main d’œuvre, de déplacement, d’accès au chantier au matériel et de transport sont exclus. Tout remplacement réalisé durant la période de garantie, même si celui-ci nécessite une immobilisation du matériel, ne peut en aucun cas prolonger la durée de cette garantie. Aucun dommage et intérêt ne pourra être réclamé pour préjudice indirect, commercial ou autre.
Ne peuvent être pris en considération et couverts par notre garantie les dommages incombant :
✓ A des phénomènes extérieurs ✓ A des négligences de l'utilisateur ✓ Au non-respect des consignes stipulées dans nos documents, déterioration due à une mauvaise manipulation au cours du transport, ou à une fausse manœuvre. ✓ A l'utilisation d'accessoires autres que ceux d'origine ✓ Au défaut de surveillance et d'entretien.
Que ce soit à l'égard de l'acheteur ou de toute autre personne, notre société ne pourra en aucun cas être tenue pour responsable des dommages corporels ou matériels de quelque nature qu'ils soient, qui pourraient être provoqués par nos produits ou qui seraient la conséquence directe ou indirecte de l'utilisation desdits produits.
Les papiers sont garantis un an contre tous vices de fabrication, sous réserve d’être installés par des professionnels qualifiés, conformément à la réglementation en vigueur, aux instructions figurant sur nos notices de montage et dans la mesure où ils fonctionnent dans les conditions normales d’utilisation.
Generalite
Informations générales 4
Règles fondamentales de sécurité 5
Description de l'appareil 6
Coffret de commande 7
Identification 8
Schémas électriques 9
Installation
Réception du produit 10
Dimensions 10
Manutention et transport 11
Mise en place 11
Montage du plénum 12
Montage de l'airstat 14
Tarage de l'airstat 15
Réseau de soufflage 16
Protection 16
Raccordement électrique 16
Sortie de fumée 18
Installation du brûleur 19
Régulation 19
Entretien
Préparation à la mise en service 21
Mise en service 22
Commande 24
- Contrôle 24
Entretien 25
Défaut et dépannage 27
Les symboles utilisés dans ce manuel :


ATTENTION : Actions imposant un soin et une préparation particulière.
INTERDIT : Action qui NE DOIVENT ABSOLUMENT PAS être effectuées.
Generalite
Ce manuel d'informations techniques fait partie intégrante de l'appareil, il doit donc être conservé avec soin, et toujours accompagner l'appareil, même en cas de cession à un autre propriétaire ou utilisateur. En cas de perte ou de destruction du présent manuel, en demander un autre aux Services Techniques du Constructeur. Il est indispensable de vérifier l'état du matériel livré, même si l'emballage paraît intact. En cas de déterioration ou d'appareil (ou accessoires) manquant, les réserves devront être faites sur le récépissé du transporteur et confirmées à celui-ci par lettre recommandée sous 48 heures. L'installation des générateurs série GECO doit être effectuée par une entreprise habilitée, qui en fin de travail délivre au propriétaire une attestation de conformité d'installation réalisée dans les règles de l'art, et donc selon les normes en vigueur et les indications fournies par le Constructeur dans le manuel. Ces appareils sont conçus pour le chauffage d'ambiances et doivent être destinés uniquement à cet usage. Est exclue toute responsabilité du Constructeur pour des dommages causés à des personnes, des animaux ou des objets et résultant d'erreurs d'installation, de réglage et de maintenance, ou d'utilisations impropres. Les interventions de réparation et / ou maintenance doivent être effectuées par un personnel autorisé et qualifié, comme prévu dans cette notice. Ne pas modifier la pression gaz ou transformer l'appareil, dans la mesure où cela pourrait créer des situations dangereuses, et auquel cas le Constructeur ne sera pas responsable des dommages provoqués. Les installations à effectuer (canalisation, raccordements électriques, etc...) doivent être protégées de manière ajustée et ne doivent en aucun cas constituer des obstacles susceptibles de faire trébucher. Une température trop élevée n'est pas conforme et constitue un inutile gaspillage d'énergie.
Lors de la première mise en fonctionnement, il est possible qu'une odeur se dégage du circuit d'air. Cette situation très passagère est normale ; il s'agit de l'évaporation des graisses de fabrication de l'échangeur. Aérer le local, sachant que très rapidement l'odeur disparaitra. Dans le cas où une longue période de non-fonctionnement serait prévue, basculer l'interrupteur principal de l'appareil et l'interrupteur général de l'installation sur la position arrêt. Lors de la remise en fonctionnement, il est conseillé de faire appel à un personnel qualifié. Les appareils ne doivent être équipés que d'accessoires d'origine. Le Constructeur ne sera pas responsable de dommages eventuels résultant de l'usage impropre de l'appareil et de l'utilisation de matériels et accessoires non standards. Les appareils doivent être équipés exclusivement avec les accessoires d'origine. Le Constructeur ne sera pas tenu responsable d'un quelconque dommage issu de l'emploi d'un accessoire inapproprié avec l'appareil. Les références aux normes, règles et directives citées dans le manuel sont données à titre informatif et ne sont valides qu'à la date d'édition de celui-ci. L'entrée en vigueur de nouvelles dispositions ou de modifications à celles existantes ne donne pas naissance à une obligation du Constructeur vis-à-vis des tiers. Le Constructeur est responsable de la conformité de l'appareil aux règles, directives et normes de construction en vigueur au moment de la commercialisation. La connaissance et le respect des dispositions légales ainsi que des normes inhérentes à la conception, l'implantation, l'installation, la mise en route et la maintenance sont exclusivement à la charge du bureau d'étude, de l'installateur et de l'utilisateur. Le Constructeur n'est pas responsable du non-respect des instructions contenues dans la présente notice, des conséquences de toute manœuvre effectuée ou non.
REGLES Fondamentales de securite
L'utilisation d'un produit qui fonctionne avec de l'énergie électrique, fioul ou gaz, doit respecter quelques règles de sécurité fondamentales :
L'utilisation de l'appareil par des enfants est interdite, ainsi qu'aux personnes inaptes non assistées. Il est interdit de mettre en marche l'appareil en cas de perception d'odeur de gaz ou de fumée. Dans ce cas, procéder comme suit:
Aérer le local en ouvrant portes et fenêtres, Fermer la vanne de bârrage gaz, Prévenir le personnel qualifié pour une intervention rapide.
Il est interdit de toucher l'appareil pieds nus et / ou avec une partie du corps mouillée. Est interdite toute opération de nettoyage et / ou de maintenance avant d'avoir débranché l'alimentation électrique et coupé l'alimentation du combustible. Il est interdit de modifier les systèmes de sécurité ou de régulation sans l'autorisation et les indications du Constructeur. Il est interdit de tirer, de débrancher, tordre les câbles électriques de l'appareil même si ces derniers sont débranchés. Il est interdit d'ouvrir la porte d'accès aux composants sans avoir positionné l'interrupteur principal sur "Arrêt".
Il est interdit de laisser à la portée des enfants les emballages (carton, agrafe...). Il est interdit d'installer l'appareil à proximité de matières inflammables, ou dans les locaux à atmosphère agressive (produits organo-chlorés...). Il est interdit de poser des objets sur l'appareil, ou de les introduire à travers la grille de soufflage. Il est interdit de toucher l'échangeur de chaleur si celui-ci est en cours de fonctionnement (chauffage). Il est interdit d'utiliser des adaptateurs, prises multiples et prolongateurs pour le raccordement électrique de l'appareil. Il est interdit d'installer l'appareil en extérieur ou dans les lieux où il serait exposé à divers phénomènes. Il est interdit d'installer le générateur directement dans un local dépourvu de ventilation. Une dépression du local entraînerait un mauvais fonctionnement.
Description de l'appareil
Le générateur série GECO est un appareil de chauffage par air chaud, qui utilise l'énergie thermique produite par la combustion.
L'échange thermique s'effectue au contact de la surface de l'échangeur, sans fluide intermédiaire, seulement grâce à l'action du ventilateur centrifuge qui entraîne une quantité d'air mesurée.
Les gaz de combustion produits à l'intérieur de l'échangeur sont expulsés à l'extérieur et reliés au conduit des fumées.
Ce mode de fonctionnement permet une grande flexibilité d'installation et donc une optimisation du coût d'investissement.
Egalement, en été, le fonctionnement seul du ventilateur assure un rafraîchissement par brassage d'air.
Le générateur d'air chaud est essentiellement constitué de:
Chambre de combustion à inversion de flamme en acier inox AISI 430 haute température, faible perte thermique, de forme et volume appropriés. Échangeur lamellaire, étanche, avec empreinte de turbulence pour un meilleur rendement thermique. Collecteur de fumée à l'arrière. Plénum de diffusion directe à ailette horizontalement réglable sur les 4 faces.
Types 1 à 4
- Plenum de soufflage 2. Sortie d'air
- Trappe de visite échangeur
- Passage et fixation brûleur
- Aspiration d'air
- Oueleleton de flamme
- Airstat FAN — LIMIT
- Virole fumée
Carrosserie constituée de panneaux démontables. Points. Isolation thermique sur toutes les faces exposées au rayonnement de l'échangeur. Ventilateur centrifuge à double ouïe d'aspiration et faible niveau sonore. Moteur monophasé directement accouplé à la turbine pour les types 1 à 5. Moteur triphasé avec transmission poulie-courroie pour les types 6 à 7. Brûleur : option.
Equipement electrique
Airstat, réglé et raccordé :
2 fonctions :
- Fonction FAN (25-35°C) régule le démarrage du ventilateur 60 s environ après le brûleur, et l'arrêt 4 mn environ après l'arrêt du brûleur. Ceci pour éviter de souffler de l'air froid.
- Fonction LIMIT (100^) à réarmement manuel et qui arrête le brûleur dans le cas d'une surchauffe anormale.
Commutateur 3 positions. Arrêt - chauffage - ventilation.

- Chambre de combustion
- Ventilateur centrifuge
- Coffret électrique
- Panneau
- Collecteur des fumées
- Echangeur
- Collecteur arrière des fumées
- Ailettes directrices
Types 5 à 7

- Plenum de soufflage 2. Sortie d'air
- Trappe de visite échangeur
- Plaque bruleur
- Aspiration d'air
- Régulation de flamme
- Airstat FAN - LIMIT
- Virole fumée
- Chambre de combustion
- Ventilateur centrifuge
- Support ventilateur
- Courroie
- Moteur
- Tendeur sur glissière
- Coffret électrique
- Panneau
- Collecteur des fumées
- Echangeur
- Collecteur arrière des fumées
- Ailettes directrices
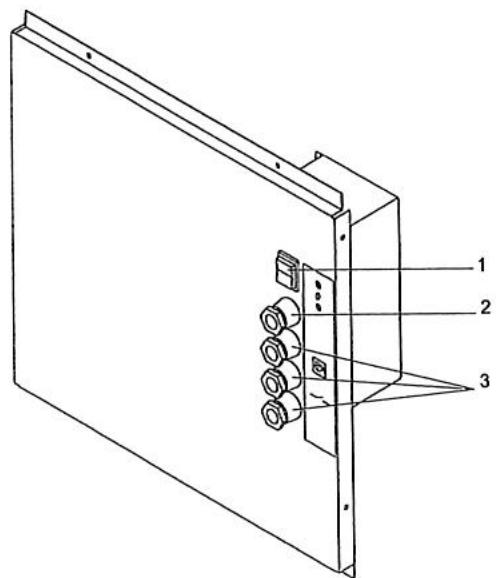
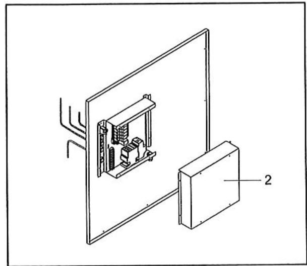
Panneau de commande
Le coffret électrique monté sur le générateur permet tous les raccordements nécessaires au fonctionnement de l'appareil.


- Sélecteur de fonctionnement (chauffage / arrêt / ventilation)
- Presse etoupe
- Presse étoupe
Identification
Le générateur d'air chaud GECO est identifiable par la plaque signalétique collée sur le côté de l'appareil.
En cas de perte ou destruction, réclamer un duplicata au service technique.
| TYPE | 1 | 2 | 3 | 4 | 5 | 6 | 7 |
| Puisance thermique nominale | kW | 46,8 | 71,1 | 93,0 | 104,6 | 190,0 | 258,8 |
| kcal/h | 40.300 | 61.200 | 80.000 | 90.000 | 163.400 | 222.600 | |
| Puisance thermique utile | kW | 42,2 | 64,4 | 83,9 | 94,2 | 168,2 | 230,3 |
| kcal/h | 36.300 | 55.400 | 72.100 | 81.090 | 144.600 | 198100 | |
| Rendement | % | 90,1 | 90,5 | 90,1 | 90,1 | 88,5 | 89 |
| Volume chambe de combustion | dm3 | 48,8 | 77,4 | 129,5 | 228,5 | 490,0 | 640,0 |
| Température nette fumée | °C | 200 | 220 | 220 | 220 | 249 | 248 |
| Consommation | |||||||
| - gaz naturel G20 (1) | m3/h | 4,70 | 7,14 | 9,33 | 10,50 | 19,0 | 25,9 |
| - gaz propane G31 (2) | Kg/h | 3,64 | 5,53 | 7,23 | 8,13 | 14,76 | 20,11 |
| litre/h | 7,15 | 10,86 | 14,20 | 15,97 | 29,00 | 39,50 | |
| - gaz butane G30 (3) | Kg/h | 3,70 | 5,61 | 7,34 | 8,25 | 14,98 | 20,41 |
| litre/h | 6,41 | 9,74 | 12,73 | 14,32 | 26,00 | 35,42 | |
| - Fioul (4) | kg/h | 3,95 | 6,00 | 7,84 | 8,82 | 16,0 | 21,8 |
| Type d'appareil | B23 | ||||||
| Débit d'air +20°C | Nm3/h | 2.800 | 4.500 | 5.300 | 6.300 | 11.500 | 15.300 |
| Élévation de temp. ΔT | °C | 43 | 41 | 45 | 45 | 43 | 45 |
| Tarage airstat | °C | 25-35-100 | |||||
| Temp. de fonction. | °C | -5/+40 | |||||
| Alimentation électrique | 230V 50Hz ~ | 400V 3N 50Hz ~ | |||||
| Puisance élect moteur | kW | 0,25 | 0,59 | 0,73 | 0,73 | 2,20 | 3,00 |
| Intensité maxi absorbée | A | 2,6 | 6,7 | 7,6 | 7,6 | 5,1 | 7,0 |
| Degrés de protection | IP | 20 | |||||
Condition de base 1013 mbar, 15°C, P. C. I. 8570 kcal/m3 Condition de base 1013 mbar, 15°C, P. C. I. 11070 kcal/kg - 5635 kcal/l Condition de base 1013 mbar, 15°C. P. C. I. 10905 kcal/kg - 6285 kcal/l Condition de base: 1013 mbar, 15°C, P. C. I. 10200 kcal/kg
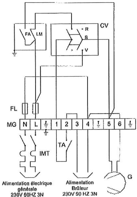
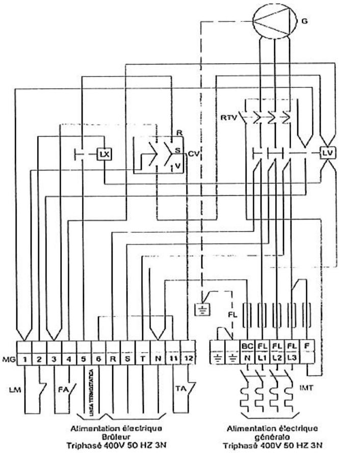
Schemas electriques
Types 1 à 4

Types 5 à 7

G Moteur ventilateur LV Contacteur de ligne CV Sélecteur Chauffage/Arrêt/Ventilation LX Relais sécurité surchauffe MG Bornier général LM Airstat LIMIT (100^) FA Airstat FAN (25/35°C)

RTV Relais thermique BC Barrette de neutre FL Fusible de ligne F Fusible de commande *TA Thermostat d'ambiance *IMT Disjoncteur magnétothermique
*Non fourni avec l'appareil, à la charge de l'installateur
Le générateur d'air chaud est livré, fixé (par vis) sur palette bois et protégé par un emballage carton pour les types 1 à 4, et film bulle pour les types 5 à 7.
Avec le générateur, sont fournis dans une pochette plastique
La notice technique
Pour les types 5 à 7 :
Le plenum de soufflage qui devra être assemblé et monté. Les vis de fixation.
Une notice d'assemblage du plénum

Les notices techniques font partie du matériel et nous recommandons de les lire et de les conserver.

Types 1 à 4
Types 5 à 7
| Dimensions | 1 | 2 | 3 | 4 | 5 | 6 | 7 | |
| A | 460 | 540 | 680 | 760 | 900 | 1000 | 1200 | mm |
| B | 750 | 800 | 900 | 1.080 | 1300 | 1500 | 1700 | mm |
| C | 1372 | 1472 | 1657 | 1772 | 2120 | 2120 | 2350 | mm |
| X | 228 | 228 | 228 | 228 | 351 | 401 | 451 | mm |
| V | 673 | 723 | 823 | 1003 | 1230 | 1430 | 1628 | mm |
| Z | 425 | 505 | 645 | 725 | 830 | 930 | 1130 | mm |
| Poids (1) | 112 | 140 | 151 | 214 | 437 | 525 | 650 | Kg |
Poids net sans brûleur
La manutention doit être effectuée par une personne équipée du matériel adéquat.
Utiliser la palette de transport dans le cas d'une utilisation d'un chariot élévateur.
Types 1 à 4
Types 5 à 7

Attention!
Les manutentions doivent être effectuées avec prudence pour éviter tout dommage corporel et matériel. ⇒ Ne pas rester à proximité de l'appareil lors des déplacements. En cas de stockage sur plusieurs niveaux, 2 niveaux sont autorisés en respectant la stabilité.
⇒ Se renseigner sur le poids du matériel dans le cas d'une manutention à bras.
Nous conseillons l'utilisation de gants pour toutes les opérations.
Installation
Le lieu d'installation doit tenir compte des impératifs techniques propres aux matériels et des exigences rapprouvées par les différentes règles et normes de sécurité.
En cas de doute, se renseigner auprès des organismes de contrôle et sécurité.
Les générateurs d'air chaud doivent :
Être positionnés sur une surface plane.
Posséder une zone de dégagement permettant une maintenance aisée. Respecter les distances de sécurité par rapport aux matériaux inflammables. Être raccordés à une cheminée.
Etre proche d'une alimentation électrique. Etre facilement accessible. A Proximate des ventilations prévue par la réglementation.
L'installation est interdite :
Dans un local à atmosphère corrosive. Dans un local où le niveau sonore peut nuire par réverbération ou résonance. Dans un local en dépression. À un endroit où la reprise d'air du ventilateur serait insuffisante. À l'extérieur.
Zone de dégagement


Expériences d'installations

Au centre du local Avec soufflage sur 4 côtés

Contre une paroi Avec soufflage Sur 3 côtés

Dans un angle Avec soufflage Sur 2 côtés

Le soufflage sur 1 seul côté est INTERDIT

Montage du PLENUM de soufflage
L'appareil est équipé d'un plénum de soufflage muni d'aillettes régulibles. Le réglage doit assurer :
Une bonne diffusion d'air, Une résistance minimale, Aucune gène aux personnes.

Important!
La diffusion d'air sur un seul côté est INTERDIT. Les ailettes doivent être ouvertes au minimum sur 2 à 4 côtés, et avoir une inclinaison au moins supérieure à.

Sens d'orientation des ailettes
Sur les générateurs type 1 à 4 le plénum est déjà monté sur l'appareil.
Sur les générateurs 5 à 7 le plénum est livré démonté.
Pour le montage et l'installation précéder comme suit :
- Après avoir positionné le générateur à l'endroit de l'installation, le déballer.
- Enlever le support (1).
- Remonter la grille de reprise.
Récapuchonner les ailettes de diffusion (3) dans le caisson de ventilation après avoir démonté l'une des 2 grilles de reprise d'air.

- Monter les panneaux pliés (2) en utilisant les vis fournies.
- Monter les panneaux pliés (3) en utilisant les vis fournies.

- Mettre en place le diffuseur assemblé sur le générateur et vérifier que le trou de l'airstat soit positionné vers le devant de l'appareil (côté brûleur). - Fixer le plenum en utilisant les vis fournies.

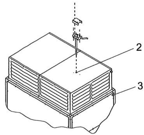
Montage de l'airstat
Sur les générateurs type 1 à 4, l'airstat est déjà monté. Sur les générateurs 5 à 7, l'airstat est raccordé électriquement et glissé dans la chambre de combustion pour le protéger durant le transport.
Pour le montage, procéder comme suit : (après avoir monté le plenum)
Extraire l'airstat de la chambre de combustion

Pour la récapération, manipuler l'airstat (1) avec précaution en évitant toute déformation.
- Insérer l'airstat dans le trou (2) sur la partie supérieure du plenum et le fixer avec les vis fournies. Fixer sur le plenum les passes cables (3) servant au maintien du cable de l'airstat.


- Fixer le câble sur les passes cables (4).
Le câble doit être fixé dans les passes câbles de telle manière qu'il ne soit pas en contact avec les parties chaudes de la jaquette. Avant la mise en service, vérifier le réglage de l'airstat. (25-35-100 °C)

TARAGE de l'airstat
Le générateur est fourni avec l'airstat taré suivant le tableau ci-dessous :
| Fonction FAN | 25-35 °C |
| Fonction LIMIT | 100 °C |
Dans le cas d'une intervention sur le réglage de l'airstat, suivre les indications ci-dessous;
Légende:
- Bouton poussoir blanc ventilation automatique/manuelle
- Raccordement électrique FAN
- Cadran gradué
- Trou pour la fixation
- Indice de température d'arrêt du ventilateur
- Indice de température sécurité brûleur
- Fixation des fils électriques : appuyer avec la pointe d'un tournevis pour débloquer le contact, enfiler le fil électrique, relâcher le tournevis pour le blocage.

Attention!
S'assurer de la bonne fixation du fil en tirant légèrement.
- Indice de température de démarrage du ventilateur
- Raccordement électrique fonction LIMIT.
- Bouton pouvoir rouge réarmement sécurité
- Shunt métallique

Attention!
Pour le générateur type 1 à 4 le shunt métallique doit être présent.
Pour les générateurs type 5 à 7 le shunt métallique doit être supprimé.

GAINDE Soufflage
Il est possible de raccorder un conduit pour véhiculer un petit volume d'air dans un autre local. (Ø 150 pour générateurs type 1 à 2; Ø 300 pour les générateurs 3 et 7).
- Ouverture prédécoupée
- Virole non fournie
- Conduit (non fourni)

Pour éviter tout incident avec les parties mobiles, il est absolument interdit de faire fonctionner l'appareil si les parties notées ci-contre sont démontées.
Raccordement electrique
Le générateur est livré câble. Pour son raccordement, se rapporter à la page 9. Le raccordement électrique devra être effectué par un personnel qualifié et dans le respect des normes en
✓ Panneau avant inférieur Panneau arrière Panneau de reprise latérale Capot du brûleur
Brûleur. Utiliser les presses étoupe et le bornier de raccordement. Pour la définition des câbles d'alimentation se référer au tableau ci-dessous.
TABLEEAU POUR LA DEFINITION DE LA LIGNE ELECTRIQUE
| GENERATEUR TYPE | Tension Alimentation (V-50Hz) | Puisance électrique (1) (W) | Courant max absorbé (1) (A) | Fusible de ligne (2) (A) | Fusible de commande (2) (A) | Section des conducteurs de ligne (3) (mm2) | Section des conducteurs de terre (3) (mm2) |
| 1 | 230V 3N- | 250 | 2,6 | 10 | - | 1,5 | 1,5 |
| 2 | 230V 3N- | 600 | 6,7 | 10 | - | 1,5 | 1,5 |
| 3 | 230V 3N- | 730 | 7,6 | 10 | - | 1,5 | 1,5 |
| 4 | 230V 3N- | 730 | 7,6 | 10 | - | 1,5 | 1,5 |
| 5 | 400V 3N- | 2200 | 5,2 | 10 | 2 | 1,5 | 1,5 |
| 6 | 400V 3N- | 3000 | 7,1 | 12 | 2 | 2,5 | 2,5 |
| 7 | 400V 3N- | 4000 | 9,2 | 16 | 2 | 2,5 | 2,5 |
(1) Sans brûleur (2) Fourni avec le générateur (3) La section des conducteurs électriques est déterminée pour une longueur de 30 mètres et une perte en ligne inférieure à 5%.
Passage des CABLES electriques
La protection des câbles électriques doit être adaptée au générateur. Pour accéder au coffret électrique de commande, procéder comme suit :
- Enlever le panneau avant inférieur (1) du générateur après avoir dévissé les vis de fixation.

- Enlever le couvercle du coffret électrique (2) après avoir dévissé les vis de fixation.

- Faire passer les câbles dans les pressions étoupe.
- Pour le raccordement de l'alimentation électrique et du thermostat d'ambiance, se reporter aux schémas électriques de la page 9.
- Pour le raccordement du brûleur, se reporter aux instructions de la notice du brûleur.

La section des câbles et les caractéristiques des fusibles devront être conformes aux tableaux de la page précédente.
S'assurer des bonnes connections électriques et remonter le couvercle du coffret et le panneau avant inférieur.
Types 1 à 7

Obligation:
Utiliser un disjoncteur magnétothermique conforme à la norme CEI-EN (ouverture de 3 mm mini des contacts). ⇒ Respecter la polarité phase/neutre. ⇒ Protéger et fixer correctement les câbles électriques. ⇒ Éviter les contacts directs avec les parties chaudes du générateur. ⇒ Réaliser une bonne connexion de terre. Le conducteur de terre sera légèrement plus long que les conducteurs de phase, de telle manière qu'il soit le dernier à être déconnecté en cas d'incident.

Le constructeur ne pourra être tenu comme responsable d'éventuels incidents si les raccordements ne sont pas conformes aux prescriptions des schémas électriques.

Dans le cas d'un générateur équipé d'un brûleur gaz, il est interdit d'utiliser la canalisation gaz comme mise à la terre.
SORTIE FUMEE
La prise de mesure s'effectue suivant le croquis ci-dessous.

| DIMENSIONS | TYPES | ||||||
| 1 | 2 | 3 | 4 | 5 6 | 7 | ||
| ∅ | 120 | 150 | 180 | 200 | 250 | 300 | mm |
| H | 1175 | 1305 | 1430 | 1570 | 1905 | 2160 | mm |
Le montage, la mise en service et la maintenance du générateur d'air chaud doivent être effectués par un personnel qualifié.

La cheminée doit assurer une dépression minimum suivant les normes techniques.

Une cheminée non appropriée peut amplifier le bruit de combustion et modifier les caractéristiques de combustion.

Les joints utilisés doivent résister à une température de 350°C

Les conduits horizontaux sont à limiter voir éliminer.

Les conduits de fumées devraient être de surface interne lisse, de section au moins égale à la virole du générateur et conforme aux spécifications techniques.

Eviter les coudes et les réductions de section.

Prévoir un accès pour la mesure de combustion.
Montage du bruleur
Pour le montage du brûleur, le raccordement électrique et le réglage, se reporter à la notice technique du brûleur.

Dans le cas d'une alimentation gaz, s'assurer que la ligne soit étanche et nettoyer les divers résidus provoqués par la mise en œuvre. Il est conseillé d'installer en avant du brûleur un filtre gaz de dimension ajustée.

Dans le cas d'une alimentation fioul, il est nécessaire d'installer un filtre ajusté.

Regulation
TABLEAU BRULEUR / GENERATEUR
Sélection brûleur :
Brûleur gaz et rampe de marque RIELLO
| Type | Modèle bruleur | Code brûleur | Modèle rampe | Code rampe | Alimentation électrique |
| 1 | BS1 | 3761112 | MBC 65/1FA | 3970562 | 230V 50Hz- |
| R4OFS5 | 3756602 | MB 05/1 | 3970075 | ||
| 2 | BS2 | 3761212 | MBDLE 405 | 3970547 | 230V 50Hz- |
| R40FS8 | 3756702 | MB 05/1 | 3970075 | ||
| 3 | BS3 | 3761316 | MBDLE 407 | 3970548 | 230V 50Hz- |
| R4OFS8 | 3756702 | MB 07/1 | 3970076 | ||
| 4 | BS3 | 3761316 | MBDLE 407 | 3970548 | 230V 50Hz- |
| R4OFS15 | 3756802 | MB 07/1 | 3970076 | ||
| 5 | BS4 | 3761416 | MBDLE 410 | 3970549 | 230V 50Hz- |
| R4OFS20 | 3756902 | MB10/1 | 3970077 | ||
| 6 | RS.5 | 3761916 | MBDLE 412 | 3970550 | 230V 50Hz- |
| RS28/1 | 3782005 | MB12/1 | 3970144 | ||
| 7 | RS44/1 MZ t.c. | 3788600 | MB 15/1 | 3970180 | 230V 50Hz- |
| R538/1 | 3782105 | MB15/2 | 3970183 |

Attention!
Le marquage CE de l'ensemble est obligatoire. Pour une utilisation de brûleur de marque différente au brûleur noté dans le tableau ci-dessus, consulter le fabricant.
Brûleur fioul de marque RIELLO
| Type | Modèle brûleur | Gicleur 60°W Q'té x taille | Alimentation Électrique |
| 1 | REG 5 | n°1x1,00 | 230V 50Hz |
| 2 | R40G10RG2 | n°1x1,50n°1x1,50 | 230V 50Hz· |
| 3 | R40G10RG2 | n°1x1,75n°1x1,75 | 230V 50Hz· |
| 4 | R40G10RG2 | n°1x2,00n°1x2,00 | 230V 50Hz· |
| 5 | R40 G20RG 4S | n°1x3,50n°1x3,50 | 230V 50Hz — |
| 6 | RL 28 tcRL 28/1 t.c. | n°2x2,25n°2x2,25 | 230V 50Hz — |
| RG 5 S | n°2x2,25 | ||
| 7 | RL 38 t.c.RL 34/1 MZ t.c. | n°2x3,50n°2x3,50 | 230V 50Hz — |
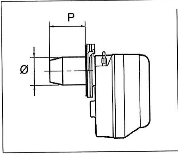
Reglage du bruleur
Le montage et le réglage du brûleur doivent être effectués par un personnel qualifié en se reportant scrupuleusement à la notice du brûleur.
Le réglage de l'air de combustion dépend du conduit de cheminée ; le réglage du volet s'effectuera conformément aux indications de la notice du brûleur.
Important
Dans le cas d'un remplacement de générateur en utilisant le brûleur existant, vérifier :
que les caractéristiques du générateur soient adaptées aux caractéristiques du générateur.
que le diamètre et la longueur de la buse du brûleur correspondent aux valeurs du tableau ci-dessous.

| DIMENSIONS | TYPE | |||||||
| 1 | 2 | 3 | 4 | 5 | 6 | 7 | ||
| P | 80 | 80 | 80 | 80 | 150 | 130 | 130 | mm |
| ø max | 120 | 120 | 220 | 170 | 170 | 220 | 220 | mm |
Dans le cas d'une longueur de buse supérieure, celle-ci ne doit pas être supérieure de 20% aux valeurs indiquées.
Preparation a la première mise en service
Avant d'effectuer la mise en service et la mise sous tension du générateur, vérifier :
- que le film protecteur posé sur les panneaux soit enlevé,
- que les ailettes de soufflage soient ouvertes et réglées en fonction du local à chauffer.

Utiliser les protections adéquates (gants,...) Il est obligatoire d'ouvrir les ailettes de soufflage d'air avant l'installation. L'ouverture des ailettes s'effectue par leurs extrémités.
- Que les distances autour du générateur soient respectées (voir page 12).
- Que les vannes de barrage du combustible soient ouvertes.
- Que tous les raccordements électriques des composants (brûleurs, thermostats,...) soient effectifs.
- La polarité Phase Neutre doit être, impérativement, respectée.
- Le raccordement à la terre est obligatoire.



Mise en service
Après avoir effectué les opérations de préparation à la mise en service, démarrer le générateur comme suit :
- Positionner l'interrupteur général sur marche.
- Activer le mode "VENTILATION"
- Positionner le sélecteur (1) sur "VENTILATION". Le brûleur restera arrêté, mais le ventilateur centrifuge démarrera pour assurer un brassage d'air ambiant.
- Désactiver le mode "VENTILATION"
- Positionner le sélecteur (1) sur "0" (arrêt). Le ventilateur centrifuge s'arrête instantanément.
- Activer le mode "CHAUFFAGE"
Régler le thermostat d'ambiance à la température désirée (18^)
- Positionner le sélecteur (1) sur "CHAUFFAGE"
Le générateur effectuera sa phase de démarrage. Une minute environ après la présence de flamme au brûleur, le ventilateur expulsera les calories dans l'ambiance à chauffer.
Le générateur continuera à fonctionner jusqu'à atteindre la température de consigne ; à l'ouverture du contact du thermostat d'ambiance, le brûleur s'arrêtera instantanément ; le ventilateur continuera à fonctionner 4 minutes environ.
Ces phases de fonctionnement se succéderont automatiquement sur la base de la température de consigne.
- Désactiver le mode "CHAUFFAGE"
- Agir sur le thermostat d'ambiance ou basculer le sélecteur (1) sur "0" (arrêt).
Le brûleur s'arrêtera instantanément, le ventilateur s'arrêtera 4 minutes environ après.

Ne jamais couper l'alimentation générale de l'appareil lorsqu'il est en fonctionnement. Une telle manœuvre provoquerait une surchauffe et le déclenchement de l'airstat LIMIT.

À la première mise en service, on peut constater des odeurs et de la fumée, qui sont causées par l’évaporation des liquides (huiles,...) nécessaires à la fabrication de l’échangeur de chaleur. C’est une phase normale qui disparaît très vite. Il est nécessaire d’aérer le local, le cas échéant.


En cas d'anomalie de fonctionnement, le générateur peut effectuer deux types d'arrêt :
- "Arrêt en sécurité" signalé par le voyant rouge sur le brûleur.
Après une mise en sécurité, attendre 30secondes environ avant d'effectuer le Reset (le réarmement).
Pour effectuer le réarmement, appuyer sur le bouton poussoir/voyant du brûleur et attendre le démarrage de la flamme.
En cas d'échec, cette opération peut être effectuée 2 ou 3 fois maximum : puis vérifier :
- les instructions de la notice technique du brûleur,
- le chapitre "préparation à la première mise en service",
- le raccordement électrique.
- Arrêt en sécurité surchauffe
Après mise en sécurité de surchauffe, attendre 10 minutes avant la remise en route, ou activer le mode ventilation (page 21) pour réduire le temps d'arrêt.
- Appuyer sur le bouton poussoir (1) de l'airstat Limit.
Ou bien
- Réarmer le relais thermique (sur les générateurs types 5 à 7 uniquement) à l'intérieur du coffret électrique si c'est un problème de surchauffe du moteur de ventilation.
En cas d'échec, cette opération peut être répétée 2 ou 3 fois maximum, puis vérifier :
- le chapitre "PREPARATION A LA PREMIÈRE MISE EN SERVICE"
- les raccordements électriques
- le chapitre "Contrôlé"


Thermostat d'ambiance
Le thermostat d'ambiance s'installe dans le local à chauffer à 1.5 m environ du sol à l'abri des courants d'air.
Il agit directement sur le brûleur pour maintenir la température de confort.
Son utilisation est obligatoire.
Controle
Pour s'assurer d'un fonctionnement correct, il est nécessaire d'effectuer le contrôle de quelques paramètres fondamentaux. Démarrer l'appareil et:
Vérifier que le ventilateur démarre 1 minute environ après le brûleur.
Avec le générateur en régime stabilisé, (après 20 minutes de fonctionnement) effectuer les opérations suivantes:
Vérifier qu'il n'y a pas de fuite de combustible. Vérifier le début de combustible au compteur (si possible).
Vérifier que le tarage de l'airstat corresponde aux valeurs indiquées dans le chapitre (CHARACTERISTIQUES TECHNIQUES).
Vérifier que la température des fumées correspondant aux valeurs indiquées dans le chapitre (CHARACTERISTIQUEUS TECHNIQUES) tolération +/-10°C. Verifier que l'airstat se stabilise entre 50 et 60°C et qu'il n'y a pas coupure par la LIMIT. Verifier que le T entre le chauffage Tm et la reprise Tr corresponde aux valeurs indiquées dans le chapitre CHARACTERISTIQUES TECHNIQUES. tolération ± 5^ Faire tourner le disque de l'airstat pour simuler une surchauffe et vérifier l'arrêt du brûleur.
Ouvrir le contact du thermostat d'ambiance et s'assurer qu'il n'y a pas arrêt simultané du brûleur et du ventilateur.
Vérifier que l'intensité absorbée par le moteur du ventilateur soit inférieure ou égale aux valeurs de la plaque signalétique. Vérifier que le réglage du relais thermique soit adapté à l'intensité absorbée par le moteur. (Seulement pour les générateurs types 5 à 7). Vérifier que le ventilateur tourne pendant 4 minutes environ après l'arrêt du brûleur.
Chauffage / arrêt / ventilation
Fixé sur le coffret électrique, il permet la sélection de fonctionnement :
Basculé sur le symbole "Chauffage" le générateur fonctionne automatiquement en fonction de la température de confort. Basculé sur le symbole "Ventilation" le générateur fonctionne en ventilation seule ; pour brasser l'air ambiant en été, le brûleur est à l'arrêt. Basculé sur le symbole "Stop" arrêt du générateur. Après un fonctionnement chauffage, le ventilateur tournera 4 minutes environ.


Important!
Une puissance thermique trop basse et/ou un débit d'air trop élevé peut provoquer des phénomènes de condensation des produits de combustion, avec pour conséquence une corrosion de l'échangeur de chaleur. Il est obligatoire de vérifier l'absence de condensations à l'intérieur de l'échangeur de chaleur le générateur étant en fonctionnement stabilisé (1/2 heure). Pour ce faire, débrancher le conduit des fumées et vérifier qu'il n'y a pas d'humidité dans la boîte à fumée.
Entretien
Pour un bon fonctionnement et une bonne longévité du générateur d'air chaud, il est recommandé d'effectuer périodiquement les opérations de nettoyage et de maintenance. Ces opérations devront être effectuées par un personnel qualifié.
Entretien de l'échangeur
Le nettoyage de l'échangeur doit être effectué par un personnel qualifié et en respectant les normes. Une visite annuelle en début de période de chauffe est conseillée. Procéder comme suit :
Types 1 à 4
- Démonter le panneau arrière (1), la trappe de visite (2), le brûleur suivant les indications de la notice technique et extraire le diaphragme (uniquement pour les modèles 1 à 2). Ramoner l'échangeur (3).
- Aspirer au travers de l'ouverture du brûleur (9) les dépôts tombés dans le foyer (8).
- Aspirer les dépôts de suie dans le collecteur (4) à travers le conduit de cheminée (5) (pour les types 1 à 3 uniquement).
Types 5 à 7
- Démonter le panneau avant supérieur (1), la trappe de ramonage (2) et le brûleur suivant la notice technique.
- Ramoner l'échangeur.
- Aspirer au travers de l'ouverture du brûleur (9) les dépôts tombés dans le foyer (8).
- Aspirer les dépôts de suie dans le collecteur (4) après avoir ouvert les trappes de visite latérales (10).

Il est conseillé d'utiliser des gants de protection. Pour tous travaux en hauteur, le mode d'accès devra être approprié et assurer toutes les sécuritéς.
Les opérations devront être effectuées avec l'appareil froid, alimentation électrique et combustible coupés.

Entretien periodique du ventilateur
Types 1 à 4
Le moteur est directement monté sur la volute du ventilateur.
Le moteur ne nécessite pas d'entretien, seulement un nettoyage externe.
Types 5 à 7
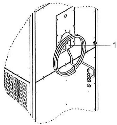
L'entretien du ventilateur consiste à dépoussierer les aubes de la turbine et ôter les éventuels corps étrangers sur ou à proximité du ventilateur.
Contrôler périodiquement la tension de la courroie : la flèche doit être de 20 mm environ. Pour régler la tension, opérer comme suit :
- Mise hors tension du générateur par le sectionneur général.
- Oter la grille de protection (à la reprise).
Dévisser les boulons (3) de fixation du moteur.
Tendre la courroie (1) en vissant les boulons (2)
jusqu'à abutter une flèche de 20 mm sur la courroie.
Revisser les boulons (3).
Vérifier l'alignement des poulies motrice et réceptrice. L'entretien du moteur consiste seulement à nettoyer le capot de protection de l'hélice de refroidissement.


L'airstat ne nécessite aucun entretien particulier.

La fonction LIMIT est réglée en butée et ne doit pas être modifiée. La fonction FAN est réglée en usine et il est déconseillé modifier les valeurs.
Le constructeur ne sera pas responsable des dommages causés dans le cas d'un réglage incorrect de l'airstat.

Entretien du bruleur
Pour l'entretien du brûleur, se reporter à sa notice technique spécifique.



Notice Facile