GECO 100 - Générateur d'air chaud S.PLUS - Notice d'utilisation et mode d'emploi gratuit
Retrouvez gratuitement la notice de l'appareil GECO 100 S.PLUS au format PDF.
| Type d'appareil | Générateur d'air chaud |
| Modèles | GECO 70 à GECO 390 |
| Fonction principale | Chauffage, ventilation, rafraîchissement |
| Usage | Intérieur ou extérieur (non précisé) |
| Technologie | Air chaud |
| Silence | Silence maximum |
| Qualité | Produit innovant et de qualité |
| Rendement | Haut rendement |
| Sécurité | Assure la sécurité pour longtemps |
| Installation | Installation professionnelle recommandée |
| Entretien | Non précisé |
| Dimensions | Non précisées |
| Poids | Non précisé |
| Alimentation | Non précisée |
| Garantie | Non précisée |
| Fabricant | Non précisé |
FOIRE AUX QUESTIONS - GECO 100 S.PLUS
Téléchargez la notice de votre Générateur d'air chaud au format PDF gratuitement ! Retrouvez votre notice GECO 100 - S.PLUS et reprennez votre appareil électronique en main. Sur cette page sont publiés tous les documents nécessaires à l'utilisation de votre appareil GECO 100 de la marque S.PLUS.
MODE D'EMPLOI GECO 100 S.PLUS
Nous vous remercions d'avoir choisi un générateur d'air chaud série GECO, produit innovant, moderne, de qualite et d'un haut rendement. Cet apparil vous assurar e bien etre, un silence maximum et la sécurité pour longtemps.
Cette notice technique contient des informations importantes qui devront ettre attentivement consultees avant l'installation et afin d'assurer laicieure utilisation du générateur GECO.
Merci encore.
S.PLUS
Les générateurs d'air chaud série GECO son conformes :
Aux directives machines 89/392/CEE, 93/44/CEE et 93/68/CEE,
A la directive basse tension 73/22/CEE.
GAMME
Dans cette notice les descriptions commerciales sont remplacés par des indices de 1 à 8 de la rubrique "Type". Tableau des équivalences ci-dessous :
| Type | Modèle | Type | Modèle |
| 2 | GECO 70 | 6 | GECO 260 |
| 4 | GECO 100 | 7 | GECO 390 |
| 5 | GECO 190 |
GARANTIE
Les appeareils sont garantis un an contre tous les vices de fabrication, sous reserve d'être installés par des professionnels qualifiés, conformément à la reglementation en vigueur, aux instructions figurant sur nos notices de montage et dans la mesure où ils fonctionnent dans des conditions normales d'utilisation.
La garantie prenda efect a la date de mise en service, au plus tard dans les six mois après mise a disposition du materiel par S.PLUS et a reception chez S.PLUS, dans les 15 jours qui suiveit la mise en service, du bon de garantie atteste et signe. Nous déclinons toute responsabilité et aucune garantie ne serait applicable en cas d'installations defectueuses, mal adaptees ou non conformes aux Normes en vigueur. La garantie se limite a la remise en etat ou a l'échange gratuite, après contrôle de notre part, de la (des) piece(s) par une piece identique ou similaire. Les frais de main d'oeuvre, de displacement, d'accession sur le chantier au materiel et de transport sont exclus. Tout remplacement realized during the pioide de garantie, meme si celui-ci necessite une immobilisation du materiel, ne peut en aucun cas prolonger la durée de cette garantie. Aucun dommage et interet ne pourra etre réclame pour préjudice indirect, commercial ou autre.
Ne peuvent être pris en considération et couverts par notre garantie les dommages incombant :
A des phénomènes extérieurs
A des négligences de l'utilisateur
Au non respect des consignes stipulées dans nos documents, détiéroration due à une mauvaise manipulation au cours du transport, ou à une fausse manœuvre.
A l'utilisation d'accessoires autres que ceux d'origine
Au défaut de surveillance et d'entretien.
Que ce soit à l'égard de l'acheteur ou de toute autre personne, notre société ne pourra enaucun cas être tenue pour responsable des dommages corporels ou matériels de quelque nature quils soient, qui pouraient etre provoqués par nos produits ou qui seraient la conséquence directe ou indirecte de l'utilisation desdits produits.
les papeils sont garantis un an contre tous vis de fabrication, sous reserve d'etre installes par des professionnels qualifiés, conformément à la reglementation en vigueur, aux instructions figurant sur nos notices de montage et dans la mesure ou ils fonctionnent dans les conditions normales d'utilisation.
SOMMAIRE
GENERALITE
Informations generales 4
Règles fondamentales de sécurité 5
Description de l'appareil 6
Coffret de commande 7
Identification 8
8
Schemas electriques 9
INSTALLATION
Réception du produit 10
Dimensions 10
Manutention et transport 11
Mise en place 11
Montage du plénum 12
Montage de l'airstat 14
Tarage de l'airstat 15
Réseau de soufflage 16
Protection 16
Raccordement electrique 16
Sortie de fumée 18
Installation du brûleur 19
Régulation 19
ENTRETIEN
Préparation à la mise en service 21
Mise en service 22
Commande 24
- Contrôle 24
Entretien 25
Defaut et dépannage 27
Les symboles utilisés dans ce manuel :


ATTENTION : Actions imposant un sein et Une préparation particulière.
INTERDIT : Action qui NE DOIVENT ABSOLUMENT PAS être effectuees.
GENERALITE
Ce manuel d'informations techniques fait partie intégrante de l'appareil, il doit donc être conservé avec soin, et toujours accompagner l'appareil, même en cas de cession à un autre propriété ou utilisateur. En cas de perte ou de destruction duprésent manuel, en demander un autre aux Services Techniques du Constructeur.
Il est indispensable de vérifier l'etat du matériel livre, même si l'emballage parait intact. En cas de déterioration ou d'appareil (ou accessoires) manquant, les réserves devront être faites sur le récepisé du transporter et confirmées à celui-ci par lettuce recommandaee sous 48 heures.
L'installation des générateurs série GECO doit être effectue, par une entreprise habilitée, qui en fin de travail délivre au propriétaire une attestation de conformité d'installation réalisée dans les régles de l'art, et donc selon les normes en vigueur et les indications fournies par le Constructeur dans le现行 manuel.
A Ces appeareils sont concus pour le chauffage d'ambiances et doivent etre destinés uniquement a cet usage. Est exclue toute responsabilité du Constructeur pour des dommages causés à des personnes, des animaux ou des objets et resultant d'erreurs d'installation, de réglage et de maintenance, ou d'utilisations impropres.
Les interventions de réparation et / ou maintenance doivent être effectues par un personnel autorisé et qualifié, comme prévu dans cette notice. Ne pas modifier la pression gaz ou transformer l'appareil, dans la mesure où cela pourrait creer des situations dangereuses, et auquel cas le Constructeur ne sera pas responsable des dommages provoqués.
Les installations à effectuer (canalisation, raccordements électriques, etc...) doivent être protégées de manière ajustée et ne doivent enaucun cas constituer des obstacles susceptibles de faire trébucher.
Une température tropéelevée n'est pascomfortable et constitue un inutile gaspillage d'énergie.
Lors de la première mise en fonctionnement il est possible qu'une odeur se dégage du circuit d'air. situation très passagère est normale il s'agit de l'évaporation des graisses de fabrication de l'échangeur. Aérer le local sachant que très rapidement l'odeur disparaitra.
Dans le cas où une longue période de non- fonctionnement serait prévue, basculer l'interrupteur principal de l'appareil et l'interrupteur général de l'installation sur la position arrêt
Lors de la remise en fonctionnement, il est conseilé de faire appel à un personnel qualifié. Les apparêls ne doivent être équipés que d'accessoires d'origine. Le Constructeur ne sera pas responsable de dommages eventuels resultant de l'usage impropre de l'appareil et de l'utilisation de matériels et accessoires non standards.
Les apparêils doivent être équipés exclusivement avec les accessoires d'origine. Le Constructeur ne sera pas tenu responsable d'un quelconque dommage issu de l'emploi d'un accessoire inapproprié avec l'appareil.
Les références aux normes, régles et directives citées dans le现行 manuel sont données à titre informatif et ne sont valides qu'à la date d'édition de celui-ci. L'entrée en vigueur de nouvelles dispositions ou de modifications à celles existantes ne donnent pas naissance à une obligation du Constructeur vis à vis des tiers.
A Le Constructeur est responsable de la conformite de l'appareil aux régles, directives et normes de construction en vigueur au moment de la commercialisation. La connaissance et le respect des dispositions légales ainsi que des normes inherentes à la conception, l'implantation, l'installation, la mise en route et la maintenance sont exclusivement à la charge du bureau d'étude, de l'installateur et de l'utilisateur.
Le Constructeur n'est pas responsable du non respect des instructions contenues dans la presente notice, des conséquences de toute manœuvre effectuee ou non.
REGLES FONDAMENTALES DE SECURITE
L'utilisation d'un produit qui fonctionne avec de l'énergie électrique, fioul ou gaz, doit respecter quelques règles de sécurité fondamentales :
L'utilisation de l'appareil par des enfants est interdite, ainsi qu'aux personnes inaptes non assistées.
Il est interdirit de mettre en marche l'appareil en cas de perception d'odeur de gaz ou de fumée. Dans ce cas, proceder comme suit:
Aérer le local en ouvrant portes et fenêtres,
Fermer la vanne de barragege gaz,
Prévenir le personnel qualifie pour une intervention rapide.
Il est interdit de toucher l'appareil pieds nus et / ou avec une partie du corps mouillée.
Est interdite toute opération de nettoyage et / ou de maintenance avant d'avoir débranché l'alimentation électrique et couper l'alimentation du combustible.
Il est interd it de modifier les systèmes de securite ou de regulation sans l'autorisation et les indications du Constructeur.
Il est interdit de tirer, de débrancher, tordre les cables électriques de l'appareil même si ces derniers sont débranchés.
Il est interdir d'ouvrir la ported acces aux composants sans avoir positionné l'interrupteur principal sur "Arrêt".
Il est interdir de laisser à la portée des enfants les emballages (carton, agrafe ...).
Il est interdirit d'installer l'appareil à proximé de matière inflammable, ou dans les locaux à atmophère agressive (produits organo-clores...)
Il est interdir de poser des objets sur l'appareil, ou de les introduire à travers la grille de soufflage.
Il est interdit de toucher l'échangeur de chaleur si celui-ci est en cours de fonctionnement chauffage.
Il est interdirit d'utiliser des adaptateurs, prises multiples et prolongateurs pour le raccordement electrique de l'appareil.
Il est interdirit d'installer l'appareil en extérieur ou dans les lieux ou il serait exposé à divers phénomènes.
Il est interdit d'installer le générateur directement dans un local depourvu de ventilation. Une dépression du local entrainerait un mauvais fonctionnement.
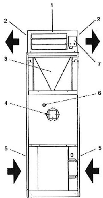
DESCRIPTION DE L'APPAREIL
Le générateur série GECO est un apparéil de chauffage par air chaud, qui utilise l'énergie thermique produit par la combustion.
L'échange thermique s'effectue au contact de la surface de l'échangeur, sans fluide intermédiaire, seulement grâce à l'action du ventilateur centrifuge qui entraîne une quantité d'air mesurée.
Les gaz de combustion produits à l'intérieur de l'échangeur, sont expulsés à l'extérieur et reliés au conduit des fumées.
Ce mode de fonctionnement permet une grande flexibilité d'installation et donc une optimisation du coût d'investissement.
Egalement, en eté, le fonctionnement seul du ventilateur assure un rafraichissement par brassage d'air.
CHARACTERISTIQUES DE CONSTRUCTION
Le générateur d'air chaud est essentiellement constitué de:
Chambre de combustion à inversion de flamme en acier inox AISI 430 haute température, faible perte thermique, de forme et volume appropriés.
Echangeur lamellaire, etanche, avec empreinte de turbulence pour un meilleur rendement thermique.
Collecteur de fumée à l'arrière.
Plénum de diffusion directe à ailette horizontally régable sur les 4 faces.

Types 1 à 4
- Plenum de soufflage
2.Sortiedair - Trappe de visite échangeur
- Passage et fixation brûleur
- Aspiration d'air
- OEilleton de flamme
- Airstat FAN — LIMIT
- Virole fumée
Carrosserie constituee de panneaux demontables points.
Isolation thermique sur toutes les faces exposées au rayonnement de l'échangeur.
Ventilateur centrifuge à double ouie d'aspiration et faible niveau sonore. Moteur monophasé directement accouplé à la turbine pour les types 1 à 5. Moteur triphasé avec transmission poulie courroie pour les types 6 à 7.
Brûleur : option.
EQUIPEMENT ELECTRIQUE
Airstat, régèle et raccordé :
2 fonctions :
-
Fonction FAN (25-35°C) régule le démarrage du ventilateur 60 s environ après le brûleur, et l'arrêt 4 mn environ après l'arrêt du brûleur. Ceci pour éviter de souffler de l'air froid.
-
Fonction LIMIT (100^) à réarmement manuel et qui arrête le brûleur dans le cas d'une surchauffe anormale.
Commutateur 3 positions. Arrêt - chauffage - ventilation.

-
Chambre de combustion
-
Ventilateur centrifuge
- Coffret électrique
- Panneau
- Collecteur des fumées
- Echangeur
- Collecteur arriré des fumées
- Ailettes directrices

Types 5 à 7

- Plenum de soufflage
2.Sortiedair - Trappe de visite échangeur
- Plaque bruleur
- Aspiration d'air
- Eilleton de flamme
- Airstat FAN - LIMIT
- Virole fumée
- Chambre de combustion
- Ventilatour centrifuge
- Support ventilator
-
Courroie
-
Moteur
- Tendeur sur glissiere
- Coffret électriche
- Panneau
- Collecteur des fumées
- Echangeur
- Collecteur arriré des fumées
- Ailettes directrices
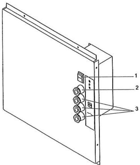
PANNEAU DE COMMANDE
Le coffret electrique monté sur le générateur permet tous les raccordements nécessaires au fonctionnement de l'appareil.


- Selecteur de fonctionnement (chauffage / Arrêt / Ventilation
- Presse etoupe
- Presse étoupe
IDENTIFICATION
Le générateur d'air chaud GECO est identifiable par la plaque signalétique collée sur le côte de l'appareil.

(Example non contractuel)

En cas de perte ou destruction, réclamer un duplicata au service technique.
CHARACTERISTIQUES TECHNIQUES
| TYPE | 1 | 2 | 3 | 4 | 5 | 6 | 7 | |
| Puisance thermique nominale | kW kcal/h | 46,8 40.300 | 71,1 61.200 | 93,0 80.000 | 104,6 90.000 | 190,0 163.400 | 258,8 222.600 | 391,0 336.250 |
| Puisance thermique utile | kW kcal/h | 42,2 36.300 | 64,4 55.400 | 83,9 72.100 | 94,2 81.090 | 168,2 144.600 | 230,3 198100 | 347,6 298.950 |
| Rendement | % | 90,1 | 90,5 | 90,1 | 90,1 | 88,5 | 89 | 88,9 |
| Volume chambe de combustion | dm3 | 48,8 | 77,4 | 129,5 | 228,5 | 490,0 | 640,0 | 1050,0 |
| Température nette fumée | °C | 200 | 220 | 220 | 220 | 249 | 248 | 227 |
| Consommation | ||||||||
| - gaz naturel G20 (1) | m3/h | 4,70 | 7,14 | 9,33 | 10,50 | 19,0 | 25,9 | 39,2 |
| - gaz propane G31 (2) | Kg/h | 3,64 | 5,53 | 7,23 | 8,13 | 14,76 | 20,11 | 30,37 |
| litre/h | 7,15 | 10,86 | 14,20 | 15,97 | 29,00 | 39,50 | 59,67 | |
| - gaz butane G30 (3) | Kg/h | 3,70 | 5,61 | 7,34 | 8,25 | 14,98 | 20,41 | 30,83 |
| litre/h | 6,41 | 9,74 | 12,73 | 14,32 | 26,00 | 35,42 | 53,50 | |
| - Fioul (4) | kg/h | 3,95 | 6,00 | 7,84 | 8,82 | 16,0 | 21,8 | 32,9 |
| Type d'appareil | B23 | |||||||
| Débit d'air +20°C | Nm3/h | 2.800 | 4.500 | 5.300 | 6.300 | 11.500 | 15.300 | 23.000 |
| Élévation de temp. ΔT | °C | 43 | 41 | 45 | 45 | 43 | 45 | 45 |
| Tarage airstat | °C | 25-35-100 | ||||||
| Temp. de fonction. | °C | -5/+40 | ||||||
| Alimentation électrique | 230V 50Hz ~ | 400V 3N 50Hz ~ | ||||||
| Puisance élect moteur | kW | 0,25 | 0,59 | 0,73 | 0,73 | 2,20 | 3,00 | 4,00 |
| Intensité maxi absorbée | A | 2,6 | 6,7 | 7,6 | 7,6 | 5,1 | 7,0 | 9,1 |
| Degrés de protection | IP | 20 | ||||||
(1) Condition de base 1013 mbar, 15^ , P.C.I. 8570 kcal/m3
(2) Condition de base 1013 mbar, 15^ , P.C.I. 11070 kcal/kg - 5635 kcal/l
(3) Condition de base 1013 mbar, 15^ . P.C.I. 10905 kcal/kg - 6285 kcal/1
(4) Condition de base: 1013 mbar, 15^ , P.C.I. 10200 kcal/kg
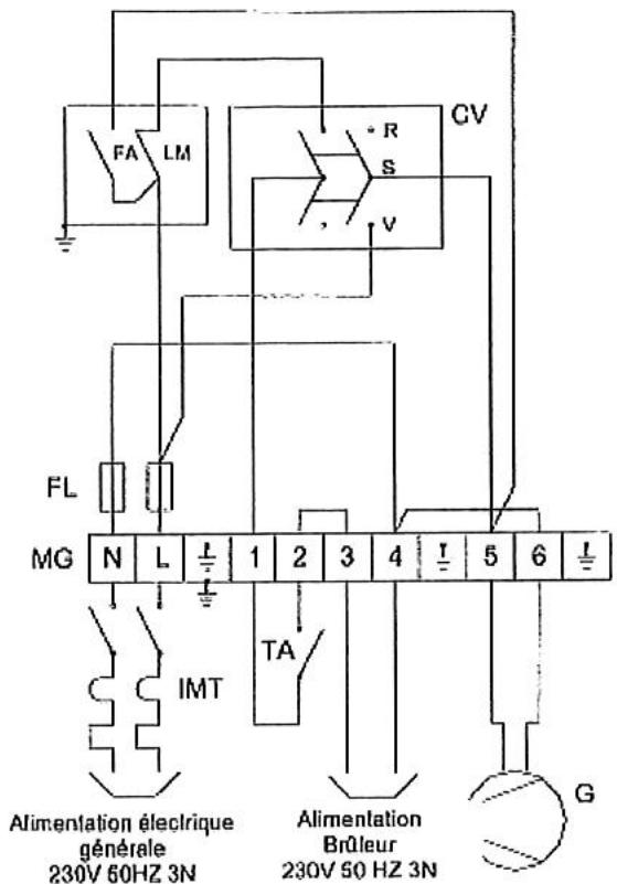
SCHEMAS ELECTRIQUES
Types 1 à 4

Types 5 à 7

G Moteur ventilateur
LV Contacteur de ligne
CV Selecteur Chauffage/Arret/Ventilation
LX Relais sécurité surchauffe
MG Bornier general
LM Airstat LIMIT (100^)
FA Airstat FAN (25/35°C)

RTV Relais thermique
BC Barrette de neutre
FL Fusible de ligne
F Fusible de commande
*TA Thermostat d'ambiance
*IMT Disjoncteur magnetothermique
*Non fourni avec l'appareil, à la charge de l'installateur
Le générateur d'air chaud est livré, fixé (par vis) sur palette bois et protégé par un emballage carton pour les types 1 à 4, et film bulle pour les types 5 à 7.
Avec le générateur, sont fournis dans unePOCHETEPlastique
: La notice technique
Pour les types 5 à 7 :
Le plénum de souffrage qui devra être assemblé et monté
Les vis de fixation
Une notice d'assemblage du plenum

Les notices techniques font partie du matériel et nous recommendons de la litre et de la conserver.

DIMENSIONS

Types 1 à 4

Types 5 à 7
| Dimensions | 1 | 2 | 3 | 4 | 5 | 6 | 7 | |
| A | 460 | 540 | 680 | 760 | 900 | 1000 | 1200 | mm |
| B | 750 | 800 | 900 | 1.080 | 1300 | 1500 | 1700 | mm |
| C | 1372 | 1472 | 1657 | 1772 | 2120 | 2120 | 2350 | mm |
| X | 228 | 228 | 228 | 228 | 351 | 401 | 451 | mm |
| V | 673 | 723 | 823 | 1003 | 1230 | 1430 | 1628 | mm |
| Z | 425 | 505 | 645 | 725 | 830 | 930 | 1130 | mm |
| Poids (1) | 112 | 140 | 151 | 214 | 437 | 525 | 650 | Kg |
(1) Poids net sans brûleur
La manutention doit être effectuee par une personne equipede du materiel adequat.
Utiliser la palette de transport dans le cas d'une utilisation d'un chariot élevateur.

Types 1 à 4

Types 5 à 7

ATTENTION!
Les manutentions doivent etre effectuees avec prudence pour eviter tout degat corporel et materiel.
Ne pas rester à proximé de l'appareil lors des déplacements.
En cas de stockage sur plusieurs niveaux, 2 niveaux sont autorisés en respectant la stabilité.
Se renseigner sur le poids du matériel dans le cas d'une manutention à bras.
Nous conseillons l'utilisation de gants pour toutes les opérations.
INSTALLATION
Le lieu d'installation doit tener compte des impératifs techniques propres aux matériels et des exigences rapprovelées par les différentes règles et normes de sécurité.
En cas de doute, se renseigner auprès des organismes de contrôle et sécurité.
Les générateurs d'air chaud doivent :
Etre positionnés sur une surface plane.
Posseder une zone de dégagement permettant une maintenance aisée.
Respecter les distances de sécurité par rapport aux matériaux inflammables.
Etre raccordes a une cheminée.
Etre proche d'une alimentation electrique.
Etre facilement accessible.
A Proximate des ventilations prévue par la réglementation.
L'installation est interdite :
Dans un local à atmophère corrosive.
Dans un local où le niveau sonore peut nuiren par réverbération ou résonance.
Dans un local en dépression.
A un endroit où la reprise d'air du ventilateur serait insuffisante.
A l'extérieur.
Zone de dégagement


Experiments d'installations

Au centre du local
Avec soufflage sur 4 côtes

Contre une paroi
Avec soufflage
Sur 3 cotés

Dans un angle
Avec soufflage
Sur 2 cotés

Le soufflage sur 1 seul cotoé est INTERDIT

MONTAGE DU PLENUM DE SOUFFLAGE
L'appareil est équipé d'un plénum de soufflage muni d'aillettes réglibres. Le réglage doit assurer :
Une bonniediffusion d'air,
Une résistance minimale,
Aucune gene aux personnes.

IMPORTANT!
La diffusion d'air sur un seul cote est INTERDIT.
Les ailettes doivent être ouvertes au minimum sur 2 à 4 côts, et avoir une inclinaison au moins supérieure à 45^ .

Sens d'orientation des ailettes
Sur les générateurs type 1 à 4 le plénum est déjà monté sur l'appareil.
Sur les générateurs 5 à 7 le plénum est livre démoncé.
Pour le montage et l'installation preceder comme suit :
- ÀpRES avoir positionné le générateur à l'endetroit de l'installation, le déballer.
- Enlever le support (1).
- Remonter la grille de reprise.
Récupérer les ailettes de diffusion (3) dans le caisson de ventilation après avoir démonté une des 2 grilles de reprise d'air.

- Monter les panneaux pliers (2) en utilisant les vis fournies.
- Monter les panneaux pliers (3) en utilisant les vis fournies.

- Mettre en place le diffuseur assemblé sur le générateur en vérifier que le trou de l'airstat soit positionné vers le devant de l'appareil (côté brûleur).
-Fixer le plenum en utilisant les vis fournies.

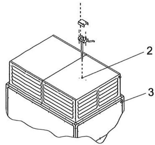
MONTAGE DE L'AIRSTAT
Sur les générateurs type 1 à 4 l'airstat est déjà monté. Sur les générateurs 5 à 7 l'airstat est raccordé électriquement et glissé dans la chambre de combustion pour le protégger durant le transport.
Pour le montage proceder comme suit : (apres avoir monté le plenum)
Extraire l'airstat de la chambre de combustion

Pour la récapération, manipuler l'airstat (1) avec précaution en évitant toute déformation.
- Insérer l'airstat dans le trou (2) sur la partie supérieure du plenum et le fixer avec les vis fournies.
Fixer sur le plenum les passe cables (3) servant au maintient du cable de l'airstat.


- Fixer le cable sur les passes cables (4).
Le cable doit être fixé dans les passée câbles de telle manière qu'il ne soit pas en contact avec les parties chaudes de la jaquette.
Avant la mise en service, vérifier le réglage de l'airstat. (25-35-100 °C)

TARAGE DE L'AIRSTAT
Le générateur est fourni avec l'airstat taré suivant le tableau ci-dessous :
| Fonction FAN | 25-35 °C |
| Fonction LIMIT | 100 °C |
Dans le cas d'une intervention sur le réglage de l'airstat suivre les indications ci-dessous ;
Legende:
- Bouton poussoir blanc ventilation automatique/manuelle
- Raccordement electrique FAN
- Cadran gradué
- Trou pour la fixation
- Indice de température d'arrêt du ventilateur
- Indice de température sécurité brûleur
- Fixation des fils électriques : appuyer avec la pointe d'un tournevis pour débloquer le contact, enfilier le fil électrique, retarder le tournevis pour le blocage.

Attention!
S'assurer de la bonne fixation du fil en tirant légrement.
- Indice de température de démarrage du ventilateur
- Raccordement electrique fonction LIMIT.
- Bouton pouvoir rouge réarmement sécurité
- Shunt métallique

Attention!
Pour le générateur type 1 à 4 le shunt metallique doit être present.
Pour les générateurs type 5 à 7 le shunt métallique doit être supprimé.

GAINDE SOUFFLAGE
Il est possible de raccorder un conduit pour vehiculer un petit volume d'air dans un autre local. (Ø 150 pour générateurs type 1 à 2; Ø 300 pour les générateurs 3 et 7).
- Ouverture prédécoupee
- Virole non fournie
- Conduit (non fourni)

PRECAUTION
Pour éviter tout incident avec les parties mobiles, il est absolument interdit de faire fonctionner l'appareil si les parties notées ci contre sont démontes.
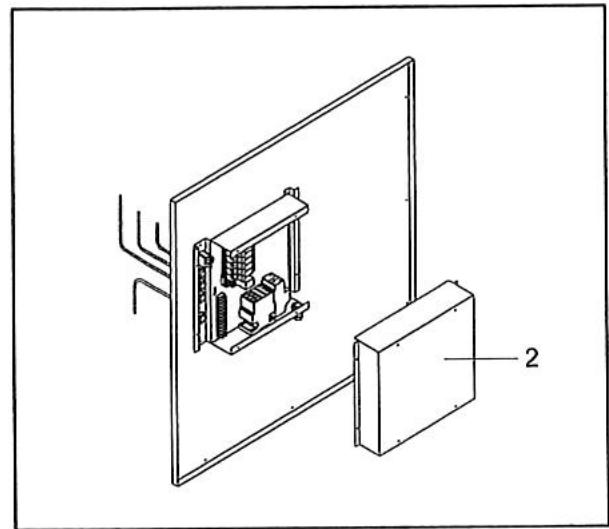
RACCORDEMENT ELECTRIQUE
Le générateur est livre cable. Pour son raccordement se rapporter à la page 9.
Le raccordement électrique devra être effectué par un personnel qualifié et dans le respect des normes en
✓ Panneau avant inférieur
Panneau arriere
Panneau de reprise latereale
Capot du bruleur
viqueur. Utiliser les presses etoupes et le bornier de raccordement. Pour la définition des cables d'alimentation se reférer au tableau ci-dessous.
TABLEAU POUR LA DEFINITION DE LA LIGNE ELECTRIQUE
| GENERATEUR TYPE | Tension Alimentation (V-50Hz) | Puisance électrique (1) (W) | Courant max absorbé (1) (A) | Fusible de ligne (2) (A) | Fusible de commande (2) (A) | Section des conducteurs de ligne (3) (mm2) | Section des conducteurs de terre (3) (mm2) |
| 1 | 230V 3N- | 250 | 2,6 | 10 | - | 1,5 | 1,5 |
| 2 | 230V 3N- | 600 | 6,7 | 10 | - | 1,5 | 1,5 |
| 3 | 230V 3N- | 730 | 7,6 | 10 | - | 1,5 | 1,5 |
| 4 | 230V 3N- | 730 | 7,6 | 10 | - | 1,5 | 1,5 |
| 5 | 400V 3N- | 2200 | 5,2 | 10 | 2 | 1,5 | 1,5 |
| 6 | 400V 3N- | 3000 | 7,1 | 12 | 2 | 2,5 | 2,5 |
| 7 | 400V 3N- | 4000 | 9,2 | 16 | 2 | 2,5 | 2,5 |
(1) Sans bruleur
(2) Fourni avec le générateur
(3) La section des conducteurs électriques est déterminée pour une longueur de 30 metres et une perte en ligne inférieure à 5% .
PASSAGE DES CABLES ELECTRIQUES
La protection des cables electriques doit etre adaptee au generateur. Pour acceder au coffret eletrique de commande, proceeder comme suit :
- Enlever le panneau avant inférieur (1) du générateur après avoir dévisse les vis de fixation.

- Enlever le couvercle du coffret électrique (2) après avoir dévisse les vis de fixation.

- Faire passer les cables dans les presses etoupes.
- Pour le raccordement de l'alimentation électrique et du thermostat d'ambiance, se reporter aux schémas électriques de la page 9.
- Pour le raccordement du brûleur, se reporter aux instructions de la notice du brûleur.

La section des cables et les caractéristiques des fusibles devront être conformes aux tableaux de la page précédente.
S'assurer des bonnes connections électriques et remonter le couvercle de coffret et le panneau avant inférieur.

Types 1 à 7

Obligation:
Utiliser un disjoncteur magnetothermique conforme à la norme CEI-EN (ouverture de 3 mm mini des contacts).
Respecter la polarité phase/neutre.
Protégé et fixer correctement les cables électriques.
Eviter les contacts directs avec les parties chaudes du générateur.
Réaliser une bonne connexion de terre. Le conducteur de terre sera légèrement plus long que les conducteurs de phase, de telle manière qu'il soit le dernier à être déconnecté en cas d'incident.

Le constructeur ne pourra etre tenu comme responsable d'eventuel incidenti si les raccordements ne sont pas conformes aux prescriptions des schemas electriques.

Dans le cas d'un générateur équipé d'un brûleur gaz, il est interdit d'utiliser la canalisation gaz comme mise à la terre.
SORTIE FUMEE
La prise de mesure s'effectue suivant le croquis ci-dessous.

| DIMENSIONS | TYPES | ||||||
| 1 | 2 | 3 | 4 | 5 6 | 7 | ||
| ∅ | 120 | 150 | 180 | 200 | 250 | 300 | mm |
| H | 1175 | 1305 | 1430 | 1570 | 1905 | 2160 | mm |
Le montage, la mise en service et la maintenance du générateur d'air chaud devont etre effectués par un personnel qualifié.

La cheminée doit assurer une dépression minimum suivant les normes techniques.

Une cheminée non appropriée peut amplifier le bruit de combustion et modifier les caractéristiques de combustion.

Les joints utilisés doivent résister à une température de 350^ .

Les conduits horizontally sont à limiter voiré éliminer.

Les conduits de fumées devraient être de surface interne lisse, de section au moins égale à la virole du générateur et conforme aux specifications techniques.

Eviter les coudes et les réductions de section.

Prévoir un accès pour la mesure de combustion.
MONTAGE DU BRULEUR
Pour le montage du brûleur, le raccordement électrique et le réglage, se reporter à la notice technique du brûleur.

Dans le cas d'une alimentation gaz, s'assurer que la ligne soit étanche et nettoyer les divers résidus provoqués par la mise en œuvre. Il est conseilé d'installer en avant du brûleur un filtr géz de dimension ajustat.

Dans le cas d'une alimentation fioul, il est nécessaire d'installer un filtré ajusté.

REGULATION
TABLEAU BRULEUR / GENERATEUR
Sélection brûleur :
Brûleur gaz et rampe de marque RIELLO
| Type | Modèle bruleur | Code brûleur | Modèle rampe | Code rampe | Alimentation électrique |
| 1 | BS1 | 3761112 | MBC 65/1FA | 3970562 | 230V 50Hz- |
| R4OFS5 | 3756602 | MB 05/1 | 3970075 | ||
| 2 | BS2 | 3761212 | MBDLE 405 | 3970547 | 230V 50Hz- |
| R40FS8 | 3756702 | MB 05/1 | 3970075 | ||
| 3 | BS3 | 3761316 | MBDLE 407 | 3970548 | 230V 50Hz- |
| R4OFS8 | 3756702 | MB 07/1 | 3970076 | ||
| 4 | BS3 | 3761316 | MBDLE 407 | 3970548 | 230V 50Hz- |
| R4OFS15 | 3756802 | MB 07/1 | 3970076 | ||
| 5 | BS4 | 3761416 | MBDLE 410 | 3970549 | 230V 50Hz- |
| R4OFS20 | 3756902 | MB10/1 | 3970077 | ||
| 6 | RS.5 | 3761916 | MBDLE 412 | 3970550 | 230V 50Hz- |
| RS28/1 | 3782005 | MB12/1 | 3970144 | ||
| 7 | RS44/1 MZ t.c. | 3788600 | MB 15/1 | 3970180 | 230V 50Hz- |
| R538/1 | 3782105 | MB15/2 | 3970183 |

ATTENTION!
Le marquage CE de l'ensemble est obligatoire. Pour une utilisation de bruleur de marque différente au bruleur note dans le tableau cidesus, consulter le fabricant.
Brûleur fioul de marque RIELLO
| Type | Modèle brûleur | Gicleur 60°W Q'té x taille | Alimentation Électrique |
| 1 | REG 5 | n°1x1,00 | 230V 50Hz |
| 2 | R40G10RG2 | n°1x1,50n°1x1,50 | 230V 50Hz· |
| 3 | R40G10RG2 | n°1x1,75n°1x1,75 | 230V 50Hz· |
| 4 | R40G10RG2 | n°1x2,00n°1x2,00 | 230V 50Hz· |
| 5 | R40 G20RG 4S | n°1x3,50n°1x3,50 | 230V 50Hz — |
| 6 | RL 28 tcRL 28/1 t.c. | n°2x2,25n°2x2,25 | 230V 50Hz — |
| RG 5 S | n°2x2,25 | ||
| 7 | RL 38 t.c.RL 34/1 MZ t.c. | n°2x3,50n°2x3,50 | 230V 50Hz — |
REGLAGE DU BRULEUR
Le montage et le réglage du brûleur doivent être effectés par un personnel qualifié en se reportant scrupuleusement à la notice du brûleur.
NOTABENE:
Le réglage de l'air de combustion dépend du conduit de cheminée ; le réglage du volet s'effectuera conformément aux indications de la notice du brûleur.
IMPORTANT
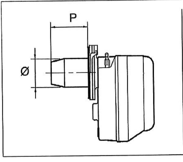
Dans le cas d'un remplacement de générateur en utilisant le bruleur existant, vérifier :
que les caractéristiques du générateur soient adequately aux caractéristiques du générateur.
que le diamètre et la longueur de la buse du brûleur correspondant aux valeurs du tableau ci-dessous.

| DIMENSIONS | TYPE | |||||||
| 1 | 2 | 3 | 4 | 5 | 6 | 7 | ||
| P | 80 | 80 | 80 | 80 | 150 | 130 | 130 | mm |
| ø max | 120 | 120 | 220 | 170 | 170 | 220 | 220 | mm |
Dans le cas d'une longueur de buse supérieure, celle-ci ne doit pas etre superieure de 20% aux valeurs indiquees.
PREPARATION A LA PREMIÈRE MISE EN SERVICE
Avant d'effectuer la mise en service et la mise sous tension du générateur, vérifier :
- que le film protecteur posé sur les panneaux soit enlevé,
- que les ailettes de soufflage soient ouvertes et regliees en fonction du local a chauffer.

Utiliser les protections adéquats (gants, ...)
Il est obligatoire d'ouvir les ailettes de soufflage d'air avant l'installation.
L'ouverture des ailettes s'effectue par leurs extrémités.
- Que les distances autour du générateur soient respectées (voir page 12).
-
Que les vannes de barrage du combustible soient ouvertes.
-
Que tous les raccordements électriques des composants (brûleurs, thermostats,...) soient effectuels.
La polarite Phase Neutre doit etre, imperativement respectee. -Le raccordement a la terre est obligatoire.



MISE EN SERVICE
Après avoir effectué les opérations de préparation à la mise en service, démarrer le généateur comme suit :
-
Positionner l'interrupteur général sur marche.
-
Activier le mode "VENTILATION"
-
Positionner le sélecteur (1) sur "VENTILATION" Le brûleur restera arrêté, mais le ventilateur centrifug demarrera pour assurer un brassage d'air ambient.
-
Désactiver le mode "VENTILATION"
-
Positionner le selecteur (1) sur "0" (arrêt). Le ventilateur centrifuge s'arrête instantanément.
-
Activer le mode "CHAUFFAGE"
-Régler le thermostat d'ambiance à la température désirée (18^)
- Positionner le selecteur (1) sur "CHAUFFAGE"
Le générateur effectuera sa phase de demarrage. Une minute environ après la presence de flamme au bruleur, le ventilateur expulsera les calories dans l'ambiance a chauffer.
Le générateur continuera à fonctionner jusqu'à obtenir la température de consigne; à l'ouverture du contact du thermostat d'ambiance, le brûleur s'arrête instantanément: le ventilateur continuera à fonctionner 4 minutes environ.
Ces phases de fonctionnement se succederont automatiquement sur la base de la température de consigne.
-
Désactiver le mode "CHAUFFAGE"
-
Agir sur le thermostat d'ambiance ou basculer le sélecteur (1) sur "0" (arret).
Le brûleur s'arrêtera instantanément, le ventilateur s'arrêtera 4 minutes environ après.

Ne jamais couper l'alimentation générale de l'appareil lorsqu'il est en fonctionnement. Une telle manoeuvre provoquerait une surchauffe et le déclenchement de l'airstat LIMIT.

A la première mise en service, on peut constater des odeurs et de la fumée, qui sont causées par l'évaporation des liquides (huiles, ...) nécessaires à la fabrication de l'échangeur de chaleur. C'est une phase normale qui disparait très vite. Il est nécessaire d'āerer le local, le cas échéant.


En cas d'anomalie de fonctionnement, le généateur peut effectuer deux types d'arrêt :
- "Arrêt en sécurité" signalé par levoyant rouge sur le brûleur.
Apses une mise en securite, attendre 30secondes environ avant d'effectuer le Reset (le rearmement).
Pour effectuer le réarmement appuyer sur le bouton poussoir/voyant du brûleur et attendre le démarrage de la flamme.
En cas d'éché, cette opération peut être effectuee 2 ou 3 fois maximum : puis vérifier :
- les instructions de la notice technique du brûleur,
- le chapitre "préparation à la première mise en service",
-
le raccordement électrique.
-
"Arrêt en sécurité surchauffe"
Après mise en sécurité de surchauffe, attendre 10 minutes avant la remise en route, ou activer le mode ventilation (page 21) pour réduire le temps d'arrêt.
- Appuyer sur le bouton poussoir (1) de l'airstat Limit.
Ou bien
- Réarmer le relais thermique (sur les générateurs types 5 à 7 uniquement) à l'intérieur du coffret électrique si c'est un problème de surchauffe du moteur de ventilation.
En cas d'éché, cette opération peut être répétiée 2 ou 3 fois maximum, puis vérifier :
- le chapitre "PREPARATION A LA PREMIÈRE MISE EN SERVICE"
- les raccordements électriques
- le chapitre "CONTRÔLÉ"


COMMANDE
THERMOSTAT D'AMBIANCE
Le thermostat d'ambiance s'installe dans le local àchauffer à 1.5 m environ du sol à l'abri des courants d'air.
Il agit directement sur le brûleur pourmaintenir la température de comfort.
Son utilisation est obligatoire.
CONTROLE
Pour s'assurer d'un fonctionnement correct, il est nécessaire d'effectuer le contrôle de quelques paramétres fondamentaux. Demarrer l'appareil et :
Vérifier que le ventilateur démarre 1 minute environ après le brûleur.
Avec le générateur en régime stabilisé, (après 20 minutes de fonctionnement) effectuer les opérations suivantes:
Vérifier qu'il n'y a pas de fuite de combustible.
Vérifier le début de combustible au compteur (si possible).
Vérifier que le tarage de l'airstat corresponde aux valeurs indiquées dans le chapitre (CHARACTERISTIQUES TECHNIQUES).
Vérifier que la température des fumées correspondant aux valeurs indiquées dans le chapitre (CHARACTERISTIQUEUS TECHNIQUES) tolération +/-10°C.
Verifier que l'airstat se stabilise entre 50 et 60^ et qu'il n'y a pas coupure par la LIMIT.
Verifier que le T entre le chauffage Tm et la reprise Tr corresponde aux valeurs indiquées dans le chapitre CHARACTERISTIQUES TECHNIQUES. tolération ± 5^
Faire tourner le disque de l'airstat pour simuler une surchauffe et vérifier l'arrêt du brûleur.
Ouvrir le contact du thermostat d'ambiance et s'assurer qu'il n'y a pas arrêt simultané du brûleur et du ventilateur.
Vérifier que l'intensité absorbée par le moteur du ventilateur soit inférieure ou égale aux valeurs de la plaque signalétique.
Vérifier que le réglage du relais thermique soit adapté à l'intensité absorbée par le moteur. (Seulement pour les générateurs types 5 à 7).
Vérifier que le ventilateur tourne pendant 4 minutes environ après l'arrêt du brûleur.
SELECTEUR DE FONCTIONNEMENT
Chauffage / Arret / Ventilation
Fixé sur le coffret électrique, il permet la sélection de fonctionnement :
Basculé sur le symbole "Chauffage" le générateur fonctionne automatiquement en fonction de la température de comport,
Basculé sur le symbole "Ventilation" le générateur fonctionne en ventilation seule ; pour brasser l'air ambient en eté, le brûleur est à l'arrêt.
Basculé sur le symbole "Stop" arrêt du générateur.
Après un fonctionnement chauffage, le ventilateur tournera 4 minutes environ.


IMPORTANT!
Une puissance thermique trop basse et/ou un débit d'air trop élevé peut provoquer des phénomènes de condensation des produits de combustion, avec pour conséquence une corrosion de l'échéateur de chaleur.
Il est obligatoire de vérifier l'absence des condensations à l'intérieur de l'échangeur de chaleur le générateur étant en fonctionnement stabilisé (1/2 heures). Pour ce faire, déboiter le conduit des fumées et vérifier qu'il n'y a pas d'humidité dans la boite à fumée.
ENTRETIER
Pour un bon fonctionnement et une bonne longévite du générateur d'air chaud, il est recommendé d'effectuer périodiquement les opérations de nettoyage et de maintenance. Ces opérations devront être effectuees par un personnel qualifie.
ENTRETIEN DE L'CHANGEUR
Le nettoyage de l'échangeur doit être effectué par un personnel qualifié et en respectant les normes. Une visite annuelle en début de période de chauffe est conseillée. Proceder comme suit :
Types 1 à 4
- Demonter le panneau arrête (1), la trappe de visite (2), le brûleur suivant les indications de la notice technique et extraire le diaphragme (uniquement pour les modèles 1 à 2).
- Ramoner I'echangeur (3).
- Aspirer au travers de l'ouverture du brûleur (9) les dépôts tombés dans le foyer (8).
- Aspirer les dépôts de suie dans le collecteur (4) à travers le conduit de cheminée (5) (pour les types 1 à 3 uniquement).
Types 5 à 7
- Demonter le panneau avant supérieur (1) la trappe de ramonage (2) et le brûleur suivant la notice technique.
- Ramoner l'échangeur.
- Aspirer au travers de l'ouverture du brûleur (9) les dépôts tombés dans le foyer (8).
- Aspirer les dépôts de suie dans le collecteur (4) après avoir oété les trappes de visite laterales (10).

Il est conseilé d'utiliser des gants de protection. Pour tous travaux en hauteur le mode d'accès devra être approprié et assurer toutes les securités.
Les opérations devront être effectues l'appareil froid, alimentation électricque et combustible coupés.

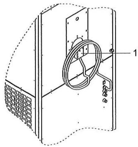
ENTRETIEN PERIODIQUE DU VENTILATEUR
Types 1 à 4
Le moteur est directement monté sur la volute du ventilateur.
Le moteur ne nécessite pas d'entretien, seulement un nettoyage externe.
Types 5 à 7
L'entretien du ventilateur consiste à dépoussierer les aubes de la turbine et oter les évventuels corps étrangers sur ou à proximé du ventilateur.
Contréor periodiquement la tension de la courroie : la flèche doit être de 20 mm environ. Pour régler la tension opére comme suit :
- Mise hors tension le générateur par le sectionneur general.
- Oter la grille de protection (à la reprise).
Dévisser les boulons (3) de fixation du moteur.
Tendre la courroie (1) en vissant les boulons (2)
jusqu'obtenir une flèche de 20 mm sur la courroie.
Revisser les boulons (3).
Vérifier l'alignement des pouies motrice et réceptrice.
L'entretien du moteur consiste seulement a nettoyer le capot de protection de l'helicide de refroidissement.


AIRSTAT
L'airstat ne nécessite aucun entretien particulier.

La fonction LIMIT est reglee en bute et ne doit pas etre modifiee. La fonction FAN est reglee en usine et il est deconseilde modifier les valeurs.
Le constructeur ne sera pas responsable des dommages causés dans le cas d'un réglage incorrect de l'airstat.

ENTRETIEN DU BRULEUR
Pour l'entretien du brûleur, se reporter à sa notice technique spécifique.
DEFAULTS ET DEPANNAGE



Notice Facile