P55 - Motoculteur EUROSYSTEMS - Notice d'utilisation et mode d'emploi gratuit
Retrouvez gratuitement la notice de l'appareil P55 EUROSYSTEMS au format PDF.
| Type d'appareil | Motoculteur |
| Moteur | Essence, 4 temps |
| Puissance moteur | Non précisé |
| Nombre de vitesses | Non précisé |
| Largeur de travail | Non précisé |
| Profondeur de travail | Non précisé |
| Poids | Non précisé |
| Type de transmission | Manuelle |
| Roues | Caoutchouc, motrices |
| Guidon | Réglable |
| Accessoires fournis | Non précisé |
| Usage conseillé | Labour, préparation du sol |
| Garantie | Contrôlé par laboratoire indépendant |
| Normes de sécurité | Conformes aux normes en vigueur |
| Entretien | Utiliser pièces d'origine uniquement |
FOIRE AUX QUESTIONS - P55 EUROSYSTEMS
Questions des utilisateurs sur P55 EUROSYSTEMS
0 question sur cet appareil. Repondez a celles que vous connaissez ou posez la votre.
Poser une nouvelle question sur cet appareil
Téléchargez la notice de votre Motoculteur au format PDF gratuitement ! Retrouvez votre notice P55 - EUROSYSTEMS et reprennez votre appareil électronique en main. Sur cette page sont publiés tous les documents nécessaires à l'utilisation de votre appareil P55 de la marque EUROSYSTEMS.
MODE D'EMPLOI P55 EUROSYSTEMS
Vous venez d'acquérir un nouvel appareil. Nous vous remercions de la confiance que vous nous témoignez et vous souhaitons beaucoup de satisfaction dans son utilisation.
Afin de garantir d'emblée un fonctionnement sans accrocs, nous avons créé cette notice d'utilisation. Si vous observez exactement les indications suivantes, votre appareil fonctionnera toujours à votre entière satisfaction et restera longtemps utilisable.
Nos appareils, avant la fabrication en série, sont mis à l'essai dans les conditions les plus sévères et, durant la fabrication même, sont soumis constamment à des contrôles sévères. De ce fait, nous avons la certitude, et vous la garantie d'obtenir toujours une machine à toute épreuve.
Cet appareil a été testé et contrôlé par un laboratoire indépendant, selon des normes de travail et de sécurité très sévères.
Pour garder à cet appareil les qualités et performances prévues, n'utilisez que des pièces détachées d'origine. La qualité du travail et votre sécurité en dépendent.
L'utilisateur perd tous ses droits à la garantie lorsqu'il modifie l'appareil par l'adjonction de pièces détachées non d'origine.
Dans le but d'améliorer nos produits, nous nous réservons le droit d'y apporter des modifications.
Pour toute question ou commande concernant les pièces détachées, prière d'indiquer le numéro de référence.
Conditions d'utilisation - Limites d'emploi
Le motoculteur est conçu et construit pour effectuer des opérations de binage du sol ou de fauchage de prés. Il peut travailler exclusivement avec des outils et des pièces de rechange d'origine. Toute utilisation différente de celle préconisée est illégale et entraîne l'expiration de la garantie, mais représente aussi un danger grave pour l'opérateur et les personnes exposées.
Mesures de sécurité
Attention : lire attentivement le manuel d'instructions avant de procéder au montage et à la mise en marche. La machine ne doit être utilisée que par des personnes en connaissant le mode d'emploi.
- Interdire l'emploi de la machine aux personnes de moins de 16 ans.
- Durant le fonctionnement, veiller à ce qu'aucune personne, et en particulier aucun enfant, ne se trouve à proximité.
N'oubliez pas que vous êtes responsable de tout dommage causé aux tiers par votre machine. 3. Enlevez tout objet du pré avant de commencer les opérations de fauchage. 4. Ne mettez pas la machine en marche en étant devant les fraises ou la barre de coupe. En tirant la cordelette de démarrage du moteur, les fraises ou la barre de coupe ne doivent pas se mettre en marche. (Si cela se produit, intervenez sur le registre de réglage). 5. Pendant le travail, portez des chaussures de protection robustes. Faites attention car les risques de blessures aux pieds et aux mains sont très élevés. 6. Coupez le moteur et attendez l'arrêt des fraises avant de déplacer la machine sur ses roues. 7. Toutes les opérations de maintenance doivent être effectuées moteur et fraises à l'arrêt. Retirez le capuchon de bougie. 8. Ne jamais quitter l'appareil sans avoir coupé le moteur. 10. Le conducteur doit travailler en empoignant le mancheron. 11. En cas de choc avec un obstacle qui stoppe net l'appareil, il est conseillé de le faire vérifier par une station-service qui déterminera s'il n'y a pas eu d'endommagement des lames ou des organes de transmission. 12. En raison des risques d'asphyxie, les appareils thermiques ne doivent jamais être mis en route dans des locaux fermés. 13. Ne jamais faire le plein lorsque la tondeuse est en marche. Ne pas fumer en faisant le plein. Utiliser un entonnoir afin de ne pas verser d'essence sur le moteur, le carter ou par terre. 14. Attention : le pot d'échappement et les parties avoisinantes peuvent atteindre des températures proches de... Danger ! Risques de brûlures. 16. Nous attirons votre attention sur le fait que notre responsabilité n'est pas engagée en cas de dommages causés par :
a) des réparations effectuées par un personnel non spécialisé ou des services d'assistance non agréés ; b) l'utilisation de pièces de rechange qui ne sont pas d'origine. Ces dispositions s'appliquent également pour les accessoires.
Conseils - Moteur
Pour l'entretien du moteur, respecter les instructions du constructeur.
Démarrage
Attention : mettre les manettes de commande en position nulle.
Mettre l'accélérateur sur "Start".
Tirer la poignée du lanceur jusqu'à ce que l'on sente une résistance, relâcher doucement, puis tirer vivement le lanceur.
Ramener lentement le lanceur.
Arrêt - Mettre la manette des gaz sur STOP.
Dispositif de sécurité
Tous les monoculteurs sont fournis avec un dispositif de sécurité. Ce dispositif provoque le désembrayage automatique de la transmission lorsque le levier de commande correspondant est débloqué.
Transport
Utiliser un chariot élévateur pour transporter la machine. Les fourches, réglées dans la position d'écartement maximum, seront introduites dans les espaces spécifiques prévus sur la palette. La masse de la machine est indiquée sur l'étiquette d'identification et reportée dans les caractéristiques techniques.
Montage du motoculteur
Sauf accord contraire, le motoculteur est livré à destination démonté et placé dans un emballage approprié.
Pour achever le montage de la machine, suivre les instructions ci-dessous.

1 - Données d'identification (Fig. 1)
L'étiquette avec les données de la machine et le numéro de série se trouve sur le côté gauche du motoculteur, sous le moteur (fig. 1).
Note - Fournir le numéro de série de la motobineuse pour toute demande d'assistance technique ou commande de pièces.

2 - Montage du mancheron (Fig. 2)
Fixez le mancheron de conduite (1) au support (2) à l'aide des vis (3). Attention : les rondelles d'un diamètre plus grand doivent être montées en face des rainures. Réglez la hauteur du mancheron en intervenant sur les vis (3) qui le fixent. Mettez en place la tige de changement de vitesses (4) en la faisant passer à travers le guide (5) et en filetant son extrémité dans le trou (6), puis bloquez-la avec la goupille (7).
Réglage du mancheron (Fig. 2)
Le mancheron du motoculteur est orientable soit latéralement, soit en hauteur. Avant de commencer un travail quelconque, il faut régler le mancheron aux exigences de l'opérateur pour rendre le motoculteur facilement manœuvrable à tout moment. L'orientation latérale du mancheron permet à l'opérateur de ne pas marcher sur le sol déjà travaillé et de ne pas endommager la végétation.
Réglage latéral du mancheron (Fig. 2)
Le réglage latéral du mancheron peut être obtenu sur 3 positions différentes, soit quand on travaille avec des outils arrière (opérations type fraisage), soit quand on travaille avec des outils frontaux (opérations type fauchage), de la manière suivante : Tourner le levier (8) dans le sens inverse des aiguilles d'une montre pour débloquer. Réglez le mancheron dans la position désirée. Bloquez de nouveau le mancheron en tournant le levier (8) dan et assurez-vous que les dents sont parfaitement enclenchées.
Attention : La rotation du mancheron à 180° doit avoir lieu pour éviter d'endommager les câbles qui se trouvent le long de la barre. Il faut en outre décrocher la tige de changement de vitesses (4) et la remettre en place après rotation.
Attention : Quand le mancheron est tourné de 180°, les positions des vitesses de la boîte sont inversées, c'est-à-dire que la marche arrière devient marche avant et vice versa.
Réglage du mancheron en hauteur (Fig. 2) : Desserrez les vis (3), réglez le mancheron à la hauteur voulue. Bloquez les vis (3).

3 - Montage du câble de l'accélérateur (gaine en métal) Fig. 3
Amener le levier (1) installé sur le moteur à é par la flèche A en figure.
Amener la manette de gaz (2) installée sur le mancheron é par la flèche B en figure. Introduire le câble (3) dans le trou (4), fixer la gaine (5) au moyen de la bande (6) et de la vis (7).
Le câble accélérateur doit être fixé au moteur du côté de la bougie.
ATTENTION : il faut que la manette de gaz arrête le moteur dans la position "Stop".
4 - CÂBLE DE COMMANDE DU TENDEUR DE COURROIE (Fig. 4) Le câble de commande est déjà relié au ressort tendeur de courroie et il faut le relier au levier installé sur la poignée comme indiqué ci-dessous : Introduire le fil (3) et le registre (4) dans le trou coupé de l'ergot (5). Introduire la baïonnette (1) dans le trou (2).

5 - Montage de barre de coupe (Fig. 5)
Le motoculteur est doté d'un attelage rapide pour les accessoires.
Le moteur étant arrêté et la machine en position horizontale, introduire jusqu'à moitié l'axe de la barre (1) dans l'emplacement (2).
Monter la courroie (3) sur la poulie respective en mettant l'axe de guidage en fin de course.
Fixer les ressorts (4) dans les crochets respectifs (5) puis dans le trou (11).
Monter le capot (6) au moyen de l'axe de centrage (7) et de l'axe fileté (8).
Serrer l'écrou et la rondelle respective sur le capot.

6 - Montage de la fraise (Fig. 6)
Le motoculteur est muni d'un attelage rapide pour les accessoires.
Quand le moteur est arrêté et la machine en position horizontale, engagez l'axe de la fraise (1) dans son logement (2). Montez la courroie (3) sur la poulie en mettant l'axe (1) en fin de course, accrochez les ressorts (4) dans les crochets respectifs (5), puis dans les trous (10).
Montez le couvercle (6) au moyen de la vis de centrage (7) ; le levier d'interdiction de marche arrière (8) doit être placé correctement par rapport au levier de changement de vitesses (9).
Serrez l'écrou et la rondelle sur le couvercle (6).



7 - Réglage de la courbure de mouvement des accessoires (Fig. 7)
P la courroie entre la machine et l'outil, il faut intervenir sur le registre (2) de manière à ce que l'outil commence à travailler seulement quand le levier de commande a dépassé la moitié de sa course (Fig. 7).
Dans le cas de la barre de coupe, p s deux courroies inférieures du mouvement de la barre, il faut dévisser l'écrou (9) et enlever les entretoises entre les poulies (Fig. 5).
Dans le cas de la fraise, il faut contrôler la tension de la courroie (3, fig. 6).
ENCLENCHEMENT DE LA BARRE FAUCHEUSE (Fig. 7) : tirer la poignée de sûreté (3) puis abaisser le levier d'enclenchement de l'outil (4).
8 - Mise au point de la commande du tendeur de courroie (Fig. 8)
Attention - Les roues doivent commencer à tourner après que le levier de commande a dépassé la mi-course.
Lorsque le levier est tiré (position de travail), le ressort de charge du tendeur de courroie (détail 2) doit s'allonger d'environ 6 à 8 mm.
Afin d'obtenir les conditions susmentionnées, il faut agir sur l'écrou (1) installé à proximité de la commande du tendeur de courroie.
9 - Réglage de la hauteur de la barre de coupe (Fig. 9)
Régler la hauteur de coupe au moyen des patins prévus à cet effet, en fonction des exigences et des aspérités du terrain.
Effectuer les opérations suivantes sur chaque patin : desserrer l'écrou (1), placer le patin (2) dans la position voulue, serrer les écrous (1).

10 - Réglage de la lame (Fig. 10)
Après remplacement d'une lame ou après quelques heures de travail, il est indispensable de régler les guide-lames au moyen des vis (1) et de l'écrou respectif de blocage.
Pour le contrôle de chaque réglage, il faut d'abord démonter le capot et ensuite faire tourner lentement la poulie (2) à la main pour vérifier que les lames bougent librement.

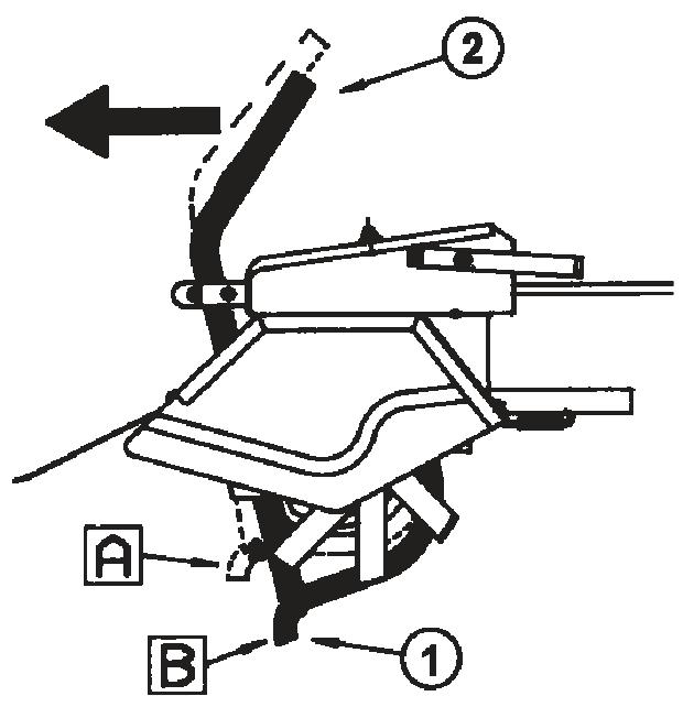
11 - Réglage du timon (fig. 11)
Pour obtenir un bon binage et une marche régulière du motoculteur, la fraise est dotée d'un timon (1) qui règle la profondeur des fléaux.
En tirant le levier de commande (2) vers l'arrière et en le déplaçant vers le haut ou le bas, on contrôle la pénétration dans le sol. Le réglage est correct quand la machine avance à une vitesse constante sans soubresauts (dans ce cas, déplacez le levier vers la position B) ou affaissement de la roue et de la fraise (dans ce cas, déplacez le levier vers la position A).
BINAGE DE SOLS DURS : placez . Cette position correspond à une faible profondeur de travail. BINAGE DE SOLS MEUBLES : placez le timon dans la position (A). Cette position correspond à une grande profondeur de travail.
Démarrer le moteur avec , pour éviter que les fléaux éraflent la surface du sol.

12 - Boîte de votes (Fig. 12-13)
Lubrifiant : utilisez de l'huile SAE 80. Pour vérifier le niveau, mettez la machine sur un sol plat.
Dévissez le bouchon (1) et contrôlez que l'huile se trouve au niveau inférieur du trou. Le bouchon de remplissage correspond au niveau de l'huile. Contrôlez le niveau toutes les 60 heures de travail.
Pour vidanger l'huile : enlevez le bouchon (1) et inclinez le motoculteur. Vidangez l'huile quand le moteur est encore chaud.
À la fin de la vidange, inclinez la machine, ravitailler avec de l'huile neuve jusqu'au niveau inférieur du trou et vissez le bouchon (1).
(Suite, fig. 13 suivante)

13 - Boîte de vitesses (Fig. 13)
(Suite de la fig. 12)
Dévissez le bouchon (2) et remplissez la boîte de vitesses avec de l'huile neuve jusqu'au niveau inférieur du trou, en maintenant la machine inclinée.
Vissez le bouchon.
Vidangez l'huile toutes les 150 heures de travail.

14 - Chape d'attelage de l'outil (Fig. 14)
Après utilisation, nettoyez et graissez la chape (2) à travers le graisseur (1).

15 - Remplacement de la lame de coupe (Fig. 15)
Lors de l'affûtage ou du remplacement de la lame supérieure, dévisser les vis (1) pour démonter la lame après avoir extrait l'axe du trou (2). Après 2 ou 3 affûtages, il est conseillé de remplacer la lame.
Remplacer la lame inférieure en fonction de son usure, après environ deux remplacements de la lame supérieure.
En même temps, remplacer les guide-lame en plastique (3).
Entretien de la barre de coupe
La barre de coupe nécessite un entretien soigné et fréquent. Après chaque utilisation, il est indispensable de laver et nettoyer la lame. Dans le cas de longues périodes d'inactivité de la machine, il faut absolument protéger la barre et la lame avec des produits anti-corrosifs et anti-oxydants.

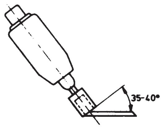
16 - Réaffûtage de la lame (Fig. 16)
Lorsque les lames sont émoussées, il faut les réaffûter.
Ne pas dépasser 15 heures de travail.
Retirer les lames et les nettoyer.
Vérifier qu'aucune partie n'est abîmée ou pliée, sinon, procéder au changement de ces parties avant de réaffûter.
Utiliser une meule-boisseau tournant à 15000-20000 tr/min dont la tige a un Ø de 25 mm et une longueur de 35 mm.
N'aiguiser qu'avec la partie frontale de la tige en partant de l'arrière de la lame vers la pointe.
La section de lame doit former un angle de coupe de 35 à 40 degrés.

17 - Entretien de la fraise (Fig. 17)
Chaque fois que vous utilisez la fraise, l'opérateur doit vérifier :
- que les vis et les écrous de fixation de l'étoile, dro fraise sont serrés à fond ;
- que toutes les vis et les écrous de fixation des fléaux sont serrés à fond.
Vérifiez toutes les 60 heures le niveau de l'huile dans la boîte de vitesses, en dévissant le bouchon (1, fig. 17).
Le niveau de l'huile doit se trouver au niveau inférieur du trou.
Vidangez l'huile toutes les 150 heures de travail.
Vidanger en enlevant le bouchon (1) et en inclinant la fraise.
Vidanger l'huile quand la machine est encore chaude.
À la fin de la vidange, remplissez avec de l'huile neuve jusqu'au niveau inférieur du trou.
Vissez le bouchon.

18 - Description (fig. 18)
- 1) Manette d'entraînement Start-Stop - 2) Manette d'entraînement de traction - 3) Levier de commande d'embrayage de barre - 4) Moteur - 5) Levier de réglage du mancheron latéral - 6) Tige de commande des vitesses.
Index de marche
ATTENTION : Quand le mancheron est tourné, les positions des vitesses de la boîte sont inversées, c'est-à-dire que la marche arrière devient marche avant et vice versa.

Embrayage
Appuyez sur le levier (1) pour embrayer, relâchez (0) pour débrayer.
Motoculteur avec fraise
| Largeurdecoupe | 870 mm | Largeurdefraisage | 500 mm |
| Longueur avec barredecoupe | 1500 mm | Longueur max. avec fraise | 1400 mm |
| Hauteur | 1000 mm | Hauteur | 1000 mm |
| Masse | 65Kg. | Masse | 78Kg. |
| Voie | 430 mm | Voie | 430 mm |
| Roues de traction | 2 pneus 4.00-6 ou 2 pneus gonflables de 13x5.00-6 | Pneumatiques | 2 pneus 4.00-6 ou 2 pneus gonflables de 13x5.00-6 |
| Battements de la barre de coupe | 1300/1* | Rotations del'arbreporte-fraises | 275t/min. |
| Vitesse en opération de coupe: | Vitesse en opération de faisage: | ||
| Marche avant "1" | 2,2 km/h | Marche avant "1" | 1,1 km/h |
| Marche arrière "R" | 1,1 km/h | Marche arrière "R" | 2,2 km/h |
Refroidissement du moteur à air. Réservoir de carburant : 1,5 litre.
Pour tout renseignement et détail technique, consulter le manuel d'utilisation joint.
Niveau sonore et vibration
Valeur de pression acoustique au poste de conduite conforme à la norme EN 709 : LAeq = 80 dB(A).
Vibrations des mancherons conformément aux normes EN 709 et EN 1033.
Valeur mesurée = 7,51 m/s²
Niveau sonore et vibration
Valeur de pression acoustique au poste de conduite conforme à la norme EN 709 : LAeq = 77,8 dB(A).
Vibrations des mancherons conformément à la norme EN 709 et ISO 5349, valeur
Valeur de mesure : 5,5 m/s²
Notice Facile