W4330S - Lave-linge industriel ELECTROLUX LAUNDRY SYSTEMS - Notice d'utilisation et mode d'emploi gratuit
Retrouvez gratuitement la notice de l'appareil W4330S ELECTROLUX LAUNDRY SYSTEMS au format PDF.
| Type de produit | Lave-linge professionnel |
| Capacité de lavage | 30 kg |
| Dimensions approximatives | Largeur : 100 cm, Profondeur : 120 cm, Hauteur : 150 cm |
| Poids | Environ 300 kg |
| Alimentation électrique | 380 V, 3 phases |
| Puissance | 15 kW |
| Vitesse d'essorage | 800 à 1000 tr/min |
| Fonctions principales | Programmes de lavage variés, essorage, rinçage |
| Entretien et nettoyage | Nettoyage régulier du filtre, vérification des tuyaux d'arrivée et de sortie d'eau |
| Pièces détachées et réparabilité | Disponibilité de pièces détachées auprès des revendeurs agréés |
| Sécurité | Système de verrouillage de porte, protection contre les surcharges électriques |
| Compatibilités | Compatible avec divers détergents professionnels et systèmes de dosage automatique |
| Informations générales | Conçu pour une utilisation intensive dans les laveries, hôtels et établissements de santé |
FOIRE AUX QUESTIONS - W4330S ELECTROLUX LAUNDRY SYSTEMS
Questions des utilisateurs sur W4330S ELECTROLUX LAUNDRY SYSTEMS
0 question sur cet appareil. Repondez a celles que vous connaissez ou posez la votre.
Poser une nouvelle question sur cet appareil
Téléchargez la notice de votre Lave-linge industriel au format PDF gratuitement ! Retrouvez votre notice W4330S - ELECTROLUX LAUNDRY SYSTEMS et reprennez votre appareil électronique en main. Sur cette page sont publiés tous les documents nécessaires à l'utilisation de votre appareil W4330S de la marque ELECTROLUX LAUNDRY SYSTEMS.
MODE D'EMPLOI W4330S ELECTROLUX LAUNDRY SYSTEMS
éristiques et points forts
Vitesse du tambour contrôle par un variateur de fréquence afin d'assurer une efficacité maximum des séquences de lavage et d'essorage
- Bonne capacité d'essorage grâce à un facteur G supérieur à celui d'une machine à montage monobloc traditionnelle
- Construction solide du bâti avec châssis robuste en acier galvanisé
- Disponible avec deux types de programmateurs:
Compass Control® avec:
Grand écran et clavier pour une sélection aisée et rapide des programmes
- Choix de la langue
- Deux boutons de démarrage rapide pour les programmes de lavage fréquement utilisés
- Programmes de lavage optimisés sur Économie, Performance et Temps
Clarus Control® avec:
- Microprocesseur entitrement programmable
- Programmation possible de tous les paramètres de lavage
-
Programmation à partir d'un clavier ou téléchargement via une carte mémoire
-
L'AWS (Automatic Weighing System avec Compass Control) détermine la charge de lavage et adapte en conséquence la quantité d'eau puisée. Economies d'eau et d'énergie en cas de charge incomplète de la machine
- Très faible consommation d'eau et d'énergie - voir tableau ci-dessous
- Bac à lessive à quatre compartments pour un dosage manuel de la lessive en poudre ou liquide
- Grande ouverture de la porte pour un chargement/déchéancement facile
- Acier inoxydable pour toutes les parties vitales offrant un niveau de protection élevé contre la corrosion
- Puisance d'essorage correcte garantie avec SuperBalance™
Principales options
- Alimentation automatique en lessive liquide (carte d'E/S facultative pour Compass Control)
- Panneau latéraux en acier inoxydable
- Panneau avant en acier inoxydable (Clarus Control uniquement)
- Vannes de vidange doubles pour recyclage de l'eau (Clarus Control)

Compass Control
Photo non contractuelle

Clarus Control
| Caractéristiques techniques principales | W4330S | ||
| Capacité max. | kg/lb | 35/75 | |
| Volume du tambour, diamètre | litres | 330 | |
| ø mm | 795 | ||
| Essorage | tr/min | 671 | |
| Facteur G | 200 | ||
| Possibilités de chauffage, 230/400V | kW | 19.7 | |
| vapeur | x | ||
| sans chauffage | x | ||
| Consommation, Programme "Normal à 60 °C" 1:10 * (3G01) | El. | Vapeur | |
| Temps total | min | 50 | ** |
| Consommation d'eau (froide/chaude) | litres | 234/62 | 234/62 |
| Consommation d'énergie (moteur/chauffage) | kWh | 0.4/1.6 | 0.4 |
| Consommation de vapeur | kg | - | 2.4 |
| * Température de l'eau froide: 15°C, de l'eau chaude: 65°C. ** En fonction de la pression de vapeur. | |||
| Branchement électrique * | W4330S | ||
| Chauffage | Tension | ||
| El. | 230V 3 AC 50 Hz | kW(A) | 19.7(63) |
| 240V 3AC 60 Hz | kW(A) | 21.2(63) | |
| 400V 3N AC 50 Hz | kW(A) | 19.7(35) | |
| Vapeur | 230V 3AC 60 Hz | kW(A) | 1.5(10) |
| ou | 240V 3AC 60 Hz | kW(A) | 1.5(10) |
| Sans chauffage | 400V 3N AC 50Hz | kW(A) | 1.5(10) |
| Raccordement d'eau et de vapeur | |||
| Vannes d'admission d'eau | DN | 20 | |
| Pression d'eau | kPa | 150-400 | |
| Capacité à 300 kPa | l/min | 60 | |
| Vanne de vidange | ø mm | 75 | |
| Capacité de vidange | l/min | 170 | |
| Vanne de vapeur | DN | 15 | |
| Pression de la vapeur | kPa | 300-600 | |
| Bacs à lessives liquides | 5 | ||
| Efforts au sol | |||
| Fréquence des efforts dynamiques | Hz | 9.4 | |
| Charge maximal au sol lors de l'essorage kN | 4.2 ± 8.8 | ||
| Niveau sonores | |||
| Niveau de pression sonore** | dB(A) | 70 | |
| Niv. de puissance sonore (IEC 60704-2-4) dB(A) | 77 | ||
| Déperdition calorifique | |||
| % de la puissance installée, max | 5 | ||
| Emballage | |||
| net, kg | 298 | ||
| avec caisse, kg | 318 | ||
| Volume emballé | m3 | 1.82 | |
| Accessoires | |||
| Kits de flexibles pour l'eau ou la vapeur | x | ||
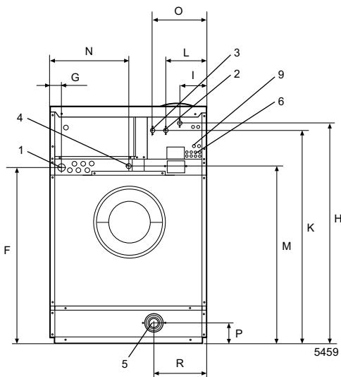
| Dimensions en mm | |||
| A Largeur | 910 | ||
| B Profondeur | 1040 | ||
| C Hauteur | 1445 | ||
| D | 500 | ||
| E | 1075 | ||
| F | 1155 | ||
| G | 45 | ||
| H | 1365 | ||
| I | 170 | ||
| K | 1325 | ||
| L | 255 | ||
| M | 1155 | ||
| N | 280 | ||
| O | 335 | ||
| P | 145 | ||
| R | 180 | ||
| 1 Branchement électrique | 6 | Raccords d'alimentation en lessive liquide | |
| 2 Eau froide | 7 | Bandeau de commande | |
| 3 Eau chaude | 8 | Bac à produits | |
| 4 Raccord de vapeur | 9 | Connexions pour le recyclage de l'eau | |
| 5 Vidange | 10 | Ouverture de la porte Ø435 | |
Panneaux frontal et lateraux gris clair portant la mention "Blue Wave" sur le panneau avant (RAL 260 70 05, 250 60 30)
Autres tensions disponibles, voir manuel d'installation
* Valeur approx. sur la position des opérateurs dans une laverie de taille moyenne

Avant

Côté droit

Arrière
Notice Facile