W4280X - Lave-linge industriel ELECTROLUX LAUNDRY SYSTEMS - Notice d'utilisation et mode d'emploi gratuit
Retrouvez gratuitement la notice de l'appareil W4280X ELECTROLUX LAUNDRY SYSTEMS au format PDF.
| Type de produit | Lave-linge professionnel |
| Capacité de lavage | 8 kg |
| Vitesse d'essorage | 1400 tr/min |
| Dimensions approximatives | 850 x 600 x 600 mm |
| Poids | 80 kg |
| Alimentation électrique | 230 V / 50 Hz |
| Puissance | 2,2 kW |
| Fonctions principales | Programmes de lavage variés, contrôle électronique, options de prélavage |
| Entretien et nettoyage | Nettoyage régulier du filtre, vérification des tuyaux d'arrivée et d'évacuation |
| Pièces détachées et réparabilité | Disponibilité des pièces de rechange, réparabilité facilitée |
| Sécurité | Système de verrouillage de porte, protection contre les débordements |
| Compatibilités | Compatible avec divers détergents et adoucissants |
| Informations générales | Conçu pour un usage intensif, idéal pour les laveries et les établissements professionnels |
FOIRE AUX QUESTIONS - W4280X ELECTROLUX LAUNDRY SYSTEMS
Questions des utilisateurs sur W4280X ELECTROLUX LAUNDRY SYSTEMS
0 question sur cet appareil. Repondez a celles que vous connaissez ou posez la votre.
Poser une nouvelle question sur cet appareil
Téléchargez la notice de votre Lave-linge industriel au format PDF gratuitement ! Retrouvez votre notice W4280X - ELECTROLUX LAUNDRY SYSTEMS et reprennez votre appareil électronique en main. Sur cette page sont publiés tous les documents nécessaires à l'utilisation de votre appareil W4280X de la marque ELECTROLUX LAUNDRY SYSTEMS.
MODE D'EMPLOI W4280X ELECTROLUX LAUNDRY SYSTEMS
\section*{Caracteristiques et points forts}
- Disponible avec deux types de programmeurs:
Compass Control® avec (uniquement W4280X, W4350X):
Grand écran et clavier pour une sélection aisée et rapide des programmes
- Choix de la langue
- Deux boutons de démarrage rapide pour les programmes de lavage fréquement utilisés
- Programmes de lavage optimisés sur Économie, Performance et Temps
Clarus Control® avec:
- Microprocesseur entièrement programmable
- Programmation possible de tous les paramètres de lavage
-
Programmation à partir d'un clavier ou téléchargement via une carte mémoire
-
Grande ouverture de la porte pour un chargement/
déchéancement facile - Logiciel Super Balance permettant un cycle distribution/essorage rapide avec un faible niveau de bruit et de vibration
- Moteur à contrôle de fréquence
- Préparation pour distribution manuelle ou automatique de dessive
- Structure et pieces en acier inoxydable offrant un niveau de protection elevé contre la corrosion
- Panneaux avant en acier inoxydable et panneaux latéraux points par poudrage
- Sans chauffage ou chauffage par vapeur directe
Chauffage électric (uniquement W4350X, W4600X)

Photo non contractuelle
Principales options
- Panneaux en acier inoxydable
- Monnayeur (uniquement W4280X, W4350X)
- Bac à produits à cinq compartments (uniquement W4600X)
- Troisième vanne d'admission d'eau (uniquement W4600X)
| Caracteristique techniques principales | W4280X | W4350X | W4600X | |||
| Capacité, coefficient de replissage 1:10 | kg/lb | 28/62 | 35/77 | 60/135 | ||
| Volume du tambour, diamètre | litres | 280 | 350 | 600 | ||
| ø mm | 830 | 920 | 980 | |||
| Essorage max | tr/min | 805 | 650 | 630 | ||
| Facteur G | 300 | 220 | 220 | |||
| Possibilités de chauffage, 230/400V | électricité | - | 25 | 40.8 | ||
| vapeur | x | x | x | |||
| sans chauffage kW | x | x | x | |||
| Consommation, Programme «Normal à 60°C» 1:10* | Vapeur | El. | Vapeur | El. | Vapeur | |
| Temps total | min | ** | 49 | ** | 45 | ** |
| Consommation d'eau (froide/chaude) | litres | 308/- | 313/62 | 375/- | 598/105 | 703/- |
| Consommation d'énergie (moteur/chauffage) | kWh | 0.35/- | 0.5/2.4 | 0.5/- | 2.1/5.4 | 2.1/- |
| Consommation de vapeur | kg | 7.3 | - | 9.5 | - | 16 |
| * Température de l'eau froide 15 °C, de l'eau chaude 65 °C. ** En fonction de la pression de vapeur. | ||||||
| Branchement électrique* | W4280X | W4350X | W4600X | |
| Chauffage | Tension | |||
| El. | 230V 3AC 50/60Hz kW(A) | - | 25(63) | 40.3(80) |
| 400-415V 3N AC 50Hz kW(A) | - | 25(50) | 40.8(63) | |
| Vapeur ouSans chauffage | 208-240V 1AC 50/60Hz kW(A) | 1.5(16) | 2.5(16) | - |
| 230V 3AC 50/60Hz kW(A) | - | - | 2.1(10) | |
| 400-415V 3AC 50Hz kW(A) | - | - | 2.8(10) | |
| Raccordement d'eau et de vapeur | ||||
| Vannes d'admission d'eau | DN/inch | 20/ 3/4 | 20/ 3/4 | 25/1 |
| Pression d'eau enregistrée | kPa | 200-600 | 200-600 | 200-600 |
| Capacité à 300kPa | l/min | 60 | 60 | 110 |
| Vanne de vidange | Ø mm/inch | 75/3 | 75/3 | 75/3 |
| Vanne de vapeur | DN/inch | 15/ 1/2 | 15/ 1/2 | 20/ 3/4 |
| Pression de vapeur enregistrée | kPa | 300-600 | 300-600 | 300-600 |
| Efforts au sol | ||||
| Fréquence des efforts dynamiques | Hz | 13 | 10.8 | 10.5 |
| Charge maximale au sol lors de l'essorage | kN | 5 ± 11.5 | 6.5 ± 14 | 9 ± 22 |
| Déperdition calorifique | ||||
| % de la puissance installée, max | 5 | 5 | 5 | |
| Emballage | ||||
| Poids | net, kg | 380 | 560 | 775 |
| Dimensions | ||||
| A Largeur | 935 | 1085 | 1145 | |
| B Profondeur | 970 | 1105 | 1185 | |
| C Hauteur | 1455 | 1570 | 1670 | |
| D | 515 | 530 | 600 | |
| E | 120 | 120 | 120 | |
| F | 400 | 525 | 800 | |
| G | 55 | 55 | 65 | |
| H | 1365 | 1465 | 1585 | |
| I | 230 | 185 | 305 | |
| K | 1325 | 1445 | 1540 | |
| L | 315 | 315 | 75 | |
| M | 395 | 395 | 215 | |
| N | 120 | 120 | 105 | |
| O | 170 | 190 | 570 | |
| P | - | - | 1390 | |
| R | - | - | 50 | |
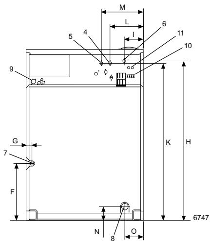
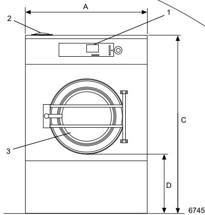
| 1 Bandeau de commande | 6 Eau froide ou eau chaude (en option pour W4600X) | |||
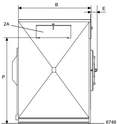
| 2 Bac à produits (uniquement W4280X, W4350X) | 7 Raccord de vapeur | |||
| 2A Bac à produits (uniquement W4600X) | 8 Vidange | |||
| 3 Ouverture de la porte Ø410 (W4280X),ø535 (W4350X, W4600X) | 9 Raccordement électrique | |||
| 4 Eau froide | 10 Distributeur de dessive liquide | |||
| 5 Eau chaude | 11 Recyclage de l'eau | |||
- Autres tensions disponibles, voir manuel d'installation.

Arrière W4280X, W4350X

Arrière W4600X

Avant W4280X, W4350X

Avant W4600X


Côté gauche W4280X, W4350X
Côté gauche W4600X
Notice Facile