MODE D'EMPLOI W4130H ELECTROLUX LAUNDRY SYSTEMS
\section*{Caracteristiques et points forts}
Vitesse elevée pour un essorage efficace
- Disponible avec deux types de programmeurs:
Compass Control® avec:
Grand écran et clavier pour une sélection aisée et rapide des programmes
- Choix de la langue
- Deux boutons de démarrage rapide pour les programmes de lavage fréquement utilisés
- Programmes de lavage optimisés sur Économie, Performance et Temps
Clarus Control® avec:
- Microprocesseur entitérement programmable
- Programmation possible de tous les paramètres de lavage
- Programmation à partir d'un clavier ou téléchargement via une carte mémoire
L'AWS (Automatic Weighing System avec Compass Control) détermine la charge de lavage et adapte en conséquence la quantité d'eau puisée. Économies d'eau et d'énergie en cas de charge incomplète de la machine
Très faible consommation d'eau et d'énergie - voir tableau ci-dessous
- Bac à lessive à quatre compartments pour un dosage manuel de la dessive en poudre ou liquide
- Acier inoxydable pour toutes les parties vitales offrant un niveau de protection élevé contre la corrosion
- Grande ouverture de la porte pour un chargement/ déchéancement facile
- Faible niveau sonore pour un environnement de travail/agreable
- Puisance d'essorage correcte garantie avec SuperBalance™
Principales options
- Alimentation automatique en lessive liquide (carte d'E/S facultative pour Compass Control)
L'IWS (Integrated Weighing System™) permit l'affichage de la charge réelle à l'écran (Clarus Control uniquement)
- Panneaux latéraux en acier inoxydable (Clarus Control uniquement)
- Raccordement au système de paiement ou au compteur de jetons (Compass Control uniquement)
Vannes de vidange doubles pour recyclage de l'eau (Clarus Control)
- Suppression des bruits et des vibrations avec Dynamic Balancing System™ (excepté pour W4240H)

Clarus Control
Photo non contractuelle

Compass Control
| Caracteristique techniques principales | W4130H | W4180H | W4240H |
| Capacité max. | kg/lb | 14/30 | 20/45 | 27/60 |
| Volume du tambour, | litres | 130 | 180 | 240 |
| diamètre | ø mm | 650 | 725 | 795 |
| Essorage | tr/min | 980 | 930 | 890 |
| Facteur G | | 350 | 350 | 350 |
| Possibilités de chauffage, 230/400V électricité | kW | 12.5 | 17.5 | 19.4 |
| vapeur | | x | x | x |
| sans chauffage | | x | x | x |
| Consommation, Programme "Normal" à 60 °C * (3G01) | El. | Vapeur | El. | Vapeur | El. | Vapeur |
| Temps total | min | 47 | ** | 45 | ** | 46 | ** |
| Consommation d'eau (froide+chaude) | litres | 86+22 | 86+22 | 120+32 | 124+31 | 167+42 | 167+42 |
| Consommation d'énergie (moteur/chauffage) | kWh | 0.3/0.55 | 0.3 | 0.5/0.8 | 0.5 | 0.55/1.05 | 0.6 |
| Consommation de vapeur | kg | - | 0.8 | - | 1.2 | - | 1.6 |
| * Température de l'eau froide: 15°C, de l'eau chaude: 65°C.
** En fonction de la pression de vapeur. |
| Branchement électricité * | W4130H | W4180H | W4240H |
| Chauffage | Tension | | | | |
| EI. | 230V 3 AC 50 Hz | kW(A) | 12.5(35) | 17.5(50) | 19.4(63) |
| 240V 3AC 60 Hz | kW(A) | 12.5(35) | 17.5(50) | 20.9(63) |
| 400V 3N AC 50 Hz | kW(A) | 12.5(20) | 17.5(35) | 19.4(35) |
| Vapeur | 230V 1AC 60 Hz | kW(A) | 1.6(10) | 2.3(16) | 2.6(16) |
| ou | 240V 1AC 60 Hz | kW(A) | 1.6(10) | 2.3(16) | 2.6(16) |
| Sans chauffage | 230V 1AC 50 Hz | kW(A) | 1.6(10) | 2.3(16) | 2.6(16) |
| Raccordement d'eau et de vapeur | | | |
| Vannes d'admission d'eau | DN | | 20 | 20 | 20 |
| Pression d'eau | kPa | | 150-400 | 150-400 | 150-400 |
| Capacité à 300 kPa | l/min | | 20 | 60 | 60 |
| Vanne de vidange | ø mm | | 75 | 75 | 75 |
| Capacité de vidange | l/min | | 170 | 170 | 170 |
| Vanne de vapeur | DN | | 15 | 15 | 15 |
| Pression de la vapeur | kPa | | 300-600 | 300-600 | 300-600 |
| Bacs à lessives liquides | | | 5 | 5 | 5 |
| Efforts au sol | | | |
| Fréquence des efforts dynamiques Hz | | | 16.3 | 15.5 | 14.8 |
| Charge maximale au sol lors de l'essorage kN | | | 3.1 ± 0.5 | 4.2 ± 1.0 | 5.2 ± 1.0 |
| Niveau sonores | | | |
| Niveau de pression sonore** dB(A) | | | 70 | 75 | 78 |
| Niv. de puissance sonore (IEC 60704-2-4) dB(A) | | | 78 | 83 | 83 |
| Déperdition calorifique | | | |
| % de la puissance installée, max | | | 5 | 5 | 5 |
| Emballage | | | |
| Poids net, kg | | | 267 | 356 | 400 |
| avec caisse, kg | | | 284 | 376 | 448 |
| Volume emballé | m³ | | 1.27 | 1.64 | 1.79 |
| Accessoires | | | |
| Socle en acier | | | x | x | x |
| Cuve de réutilisation de l'eau (Clarus Control) | | | x | x | x |
| Kits de flexibles pour l'eau ou la vapeur | | | x | x | x |
| Collecteur de résidus textiles | | | x | - | - |
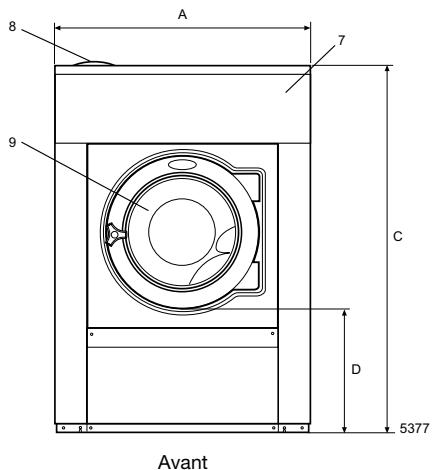
| Dimensions en mm | | | |
| A Largeur | | | 910 | 970 | 1020 |
| B Profondeur | | | 785 | 870 | 915 |
| C Hauteur | | | 1325 | 1410 | 1445 |
| D | 435 | | 470 | 500 | |
| E | 825 | | 945 | 955 | |
| F | 1035 | | 1120 | 1155 | |
| G | 125 | | 115 | 100 | |
| H | 1245 | | 1330 | 1360 | |
| I | 215 | | 230 | 215 | |
| K | 1225 | | 1290 | 1320 | |
| L | 300 | | 315 | 300 | |
| M | - | | 395 | 380 | |
| N | 100 | | 100 | 100 | |
| O | 305 | | 335 | 360 | |
| P | 455 | | 485 | 510 | |
| 1 Branchement électricité | 6 | Raccords d'alimentation en dessive liquide | | | |
| 2 Eau froide | 7 | Bandeau de commande | | | |
| 3 Eau chaude | 8 | Bac à produits | | | |
| 4 Raccord de vapeur | 9 | Ouverture de la porte Ø395 (W4130H), | | | |
| 5 Vidange | | Ø435 (W4180H, W4240H) | | | |
- Autres tensions disponibles, voir manuel d'installation
** Valeur approx. sur la position des opérateurs dans une laverie de taille moyenne


