FIT2B - Systèmes de lavage ELECTROLUX LAUNDRY SYSTEMS - Notice d'utilisation et mode d'emploi gratuit
Retrouvez gratuitement la notice de l'appareil FIT2B ELECTROLUX LAUNDRY SYSTEMS au format PDF.
| Type d'appareil | Table à repasser à aspiration |
| Chauffage de la surface | Oui, pour maintenir sèche |
| Forme adaptée | Usage général |
| Ventilation intégrée | Oui, pour maintenir et sécher le tissu |
| Fer à vapeur électrique | Avec séparateur polyvalent (selon modèle) |
| Chaudière intégrée | Oui, pour installation simplifiée (selon modèle) |
| Pistolet détachant à froid | Disponible (selon modèle) |
| Pistolet vapeur/air | Disponible (selon modèle) |
| Manchon pour formes difficiles | Oui (selon modèle) |
| Bras détachage | Oui (selon modèle) |
| Support mobile pour fils du fer | Oui |
| Balancier anti-fatigue | Oui |
| Éclairage zone de travail | Oui |
| Usage professionnel | Oui |
| Installation | Autonome ou simplifiée |
| Surface de travail | Non précisé |
| Dimensions | Non précisé |
| Poids | Non précisé |
FOIRE AUX QUESTIONS - FIT2B ELECTROLUX LAUNDRY SYSTEMS
Questions des utilisateurs sur FIT2B ELECTROLUX LAUNDRY SYSTEMS
0 question sur cet appareil. Repondez a celles que vous connaissez ou posez la votre.
Poser une nouvelle question sur cet appareil
Téléchargez la notice de votre Systèmes de lavage au format PDF gratuitement ! Retrouvez votre notice FIT2B - ELECTROLUX LAUNDRY SYSTEMS et reprennez votre appareil électronique en main. Sur cette page sont publiés tous les documents nécessaires à l'utilisation de votre appareil FIT2B de la marque ELECTROLUX LAUNDRY SYSTEMS.
MODE D'EMPLOI FIT2B ELECTROLUX LAUNDRY SYSTEMS
Tables à repasser à aspiration
FIT2A, FIT2B

| Caracteristiques et points forts | FIT2A | FIT2B |
| • Chauffée pourmaintenir la surface de travail s'esthe | x | x |
| • Forme adaptée à un usage généraliste | x | x |
| • Un ventilateur aspirant intégré maintient le vêtement en place et assèche le tissu après pressage | ||
| • Fer à vapeur électrique avec séparateur polyvalent | - | x |
| • Chaudière intégrée pour une installation simplifiée | - | x |
Principales options
Fer a vapeur electrique avec séparateur
- Chaudière autonome pour une installation simplifiée x
- Pistol(s) de détachage à froid pour l'élimination des taches
- Pistolet vapeur pour l'élimination des taches
- Pistolet vapeur/air pour l'élimination des taches
- Manchon pour le pressage des formes difficiles
- Bras de détachage pour l'élimination des taches x x
- Support mobile suspendu pour le maintain des fils du fer x
- Un balancier au niveau du fer réduit la fatigue de l'opérateur x
- Éclairage de la zone de travail x x
| Raccordement électrique | FIT2A | FIT2B | |
| Tension | |||
| 208-240V 1 AC 50/60 Hz kW | 0.85 | - | |
| 208-240V 3 AC 50/60 Hz kW | - | 5.6 | |
| 380-415V 3/3N AC 50/60 Hz kW | - | 5.6 | |
| Raccord vapeur, air et aspiration | |||
| Vapeur | DN | 10 | - |
| Pression vapeur | kPa | 400-600 | 200-250 |
| Consommation vapeur | kg/h | 4 | - |
| Condensats | DN | 15 | - |
| Alimentation en eau | mm | - | Ø12 |
| Vidange de la chaudière | DN | - | 10 |
| Air comprimé | DN | 8 | 8 |
| Pression d'air | kPa | 500-700 | 600-700 |
| Consommation d'air | l/min | 300 | 300 |
| Évacuation de l'aspiration | mm | Ø100 | Ø100 |
| Poids | |||
| net, kg | 70 | 105 | |
| avec caisse, kg | 100 | 135 | |
| emballé pour exportation, kg | 140 | 175 | |
| Dimensions en mm | |||
| A Largeur | 1520 | 1600 | |
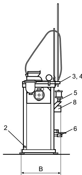
| B Profondeur | 435 | 470 | |
| C Hauteur | 920 | 920 | |
| 1 Bandeau de commande | |||
| 2 Raccordement électrique | |||
| 3 Raccordement vapeur | |||
| 4 Condensat | |||
| 5 Raccord d'air | |||
| 6 Vidange de la chaudière | |||
| 7 Alimentation en eau | |||
| 8 Sortie d'aspiration | |||

Illustration modeleFIT2B

Vue de droite

Vuede face
Notice Facile