CS 70 KA - Scie circulaire FESTOOL - Notice d'utilisation et mode d'emploi gratuit
Retrouvez gratuitement la notice de l'appareil CS 70 KA FESTOOL au format PDF.
| Type de produit | Scie circulaire sur table |
| Caractéristiques techniques principales | Scie à format avec guide de coupe, précision élevée, système de réglage rapide |
| Alimentation électrique | 230 V |
| Dimensions approximatives | Longueur : 800 mm, Largeur : 600 mm, Hauteur : 400 mm |
| Poids | 30 kg |
| Compatibilités | Compatible avec les accessoires FESTOOL et autres systèmes de guidage |
| Type de batterie | Non applicable |
| Tension | 230 V |
| Puissance | 1600 W |
| Fonctions principales | Coupe précise, réglage de la profondeur, inclinaison de la lame |
| Entretien et nettoyage | Nettoyage régulier des filtres et des surfaces, vérification des lames |
| Pièces détachées et réparabilité | Disponibilité de pièces détachées via le service après-vente FESTOOL |
| Sécurité | Système de protection contre les surcharges, protection des lames, interrupteur de sécurité |
| Informations générales | Garantie de 3 ans, service client disponible pour assistance technique |
FOIRE AUX QUESTIONS - CS 70 KA FESTOOL
Questions des utilisateurs sur CS 70 KA FESTOOL
0 question sur cet appareil. Repondez a celles que vous connaissez ou posez la votre.
Poser une nouvelle question sur cet appareil
Téléchargez la notice de votre Scie circulaire au format PDF gratuitement ! Retrouvez votre notice CS 70 KA - FESTOOL et reprennez votre appareil électronique en main. Sur cette page sont publiés tous les documents nécessaires à l'utilisation de votre appareil CS 70 KA de la marque FESTOOL.
MODE D'EMPLOI CS 70 KA FESTOOL
| D | Montageanleitung | 6 |
| GB | Assembly instructions | 8 |
| F | Notice d'emploi | 10 |
| E | Instrucciones de montaje | 12 |
| I | Istruzioni di montaggio | 14 |
| NL | Montagevoorschrift | 16 |
| S | Monteringsanvisning | 18 |
| FIN | Asennusohje | 20 |
| DK | Montagevejledning | 22 |
| N | Monteringsveileding | 24 |
| P | Instruções de montagem | 26 |
| RUS | Руковоздъно зацем | 28 |
| CZ | Námod k montáži | 30 |
| PL | Instrukcja montazu | 32 |
| H | Összeszerelési utasítás | 34 |
| GR | ОдnyEVCS OUVAPMOLÓVNONCS | 36 |
CS 70 KA
CS 70 KA-ST
CS 70 KA-VL







Le guide-butée (ref. 488 063) comprend un support-pied (1.1) et une règle de butée et est composé des pièces principales suivantes:
- profil guide-butée (1.4),
- bout téléscopique (1.3)
- avec ruban de mesure [1.2],
- piece intermédiaire réglable (1.10), -curseurdebute1.5),
- pièce de serrage de ruban de mesure (1.7)
- et tôle-support (1.6).
En liaison avec la table coulissante CS 70 ST, seule la règle de butée (réf. 488 842) sans support-pied est requise.
2.1 Fixation sur le guide-butée angulaire (ill. 1)
La règle de butée doit être fixée sur le guide-butée angulaire (1.8) de votre CS 70 EB, celui-ci étant monté de coutume sur le côté gauche de la scie circulaire ou sur la table coulissante. Enlevez le profil guide-butée de la CS 70 EB du guide-butée angulaire et montez à sa place le profil guide-butée (1.4) de la règle de butée.
Le support-pied sert à soutenir la règle de butée en l'absence de table coulissante.
Pour monter le support-pied, desserrez les deux boutons rotatifs (2.1) sur la tôle de fixation (2.8) de manière à ce que les deux pieds d'appui (2.3) puissent être introduits dans les colliers d'attache (2.4).
Introduisez les pieds d'appui de telle manière que le support-pied atteigne la même hauteur que votre CS 70 EB et serrez à fond les pieds d'appui au moyen des boutons rotatifs (2.1).
Vissez la tôle de fixation sur la fente (2.5) au moyen du bouton rotatif (2.2) et la clavette (2.7) sur la rainure inférieure de la règle de butée, de sorte que les deux cames (2.6) s'enclenchant dans la rainure.
2.3 Fixation de la tôle-support (ill. 3)
La tôle-support sert à soutenir de longues pièces à usiner.
Vissez la tôle-support sur la fente (3.1) au moyen du bouton rotatif (3.2) et de la clavette (3.3) sur la rainure inférieure du profil guide-butée, de sorte que les deux cames (3.5) s'enclenchent dans la rainure.
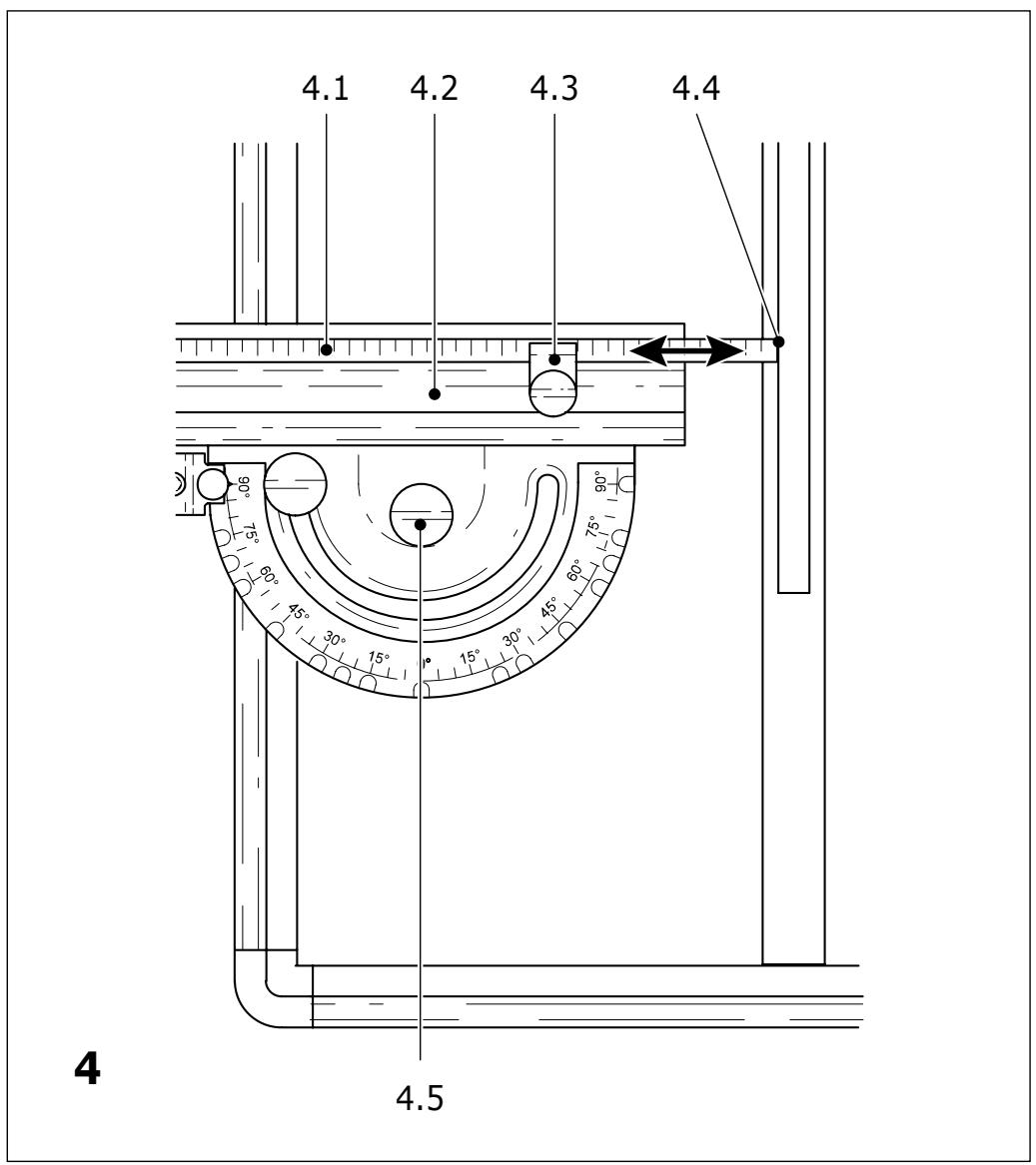
2.4 Ajustage de la règle de butée (ill. 4)
Enfichez le ruban de mesure avec son support (1.12) dans le bout et tirez-le au travers de la rainure supérieure (1.13) du bout, de la pièce intermédiaire et du profil guide-butée.
Afin que le ruban de mesure ne puisse pas entrer en contact avec la lame de scie, elle ne commence qu'à 30 mm.
C'est pourquoi l'écart entre le bord avant du profil guide-butée et de la couronne dentée de la lame de scie doit être ajusté sur 30 mm comme décrit ci-après : serrez le ruban de mesure (4.1) de 30 mm au-delà du bout du profil guide-butée (4.2) et fixez-le au moyen de la pièce de serrage (4.3).
Réglez le guide-butée angulaire encliquetable pour des coupes à angle droit et déplacez le profil guide-butée jusqu'à ce que l'extrémité du ruban de mesure touche les tranchants de la lame de scie (4.4) latéralement.
Fixez le profil guide-butée au moyen du bouton rotatif (4.5) et bloquez le ruban de mesure de sorte que son extrémité soit à fleur du bord avant du profil guide-butée.
Le ruban de mesure indique maintenant la distance exacte par rapport à la lame de scie.
2.5 Modification de la longueur de la règle de butée
Après avoir ouvert le bouton rotatif (1.9), il est possible de positionner et de sortir la pièce télescopique (1.3).
La plage de raccourcissement maximale est de 2050 mm.
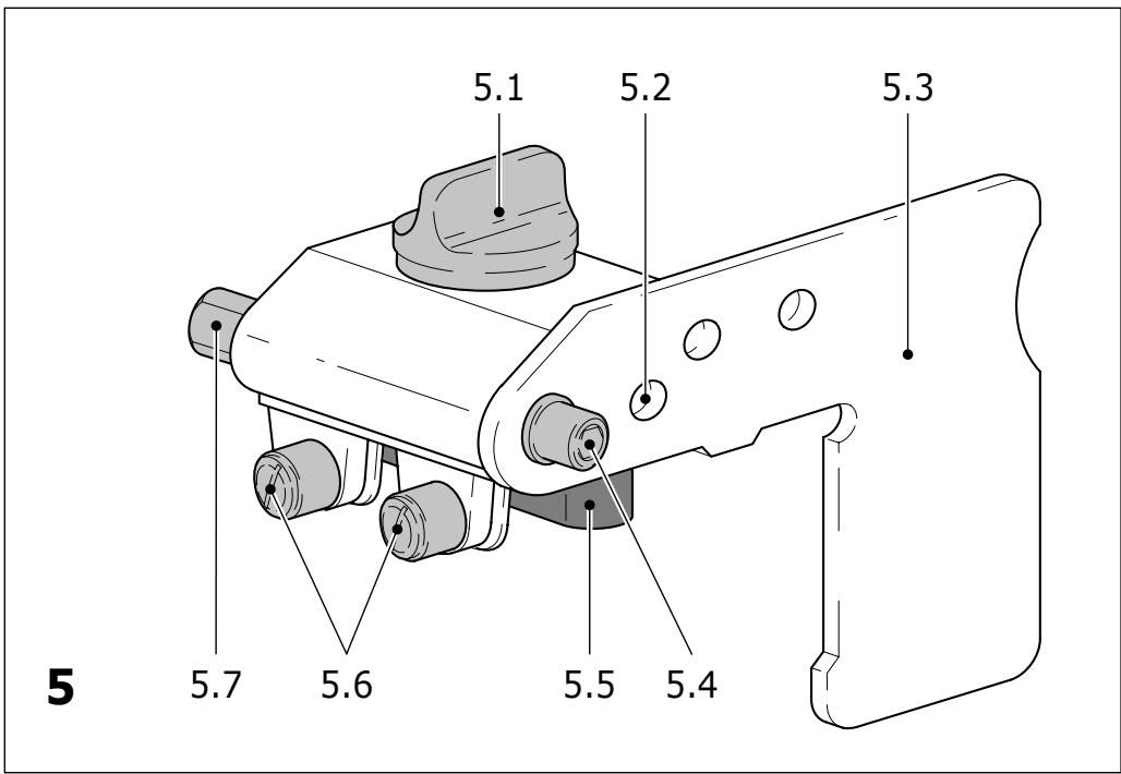
3.1 Mise en place du curseur de butée
Ouvrez le serrage du curseur de butée en tournant le bouton rotatif (5.1) jusqu'à ce que la pièce de serrage (5.5) puisse être insérée dans la rainure supérieure (3.4) du profil guide-butée ou de la pièce intermédiaire régable.
En fermant le bouton rotatif, vous pouvez fixer le curseur de butée.
3.2 Ajustage du curseur de butée
Le curseur de butée peut être ajusté sans jeu dans la rainure par l'intermédiaire des deux boulons (5.6).
Pour ce faire, introduisez le curseur de butée et serrez les deux boulons à fond de manière à ce que le curseur de butée se laisse encore déplacer avec souplesse dans la rainure, cependant sans présenter de jeu.
3.3 Déplacement de la tôle de butée
Vous pouvez monter la tôle de butée (5.3) avec le boulon (5.4) également de l'autre côté du curseur de butée si besoin est.
Le curseur de butée peut également être posé sur le profil du guide-butée angulaire de la CS 70 EB.
À cet effet, il convient de fixer la tôle de butée (5.3) avec le boulon (5.4) au travers du perçage (5.2) sur le curseur de butée.
Veillez à ce que l'écrou (5.7) avec la rondelle se trouve toujours sur le côté opposé de la tôle de butée.
4 Montage du côté droit
Le guide-butée est monté, à l'état libre, de manière à ce qu'il puisse être accolé sur le côté gauche de votre CS 70 EB.
Toutefois, si vous désirez le monter sur le côté droit, il vous suffit d'ouvrir le boulon (1.11) et le bouton rotatif (1.9) pour le démonter afin de le remettre en place sur le côté opposé.
À cet effet, le profil guide-butée (1.4) et la pièce télescopique (1.3) sont équipés sur leurs deux extrémités de percements pour la réception du boulon et du bouton rotatif.
5 Rallonge (ill. 6)
La rallonge disponible en tant qu'accessoire (réf. 488 557) vous permet d'étendre la zone de découverte page du guide-butée à 4000 mm.
5.1 Montage
Introduisez le bouton rotatif (6.1) avec la rondelle (6.2) au travers du perçage latéral du guide-butée et vissez-le en le tournant environ 2 FOIX dans le trou fileté A de la clavette (6.3). Poussez la tige (6.6) de la rallonge d'environ 10 cm dans le profil guide-butée et serrez le bouton rotatif (6.1) à fond.
Fixez, comme décrit au paragraphe 2.3, la tôle-support (6.8) sur la rallonge.
Montez le support-pied (6.7) comme décrit au paragraphe 2.2.
Fixez le support-pied au moyen du bouton rotatif (6.4) et de la clavette (6.5) sur la rainure inférieure de la règle de butée.
Notice Facile