EC 20 - Chauffage industriel SOVELOR - Notice d'utilisation et mode d'emploi gratuit
Retrouvez gratuitement la notice de l'appareil EC 20 SOVELOR au format PDF.
| Type d'appareil | Chauffage d'atelier |
| Alimentation | Carburant liquide (généralement fioul) |
| Puissance thermique | Non précisé |
| Débit d'air | Non précisé |
| Dimensions | Non précisé |
| Poids | Non précisé |
| Mobilité | Avec roues pour déplacement facile |
| Matériau du corps | Acier peint |
| Type de combustion | Combustion directe |
| Utilisation | Chauffage temporaire d'espaces industriels ou ateliers |
| Contrôle | Manuel |
| Normes | Conforme CE |
| Année de fabrication | 2005 |
| Marque | Non précisé |
| Modèle | Non précisé |
| Type de ventilation | Ventilateur intégré |
| Réservoir carburant | Intégré, capacité non précisée |
| Couleur | Rouge |
FOIRE AUX QUESTIONS - EC 20 SOVELOR
Questions des utilisateurs sur EC 20 SOVELOR
0 question sur cet appareil. Repondez a celles que vous connaissez ou posez la votre.
Poser une nouvelle question sur cet appareil
Téléchargez la notice de votre Chauffage industriel au format PDF gratuitement ! Retrouvez votre notice EC 20 - SOVELOR et reprennez votre appareil électronique en main. Sur cette page sont publiés tous les documents nécessaires à l'utilisation de votre appareil EC 20 de la marque SOVELOR.
MODE D'EMPLOI EC 20 SOVELOR
Avant d'utiliser le générateur, nous vous prions de dire attentivement toutes les instructions pour l'emploi, mentionnées ci-après, et d'en suivre scrupuleusement les indications.
Le constructeur n'est pas responsable pour les dommages aux choses et/ou personnes du à une utilisation impropre de l'appareil.
OPTIONS

THERMOSTAT D'AMBIANCE ETANCHE
Code article : THE

Gaines souples renforcées LG 6 M pour EC UNIQUEMENT TENTION : NE PAS DEPASSER 1 LG DE 6 M PAR APPAREIL

1 Bouton réarmement avec lampe témoin
4 Prise thermostat d'ambiance
2 Lampe témoin d'alimentation
5 Cable electrique
3 Interrupteur marche - arrêt


RECOMMANDATIONS GENERALES
Les générateurs d'air chaud de la série EC -GE fonctionnent au gas-oil. Les générateurs de la série GE produit d l'air chaud melangeaux gas de combustion. Les générateur de la série EC sont prevus pouretre raccordes auna cheminée et produit de I'air chaud pur.
Les conditions d'installation et d'utilisation doivent respecter les normes et les lois en vigueur relatives à l'utilisation de l'appareil.
Il convient de s'assurer que:
- les instructions contenues dans ce livre soient suivies scrupleusement;
- le générateur ne soit pas installé dans des locaux où il y aurait des risques d'explosion ou d'incendie;
- des matériaux inflammables ne soient pas déposés à côte de l'appareil;
- de mesures suffisantes de prévention anti-incendie aient eté pré-vues;
- l'aération du local dans lequel se trouve le générateur soit garantie et suffisante pour les nécessités du générateur, et en particulier, pour le générateur GE le renouvellement d'air doit être évalué en considérant que ce générateur envoiè dans la piece aussi bien de l'air chaud que les produits de combustion;
- il n'y ait pas d'obstacles ou d'obstructions à l'aspiration et à la sortie de l'air, tels que des toiles ou des couvertures étendues sur l'appareil ou sur les parois, ou des objets encourbrants à côte du générateur;
- du kérossène soit rajouté dans le réservoir si la température de la pièce est très BASSE;
- le générateur soit contrôle avant sa mise en marche et régulierrement surveillé durant son utilisation; il faut éviter que des enfants ou des animaux non surveillés s'en approchant;
- au début de chaque période d'utilisation, avant de brancher la fiche dans la prise électrique, contrôle que le ventilateur tourne librement;
- à la fin de chaque période d'utilisation enlever la fiche de la prise de courant.
MISE EN MARCHE
Avant demettre en marche le générateur et donc,avant de le brancher au reseau electrique d'alimentation, il faut contrcler que les caractéristiques du reseau electrique correspondent a celles écrites sur la plaque de fabrication.
Attention

- La ligne électrique d'alimentation du générate doit être poursuive d'une mise à la terre et d'un interrupteur magneto-thermique avec un différentiel.
- La fiche électrique du générateur doit être reliée à une prise munie d'un interrupteur de sectionnement.
Le générateur peut fonctionner d'une façon automatique seulement si un dispositif de contrôle, comme par exemple, un thermostat ou une horloge, est relié au généréur en fixant les cables aux bornes 2 ou 3 de la fiche (4) fournie avec l'appareil (le fil électrique qui relié les deux bornes doit être enlevé et eventuèlement remis seulement si vous voulez faire fonctionner le générateur sans dispositif de contrôle).
Pour faire demarrer le générateur il faut:
- s'il y a un dispositif de contrôle, il est nécessaire de le régler de façon à permettre son fonctionnement (par ex. le thermostat doit être régle sur la température maximale);
- mesure l'interrupteur (3) sur la position avec le symbole : le ventilateur démarre et après quelques secondes la combustion commence.
A la première mise en service ou après la vidange totale du circuit du fuel, le flux du fuel au giclaur peut etre insuffisant et causer l'intervention du coffret de contrôle de la flamme; le générateur alors s'arrete.
Dans ce cas après avoir attendu une minute, pousser le bouton de réarmement et faire redémarrer l'appareil.
Au cas où la machine ne fonctionnerait pas, les premières opérations à faire sont les suivantes:
- Contrôler que le réservoir contienne encore du fuel;
- Pousser le bouton de réarmement (1);
- Si après ces opérations le générateur ne fonctionne pas, il faut
consulter le paragraphe "ANOMALIES DE FONCTIONNEMENT ET SOLUTIONS" et découvertir la cause qui empêche le fonctionnement.
ARRET
Pour arrêter le fonctionnement du générateur il fautmettre l'interrupteur (2) sur la position "0" et agir sur le dispositif de contrôle, par ex., en reglant le thermostat sur une temperature plus basse. La flamme s'eteint et le ventilateur continue à fonctionner jusqu'au refroidissement complet de la chambre de combustion.
DISPOSITIFS DE SECURITE
Le générateur est muni d'un coffret électronique pour le contrôle de la flamme. En cas de mauvais fonctionnement ce coffret provoque l'arrêt du générateur et l'allumage de la lampe témoin du bouton de réarmament. Un thermostat de surchauffe intervient et provoque l'interruption de l'alimentation du fuel si le générateur surchauffe: le thermostat se réarme automatiquement quand la température de la chambre de combustion diminue jusqu'à rejoindre la valeur maximale admise. Avant de remettre en marche le générateur il faut couver et eliminer la cause qui a produit la surchauffe (par ex. obstruction de l'entrée ou de la sortie de l'air, arrêt du ventilateur). Pour faire redémarrer le générateur il faut pousser le bouton de réarmament (1) et repêter les instructions spécifiques du paragraphe "MISE EN MARCHE".
Avant de déplacer l'appareil il faut:
- arrêté le générateur en suivant les indications du paragraphe précédent;
- débrancher l'alimentation en enlevant la fiche de la prise de courant;
- attendre que le générateur soit froid.
Avant de soulever ou de déplacer le générateur il faut s'assurer que le bouchon du réservoir soit bien fixé.
Le générateur peut être fourni dans une version mobile, muni de roues, ou dans une version suspendue, monté sur une structure de support avec des ancrages pour le fixage qui doit être effectué avec l'aide de cordes ou de chaines. Dans le premier cas, pour le transport il est suffisant de saisir le générateur par la poignée de soutien et de le faire glisser sur les roues. Dans le deuxième cas le soulevvement doit être effectué avec un chariot élevateur ou un équipement similaire.
ENTRETIEN
Pour que l'appareil fonctionne régulièrement, il est nécessaire de nettoyer périodiquement la chambre de combustion, le brûleur et le ventilateur.
Attention
Avant de commencer une quelconque opération d'entretien il faut:
STOP - Arrêter le générateur selon les indications du paragraphe précédent;
- Débrancher l'alimentation électrique en enlevant la fiche de la prise de courant;
- Attendre que le générateur soit froid.
Toutes les 50 heures de fonctionnement il est nécessaire de:
- Démoner la cartouche du filtré, l'extraire et la nettoyer avec du fuel propre;
- Démoner la carrosserie externe cylindrique et nettoyer la partie interne et les pales du ventilateur;
- Contrôler l' état des cables et des connexions haute tension sur les électrodes;
- Demonter le brûleur et en nettoyer les différentes parties, nettoyer les electrodes et régler leur distance en respectant les données du schéma I.
ANOMALIES DE FONCTIONNEMENT, CAUSES ET SOLUTIONS
| ANOMALIE DE FONCTIONNEMENT | CAUSE | SOLUTION |
| Le ventilateur ne démarre pas et la flamme ne s'allume pas | Le courant électrique n'arrive pas | Vérifier les caractéristiques de l'installation électrique (230 V-1 -- -50Hz)Vérifier le fonctionnement et la position de l'interrupteurVérifier l'efficacité du fusible |
| Mauvais réglage d'un évientuel dispositif de contrôle | Vérifier que le réglage du dispositif de contrôle soit correct (par ex.la température可以选择 sur le thermostat doit être supérieure à la température du local) | |
| Dispositif de contrôle défectueux | Remplacer le dispositif de contrôle | |
| Bobinage du moteur brûlé ou interrompu | Remplacer le moteur | |
| Roulements du moteur bloqués | Remplacer les roulements | |
| Condensateur du moteur brûlé | Remplacer le condensateur | |
| Le ventilateur démarre et la flamme ne s'allume pas ou ne reste pas allumée | L'allumage ne fonctionne pas | Vérifier les branchements des cables d'allumage aux électrodes et au transformateurVérifier la position des électrodes et leur distance selon le schémaIVérifier que les électrodes soient propresRemplacer le transformateur d'allumage |
| Le coffret de contrôle de la flamme défectueux | Remplacer le coffret | |
| La cellule photo ne fonctionne pas | Nettoyer la cellule photo ou la replacer | |
| Le fuel n'arrive pas au brûleur ou arrive en quantité insuffisante | Contrôler l'efficacité du raccord moto-pompeContrôler qu'il n'y aït pas d'infiltrations d'air dans le circuit du fuel en vérifying l'échantéité des tuyaux et des joints du filtreNettoyer ou s'il le fauchanger le giclaur | |
| L'électro-vanne ne fonctionne pas | Contrôler le branchement électriqueContrôler le thermostat LINettoyer et eventuèlement replacer l'électro-vanne | |
| Le ventilateur démarre et la flamme s'allume en produitant de la fumée | L'air de combustion est insuffisant | Enlever tous les obstacles ou obstructions à l'aspiration ou à la sortie de l'airVérifier la position du volet de réglage de l'airNettoyer le disque du brûleur |
| L'air de combustion est excessif | Vérifier la position du volet de réglage de l'air | |
| Le fuel utilisé est sale ou contient de l'eau | Vidanger et replacer par du fuel propreNettoyer le filtré du fuel | |
| Infiltrations d'air dans le circuit du fuel | Vérifier l'échantéité des tuyaux et du joint du filtré du fuel | |
| Quantité insuffisante de fuel au brûleur | Vérifier la valeur de la pression de la pompeNettoyer et replacer le giclaur | |
| Quantité excessive de fuel au brûleur | Vérifier la valeur de la pression de la pompeSubtituer le giclaur | |
| Le générateur ne s'arrête pas | L'électrovanne ne ferme pas | Remplacer le corps de l'électrovanne |
| Le ventilateur ne s'arrête pas | Le thermostat du ventilateur est défectueux | Remplacer le thermostat FA |
Si ces contrôles et ces solutions ne sont pas la cause du mauvais fonctionnement du générateur, veuillez contacter notre plus proche centre de vente-assistance autorisé.

| F | FUSIBLE | EC 20, EC 30, EC 45 | 6 A | THERMOSTAT VENTILATEUR | PRISE THERMOSTAT D'AMBIACE |
| GE 25, GE 40, GE 65 | |||||
| EC 80, GE 105 | 10 A | ||||
| IT | TRANSFORMATEUR H.T. | CO | CONDENSATEUR | RE | |
| RELais | |||||
| LI | THERMOSTAT DE SURCHAUFFE | MV | MOTEUR DU VENTILATEUR | AP | |
| COFFRET DE SECURITE | |||||
| EV | ELECTROVANNE | ST | LAMPE TEMOIN D'ALIMENTATION | RF | |
| FILTRE GASOIL RECHAUFFE | |||||
| FO | PHOTORESISTANCE | IN | INTERRUPTEUR | ||


LEGENDE
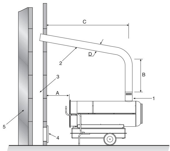
A) Minimum 1 m
B) Minimum 1 m
C) Le plus court possible
D) Egal supérieur au diamètre de la cheminée du générateur
E) Minimum 1 m
1) Accessoire anti-refoulement
2) Passage horizontal avec pente minimale vers le haut de 5^
3) Dimensions internes minimales de la cheminée de 20 × 20 cm
4) Clapet de visite anti-explosion
5) Mur extérieur
6) Chapeau de couverture
N.B. Les schémas ci-dessus sont indicatifs et sans engagement de notre part. Nous vous prions de faire mettre votre installation en conformité par toute revendeur ou toute installer.



| Pos. | Cod. | LEGENDE | EC 20 | EC 30 | EC 45 | EC 80 | GE 25 | GE 40 | GE 65 | GE 105 |
| 01 | P 20134 | Chàssis | ● | ● | ● | ● | ● | ● | ||
| P 20135 | Chàssis | ● | ● | |||||||
| 02 | P 20132 | Chàssis | ● | ● | ● | ● | ||||
| P 20133 | Chàssis | ● | ● | |||||||
| 03 | G 01479 | Support | ● | ● | ||||||
| 04 | C 30305 | Bouchon | ● | ● | ● | ● | ● | ● | ● | ● |
| 05 | G 01432 | Essieu | ● | ● | ● | ● | ||||
| G 01433 | Essieu | ● | ● | |||||||
| G 01473 | Essieu | ● | ● | |||||||
| 06 | C 10509 | Roue Ø 200 Ø 20 | ● | ● | ● | ● | ● | ● | ||
| C 10504 | Roue Ø 250 Ø 25 | ● | ● | |||||||
| 07 | M 20203 | Clips de fixation Ø 20 | ● | ● | ● | ● | ● | ● | ||
| M 20204 | Clips de fixation Ø 25 | ● | ● | |||||||
| 08 | G 01427 | Réserveur fuel | ● | ● | ● | ● | ||||
| G 01428 | Réserveur fuel | ● | ● | |||||||
| G 01471 | Réserveur fuel | ● | ● | |||||||
| 09 | I 31014 | Bouchon de vidange | ● | ● | ● | ● | ● | ● | ● | ● |
| 10 | I 31025 | OR bouchon | ● | ● | ● | ● | ● | ● | ● | ● |
| 11 | I 31018 | Bouchon de remplissage | ● | ● | ● | ● | ● | ● | ● | ● |
| 12 | P 30136 | Grille protection | ● | |||||||
| P 30103 | Grille protection | ● | ● | ● | ● | ● | ||||
| P 30129 | Grille protection | ● | ● | |||||||
| 13 | T 10228 | Ventilateur Ø 265 27° | ● | |||||||
| T 10207 | Ventilateur Ø 300 18° | ● | ● | ● | ||||||
| T 10202 | Ventilateur Ø 300 27° | ● | ● | |||||||
| T 10201 | Ventilateur Ø 500 33° | ● | ● | |||||||
| 14 | M 10609 | Vis M8x8 | ● | ● | ● | ● | ● | ● | ● | ● |
| 15 | G 01461 | Bride support moteur | ● | ● | ● | ● | ||||
| G 01514 | Bride support moteur | ● | ||||||||
| G 02010 | Bride support moteur | ● | ||||||||
| G 01515 | Bride support moteur | ● | ● | |||||||
| 16 | G 01061 | Déflecteur d'air | ● | ● | ||||||
| G 01513 | Déflecteur d'air | ● | ● | |||||||
| 17 | G 02009 | Chambre de comb. | ● | |||||||
| G 01434 | Chambre de comb. | ● | ||||||||
| G 01435 | Chambre de comb. | ● | ||||||||
| G 01035 | Chambre de comb. | ● | ||||||||
| G 01474 | Chambre de comb. (rif. 17+18) | ● | ||||||||
| G 01036 | Chambre de comb. (rif. 17+18) | ● | ||||||||
| G 01037 | Chambre de comb. (rif. 17+18) | ● | ||||||||
| G 01038 | Chambre de comb. (rif. 17+18) | ● | ||||||||
| 18 | G 01661 | Disque parefilamme | ● | |||||||
| G 01039 | Disque parefilamme | ● | ● | |||||||
| G 01040 | Disque parefilamme | ● | ||||||||
| 19 | G 01463 | Emboute conique | ● | ● | ● | ● | ||||
| G 01042 | Emboute conique | ● | ● | |||||||
| G 02008 | Emboute conique | ● | ||||||||
| G 01493 | Emboute conique | ● | ||||||||
| 20 | G 01495 | Base | ● | ● | ● | ● | ||||
| G 01496 | Base | ● | ● | |||||||
| G 01497 | Base | ● | ● | |||||||
| 21 | G 02011 | Carrosserie Inf. | ● | |||||||
| G 01498 | Carrosserie Inf. | ● | ||||||||
| G 01499 | Carrosserie Inf. | ● | ||||||||
| G 01500 | Carrosserie Inf. | ● | ● | |||||||
| G 01501 | Carrosserie Inf. | ● | ||||||||
| G 01502 | Carrosserie Inf. | ● | ||||||||
| G 01503 | Carrosserie Inf. | ● | ||||||||
| 22 | G 02012 | Carrosserie sup. | ● | |||||||
| G 01504 | Carrosserie sup. | ● | ||||||||
| G 01505 | Carrosserie sup. | ● | ||||||||
| G 01506 | Carrosserie sup. | ● | ||||||||
| 22 | G 01507 | Carrosserie sup. | ● | |||||||
| G 01508 | Carrosserie sup. | ● | ||||||||
| G 01509 | Carrosserie sup. | ● | ||||||||
| G 01510 | Carrosserie sup. | ● | ||||||||
| 23 | G 02013 | Carrosserie sup. | ● | |||||||
| G 01516 | Carrosserie sup. | ● | ● | |||||||
| G 01517 | Carrosserie sup. | ● | ||||||||
| 24 | G 01044 | Cheminée Ø 150 | ● | ● | ● | ● | ||||
| 25 | C 30307 | Prot. caoutchouc Ø 35 | ● | ● | ● | ● | ● | ● | ● | ● |
| 26 | G 01005 | Support coffret | ● | ● | ● | ● | ● | ● | ● | ● |
| 27 | E 40107 | Support LOA21/24 | ● | ● | ● | ● | ● | ● | ● | ● |
| 28 | E 40106 | Coffret Landis & Gyr LOA21-24 | ● | ● | ● | ● | ● | ● | ● | ● |
| * 29 | E 10917 | Transformateur H.T. 818C 230V | ● | ● | ● | ● | ● | ● | ● | ● |
| * De matr. No.: EC 30: 20104501 - EC 45: 20206001 - EC 80: 20305901 - GE 25: 25401001 - GE 40: 25101801 - GE 65: 25202301 - GE105 : 25301901 | ||||||||||
| * Peut replacer le précédent modèle COFI 1020 E10901M | ||||||||||
| 30 | G 02044 | Câble H.T. | ● | ● | ● | ● | ● | ● | ● | ● |
| 31 | E 11120 | Relais Finder 65.31 V 220 | ● | ● | ● | ● | ● | ● | ● | ● |
| 32 | E 20305 | Barrette de connection | ● | ● | ● | ● | ● | ● | ● | ● |
| 33 | G 01518 | Support coffret éléctrique | ● | ● | ● | ● | ● | ● | ● | ● |
| 34 | E 11021 | Lampe Témoin 230V-50Hz | ● | ● | ● | ● | ● | ● | ● | ● |
| 35 | E 20402 | Protection pour interrupteur | ● | ● | ● | ● | ● | ● | ● | ● |
| 36 | E 10110 | Interrupteur 0 - 1 | ● | ● | ● | ● | ● | ● | ● | ● |
| 37 | E 20626 | Fiche thermostat | ● | ● | ● | ● | ● | ● | ● | ● |
| 38 | E 20627 | Plaque de prise | ● | ● | ● | ● | ● | ● | ● | ● |
| 39 | E 20307 | Presse câble | ● | ● | ● | ● | ● | ● | ● | ● |
| 40 | E 10307 | Fusible (6x30) 6 A | ● | ● | ● | ● | ● | ● | ||
| E 10308 | Fusible (6x30) 10 A | ● | ● | |||||||
| 41 | E 30401 | Câble avec fiche | ● | ● | ● | ● | ● | ● | ● | ● |
| 42 | E 30407 | Câble avec fiche et presse câble | ● | ● | ● | ● | ● | ● | ● | ● |
| 43 | I 40303 | Tuyau Rilsan Ø 6 | ● | ● | ● | ● | ● | ● | ● | ● |
| 44 | C 30301 | Protection caoutchouc Ø 18 | ● | ● | ● | ● | ● | ● | ● | ● |
| 45 | G 01029 | Raccord 1/4" Mx6 aspir. | ● | ● | ● | ● | ● | ● | ● | |
| G 01475 | Raccord 1/4" Mx6 aspir. | ● | ● | |||||||
| 47 | I 20401 | Raccord droit 1/4" Mx6 | ● | ● | ● | ● | ● | ● | ● | ● |
| 48 | I 20402 | Raccord droit 1/8" Mx6 | ● | ● | ● | ● | ● | ● | ● | ● |
| 49 | I 31017 | Ecrou 3/8"x5 | ● | ● | ● | ● | ● | ● | ● | ● |
| 50 | K 01010 | Support filtre | ● | ● | ● | ● | ● | ● | ● | ● |
| 51 | I 31013 | Vis double | ● | ● | ● | ● | ● | ● | ● | ● |
| 52 | I 20405 | Raccord 90° 3/8" Mx6 | ● | ● | ● | ● | ● | ● | ||
| I 20403 | Raccord droit 3/8" Mx6 | ● | ● | |||||||
| 53 | T 20211 | Filtreavec cartouche 3/8" | ● | ● | ● | ● | ● | ● | ● | ● |
| 54 | T 20202 | OR du filtre | ● | ● | ● | ● | ● | ● | ● | ● |
| 55 | T 20214 | Joint sup. du filtre gasoil | ● | ● | ● | ● | ● | ● | ● | ● |
| 56 | T 20206 | Cartouche filtre | ● | ● | ● | ● | ● | ● | ● | ● |
| 57 | T 20212 | Cuve filtre | ● | ● | ● | ● | ● | ● | ● | ● |
| 58 | E 50101 | Thermostat bilame Fan | ● | ● | ● | ● | ● | ● | ● | ● |
| 59 | E 50102 | Thermostat bilame Limit | ● | ● | ● | ● | ● | ● | ● | ● |
| 60 | E 10215 | Électrode | ● | ● | ● | ● | ● | ● | ● | ● |
| 61 | E 20113 | Conn. cable 90° H.T. | ● | ● | ● | ● | ● | ● | ● | ● |
| 62 | G 01512 | Tuyau Ø 4 | ● | ● | ● | |||||
| G 01863 | Tuyau Ø 4 | ● | ● | ● | ||||||
| 63 | T 20410 | Pompe Danfoss BFP11/21-R3 | ● | ● | ● | ● | ● | ● | ||
| T 20411 | Pompe Danfoss BFP11/21-R5 | ● | ● | |||||||
| 64 | T 20114 | Bobine E.V. BFP11/21 | ● | ● | ● | ● | ● | ● | ● | ● |
| 65 | T 20117 | Electrovanne Danfoss | ● | ● | ● | ● | ● | ● | ● | ● |
| 66 | I 20401 | Raccord droit 1/4" Mx6 | ● | ● | ● | ● | ● | ● | ● | ● |
| 67 | E 10513 | Accoulement Pl. K1 | ● | ● | ● | ● | ● | ● | ||
| E 10514 | Accoulement Pl. K2 | ● | ● | |||||||
| 68 | I 30856 | Rac. équerre 90° 1/8" Mx4 | ● | ● | ● | ● | ● | ● | ● | ● |
| 69 | I 30858 | Bicône Ø 4 | ● | ● | ● | ● | ● | ● | ● | ● |
| 70 | I 30857 | Ecrou pour raccord Ø 4 | ● | ● | ● | ● | ● | ● | ● | ● |
| 71 | E 10511 | Moteur 130 W avec cond. | ● | ● | ● | ● | ||||
| E 10546 | Moteur 200 W avec cond. | |||||||||
| 71 | E 10515 | Moteur 750 W avec cond. | ● | ● | ||||||
| 72 | E 11201 | Condensateur 5 μF | ● | ● | ● | ● | ||||
| E 11214 | Condensateur 6,3 μF | ● | ● | |||||||
| E 11202 | Condensateur 16 μF | ● | ● | |||||||
| 73 | I 30859 | Raccord droit 1/8" Mx6 | ● | ● | ● | ● | ● | ● | ● | ● |
| 74 | I 31034 | Ecrou M14 | ● | ● | ● | ● | ● | ● | ● | ● |
| 75 | G 01176 | Bride Brûleur Ø 80mm | ● | ● | ● | ● | ● | ● | ● | ● |
| * EC 80 Jusqu'à matr. No.: 20307000 - * GE 105 Jusqu'à matr. No.: 25302500 | ||||||||||
| 76 | I 30638 | Support giclaur | ● | ● | ● | ● | ● | ● | ● | ● |
| 77 | G 01077 | Accroche flamme | ● | ● | ● | ● | ● | ● | ● | |
| G 01470 | Accroche flamme | ● | ||||||||
| 78 | T 20329 | Giclaur 0,50 GPH 80° | ● | ● | ||||||
| T 20301 | Giclaur 0,65 GPH 80° | ● | ||||||||
| T 20302 | Giclaur 0,75 GPH 80° | ● | ||||||||
| T 20303 | Giclaur 1,00 GPH 80° | ● | ||||||||
| T 20304 | Giclaur 1,25 GPH 80° | ● | ||||||||
| T 20305 | Giclaur 1,50 GPH 80° | ● | ||||||||
| T 20306 | Giclaur 2,00 GPH 80° | ● | ||||||||
| 79 | G 01045 | Volet réglage air | ● | ● | ● | ● | ||||
| G 01046 | Volet réglage air | ● | ||||||||
| G 01047 | Volet réglage air | ● | ● | |||||||
| 80 | E 50306 | Photoresis. LOA21/24 | ● | ● | ● | ● | ● | ● | ● | ● |
| 81 | E 50307 | Boucle de fixation | ● | ● | ● | ● | ● | ● | ● | ● |
| 82 | E 50308 | Bride | ● | ● | ● | ● | ● | ● | ● | ● |
| 83 | M 10108 | Vis TC M5x16 | ● | ● | ● | ● | ● | ● | ● | ● |
| 84 | M 10229 | Vis TE M6x55 | ● | ● | ● | ● | ● | ● | ||
| 85 | M 10704 | Ecrou M6 | ● | ● | ● | ● | ● | ● | ||
| 86 | M 20408 | Ecrou M5 | ● | ● | ● | ● | ● | ● | ||
| 87 | M 10508 | Vis TC 8x3/8" | ● | ● | ● | ● | ● | ● | ● | ● |
| 88 | M 10204 | Vis TE M6x16 | ● | ● | ● | ● | ● | ● | ||
| 89 | M 10507 | Vis TC 8x1"1/2" | ● | ● | ● | ● | ● | ● | ● | ● |
| 90 | M 10514 | Vis TC 4x1/2" | ● | ● | ● | ● | ● | ● | ● | ● |
| 91 | M 20409 | Ecrou M6 | ● | ● | ● | ● | ● | ● | ● | ● |
| 92 | M 10115 | Vis TC M6x20 | ● | ● | ● | ● | ● | ● | ● | ● |
| 93 | M 10509 | Vis TE 14x1/2" | ● | ● | ● | ● | ● | ● | ● | ● |
| 94 | M 10703 | Ecrou M5 | ● | ● | ● | ● | ● | ● | ● | ● |
| 95 | M 10306 | Vis TCEI M4x16 | ● | ● | ● | ● | ● | ● | ||
| M 10313 | Vis TCEI M5x35 | ● | ● | |||||||
| 96 | M 10504 | Vis TC 6x1/2" | ● | ● | ● | ● | ● | ● | ● | ● |
| 97 | M 10102 | Vis TC M4x8 | ● | ● | ● | ● | ● | ● | ● | ● |
| 98 | M 10312 | Vis TCEI M6x25 | ● | ● | ● | ● | ● | ● | ● | |
| 99 | M 10518 | Vis TE 14x1" 1/2" | ● | ● | ||||||
| 100 | M 10501 | Vis TC 4x3/8" | ● | ● | ● | ● | ● | ● | ● | ● |
| 101 | T 20213 | Joint inf. du filtre gasoil | ● | ● | ● | ● | ● | ● | ● | ● |
| 102 | M 10510 | Vis TE 10x1/2" FR | ● | |||||||
| 103 | M 20811 | Epaisseur | ● | |||||||
| 104 | M 20402 | Plaqué elastique U42-032 | ● | |||||||
| *105 | G 01890 | Bride Brûleur Ø102mm | ● | ● | ||||||
- EC 80 De matr. No.: 20307001 - * GE 105 De matr. No.: 25302501
KIT ENTRETIEN POUR EC /GE :
compend 1 giclaur, 1 cartouche fille, 3 joints de filtre fuel .
Référence du kit = ref du giclaur avec la dette K devant :
soit pour EC 80 : KT20305
| CHARACTERISTIQUES TECHNIQUES | EC 20 | EC 30 | EC 45 | EC 80 | GE 25 | GE 40 | GE 65 | GE 105 | |
| Puisance thermique maxi | KW | 23,2 | 29 | 46,5 | 81,4 | 25,6 | 40,7 | 64 | 104,6 |
| Kcal/H | 20 000 | 25 000 | 40 000 | 70 000 | 22 000 | 35 000 | 55 000 | 90 000 | |
| Débit d'air à 70°C | M³/H | 1 400 | 1 800 | 2 150 | 3 900 | 1 000 | 1 400 | 1 900 | 4 750 |
| Puisance nette | KW | 18,8 | 25 | 39 | 69 | 26 | 41 | 64 | 105 |
| Consommation | Kg/H | 1,96 | 2,4 | 3,9 | 6,8 | 2,2 | 3,4 | 5,4 | 8,9 |
| Alimentation électrique | Phase | 1 | 1 | 1 | 1 | 1 | 1 | 1 | 1 |
| Tension V | 230 | 230 | 230 | 230 | 230 | 230 | 230 | 230 | |
| Fréquence Hz | 50 | 50 | 50 | 50 | 50 | 50 | 50 | 50 | |
| Puisance électrique | W | 350 | 350 | 480 | 1 140 | 320 | 330 | 550 | 1 170 |
| Giclaur | TYPE | 0,50-80° H | 0,65-80° S | 1,00-80° S | 1,50-80° S | 0,50-80° H | 0,75-80° S | 1,25-80° S | 2,00-80° S |
| Pression pompé | bar | 14 | 10 | 10 | 12 | 14 | 13 | 12 | 12 |
| Réglage volet d'air (voir schémas ) | mm | Fig. 1a=MAXI | Fig. 1a=13 | Fig. 1a=15 | Fig. 1a=8 | Fig. 1a=13 | Fig. 1Ouverture maxi | Fig. 2b=5 | Fig. 1a=13 |
| Diamètre fumées | mm | 153 | 153 | 153 | 153 | --- | --- | --- | --- |
| Capacité réservoir | L | 41 | 65 | 65 | 105 | 41 | 65 | 65 | 105 |
| Niveau sonore 1 m | dBA | 75 | 76 | 74 | 78 | 76 | 73 | 73 | 77 |
| Dimensions LxPxH | mm | 1139 x 525 x 890 | 1170 x 490 x1020 | 1310 x 490 x1020 | 1585 x 680 x1180 | 1075 x 526 x 660 | 1075 x 490 x 830 | 1170 x 490 x 830 | 1585 x 680 x 990 |
| Poids | Kg | 53 | 66 | 72 | 123 | 42 | 55 | 61 | 101 |



Notice Facile