POWERTHERM - Poêle à granulés MCZ - Notice d'utilisation et mode d'emploi gratuit
Retrouvez gratuitement la notice de l'appareil POWERTHERM MCZ au format PDF.
| Intitulé | Description |
|---|---|
| Type de produit | Poêle à granulés MCZ POWERTHERM |
| Caractéristiques techniques principales | Poêle à granulés avec système de chauffage à convection et radiateur |
| Alimentation électrique | 230 V / 50 Hz |
| Dimensions approximatives | Largeur : 80 cm, Hauteur : 120 cm, Profondeur : 45 cm |
| Poids | 150 kg |
| Compatibilités | Compatible avec différents types de granulés de bois |
| Type de batterie | Non applicable |
| Tension | 230 V |
| Puissance | De 5 à 12 kW selon le modèle |
| Fonctions principales | Chauffage, programmation à distance, régulation de la température |
| Entretien et nettoyage | Nettoyage régulier du réservoir et de la chambre de combustion, vérification des conduits d'évacuation |
| Pièces détachées et réparabilité | Disponibilité de pièces détachées via le réseau de distribution MCZ |
| Sécurité | Système de sécurité intégré pour éviter les surchauffes et les pannes |
| Informations générales utiles | Vérifier les normes d'installation et les exigences d'évacuation des fumées avant l'achat |
FOIRE AUX QUESTIONS - POWERTHERM MCZ
Questions des utilisateurs sur POWERTHERM MCZ
0 question sur cet appareil. Repondez a celles que vous connaissez ou posez la votre.
Poser une nouvelle question sur cet appareil
Téléchargez la notice de votre Poêle à granulés au format PDF gratuitement ! Retrouvez votre notice POWERTHERM - MCZ et reprennez votre appareil électronique en main. Sur cette page sont publiés tous les documents nécessaires à l'utilisation de votre appareil POWERTHERM de la marque MCZ.
MODE D'EMPLOI POWERTHERM MCZ
Mode d'emploi powertherm
1.3.1. Limites de garantie 6 1.3.2. Exclusions 6
2. Notions theoriques pour l'installation 7
2.1. LES PELLETS (ou GRANULES DE BOIS) 7 2.2. PRECAUTIONS POUR L'INSTALLATION 8 2.3. LE LIEU D'INSTALLATION 9 2.4. RACCORDEMENT A LA PRISE D'AIR FRAIS EXTERIEUR 9 2.5. RACCORDEMENT AU TUYAU DE SORTIE DE FUMÉES 10 2.6. RACCORDEMENT AU CONDUIT DE FUMEE 11 2.7. RACCORDEMENT À UN CONDUIT EXTERIEUR PAR TUYAU CALORIFUGÉ OU À DOUBLE PAROI. 11 2.8. RACCORDEMENT AU CONDUIT DE CHEMINÉE 11 2.9. ANOMALIES DE FONCTIONNEMENT LIÉES AU MAUVAIS TIRAGE DU CONDUIT DE CHEMINÉE 12
3.1. SCHEMAS et CARACTERISTIQUES TECHNIQUES 13 3.2. PREPARATION ET DÉBALLAGE 14 3.3. MONTAGE MONOBLOC SUR BASE EN MAÇONNERIE 14 3.4. MONTAGE DU KIT PIÉTEMENT (EN OPTION) ET FIXATION DU MONOBLOC AU SOL 15 3.5. DEMONTAGE DE L'ENCADREMENT DE COMPENSATION 16 3.6. MONTAGE DE LA GOULOTTE DE CHARGEMENT DES PELLETS 16
3.6.1. Montage l'étal de la goulotte 16 3.6.2. Montage frontal de la goulotte 17
3.7. TABLEAUX DE COMMANDE MONTES SUR LE VOLET 17 3.8. AIR COMBURANT ET FILTRE A AIR 18 3.9. BOUCHES DE VENTILATION DE LA HOTTE 18
3.9.1. Gabarit pour la réalisation des truies pour les grilles standard de ventilation de la hotte 19
3.10. CANALISATION DE SORTIE D'AIR CHAUD 19
3.10.1. Composants du kit de ventilation forcée 19 3.10.2. Bouches applicables au kit de ventilation forcée 20 3.10.3. Installation du kit de ventilation forcée 20 3.10.4. Variante pour bouche avec bac 21 3.10.5. Variante pour bouche avec éclairage 21 3.10.6. Branchement électrique des ventilateurs 23 3.10.7. Remplacement du ventilateur 23
3.11. BRANCHEMENT ELECTRIQUE 24 3.12. RÉALISATION DE L'HABILLAGE 24 3.13. ISOLATION DE LA POUTRE EN BOIS 25 3.14. MONTAGE DES HABILLAGES STANDARD MCZ 25 3.15. MONTAGE DU CADRE DE COMPENSATION 25 3.16. MONTAGE DU VOLET DE LA GOULOTTE DE CHARGEMENT DU PELLET ET TABLEAUX DE
COMMANDES. 25
3.16.1. Montage du tableau de secours et de l'interrupteur général 26 3.16.2. Montage du volet 26
3.17. OUVERTURE/FERMETURE DE LA PORTE DU PELLET 27 3.18. SCHEMA POUR LA RÉALISATION DES TROUS SUR L'HABILLAGE 27
4. Fonctionnement 28
4.1. RECOMMANDATIONS AVANT L'ALLUMAGE 28 4.2. CONTROLLE AVANT L'ALLUMAGE 28 4.3. CHARGEMENT DES PELLETS 29 4.4. TELECOMMANDE LCD 30
4.4.1. Caractéristiques générales de la télécommande LCD 30 4.4.2. Télécommande LCD 30 4.4.3. Afficheur de la télécommande 31 4.4.4. Type de piles et remplacement 32
4.5. Tableau de secours 33
4.6. RÉGLAGE À EFFECTUER AVANT LE PREMIER ALLUMAGE 34
4.6.1. Réglage de l'heure du jour en cours. 34 4.6.2. Configuration de l'unité de mesure de la température 34
4.7. Premier allumage 35
4.7.1. Allumage/Extinction au moyen de la télécommande 35 4.7.2. Remarque sur le premier allumage 35 4.7.3. Allumage/Extinction à partir du tableau de secours 36
4.8. Modalités de fonctionnement 36
4.8.1. Manuel et automatique 36 4.8.2. Mode manuel 37
4.8.2.1. Passage du mode manuel au mode automatique 37
4.8.3. Mode automatique 37 4.8.3.1. Passage du mode automatique au mode manuel 38 4.8.4. Mode automatique avec ECO-STOP 38 4.8.4.1. Activation, déactivation modalité ECO-STOP 39
4.9. LA VENTILATION D'AIR CHAUD 39 4.10. FONCTION SLEEP 40 4.11. LE CHRONO 40
4.11.1. Jour courant et horloge 40 4.11.2. Activation CHRONO et besoin d'un programme 41 4.11.3. Désactivation du CHRONO 43
4.12. PROGRAMMES HEBDOMADAIRES ET JOURNALIERS PRE-CONFIGURES 43
4.12.1. Programmes hebdomadaires 43 4.12.2. Programmes journalistiques 45
4.13. EXAMPLE PRATIQUE DE PROGRAMMATION HEBDOMADAIRE / JOURNALIERE 46
4.13.1. Configuration d'un programme hebdomadaire 46 4.13.2. Configuration d'un programme journalier 46
4.14. VERROILLAGE DU CLAVIER 48
4.15. Synchronisation de la télécommande 49 4.16. Dispositifs de sécurité 49 4.17. SignaLisation des alarmes 50 4.18. Sortie de la condition d'alarme 52 4.18.1. Blocage mécanique du poêle 52
- ENTRETIEN ET NETTOYAGE 53
5.1. Nettoyage Quotidien ou Hebdomadaire 53
5.1.1. Avant chaque allumage 53 5.1.2. Nettoyage tous les 2/3 jours 53 5.1.3. Nettoyage de la vitre 53
5.2. NETTOYAGES PÉRIODIQUES INCOMBANT À L'UTILISATEUR 54
5.2.1. Extraction du monobloc 54 5.2.2. Nettoyage du filtre à air 55 5.2.3. Nettoyage de l'échangeur de chaleur 55 5.2.4. Nettoyage du conduit de fumée et du raccord 55 5.2.5. Autres contrôles 56 5.2.6. Mise hors service (fin de saison) 56 5.2.7. Contrôle des composants internes 56
- PANNESEXCEPTIONS / CAUSES / SOLUTIONS 57
- SCHEMAS ELECTRIQUES 59
Cher Client,
Nous tenons à vous remercier de la préférence que vous avez accordée aux produits MCZ et, en particulier, à un poêle de la ligne à pellets MCZ.
Pour un fonctionnement optimal de votre poèle et pour pouvoir profiter pleinement de la chaleur et du bien-être qu'offre le feu à votre intérieur, nous vous conseillons de lire attentivement ce livre d'instructions avant d'effectuer le premier allumage.
Nous vous félicitons encore de votre choix et vous rappelons que le produit NE DOIT PAS être manipulé par les enfants ni par les personnes de capacité physiques ou mentales réduites, ou ne disposant ni de l'expérience ni de l'information nécessaires. Le cas échéant, la personne chargée de leur sécurité doit les surveiller ou les instruire opportunément sur l'utilisation de l'appareil.
Mise à jour du livre
Dans le but d'améliorer constamment ce produit, le constructeur se réserve le droit d'apporter sans préavis toutes les modifications qu'il jugera utiles lors de la mise à jour de cette publication. Toute reproduction, même partielle, de ce manuel sans l'autorisation du Fabricant est rigoureusement interdite.
Conservation et consultation du livre.
- Prenez soin de ce manuel et conservez-le à portée de main dans un endroit rapidement et facilement accessible. Au cas où ce manuel serait perdu ou détruit ou, quoi qu'il en soit, s'il se trouve en très mauvais état, demandez une copie à votre revendeur ou directement au Fabricant en spécifiant bien les références du modèle qui vous intéresse.
- Les paragraphes essentiels ou requérant une attention particulière sont imprimés en caractère gras.
- Le texte en italique sert à attirer votre attention sur certains autres paragraphes de ce manuel ou éventuelles sur des précisions complémentaires.
SYMBOLES UTILISÉS DANS CE MANUEL
| ATTENTION : Ce symbole d'ajretissement signale qu'il faut dire attentivement le passage auquel il se rapporte car le non respect des indications prescrites pourrait entraîner de sérieux dommages au poège et compromètre la sécurité l'utilisateur. | |
| INFORMATIONS : Ce symbole signale les informations importantes pour le bon fonctionnement du poège. Le non respect de ces indications compromèttrait l'utilisation du poège et son fonctionnement ne s'avérait pas satisfaistant. | |
| ÉTAPES OPÉRATIONNELLES : Indique une série de touches à presser pour acceder au menu ou pour effectuer des réglages. | |
| MANUEL Indique qu'il faut consulter avec attention ce manuel ou les instructions correspondantes. |
- L'installation, le raccordement électrique, le contrôle du fonctionnement et la maintenance devront être effectués exclusivement par des techniciens qualifiés et agréés.
- Installer le poèle suivant les normes en vigueur dans la région ou le pays où le poèle sera installé.
- Pour un usage correct du poèle et de ses systèmes électroniques, de même que pour prévenir tout accident, respectez scrupuleusement les indications figurant dans ce livre.
- L'utilisation, le réglage et la programmation du poèle doivent être effectués par des adultes. Toute erreur ou mauvaise programmation peut engendrer des situations dangereuses et/ou un mauvais fonctionnement.
- Avant toute opération, l'utilitaire ou la personne s'apprêtant à intervenir sur le poêle devra avoir lu et compris cette notice d'instructions dans son entier.
- Le poèle doit être destiné exclusivement à l'usage pour lequel il a été conçu. Toute autre utilisation doit être considérée incorrecte et donc dangereuse.
- Ne pas monter sur le poèle et ne pas l'utiliser comme plan d'appui.
- Ne pas mettre de linge à sécher sur le poèle. Les séchoirs à linge et autres accessoires similaires doivent être placés à bonne distance du poèle. - Risque d'incendie
- La responsabilité de tout usage impropre du produit incombe entièrement à l'utilisateur final et dégage la société MCZ de toute responsabilité civile et pénale.
- Toute manipulation du poèle et tout remplacement non autorisé de pièces détachées non origines peut s'avérer dangereux pour la sécurité de l'opérateur et égage la société MCZ de toute responsabilité civile et pénale.
- La plupart des surfaces du poèle sont très chaudes (porte, poignée, vitre, tuyaux de sorties de fumées, etc.). Il faut éviter par conséquent de toucher ces parties sans être protégé de manière adéquate par des vêtements ou des accessoires prévus à cet effet tels que des gants thermiques ou des systèmes d'actionnement du type "main froide".
- Expliquer scrupuleusement ces dangers aux personnes âgées, aux personnes handicapées et plus particulièrement aux enfants, en veillant toujours à ce qu'ils ne s'approchent pas du poèle allumé.
- Il est interdit de faire fonctionner le poêle avec la porte ouverte ou la vitre brisée.
- Ne pas toucher le poèle avec les mains humides car il s'agit d'un appareil électrique. Toujours débrancher le câble d'alimentation avant d'intervenir sur l'unité.
- Avant d'effectuer la moindre opération de nettoyage ou de maintenance, couper préalablement l'alimentation électrique du poêle en agissant sur l'interrupteur général.
situé au dos de celui-ci ou en débranchant le câble électrique qui l'alimente.
- Le poêlé doit être branché à une installation munie d'un disjoncteur et d'une prise de terre conformément aux normes 73/23 CEE et 93/98 CEE.
- L'installation doit être dimensionnée en fonction de la puissance électrique déclarée du poèle.
- Une installation incorrecte ou un mauvais entretien (non conformes aux prescriptions de ce livre) peuvent causer des dommages aux personnes, aux animaux ou aux choses. Dans ce cas MCZ décline toute responsabilité civile ou pénale.
1.2. Recommandations pour le fonctionnement
- Éteindre le poêle en cas de panne ou de mauvais fonctionnement.
- Ne jamais verser les pellets à la main dans le pot de combustion.
- Les granulés de bois non brûlés accumulés dans le pot de combustion suite à de nombreux "allumages manqués" doivent être enlevés avant de procéder à un nouvel allumage.
- Ne pas laver l'intérieur du poêle avec de l'eau.
- Ne pas nettoyer le poèle avec de l'eau. L'eau pourrait s'infiltrer à l'intérieur du poèle et détériorer les éléments d'isolation électrique, provoquant ainsi des chocs électriques.
- Ne pas exposer la peau à l'air chaud pendant un long moment. Ne pas surchauffer la pièce où vous séjournez ni celle où le poêle est installé. Cela pourrait ALTERER les conditions physiques ou entraîner des problèmes de santé.
- Ne pas exposer les plantes et les animaux directement au flux d'air chaud. Cela pourrait avoir des effets nocifs sur les plantes et les animaux.
- Ne pas mettre plusieurs types de granulés de bois dans le réservoir du combustible.
- Installer le poêle dans une pièce adaptée prévoyant des dispositifs de lutte contre l'incendie et équipée de tous les raccordements aux différents réseaux d'alimentation (air et électricité) et d'évacuation des fumées.
- En cas d'incendie du conduit de fumée, éteindre le poêle, le débrancher et ne jamais ouvrir la porte. Et appeler les autorités compétentes.
- Le poêle et son habillage en céramique doivent être entreposés dans un lieu sec à l'abri des intempéries.
- Il est recommandé de ne pas poser le corps du poêle directement sur le sol ; si le sol est composé de matériaux inflammables, une isolation adéquate devra être prévue.
- En cas de panne du système d'allumage, ne pas tenter d'allumer le poêle avec des matériaux inflammables.
Informations :
Pour tout problème, s'adresser au revendeur ou au
personnel qualifié et agréé MCZ. Pour les réparations, exiger des pièces détachées d'origine.
Utiliser exclusivement le combustible préconisé par MCZ (pour l'ITALIE, seulement des granulés de bois de 6 mm de diamètre - pour les autres pays européens, des granulés de bois de 6-8 mm de diamètre) et seulement pour les modèles équipés du système d'alimentation automatique. - Contrôler et faire ramoner périodiquement les conduits de sortie de fumées (raccordement au conduit de fumée). - Les granulés de bois imbriqués accumulés dans le pot de combustion suite à de nombreux "allumages manqués" doivent être enlevés avant de procéder à un nouvel allumage. Le poêle à granulés de bois n'est pas un appareil de cuisson. - Toujours veiller à ce que le couvercle du réservoir des pellets soit bien fermé. - Conserver soigneusement ce livre d'instructions car il devra accompagner le poêle pendant tout son cycle de vie. Si vous devez vendre ou transporter votre poêle dans un autre endroit, assurez-vous que ce livre l'accompagne.
En cas de perte, demandez un autre exemplaire de ce livre à votre revendeur/agréé ou à la société MCZ.
1.3. Conditions de garantie
La société MCZ garantit ce produit, à l'exclusion des éléments sujets à une usure normale comme indiqué ci-dessous, pendant une période de deux ans à compter de la date d'achat, à condition que le certificat de garantie soit validé par une pièce justificative portant le nom du revendeur et la date de vente, que ledit certificat de garantie dûment rempli soit expédié dans les 8 jours, et que le poêle ait été installé et testé par un technicien/agréé et suivant les instructions détaillées figurant dans le livre d'instructions qui accompagne le produit.
On entend par garantie le remplacement ou la réparation gratuite des parties ou des pièces d'origine reconnues défectueuses pour vice de fabrication.
1.3.1. Limites de garantie
La garantie ne couvre pas les composants électriques et électroniques ni les ventilateurs pour lesquels la période de garantie est fixée à 1 an à compter de la date d'achat justifiée comme indiqué ci-dessus. La garantie ne couvre pas les parties sujettes à une usure normale telles que joints, vitres et toutes les parties amovibles du poêle.
Les pièces remplacées seront couvertes pendant toute la période de garantie restante.

En particulier, les vitres sont garanties jusqu'au moment où le poseur agréé MCZ en atteste la parfaite intégrité une fois l'installation terminée.
1.3.2. Exclusions
Les variations chromatiques sur les parties peintes et en céramique, de même que les craquelures de la céramique ne peuvent en aucun cas faire l'objet d'une réclamation, lorsqu'il s'agit de caractéristiques naturelles inhérentes à la nature des matériaux et à l'utilisation du produit.
La garantie ne couvre pas les parties qui sont devenues défectueuses suite à des négligences, à un mauvais entretien ou à une installation non conforme aux prescriptions de la société MCZ (voir les chapitres correspondants dans ce livre d'instructions).
La société MCZ décline toute responsabilité en cas de dommages matériels et corporels éventuels, causes directement ou indirectement, aux personnes, aux animaux ou aux choses suite au non-respect des prescriptions figurant dans ce livre d'instructions et, plus particulièrement, de celles qui concernent les directives relatives à l'installation, l'utilisation et la maintenance du poêle.
En cas de mauvais fonctionnement du poêle, adressez-vous à votre revendeur et/ou à l'importateur de cette région.
Les dommages causés par le transport et/ou par la manutention du poêle sont exclus de la garantie. Pour ce qui concerne l'installation et l'utilisation du poêle, se référer exclusivement au livre d'instructions fourni avec le poêle.
La garantie ne couvre pas les dommages occasionnels par des manipulations de l'appareil, des agents atmosphériques, des calamités naturelles, des décharges électriques, l'incendie, des défauts de l'installation électrique ou un entretien incorrect ou inexistant par rapport aux instructions du constructeur.

Demande d'intervention
La demande d'intervention devra être faite au revendeur qui fera suivre l'appel au service d'assistance technique MCZ
LA SOCIÉTÉ MCZ✗DCLARE QUE LE POÉLE ACHETÉ EST CONFORME AUX DIRECTIVES CEE 89/336 et 72/23 et SUCCESSIFS AMENDEMENTS.

MCZ décline toute responsabilité en cas d'usage IMPROPRE ou de modifications du poèle et de ses accessoires, non préalablement autorisées.
Pour tout remplacement de pièces détachées, n'utiliser que des pièces détachées d'origine MCZ.
2.1. Les pellets (ou granules de BOIS)
Les pellets sont issus du compactage et du tréfilage des sciures de bois séché naturellement (sans vernis). Ce matériel doit sa densité à la lignine contenue dans le bois même, grâce à laquelle la production des granulés de bois ne requiert pas l'emploi de colles ou d'agents de liaison.
Le marché offre différents types de pellet représentant des caractéristiques qui varient en fonction des mélanges d'essences de bois utilisés. Le calibre des granulés de bois varie de 6 à 8 mm pour une longueur standard comprise entre 5 et 30 mm. Les pellets de haute qualité représentent une densité variant de 600 kg/m3 à plus de 750 avec une humidité sur poids brut du granulé variant de 5 à 8 %.
Non seulement le pellet est un combustible écologique, dans la mesure où il permet de recycler au maximum les résidus de bois pour fournir une combustion plus propre que celle obtenue avec des combustibles fossiles, mais il présente également plusieurs avantages techniques. Si la puissance calorifique d'un bon bois de chauffage est de 4,4 kW/kg (avec 15 % d'humidité, soit après 18 mois de séchage environ), celle des granulés de bois est de 4,9 kW/kg.
Pour garantir une bonne combustion, les granulés de bois doivent nécessairement être conservés à l'abri de l'humidité et de la saleté. Les pellets sont généralement distribués en sacs de 15 kg et sont par conséquent très faciles à stocker.
Des granulés de bois de bonne qualité assurent une excellente combustion tout en réduisant l'émission de gaz nocifs dans l'atmosphère.

Les principales certifications de qualité pour le pellet, existant sur le marché européen, sont la DINplus et Ö-Norm M7135 ; elles garantissent que soient respectées :
✓ Pouvoir calorifique : 4.9 kW/kg Taux d'humidité : 10 % max. du poids Pourcentage de cendres : 0,5 % max. du poids √ Diamètre : 5 - 6 mm - Longueur : max. 30 mm Composition : 100 % bois non traité et sans aucun ajout de substances liantes (pourcentage d'écorce : 5 % max.). Emballage : sacs réalisés avec un matériel écologique et biodégradable
Combustible pellet
Sac de combustible de 15 Kg

La société MCZ recommande vivement d'employer un combustible homologué avec ses poêles.
L'emploi de pellets de qualité médiocre ou non conforme à ce qui a été précédemment indiqué compromet le fonctionnement de votre poêle et par conséquent pourrait annuler la garantie et la responsabilité de la société MCZ pour ce produit. Les poêles à pellets MCZ fonctionnent exclusivement avec des granulés de bois de 6 mm de diamètre (pour l'ITALIE seulement) et de 6-8 mm de diamètre (dans les autres pays européens) d'une longueur variant de 5 à 30 mm maximum.

Important!
L'INSTALLATION ET LE MONTAGE NE DOIVENT ÊTRE EFFECTUÉS QUE PAR DU PERSONNEL QUALIFIÉ.
Toutes les réglementations locales, y compris en référence aux normes nationales et européennes, doivent être respectées lors de l'installation de l'appareil.
L'installation du poèle doit être effectuée dans un lieu permettant les normales opérations d'ouverture et d'entretien ordinaire. La pièce doit :
- être adaptée aux conditions de fonctionnement environnementales
- être équipée d'un réseau d'alimentation électrique à 230 V 50 Hz (EN73-23)
- dispose d'un système approprié pour l'évacuation des fumées
- être dotée d'une aération extérieure
- être équipée de mise à la terre conforme aux normes UE

Important!
- LE PRODUIT DOIT ÊTRE RACCORDE À UN CONDUIT DE FUMÉE INTERNE OU EXTERNE, CONFORMÉMENT AUX NORMES EN VIGUEUR.
- Le produit doit être raccordé à un conduit de fumée ou à un conduit vertical pouvant évacuer les fumées au point le plus haut de l'habitation.
- Les fumées dérivent de la combustion du bois et poursuivent donc salir les murs si évacuées trop près de ceux-ci. En outre, ces fumées étant peu visibles mais très chaudes, leur contact provoque des brûlures.
- Avant d'installer le monobloc, il faudra réaliser l'ouverture pour le passage du tube d'évacuation des fumées et l'ouverture pour la prise d'air extérieur.
- La prise électrique doit être placée en un point toujours accessible, sinon il faudra placer des dispositifs adéquats de coupure de l'alimentation électrique en phase d'installation, conformément aux normes en matière d'installation électrique.
2.3. Le LIEU d'installation
Pour un bon fonctionnement et une bonne distribution de la chaleur, le monobloc doit être installé dans un lieu où peut arriver l'air nécessaire à la combustion des granulés (disponibilité d'environ 40 m³/h), en conformité aux règles d'installation et aux normes en vigueur dans le pays d'installation.
Le volume de la pièce ne doit pas être inférieur à 30M³
L'air doit arriver à travers des ouvertures permanentes pratiquées dans les murs (à proximité du poêle) qui donnent sur l'extérieur, avec une section minimale de 100 cm².
Ces amenées d'air doivent être réalisées de manière à ne subir aucune obstruction.
L'air peut aussi être prélevé dans des pièces adjacentes à celles que l'on désire ventiler à condition qu'elles soient dotées de prise d'air externe et qu'elles ne soient utilisées ni comme chambre à coucher ni comme salle de bains, et qu'il n'y ait aucun risque d'incendie, comme par exemple : garage, remise de bois ou dépôt de matériel inflammables, ceci dans le respect des normes en vigueur.

Il est interdit d'installer l'appareil dans les chambres à coucher et salles de bains ou dans les pièces équipées d'un autre appareil de chauffage dépourvu d'une propre arrivée d'air (cheminée, radiateur, etc.).
Il est interdit d'installer le poèle dans une pièce dont l'atmosphère est explosive.
Le sol de la pièce où sera installé le poêle doit être aménagé de façon ajustée pour pouvoir supporter la charge au sol de celui-ci.
Si les murs ne sont pas de nature inflammable, installer le poèle en laissant un espace d'au moins 10 cm entre le mur et le dos du poèle.
En cas de murs de nature inflammable, laisser un espace minimum de 20 cm entre le mur et le dos du poêle, de 50 cm sur le côté et de 150 cm devant.
En présence d'objets particulièrement délicats tels que meubles, rideaux, canapés, il faudra augmenter considérablement ces distances.

En cas de sol en bois, prévoir une plaque de sol conforme aux normes en vigueur.
2.4. Raccordement à la PRESE d'air FRAIS extérieur
Il est indispensable qu'une quantité d'air frais au moins égale à celle requise par la combustion normale des granulés de bois ainsi que l'air nécessaire à la ventilation puissent arriver dans la pièce où le poêle est installé. Cette aération peut être réalisée aussi bien au moyen d'ouvertures permanentes donnant sur l'extérieur et pratiquées dans les murs de la pièce, qu'au moyen de conduits de ventilation individuels ou collectifs.
Dans ce but, réaliser une ouverture dans le mur extérieur à proximité du poèle avec une section libre minimale de 100cm² (ouverture de 12 cm de diamètre ou carrée de 10×10 cm), protégée par une grille à l'intérieur et à l'extérieur.
Exemple de réalisation de la prise d'air
Exemple d'installation de Powertherm
La prise d'air doit également :
- communiquer directement avec la pièce où le poêle est installé
- être protégée par une grille métallique ou une protection ajustée à condition que celle-ci n'en réduise pas la section minimale
- être installée de manière à ne pas pouvoir s'obstruer.

Il n'est pas obligatoire de raccorder directement l'ouverture d'air au poêle (directement avec l'extérieur) mais la section sus-indiquée devra quoi qu'il en soit garantir une arrivée d'air d'environ 50 m3/h.
Voir la forme UNI 10683.
2.5. Raccordement au TUYAU de SORTIE de fumées
Pendant la réalisation de l'ouverture pour le passage du tuyau d'évacuation des fumées, il faudra nécessairement tenir compte de la présence éventuelle de matériaux inflammables. Si l'ouverture doit traverser une paroi en bois ou, quoi qu'il en soit, en matériel thermolabile, l'INSTALLATEUR DOIT en premier lieu utiliser le raccord mural prévu à cet effet (diam. 13 cm minimum) et isoler comme il se doit le tuyau de poèle qui le traverse en utilisant des matériaux isolants adéquats. (1,3 — 5 cm d'épaisseur avec conductibilité thermique minimale de 0,07 W/m ° K).
Ceci vaut également si le tuyau du poêle doit parcourir des tronçons verticaux ou horizontalement toujours à proximité (min. 20 cm) de la paroi thermolabile.
Comme solution alternative, il est conseillé d'utiliser un tuyau industriel calorifugé que vous pourrez utiliser également à l'extérieur pour éviter les condensats.
La chambre de combustion fonctionne en dépression. Le conduit de sortie de fumées sera en dépression s'il est raccordé à un conduit de cheminée efficace comme prescrit plus haut.

Raccordement au tuyau de sortie de fumées

Important!
- Tout changement de direction du conduit d'évacuation des fumées doit être réalisé avec des raccords en "T" prévus à cet effet et équipés de regards. (Voir accessoires pour le poèle à pellets)
- Il est formellement interdit d'appliquer une grille à l'extrémité du tuyau d'évacuation car cette-ci pourrait compromètre le bon fonctionnement de votre poège. POUR LE RACCORDEMENT AU CONDUIT DE CHEMINEE, NE PAS UTILISER PLUS DE 2-3 m DE CONDUIT HORIZONTAL NI PLUS DE 3 COUDES À IL EST NOTAMMENT CONSEILLÉ DE NE PAS DÉPASSER LES 6 METRES DE LONGUEUR AVEC LE TUYAU Ø 80 mm LE TUYAU 80 mm SERT UNIQUEMENT POUR LE RACCORD AU CONDUIT DE FUMEE ET NE PEUT ETRE CONSIDERÉ UN "CONDUIT DE FUMEE". Les caractéristiques du conduit de fumée sont différentes et sont décrites dans les paragraphs suivants

2.6. Raccordement au conduit de fumée
Le conduit de cheminée ne doit pas avoir des dimensions internes supérieures à 20 × 20 cm ou à 20 cm de diamètre; en cas de dimensions supérieures ou de mauvaises conditions du conduit de cheminée (par ex. en cas de lézardes, d'isolement insuffisant, etc.), il est conseillé d'insérer à l'intérieur un tuyau en acier inox avec un diamètre approprié, sur toute la hauteur du conduit.
Vérifier, au moyen d'instruments appropriés, que le tirage est de 10 Pa minimum.
Prévoir une trappe de visite à la base du conduit de cheminée pour pouvoir effectuer les contrôles périodiques et le ramonage qui doit être fait chaque année.
Assurer l'étanchéité du raccordement au conduit de cheminée en utilisant les raccords et les tuyaux préconisés.
Contrôler impérativement qu'une sortie de toit anti-refoulement ait été installée sur le toit, conformément aux normes en vigueur.

Ce type de raccordement assure l'évacuation des fumées même en cas de coupure d'électricité momentanée.
2.7. Raccordement à un conduit exterieur par TUYAU calorifugé ou à DOUBLE PAROI.
Le conduit externe doit avoir des dimensions internes minimales de 10 × 10 cm ou de 10 cm de diamètre et maximales de 20 × 20 cm et 20 cm de diamètre.
Vérifier, au moyen d'instruments appropriés, si le tirage correspond à 10 Pa.
N'utiliser que des tuyaux calorifugés (à double paroi) en acier inox lisse à l'intérieur (il est interdit d'utiliser des tuyaux inox flexibles) et fixés au mur.
Prévoir une trappe de visite à la base du conduit vertical extérieur pour les contrôles périodiques et le ramonage qui devra être exécuté une fois par an.
Assurer l'étanchéité du raccordement au conduit de cheminée en utilisant les raccords et les tuyaux préconisés.
Contrôler impérativement qu'une sortie de toit anti-refoulement ait été installée sur le toit, conformément aux normes en vigueur.

Ce type de raccordement assure l'évacuation des fumées même en cas de coupure d'électricité momentanée.
2.8. Raccordement au conduit de cheminée
Pour un bon fonctionnement, le raccord entre le poèle et le conduit de fumée, ne doit pas être inférieur à 3% d'inclinaison pour les tronçons horizontally dont la longueur totale ne doit pas dépasser les 2/3 et le tronçon vertical d'un raccord en "T" à un autre (changement de direction) ne doit pas être inférieur à 1,5.
Vérifier, au moyen d'instruments appropriés, si le tirage est de 10 Pa minimum.
Prévoir une trappe de visite à la base du conduit de cheminée pour les contrôles périodiques et le ramonage qui devra être effectué une fois par an.
Assurer l'étanchéité du raccordement au conduit de cheminée en utilisant les raccords et les tuyaux préconisés.
Contrôler impérativement qu'une sortie de toit anti-refoulement ait été installée sur le toit, conformément aux normes en vigueur.

Ce type de raccordement assure l'évacuation des fumées même en cas de coupure d'électricité momentanée.

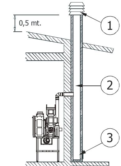
1) Sortie de toit antivent 2) Conduit de cheminée 3) Inspection

1) Sortie de toit antivient 2) Conduit de cheminée 3) Inspection

1) Sortie de toit antivent 2) Conduit de cheminée 3) Inspection
2.9. Anomalies de fonctionnement liées au mauvais TIRAGE du conduit de cheminée
Parmi les différents facteurs météorologiques et géographiques qui intervennent sur le fonctionnement d'un conduit de cheminée (pluie, brumes, neige, altitude, périodes d'ensoleillement, orientation, etc.), le vent est certainement le plus déterminant de tous. En effet, à part la dépression thermique induite par la différence de température existant entre l'intérieur et l'extérieur de la cheminée, il existe un type de dépression (ou surpression) : la pression dynamique induite par le vent. Un vent ascendant a toujours pour effet d'augmenter la dépression et par conséquent, le tirage. Un vent horizontal augmente la dépression si la sortie de toit est bien installée. Un vent descendant a toujours pour effet de diminuer la dépression et quelquefois de l'inverser.
Par ex. Vent descendant de
En dehors de la direction et la force du vent, la position du conduit de fumée et de la sortie de toit par rapport au toit de la maison et au paysage environnant est également importante.
Le vent influence même indirectement le fonctionnement de la cheminée en créant des zones de surpression et de dépression non seulement à l'extérieur, mais aussi à l'intérieur des maisons. Dans les pièces directement exposées au vent (2) peut se créer une surpression intérieure qui peut favoriser le tirage des poêles et des cheminées, mais qui peut être contrastée par la surpression extérieure si la sortie de toit est placée du côté exposé au vent (1). Au contraire, lorsque les locaux sont situés dans la direction opposée à celle du vent (3), une dépression dynamique entrant en concurrence avec la dépression thermique naturelle développée par la cheminée peut se produire, mais elle peut être compensée (quelquefois) en plaçant le conduit de fumée du côté opposé à la direction du vent (4).

1-2 = Zones de suppression
3-4 = Zones de dépression

Important!
La conformité et la position du conduit de cheminée influencent particulièrement le fonctionnement du poêle à pellets.
Des conditions précaires ne pourront être résolues que par un réglage ajusté de votre poêle, effectué par du personnel agréé MCZ.
3.1. Schemas et caracteristiques techniques
| POWERTHERM | Caracteristiques techniques | ||
| Puisance thermique totale Max. | 10.5 kw / 9.030 kcal/h | ||
| Puisance thermique totale Min. | 2.6 kw / 2.236 kcal/h | ||
| Rendement au Max. | 91.7 % (> 90%) | ||
| Rendement au Min. | 92.6 % (> 90%) | ||
| Température des fumées en sortie au Max. | 180°C | ||
| Température des fumées en sortie au Min. | 70°C | ||
| CO à 13%O2au Min. et au Max. | 0.042 - 0.019% | ||
| CO2au Min. et au Max. | 4.3% - 8.5% | ||
| Masse des fumée au min. et au max. | 4.0 - 8.3 g/sec | ||
| Tirage minimal à la puissance Max. | 0,10 mbar - 10 Pa | ||
| Tirage minimal à la puissance Min. | 0,05 mbar - 5 Pa | ||
| Capacité du réservoir | 26 lt | ||
| Type de pellet | Pellet Ø 6-8 mm. Pezzatura 5/30 mm | ||
| Consommation horsaire du pellet | Min ~ 0,6 kg/h * Max.~ 2,2 kg/h * | ||
| Autonomie | Al min ~ 28 h * Al max. ~ 8 h * | ||
| Volume de chauffe m3 | 226/40 - 258/35 - 301/30 ** | ||
| Entrée d'air pour la combustion | Ø 50 mm. | ||
| Sortie de fumées | Ø 80 mm. | ||
| Maximum puissance électrique absorbée | Max 420 Watt Med 100 Watt | ||
| Tension et fréquence d'alimentation | 220 Volt / 50 Hz | ||
| Poids net | 170 Kg. | ||
| Poids avec emballage | 190 Kg. | ||
| Note | |||
| * Données pouvant varier selon le type de pellet utilisé. ** Volume de chauffe selon le besoin de cal/m3 40-35-30 (respectivement 40-35-30 Kcal/h de m3) Produit conforme à l'installation dans un conduit multiple. | |||
3.2. Preparation et déballage
Le monobloc est livré en emballage unique.
Ouvrir l'emballage (1), enlever le feuillard (2), enlever le polystyrène de protection et la boîte (3) placée au-dessus du monobloc. Dans la boîte sont emballés le tuyau, la porte de chargement et les composants pour la ventilation forcée. Enfin, enlever le monobloc de la palette en dévissant les deux vis qui le bloquent et l'installer à l'emplacement choisi en veillant à ce que ce dernier soit conforme aux indications prescrites.
Le corps du poêle ou le monobloc doit toujours être manipulé en position verticale et exclusivement au moyen de chariots élévateurs. Veillez en particulier à ce que la porte et la vitre ne subissent pas de chocs mécaniques qui en compromettraient le bon état.
Dans tous les cas, ne manipuler les produits qu'avec extrême prudence. Si possible, déballer le poêle près de l'endroit où il sera installé.
Les matériaux qui composent l'emballage ne sont ni toxiques ni nocifs. Ils ne requièrent donc aucun procédé d'élimination particulier.
Par conséquent, le stockage, l'élimination et le recyclage éventuel devront être effectués par l'utilisateur final, conformément aux lois en vigueur en la matière.
Ne pas entreposer le monobloc et les revêtements sans leurs emballages.
Si vous devez raccorder le poèle à un tuyau de sortie de fumées qui traverse le mur d'adossement postérieur (pour rejoindre le conduit de cheminée), veiller à ne pas forcer l'embouchure en emboitant le tuyau.
3.3. Montage monobloc sur BASE en maçonnerie
Positionner le monobloc sur la base en maçonnerie et vérifier que le monobloc est parfaitement à niveau pour garantir le fonctionnement correct.
Il est obligatoire de bloquer le monobloc à la base car pendant les opérations de maintenance annuelle effectuées par le technicien agréé, la chambre de combustion peut être retirée de son logement à l'aide de deux glissières extensibles.
Dans cette situation, le barycentre du monobloc se déplace très en avant et le produit pourrait se déstabiliser s'il n'est pas bien fixé au sol.
Pour fixer le monobloc à la base, utiliser des vis avec des chevilles de 6 ou 8 mm (de type "Fischer" ou similaire)

Emballage Powertherm
Position des orifices pour la fixation du monobloc à la base sur les deux côtés

Il est obligatoire de fixer le monobloc à la base.
Construire la base de manière à ce que les chevilles "Fischer" aient suffisamment de prise.
MCZ décline toute responsabilité en cas de dommages aux biens ou aux personnes dérivant du non-respect de cet avertissement.
Rondelle plate Vis Cheville en laiton
3.4. Montage du KIT piétement (en OPTION) et fixation du monobloc au SOL
Le kit est livré dans un emballage unique ; enlever le nylon de protection en faisant attention de ne pas jeter les sachets avec les vis fournies pour le montage.
La première opération à effectuer est celle d'assembler les 2 éléments latéraux pré-soudés avec les 4 traverses fournies, en utilisant les vis autoperceuses à tête hexagonale. Il est obligatoire de fixer les traverses en utilisant toutes les vis fournies en notation.
La première opération à effectuer est de déterminer à chaque hauteur fixer le piétement de support du monobloc.
Le piétement dispose d'une série de trous placés à trois hauteurs différentes, tandis que la structure de support dispose de deux trous coïncidant à ceux réalisés sur le piétement.
Le choix des trous déterminera la hauteur finale de l'encadrement de compensation par rapport au sol.
En utilisant les trous supérieurs du piètement, la hauteur de l'encadrement sera de 700 mm, avec ceux placés au centre, la hauteur sera de 600 mm, enfin les trous inférieurs détermineront une hauteur de 500 mm (voir figure)
Après avoir choisi les trous et donc la hauteur, bloquer solidement le piètement au moyen des boulons et des écrous.
Il est obligatoire de fixer le piètement en utilisant toutes les vis fournies en notation.
Positionner le monobloc au-dessus du chassis et le fixer avec toutes les vis autoperceuses cruciformes fournies.
Après avoir complété le montage du kit, définir exactement la position finale du monobloc et régler le niveau à l'aide des pieds réglables.
Le réglage des pieds s'effectue comme suit :
- Tourner les pieds dans le sens des aiguilles d'une montre pour abaisser le monobloc
- Tourner les pieds en sens contraire pour rehausser le monobloc
Après avoir réglé les pieds, bloquer le monobloc au sol à l'aide des étriers précédemment montés sur les pieds réglables.
Il est obligatoire de bloquer le monobloc au sol car pendant les opérations de maintenance annuelle effectuées par le technicien agréé, la chambre de combustion sera retirée de son logement à l'aide de deux glissières extensibles.
Dans cette situation, le barycentre du monobloc se déplace très en avant et le produit pourrait se déstabiliser s'il n'est pas bien fixé au sol.
Pour fixer le piétement au sol, utiliser des vis avec des chevilles de 6 ou 8 mm (de type "Fischer" ou similaire)

Il est obligatoire de fixer le monobloc au sol.
MCZ décline toute responsabilité en cas de dommages aux biens ou aux personnes dérivant du non-respect de cet avertissement.

Choix des trous et donc de la hauteur finale
- A = 700mm
- A = 600mm
- A = 500mm

Montage du piétement de support Montage des pieds et des étriers de fixation
3.5. Demontage de l'encadrement de compensation
Pour éviter d'endommager le cadre de finition placé autour de la porte du foyer, nous vous conseillons de le démonter immédiatement après avoir fixé le piétement et de le placer en lieu sûr.
3.6. Montage de la goulotte de chargement des pellets
Un autre choix à effectuer avant de positionner le monobloc est le côté où installer la goulotte de chargement du combustible.
Le Powertherm est livré avec deux colliers, un tube de raccordement et une goulotte dotée d'un volet.
La goulotte peut être montée à droite, à gauche ou frontalement. Le tube de raccordement a une longueur d'1 mètre.

Il est obligatoire de raccourcir le tuyau de raccordement, selon le positionnement (latéral ou frontal), afin que celui-ci soit bien tendu et forme un angle minimum par rapport à l'horizontal, comme indiqué dans le paragraphe 3.1.
Cette opération est nécessaire pour faciliter la descente des granulés.
Avant de réaliser l'habillage, effectuer un essai de chargement du combustible pour en vérifier la bonne descente vers le réservoir.
Si le tube est monté sur le côté gauche, au niveau de l'évacuation des fumées, il devra obligatoirement être isolé de manière ajustée.
MCZ décline toute responsabilité en cas de non-respect de cette prescription.
Risque d'incendie!!
3.6.1. Montage létal de la goulotte
Si la goulotte est placée en position latérale, la distance maximale de l'axe de l'appareil au mur doit être de 80 cm (figure ci-contre).
Pour positionner la goulotte, procéder comme suit :
- Raccorder le tube fourni en dotation au Powertherm en faisant attention à ce qu'il soit tourné latéralement, puis le fixer avec le collier.
- Raccorder le tube (dans la partie haute) à l'embouchure de la structure du volet moyenant le collier fourni en dotation.
- Positionner le tube avec la structure du volet, de sorte qu’après avoir réalisé l’habillage, il soit possible de le visser et de le fixer à la paroi de l’habillage au niveau du trou réalisé pour son insertion.
- Pour monter le volet externe, suivre les indications du paragraphe 3.16.2, car cette opération ne devra être effectuée qu'après avoir complété l'habillage.
Montage latéral de la goulotte
3.6.2. Montage frontal de la goulotte
- Raccorder le tube fourni en dotation au produit en faisant attention à ce qu'il soit tourné latéralement, puis le fixer avec le collier.
- Raccorder le tube à l'embouchure de la structure du volet avec le collier.
- Positionner le tube de manière à ce qu'il soit accessible une fois l'habillage terminé et de façon à pouvoir fixer la structure du volet sur le trou situé sur la paroi de l'habillage prévu à cet effet.
- Pour monter le volet externe, suivre les indications du paragraphe 3.16.2, car cette opération ne devra être effectuée qu'après avoir complété l'habillage.
Montage frontal de la goulotte
3.7. Tableaux de commande MONTES sur le VOLET
Même si le montage de la porte de fermeture de la goulotte est une des dernières phases de l'installation, il faut informer l'installateur qu'il devra monter dans ce composant des dispositifs très importants tels que le tableau de secours (voir chapitre 4.5) et l'interrupteur permettant de couper la tension au monobloc.
Par conséquent, pendant cette phase d'installation, lorsque l'habillage n'est pas encore réalisé, il est conseillé de fixer les câbles et les composants correspondants déjà pré-montés par le fabricant, sur le côté de la goulotte de chargement du pellet, afin qu'au moment du montage du volet, une fois que l'habillage est presque terminé, les câbles et les panneaux s'avèrent d'un accès facile.
Utiliser provisoirement du ruban adhésif ou analogue pour les fixer.

Faire très attention en déplaçant les câbles électriques. Éviter absolument de les tirer ou de les écraser car ils peuvent s'endommager.
Si l'on préfère les fixer, vérifier qu'ils ne puissent entrer en contact avec les parties chaudes du monobloc.
Le non-respect de ces avertissements et les événements dommages conséquents aux éléments électriques ne seront pas couverts par la garantie.
Porte de chargement du pellet avec tableau de commande
3.8. Air comburant et filtré à air
Le PowerTherm est doté d'une entrée d'air comburant qui permet l'aspiration de l'air indispensable à la combustion. Cette entrée située au dos du monobloc est protégée par un filtre anti-pollen facile à nettoyer. Nous conseillons de toujours prélever l'air comburant à l'intérieur de la pièce d'installation et non à l'extérieur, pour éviter le risque d'aspirer des impuretés, des poussières fines ou de l'humidité.
Le filtre à air de forme cylindrique est placé immédiatement au dos du monobloc au niveau du départ du tuyau et il est composé d'une grille métallique très fine.
Le filtre doit être nettoyé périodiquement et pour y accéder il faut extraire la chambre de combustion à l'aide des glissières. Pour cette opération, voir le chapitre relatif à la maintenance.
3.9. Bouches de ventilation de la HOTTE

Il est obligatoire d'inverser les bouches de ventilation de la hotte (en dotation du produit) ou dans tous les cas, des bouches en mesure de garantir la même fonctionnalité et la même section de passage d'air (voir accessoires MCZ).
MCZ décline toute responsabilité en cas de dommages à la structure ou aux composants électriques dérivant du non-respect de cet avertissement.
Vu la puissance élevée du PowerTherm, la structure atteint de hautes températures et il est indispensable de garantir toujours une ventilation continue et efficace à l'intérieur de l'habillage.
Outre à garantir le fonctionnement parfait du produit, ceci permettra de recapituler une partie de la chaleur de la structure qui serait perdue si elle avait rester à l'intérieur de l'habillage.
Pour une meilleure compréhension de la quantité, de la dimension et de la fonction des bouches de ventilation à installer sur l'habillage, nous reportons ci-dessous quelques configurations d'installation possibles des bouches.
Exemple de raccordement au tuyau d'entrée d'air
Installation des bouches standard de ventilation de la hotte
3.9.1. Gabarit pour la réalisation des troughs pour les grilles standard de ventilation de la hotte
Alors que pour réaliser les trous des bouches d'entrée et de sortie de l'air de ventilation, la position n'est pas fixe mais déterminée par l'installateur en fonction de la position où il peut canaliser les tuyaux, les positions sont fixes en ce qui concerne les bouches de ventilation de la hotte.
Les positions et les dimensions peuvent être pertinentes par le gabarit ci-contre qui illustre l'emplacement précis des grilles.
3.10. Canalisation de SORTIE d'air CHAUD
Le PowerTherm a la possibilité de distribuer l'air chaud selon la méthode de la CONVECTION FORCEÉE à l'aide d'un kit de ventilation forcée (fourni).
Le kit est composé de deux groupes ventilants (A) qu'il faut raccorder au monobloc.
Dans la pièce d'installation, il faudra prévoir une prise d'air pour faire entrer de l'air frais, avec une surface de passage non inférieure à 150 cm².(B)
3.10.1. Composants du kit de ventilation forcée
Le kit de ventilation forcée est composé de :
1) Structure bouche avec ventilateur (2 pieces); 2) Groupe bride de fixation (2 pieces); 3) Tuyau flexible 100L = 1,5m (2 pieces); 4) Collier de serrage du tuyau D.60-170 (4 pieces); 5) Bouches d'air multidirectionnelles (2 pieces).
Installation des bouches standard de ventilation de la hotte






3.10.2. Bouches applicables au kit de ventilation forcée




Bouche d'air unidirectionnelle
A) Bac B) Lampe C) Câblage lampe à la silicone
2) Bouche d'air unidirectionnelle
A) Bac
3) Bouche d'air bidirectionnelle 4) Bouche d'air multidirectionnelle (fournie)
3.10.3. Installation du kit de ventilation forcée
Avant d'installer le kit de ventilation forcée, s'assurer de bien avoir préparé le matériel comme suit (fig. 1):
1) Raccorder les brides (d) situées dans la partie supérieure du monobloc et les tuyaux (a) avec les colliers fournis (b). 2) Préparer sur le mur (f) à la hauteur souhaitée (le conseil est à 2 m du sol) deux trous pour la bouche de sortie d'air chaud équivalent à 185 x 185 mm. 3) Insérer la structure de la bouche (g), à l'intérieur des trous de 185 × 185 ~mm, en agissant de l'extérieur vers l'intérieur de la paroi. 4) Sur la partie interne du mur, à hauteur de la structure de la bouche (1), fixer le groupe bride de fixation (2), à l'aide des quatre vis et des écrous (3) fournis (fig.2). 5) Raccorder le tuyau flexible (a), précédemment fixé au foyer fermé, au raccord (e) situé sur la structure de la bouche. 6) Serrer le tuyau au raccord avec un des colliers fournis (c). 7) Brancher les câbles électriques aux ventilateurs (et à la lampe) avant de compléter l'habillage, étant donné que toutes les opérations suivantes peuvent être effectuées de l'extérieur.
Figure 1—Raccordement des tuyaux
Si, pour des raisons d'espace, il n'était pas possible d'utiliser la bride de fixation fournie, procéder dans tous les cas de manière à ce que le kit soit fixé de façon stable, en utilisant le boîtier à encastrer prévu à cet effet (4).
Il est conseillé de :
- NE PAS RÉALISER de canalisations supérieures à 8 m pour la ventilation forcée.
- Si le kit est placé à une certaine distance de la cheminée (max 8 m) il faut prévoir une isolation appropriée pour la gaine afin que l'énergie thermique généraee ne soit pas dispersée en chauffant uniquement la maconnerie.
- Effectuer, si possible, des canalisations à égale distance afin d'éviter différentes quantités d'air et de températures d'une sortie à l'autre.
3.10.4 Variante pour bouche avec bac
Le bac (2) porte essences n'est disponible que sur bouche unidirectionnelle avec et sans lumière et a pour but d'humidifier l'air.
Le bac (2) est facilement extractible de son logement ; il suffit de soulever le volet (1) en bas et d'extraire le bac (Voir fig. 3).
Insérer dans le bac uniquement de l'eau ou éventuellement des essences pour parfumer l'espace ambiant.
IMPORTANT! LE BAC NE DOIT ETRE EXTRAIT DE SON LOGEMENT POUR LE REMPLISSAGE QUE LORSQUE LA BOUCHE EST FROIDE ET QUE LE MONOBOC EST ETEINT.
3.10.5 Variante pour bouche avec éclairage
Au cas où serait installé le kit de ventilation avec éclairage, il est nécessaire de retirer la demi-plaque située sur la structure de la bouche (fig.4) et de pré-montter la lampe (a).
Pour ouvrir la demi-plaque, il suffit de rompre avec un marteau en caoutchouc la plaque prédécouée. (fig. 4)
Monter la lampe (a) sur la structure de la bouche à hauteur de la plaque à peine retirée, de manière à ce que celle-ci soit tournée vers la partie avant de la structure (fig. 5). Fixer la lampe en utilisant les deux brides (c) avec les vis (b) et les boulons (d) fournis.
Une fois la lampe insérée (a), effectuer les branchements électriques. Dans la partie arrière, insérer les deux terminaux femelles sur les embouts de la lampe (fig. 6)
Brancher le câble d'alimentation de la lampe (fourni) à un interrupteur mural (non fourni et incombant à l'installateur).
Le câble fourni pour le branchement de la lampe est 2,5 mètres de longueur, pour les longueurs supérieures, prévoir une rallonge.
Figure 2 - Installation du kit
Figure 3-Bac
Figure 4-Demi-plaque pour insertion lampe
Figure 5 - Fixation de la lampe

Important!
Le câble pour le branchement de la lampe/ventilateur est réalisé avec un matériel siliconique afin de supporter les hautes températures. En cas de prolongement du câble (plus de 2,5m) et dans tous les cas, veiller à ce que le câble n'entre pas en contact avec les parties chaudes du monobloc et des tuyaux de raccord de l'air interne de l'habillage ou de la structure.
Si le kit de ventilation muni d'éclairage est installé, il est nécessaire de pré-monter la lampe sur le kit avant de l'insérer dans le trou.
L'interrupteur de la lampe n'est pas compris dans la fourniture.
Figure 6 - Branchements électriques de la lampe

Important!
DÉBRANCHER LE CÂBLE D'ALIMENTATION 230 V AVANT D'ÉFFECTUER TOUTE OPÉRATION D'ENTRETIEN.
- Remplacement de la lampe
- retirer la bouche en forçant latéralement sur le bord de celle-ci.
- dévisser la lampe de fonctionnant pas
- visser la nouvelle lampe (15 Watt).
- réinsérer la bouche

Utiliser exclusivement des lampes représentant une haute résistance à la température comme celles utilisées à l'intérieur des fours de cuisine.
Nettoyage du plafonnier en verre de la bouche
- Ouvrir le volet qui contient le bac de déshumidification.
- Retirer le bac
- Avec la clé fournie, desserrer les deux vis, de manière à ce que la bride qui soutient la vitre puisse glisser sur les fentes prévues à cet effet. À l'aide d'une main, soutenir la vitre et avec l'autre agir sur la bride de manière à la libérer. L'extraire et la nettoyer.
- Une fois la vitre nettoyée, la réinsérer dans le logement prévu à cet effet et la bloquer en effectuant en sens inverse les opérations précédemment décrites.
- Repositionner le bac et le volet.

Important!
Lorsque sont dévissées les vis pour retarder la vitre, bien tenir la vitre à l'aide d'une main afin que celle-ci ne tombe pas.
Figure 7 - Position des bornes des ventilateurs
3.10.6. Branchement électrique des ventilateurs
Le kit fourni contient 2 câbles en silicone d'une longueur de 2,5 mètres pour le câblage des ventilateurs. Commencer en câblant de la manière suivante :
Dans la position 2, brancher le fil jaune/vert tandis que dans la position 1, brancher les deux fils restants (la séquence des couleurs n'est pas importante car les ventilateurs n'ont pas de polarisation (fig. 7)).
Sur le côté droit du Powertherm (en le regardant du côté de la porte), vissé au montant de la structure, dans la partie haute, se trouve le bornier sur lequel il faudra câbler les câbles du ventilateur (fig.8).
Brancher les deux câbles de terre des ventilateurs dans la première borne à gauche (T). Brancher les deux câbles restants provenant du ventilateur de gauche aux bornes câblées avec les câbles blancs (B). Brancher les deux câbles restants provenant du ventilateur de droite aux bornes câblées avec les câbles violets (V).

Important!
Le câble pour le branchement du ventilateur est réalisé avec un matériel siliconé afin de supporter les hautes températures. En cas de prolongement du câble (plus de 2,5 m) et dans tous les cas, veiller à ce que le câble n'entre pas en contact avec les parties chaudes du monobloc et des tuyaux de raccordement de l'air à l'intérieur de l'habillage ou de la structure.

Attention!
Couper l'alimentation 230 V.
- Retire la bouche
- Dévisser les quatre vis A qui se trouvent sur la grille sur les quatre angles fig. 9
- Dévisser les deux vis centrales B qui tiennent fixé le ventilateur au convoyeur

Attention!
LORSQUE LES CÂBLES SONT DÉBRANCHÉS, FAIRE ATTENTION À BIEN LES DISPOSER EN TOUTE SÉCURITÉ.
SI ILS TOMBENT À L'INTÉRIEUR DE L'HABILLAGE, IL N'EST PLUS POSSIBLE DE LES RÉCUPÉRER.
Extraire la grille C - Débrancher le câble du ventilateur - En cas de plafonnier avec lampe, faire attention à débrancher les câbles d'alimentation durant l'extraction de la bride. - Il suffit maintenant de tourner le ventilateur par rapport au convoyeur afin de garantir le passage sans endommager la pièce.
Figure 8- Position du bornier

Figure 9- Remplacement du ventilateur

Important!
LE VENTILATEUR DOIT RESTER ORIENTÉ COMME SUR FIG.10, LES POSITIONS DIFFÉRÊNTES DE CELLE INDIQUÉE NE SONT PAS ADMISES.

Important!
Tous les branchements électrométriques doivent être effectués par un personnel qualifié conformément aux lois en vigueur dans chaque État, en utilisant un équipement adéquat et en respectant le schéma indiqué dans le présent livret. Toutes les opérations doivent être effectuées avec le câble d'alimentation de réseau 230V 50 Hz débranché.
Merci décline toute responsabilité pour les dommages aux personnes ou aux choses dus à des branchements erronés ou à une utilisation impropre du dispositif.
Figure 10 - Position du ventilateur
3.11. Branchement électrique
Brancher d'abord le câble d'alimentation au dos du produit, puis le brancher sur une prise électrique murale qui doit toujours être accessible. Si ceci avait été impossible, en phase d'installation il faut insérer des dispositifs déquats de coupure de l'alimentation électrique, conformément aux normes nationales en matière d'installation électrique.
Après avoir branché le câble d'alimentation et complété toute la phase d'installation et d'habillage du produit, mettre l'interrupteur (situé dans la porte de chargement) en position (I).

Pendant la période hors saison, il est conseillé de retirer le cable de branchement électrique.
3.12. Réalisation de l'habillage

Toutes les fonctions du produit doivent être testées avant de réaliser l'habillage. MCZ décline toute responsabilité en cas de dommages à l'habillage dérivant d'anomalies de fonctionnement non contrôlées avant la réalisation de l'habillage.
IL EST OBLIGATOIRE de contrôler l'étanchéité de tous les tuyaux de passage de fumée (raccord fumée, joints et raccord au conduit de fumée) avant la réalisation de l'habillage.

AVANT DE PROCÉDER À L'HABILLAGE DU MONOBLOC, LIRE LE CHAPITRE "ESSAI DE FONCTIONNEMENT"
Pour tester le fonctionnement du produit, installer et câbler provisoirement la porte équipée du tableau de secours et d'interrupteur, sur la goulotte de chargement de pellet (voir chapitre 3.16)

Le foyer fermé et les parties de l'habillage doivent être fixées entre eux SANS ENTRER EN CONTACT AVEC LA STRUCTURE EN ACIER pour éviter la transmission de la chaleur du marbre et/ou de la pierre et pour permettre les normales dilatations thermiques; ATTENTION aux finitions en bois telles que poutres ou étagères.
Il est conseillé de construire la contre-hotte en placoplatre de type ignifuge de 15/20 mm d'épaisseur avec une structure autoportante réalisée avec un profilé galvanisé afin que les éléments de l'habillage (poutres en bois ou linteaux en marbre) qui, eux, n'ont pas de structure portante, puissent facilement la supporter et pour pouvoir facilement intervenir en cas d'anomalies et/ou d'entretiens futurs.
Effectuer le montage à blanc de la sole foyère de l'habillage en laissant une ouverture de 1 cm entre le foyer fermé et la dalle foyère pour effectuer l'isolation.
3.13. Isolation de la POUTRE en BOIS
La poutre en bois doit être protégée avec une isolation ajustée des parties chaudes pour prévenir le risque d'incendie ou éviter d'endommager l'habillage.
3.14. Montage des habillages standard MCZ
Pour le montage des habillages destinés spécifiques au produit MCZ PowerTherm, nous renvoyons l'installateur au manuel d'emploi et d'installation placé à l'intérieur de l'habillage spécifique.
3.15. Montage du CADRE de compensation
Après avoir terminé l'habillage et/ou la partie en placoplatre, monter l'encadrement de compensation précédemment démontré (chap. 3.5). Cet encadrement est une finition qui permet de cacher l'interstice entre la structure métallique du monobloc et le mur.
Pour monter l'encadrement, il suffit d'ouvrir la porte du PowerTherm, enfiler le cadre comme illustré sur la figure, et le fixer aux montants latéraux de la structure à l'intérieur du profil de la porte, à l'aide des quatre vis fournies en notation.
3.16. Montage du VOLET de la goulotte de chargement du PELLET et tableaux de commandes.
La porte de chargement du pellet est livrée sans les tableaux de secours et sans l'interrupteur général qui doivent être montés après avoir choisi de quel côté orienter l'ouverture de la porte.
Le volet est prévu pour pivoter à en cas de positionnement sur le côté gauche ou sur le côté droit de l'habillage. En effet, le cadre du volet est parfaitement symétrique quant aux trous de fixation à la hotte par conséquent, il suffit de tourner le volet en fonction de vos exigences.
Nous signalons par contre que les trous prévus pour le logement des tableaux sont différents les uns des autres et que chaque tableau doit être monté seul et exclusivement sur son logement. Selon l'orientation de la porte, le tableau de secours se trouvera au-dessus de l'interrupteur général ou vice-versa.
PROTECTION THERMIQUE DES POUTRES
- Isolant à appliquer
- Poutres en bois
- Marbre ou autre matière
Montage de l'encadrement de compensation
Position 1 = interrupteur général câblé Position 2 = tableau de secours câblé
3.16.1. Montage du tableau de secours et de l'interrupteur général
Comme indiqué précédemment, le tableau de secours et l'interrupteur général sont déjà branchés aux câbles respectifs par le fabricant, enroulés et placés provisoirement sur le côté droit du monobloc (voir figure).
Sans les débrancher, porter les câbles et les tableaux au niveau du trou de la hotte prévu pour loguer le volet. Sans avoir réalisé la hotter, monter les tableaux sur le cadre du volet.

Faites bien attention lorsque vous manipulez les tableaux raccordés aux câbles correspondants.
Les câbles doivent être couverts dans des zones à l'abri de la chaleur ou dans des zones où ils ne risquent pas d'être endommagés en cas d'extraction du monobloc.
Pour fixer les tableaux de commande, procéder comme suit :
Saisir le cadre du volet et opérer de l'arrière. - Prendre le panneau de secours (2), insérer le tableau dans la fente la plus grande en le faisant passer au-dessus de la goulotte du chargeur et en faisant passer l'antenne du récepteur dans le bord biseauté sans l'endommager. - Prendre l'interrupteur général (1), débrancher momentanément les câbles et l'encastrer dans son logement. - Brancher de nouveau les câbles aux bornes respectives, comme sur la figure, à partir du point 1, en les faisant passer le plus loin possible du cable flat.

Pour un fonctionnement correct, faire passer le cable flat et le cable de l'interrupteur, éloignés entre eux, avec des parcours différents.
Ne jamais forcer le branchement du connecteur.
Ne pas plier ni emmêler les câbles.
Ne pas modifier les connecteurs ou les câblages ni les supports des tableaux.
Les câbles doivent passer loin de toute source de chaleur.



N= noir
R = rouge B = bleu M = marron
3.16.2. Montage du volet
- Après avoir effectué le câblage électrique, faire un essai de fonctionnement avant de fixer définitivement le volet à la hotte.
- Si l'essai est positif, fixer le volet à la hotte au moyen de quatre vis, et des quatre trous situés sur le cadre de la porte, marqués de la même (B).
- Au contraire, les trous marqués sur les profils horizontaux de la porte (A) servent à fixer le cadre de la porte au châssis de la hotte afin de fixer définitivement les deux éléments en renfermant au milieu la cloison de la hotte.
- Pratiquer d'abord un trou rectangulaire sur la hotte à la hauteur déterminée par la façon dont le piétement a été fixé (voir § 3.4 du manuel).
Fixation du volet câble à la hotte
Pour simplifier, nous reportons au chapitre 3.18 un gabarit pour la réalisation de tous les trous avec les dimensions correspondantes.
3.17. Ouverture/fermeture de la porte du PELLET
La porte est équipée d'une fermeture à pression et est donc complètement privée de bouton ou de poignée.
Pour ouvrir ou fermer la porte, appuyer au niveau du bord en haut à gauche. Sur simple pression, la porte s'enclenchera ou se désenclenchera du dispositif de fermeture placé sur le cadre de la porte.
Ouverture/fermeture de la porte du pellet
3.18. SCHEMA Pour la realisation des TROUS sur l'habillage
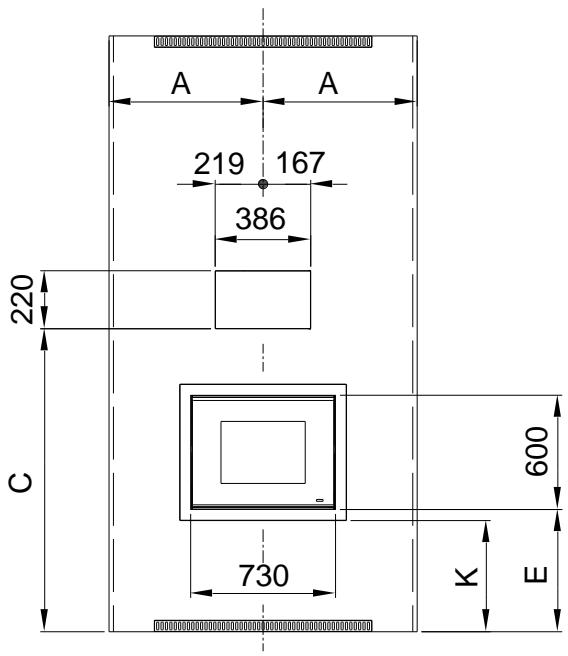
Le schéma ci-dessous est relatif aux trois positions du kit piétement dont au paragraphe 3.4.
S'il est installé sur une base en maçonnerie, comme le prévoit le paragraphe 3.3, mesurer la distance entre le sol et le bord inférieur de l'encadrement de compensation. Cette cote est notre valeur "K". Comparer la valeur "K" relevée avec celles qui sont reportées dans le tableau et choisir la plus proche de la mesure. Pour obtenir les nouvelles cotes "C, D, E", il suffit d'ajouter la différence entre la valeur "K" mesurée et celle du tableau (β), aux cotes dans la rangée respective.
Ex.: K mesurée = 630mm (la K la plus proche de notre valeur est la 600 mm) -> = 630 - 600 = 30mm
[ C = 1377 + \beta = 1407 \, \text{mm}; D = 1162 + \beta = 1192 \, \text{mm}; E = 617 + \beta = 647 \, \text{mm} ]



| K (mm) | B (mm) | C (mm) | E (mm) |
| 500 | A×0,27+1194 | 1400 | 520 |
| 600 | A×0,27+1294 | 1500 | 620 |
| 700 | A×0,27+1394 | 1600 | 720 |
4.1. Recommandations avant l'allumage

Ne pas rester à proximité du produit, mais aérer la pièce, comme déjà indiqué. La fumée et l'odeur de peinture disparaîtront après environ une heure de fonctionnement; nous rappelons quoi qu'il en soit qu'elles ne sont pas nocives pour la santé.
Lors des phases d'allumage et de refroidissement, la structure pourrait se dilater et se contracter, par conséquent de légers craquements pourraient être perceptibles.
Ce phénomène est absolument normal puisque la structure est réalisée en acier laminé et ne pourra donc en aucun cas être considéré comme un défaut. Il est essentiel de ne pas surchauffer le poêle dès le premier allumage et de veiller au contraire à le porter lentement à la température désirée. Utiliser (si en mode "Manuel") des puissances de chauffage basses (par ex. 1^ère - 2^ème - 3^ème ). Avec les allumages suivants, vous pourrez utiliser toute la puissance calorifique à disposition (par ex. 4^ème - 5^ème ) en n'oubliant pas toutefois de ne pas le laisser allumé à la puissance maximale pendant plus de 60-90 minutes.
De cette façon, vous évitez d'endommager les soudures et la structure en acier.

Au moment du premier allumage, le poêle se trouve déjà en modalité "manuelle" : pendant la première période, il est conseillé d'utiliser uniquement des puissances de chauffage moyennes ou basses (de la première à la troisième).

Ne tentez pas dévaluer les performances de votre poèle le premier allumage !
Commencez par vous habituer progressivement aux commandes du tableau de bord ou à la télécommande du poèle.
Essayer de mémoriser visuellement les messages proposés sur l'afficheur de la télécommande.
4.2. Controlle avant l'allumage
Vérifier si toutes les conditions de sécurité vues précédemment sont réunies.
S'assurer d'avoir lu et parfaitement compris le contenu de ce livre d'instructions.
Ouvrir la porte et ôter de la vitre et du foyer tous les éléments susceptibles de brûler (instructions et étiquettes adhésives variées).
Contrôler que le pot de combustion soit bien positionné et stable sur sa base, et que la porte du foyer soit fermée correctement.
Ouverture de la porte du foyer

Après une longue période d'inactivité, retirez du réservoir (à l'aide d'un aspirateur avec un long tuyau) les résidus de pellets accumulés depuis un certain temps, car ils pourraient avoir absorbé de l'humidité, ce qui modifierait leurs caractéristiques d'origine, et les rendre inadaptés à la combustion.
4.3. Chargement des pellets
Le chargement du combustible s'effectue par la porte latérale ou frontale montée sur l'habillage et qui donne accès à la goulotte de chargement du combustible.
Pour faciliter la procédure de chargement, effectuer l'opération en plusieurs phases comme décrit :
- Ouvrir la porte et verser la moitié du contenu du sac sur la goulotte, ou directement ou en utilisant la palette en dotation (A)
- Avec l'accessoire fourni en notation (B), pousser vers le réservoir le pellet qui se serait accumulant dans la goulotte, et le répartir de manière uniforme à l'intérieur du réservoir.
- Compléter l'opération en versant la deuxième moitié du sac et en suivant la même procédure


Verser le pellet lentement et avec précaution afin d’éviter que la vitesse ne puisse entraîner les pellets hors du réservoir et les répandre à l’intérieur de l’habillage
Ne jamais verser dans le réservoir un combustible non conforme aux spécifications précédemment indiquées.


4.4.1. Caractéristiques générales de la télécommande LCD
Les poêles sont principalement commandés moyennant la télécommande ou en cas d'urgence par le petit panneau inférieur.
La télécommande à radio fréquence LCD permet de profiter pleinement du potentiel du poêle, d'en réguler tous les paramètres de fonctionnement, de configurer le chrono, mais aussi et surtout de contrôler constamment la température ambiente de référence pour les régimes de fonctionnement du poêle.
En effet, la sonde d'ambiance est montée directement sur la télécommande, de façon à permettre une mesure plus précise de la température de la pièce à chauffer, là où le souhaite l'utilisateur, et sans la pénible contrainte des cablages fixes des thermostats.
La télécommande est munie d'un rétro-éclairage bleu qui s'active par simple pression d'une touche.
Position de la sonde de température ambiantе

Tenir la télécommande loin des sources de chaleur directe et à l'abri de l'eau.
Il est conseillé de tenir la télécommande hors de la portée des enfants.
La télécommande doit toujours se trouver à proximité du poêle (dans un rayon d’action de 5 m) de façon à permettre une bonne transmission des valeurs de température ambiantes. Si après 3 heures de fonctionnement le poêle ne reçoit aucun signal de la télécommande, il commence à émettre périodiquement des signaux sonores pour aviser l’utilisateur que la télécommande est trop loin (ou que les piles sont usées) : sur l’afficheur du tableau d’urgence s’affiche l’alarme A10. Avec cette alarme le poêle continue à fonctionner et pour éteindre l’alarme il suffira de rapprocher la télécommande afin de rétablir les conditions de fonctionnement normales.

Legende
- Position de la sonde de température ambiante
- Afficheur LCD rétroéclairé
- Touche de Marche / Arrêt Combiner la pression de cette touche avec les autres pour accéder aux autres menus comme celui de la configuration de l'heure courante.
- Touche de sélection des modalités de fonctionnement (MANUEL - AUTOMATIQUE - AUTOMATIQUE AVEC ECO-STOP). Combiner la pression de ce bouton avec les autres pour accéder aux autres menus comme celui de la configuration de l'heure courante ou la personnalisation du chrono P99.
- Bouton de défilement vers le haut ou vers le bas pour le réglage des puissances de flamme et de la ventilation et pour tous les autres réglages.
- La touche MENU permet d'accéder aux menus de configuration de la ventilation, de la modalité SLEEP et du CHRONO
- Base d'appui contenant le compartiment des batteries

Legende
- Icônes indiquant le mode de fonctionnement du poèle (MANUEL - AUTOMATIQUE - AUTOMATIQUE AVEC ECO STOP)
- Icône transmission des données au poèle
- Icône qui, si allumée, indique le verrouillage du clavier (prévu pour éviter la pression involontaire des touches)
- L'affichage permanent de cette icône indique qu'il faut remplacer les piles
- Icône qui indique la température relevée dans la pièce où se trouve la télécommande, grâce à la sonde interne montée sur la télécommande même
- Unité de mesure pouvant être sélectionnée pour la visualisation des degrés relevés/souhaités (Celsius - Fahrenheit)
- Icône qui apparaît avec la température ambience relevée par la sonde interne de la télécommande
- Température programmée par l'utilisateur, et que la pièce doit atteindre en mode AUTOMATIQUE. En mode MANUEL, cette indication est éteinte.
- Horloge interne. Il peut jouer temporairement le rôle de compteur à rebours si la fonction SLEEP est active.
- Icônes qui indiquent la date (en anglais). Lorsqu'on programme le CHRONO personnalisé, les tirets en bas indiquent, si allumés, que certaines tranches horaires quotidiennes ont été activées pour ce jour-là.
- Icône qui indique la fonction CHRONO. Si l'icône est complètement éteinte, le CHRONO est désactiv
- Icône qui indique la fonction SLEEP. Si elle est complètement éteinte, la fonction SLEEP est désactivée, si seulement le bord de l'icône est allumé, la fonction SLEEP est activée et si en revanche l'icône est complètement allumée, elle indique que nous sommes en mode de programmation de la fonction SLEEP.
- Icône de la ventilation qui permet de régler la vitesse du ventilateur d'air chaud. Si l'indication AUTO est également allumée, elle indique que la ventilation est branchée sur la puissance.
- Icône qui permet de régler la flamme de 1 à 5 niveaux de puissance. Si la flamme est sur la puissance 5, l'abréviation MAX s'affiche.
- Icône qui, si activée, indique la possibilité de régler la chute du pellet (fonction réservée au technicien spécialisé)
- Icône qui, si activée, indique la possibilité de régler l'heure affichée sur l'icône n° 9
- Tirets indiquant la puissance de ventilation : 1 tiret = 1ère vitesse, 2 tirets = 2ème vitesse, 5 tirets = 5ème vitesse
- Tirets indiquant la puissance de la flamme : 1 tiret = 1ère vitesse, 2 tirets = 2ème vitesse,... 5 tirets = 5ème vitesse Ces tirets n'apparaissent que si le poêle est en mode MANUEL
- Cette icône est nécessaire pour sélectionner le programme hebdomadaire pendant la programmation du CHRONO. Elle sert également à sélectionner les programmes journaliers dans le programme chrono personnelisé.
- En configuration CHRONO, si cette icône s'allume en même temps que l'icône n°19, elle indique qu'on est en train deCHOISIR le programme hebdomadaire personnelisé (qui prévoit la saisie de tranches horaires journaières - > 24h
Les icônes n° 11 - 12 - 13 et 14 représentent deux modes d'éclairage différents:
COMPLETEMENT ILLUMINEE (ICONE TOTALEMENT NOIRE) SEUL LE CONTOUR DE L'ICONE EST ILLUMINÉ
Quand les icônes sont complètement allumées, cela signifie que nous sommes en train d'opérer sur cette fonction.
Exemple: si le symbole du ventilateur est complètement allumé, cela signifie que nous sommes en train de modifier la vitesse du ventilateur d'air chaud avec la touche 5
Quand seuls les contours des icônes sont allumés, cela signifie que cette fonction est active et que nous ne pouvons pas la modifier qu'en entrant dans le menu y afférer. En entrant sur le menu correspondant, l'icône s'allume complètement (voir ci-dessus)
Exemple: si seul le contour de l'icône du ventilateur est allumé, nous ne réussirons pas à modifier la vitesse du ventilateur en pressant la touche 5 mais, quoi qu'il en soit, la fonction est active car le ventilateur est en train de fonctionner (si le poèle est allumé). Pour pouvoir modifier la vitesse du ventilateur il suffit d'accéder au menu qui permet d'effectuer ce réglage et allume complètement l'icône.
4.4.4. Type de piles et remplacement
Les piles se trouvent dans la partie inférieure du dispositif, au niveau de la base d'appui.
Pour remplacer les batteries, il est nécessaire de retirer le couvercle, retirer ou insérer les batteries en suivant les symboles présents sur la télécommande et sur la batterie.
Pour le fonctionnement sont nécessaires 3 batteries Alcaline type Micro LR03 de 1,5 V (AAA).

Les piles usées contiennent des métaux nocifs pour l'environnement et doivent donc être éliminées séparément dans des bacs prévus à cet effet.
Sur l'icône n° 4, la télécommande signale à l'utilisateur que les piles sont presque usées. Si l'icône indiquant que les piles sont usées apparait, cela signifie que les piles sont presque usées et que la télécommande ne va pas tarder à s'éteindre.

Si la télécommande est éteinte parce que sans piles, le poèle ne pourra être commandé qu'avec le tableau de secours (voir paragraphe 4.5). En modalité de secours ne restent actives que certaines fonctions de base : allumage, extinction et réglage manuel sur trois niveaux de puissance/ventilation.

Les batteries fournies peuvent avoir une durée limitée. Il est également conseillé de toujours prévoir des piles de rechange chez soi.

Indicateur de piles usées

Pendant l'opération de remplacement des piles, veiller à respecter les polarités en suivant les symboles imprimés sur le compartiment des piles de la télécommande.
4.5. Tableau de secours
Le tableau de secours est encastré sur un des côtés de la porte de chargement du pellet, et il est conçu pour effectuer le diagnostic de toute éventuelle anomalie de fonctionnement et pour contrôler le PowerTherm si la télécommande n'avait pas fonctionné.

Legende
A. Afficheur à trois chiffres qui donne une série d'informations sur le poêle, ainsi que le code d'identification des éventuelles anomalies de fonctionnement. B. Voyant VERT qui signale :
- ÉTEINT = Poêle éteint ALLUMÉ CLIGNOTANT = Poêle en phase d'allumage ALLUMÉ FIXE = Poêle allumé
C. Voyant ROUGE qui signale :
- ÉTEINT = Poêle allumé ALLUMÉ CLIGNOTANT LENTEMENT = Poêle en train de s'éteindre ALLUMÉ CLIGNOTANT RAPIDEMENT = Poêle en alarme (associé à un bip sonore pendant les 10 premières minutes) ALLUMÉ FIXE = Poêle allumé
Sélecteur à trois positions pour la fonction
OFF = Poêle éteint manuellement faute de télécommande - REMOTE = Poêle pouvant être commandé exclusivement avec la télécommande - ON = Poêle éteint manuellement faute de télécommande
Sélecteur à trois positions pour la sélection de la puissance
MIN = Sélecteur pour faire fonctionner le poèle à la puissance MINIMALE faute de télécommande et avec le sélecteur 4 sur ON MED = Sélecteur pour faire fonctionner le poèle à la puissance MINIMALE faute de télécommande et avec le sélecteur 4 sur ON MAX = Sélecteur pour faire fonctionner le poèle à la puissance MINIMALE faute de télécommande et avec le sélecteur 4 sur ON
F. Touche pour les fonctions de diagnostic sur le fonctionnement du poèle G. Touche permettre le poèle en communication avec une nouvelle télécommande (selon une procédure expliquée par la suite)

POUR QUE LE POÉLE FONCTIONNE AVEC LA TÉLÉCOMMANDE LE SELECTIONUR "D" DOIT ÉTRE PLACÉ SUR "REMOTE"
4.6. Réglage à effectuer avant le premier allumage
Après avoir branché le câble d'alimentation à la partie arrière du monobloc, porter l'interrupteur, situé à côté du tableau de secours, en position (I).
Le voyant C du tableau de secours s'allumera en rouge (de façon fixe).
4.6.1. Réglage de l'heure du jour en cours.
Presser simultanément les touches 4 et 6 de la télécommande pendant 3 secondes lorsque le poèle est allumé, pour accéder au menu de réglage de l'heure et du jour en cours.
Une fois que le mot "CLOCK" est affiché, il est possible, au moyen de la touche 5, de sélectionner l'heure courante et de la confirmer avec la touche 6, de même pour les minutes, les confirmer avec la touche 6 et enfin le jour. Enfin, presser de nouveau la touche 6 pour confirmer le tout et pour quitter le menu.
Par convention, les jours de la semaine sont indiqués par des sigles dérivant de l'anglais, soit respectivement:
MO = Monday → Lundi
Si le clavier reste inactif pendant 7 secondes, la télécommande quitte automatiquement la modalité de réglage de l'heure et confirme la dernière donnée saisie.
4.6.2. Configuration de l'unité de mesure de la température
Il est possible de choisir l'unité de mesure de la température, en préalable, comme système de mesure, le système international ou bien le système anglo-saxon.
Seulement lorsque le poèle est éteint, avec une pression de la touche 4 pendant au moins 5 secondes, sélectionner l'unité de mesure de la température ; le choix est entre degrés Celsius (°C) et degrés Fahrenheit (°F).
La configuration standard de la télécommande est : degrés Celsius (°C)

4.7.1. Allumage/extinction au moyen de la télécommande
L'allumage et l'extinction du poèle (et pour autant, de l'afficheur de la télécommande) s'effectue en pressant la touche 3 de la télécommande pendant 1 seconde.
Après une phase de démarrage d'environ 15 minutes, le poêle entre en régime.
Après l'extinction du poèle par pression de la touche 3, commence la phase de refroidissement qui comprend l'interruption du chargement de combustible, le nettoyage du pot de combustion et la poursuite de la ventilation jusqu'à ce que le poèle soit suffisamment froid ; cette phase peut durer de 20 à 40 minutes selon le nombre d'heures pendant lesquelles le poèle est resté allumé et sa position.
4.7.2. Remarque sur le premier allumage

Le premier allumage pourrait ne pas réussir étant donné que la vis sans fin est vide et ne parvient pas toujours à charger la quantité de pellets nécessaire dans le pot de combustion à temps pour amorcer normalement la flamme.

ANNULER L'ÉTAT D'ALARME (A02) EN AGISSANT SUR LE PETIT TABLEAU DE SECOURS (voir paragraphe 4.17), RETIRER LES PELLETS RESTÉS DANS LE POT DE COMBUSTION ET RÉPÉTER L'ALLUMAGE.
Si après plusieurs tentatives d'allumage la flamme n'apparaît pas, même avec un afflux régulier de pellets, vérifier si la position du pot de combustion est correcte : il doit être posé en adhérant parfaitement sur l'espace d'emboitement et doit être dépouillé de cendres. Si après ce contrôle rien n'apparaît anormal, cela signifie que le problème pourrait être lié aux composants du poêle ou être imputable à une mauvaise installation.

ENLEVER LES GRANULES DE BOIS RESTÉS DANS LE POT DE COMBUSTION ET APPELER UN TECHNICIEN AGRÉE MCZ.

4.7.3. Allumage/extinction à partir du tableau de secours
En cas de panne de la télécommande ou de piles usées, vous pouvez faire fonctionner le poêle en modalité provisoire depuis le tableau de secours.
Avec cette configuration, le poèle ne peut fonctionner qu'en modalité manuelle et vous pouvez choisir parmi 3 niveaux de puissance.
Allumage du poêle sans télécommande
Pour allumer le poêle, placer le sélecteur "D" sur la position ON. Au moment de l'allumage, le voyant ROUGE s'éteint tandis que le voyant VERT commence à clignoter jusqu'à ce que la phase d'allumage soit terminée; en régime, le voyant VERT reste constamment allumé.
- Selection de la puissance sans télecommande
Il est possible de choisir parmi trois puissances de chauffage : MIN-MED-MAX (sélecteur "E")
La puissance au MINIMUM correspond à la 1ère puissance;
La puissance MOYENNE correspond à la 3ème puissance;
La puissance au MAXIMUM correspond à la 5ème puissance;
Extinction du poêle sans télécommande
Pour éteindre le poêle, placer le sélecteur "D" sur la position OFF.

Une fois que le fonctionnement de la télécommande a été rétabli, n'oubliez pas de replacer le sélecteur "D" sur la position "REMOTE" autrement le poêle ignorera les ordres de la télécommande.
4.8. Modalités de fonctionnement
Les poêles représentent deux modes de fonctionnement : MANUEL et AUTOMATIQUE.
4.8.1. Manuel et automatique
Le poêle peut fonctionner selon les deux modalités ci-dessus, qui correspondent à deux principes de fonctionnement différents.
Le mode MANUEL permet de régler uniquement la puissance de la flamme, de 1 à 5, en ignorant tout écart de température ambience. Cette modalité est signalée par le sigle MAN sur l'afficheur de la télécommande (icône 1)
Le mode AUTOMATIQUE permet en revanche de programmer la température désirée dans la pièce où se trouve le poêle et règle automatiquement sa puissance, afin d'obtenir et de conserver la température. Cette modalité est signalée par le sigle AUTO sur l'afficheur de la télécommande (icône 1)
Cette modalité permet également d'utiliser une fonction avancée appelée ECO STOP qui sera illustrée par la suite (par. 4.8.4.)
Pour sélectionner la modalité, presser la touche 4

À chaque allumage, le poèle se met sur le mode de fonctionnement où il se trouvait au moment où il a été éteint la dernière fois.





4.8.2. Mode manuel
Ce mode de fonctionnement permet uniquement de varier la puissance thermique distribuée en sélectionnant la puissance de la flamme.
Avec la touche 4 de la télécommande, sélectionner le mode MANUEL qui est indiqué sur l'afficheur par le sigle MAN et par le symbole de la flamme. Cette modalité permet de régler les 5 puissances calorifiques du poêle au moyen de la touche 5.
Presser le haut de la touche 5 pour augmenter la puissance et le bas de la touche pour l'abaisser. Cette variation est indiquée par les tirets situés au-dessus du symbole de la flamme. Avec la 5ème puissance, s'affiche également le sigle MAX au-dessous du symbole de la flamme, pour indiquer que les performances maximales du poèle sont atteintes.
Avec cette modalité de fonctionnement, le symbole de la flamme est complètement allumé.
4.8.2.1. Passage du mode manuel au mode automatique
Pour passer du mode de fonctionnement MANUEL au mode AUTOMATIQUE, il suffira de presser rapidement la touche 4 deux fois de suite. Le sigle MAN s'éteindra et le sigle AUTO s'allumera ; les indicateurs de puissance de flamme et l'icône de la flamme disparaissent tandis que les chiffres servant à programmer la température souhaitée s'allument (icône 8)
4.8.3. Mode automatique
Alors que le mode MANUEL permet simplement de choisir la puissance thermique distribuée et de maintenir ce fonctionnement tel quel, le mode AUTOMATICO permet de programmer une température déterminée pour une pièce donnée. Avec cette modalité de fonctionnement, le poèle varie automatiquement la puissance thermique distribuée de façon à obtenir la température programmée et pour qu'elle reste constante dans la pièce.
Presser la touche 4 de la télécommande pour sélectionner le mode AUTOMATIQUE qui est indiqué sur l'afficheur avec le sigle AUTO. Avec cette modalité, avec la touche 5, il est seulement possible de régler la température souhaitée dans la pièce.
Presser le haut de la touche 5, pour augmenter la température et le bas de la touche pour abaisser la température. La température souhaitée est indiquée par les chiffres de l'icône 8
La télécommande règle le fonctionnement du poèle en comparant constamment la température relevée dans la pièce (indiquée en haut à droite sur l'afficheur et plus précisément les chiffres les plus grands près du symbole de la maison) à la température programmée par l'utilisateur.
Lorsque la température souhaitée dans la pièce est atteinte, le poèle se porte graduellement sur la puissance minimale, alors que si la température de la pièce descend sous le seuil programmé, le poèle, toujours progressivement, se remet sur les puissances plus hautes pour chauffer.
La température de la pièce est relevée par la télécommande grâce à une sonde interne, par conséquent, le poêle tentera toujours d'atteindre la température en se basant sur les relevés de la sonde de la télécommande.
Grâce à cette caractéristique, la télécommande peut être considérée comme un véritable THERMOSTAT MOBILE EXTERNE, avec un rayon d'action d'environ 5 m (lorsque les piles sont neuves)



Comme la télécommande joue le rôle de thermostat externe, il est nécessaire que les conditions de communication entre la télécommande et le poêle soient réunies. Par conséquent, il est conseillé de laisser la télécommande dans la pièce chauffée par le poêle, à 8 m de ce dernier, mais pas trop après quand même, de façon à ce qu'elle ne soit pas influencée par la grande chaleur qui se dégage immédiatement à côté du poêle.

Il est conseillé de laisser la télécommande dans la pièce où se trouve le poèle de façon à ce que le poèle et la télécommande puissent communiquer correctement.
Nous précisons en outre que si on laisse la télécommande hors de portée du poèle, ce dernier ne reçoit plus d'informations sur la température ambiantes et continue à fonctionner selon la modalité reçue dans la dernière transmission.
4.8.3.1. Passage du mode automatique au mode manuel
Pour retourner en mode MANUEL, depuis le mode AUTOMATIQUE, presser la touche 4 de façon à ce que le sigle MAN et les tirets relatifs au réglage de la puissance de la flamme s'affichent sur le display de la télécommande.
4.8.4. Mode automatique avec eco-stop
Cette modalité modifie le comportement du poèle en mode automatique : lorsque la température programmée par l'utilisateur est atteinte, le poèle module à la puissance 1 pendant un bref laps de temps puis s'éteint, si la température reste constante et supérieure à celle programmée. Le poèle ne se rallume automatiquement que lorsque la pièce requiert de nouveau de la chaleur (pas avant l'écoulement de l'intervalle de temps nécessaire au refroidissement du poèle). Cette option n'est conseillée que lorsque le poèle fonctionne dans des milieux hautement isolés ou où la dispersion de chaleur est minime avec le temps.
Exemple de fonctionnement en mode ECO STOP
Si la température ambience relevée par la sonde de la télécommande est de C et la température programmée est C, le poêle se porte (selon une rampe prédéterminée) sur la 5^ème puissance et une fois que la température de C est atteinte, il s'éteint automatiquement de façon-temporaire (STAND-BY). Lorsque la température ambience descend au-dessous de la valeur programmée sur la télécommande (par ex. C) et qu'un laps de temps d'arrêt suffisant s'est écoulé, le poêle se rallume en mode automatique et fonctionne jusqu'à atteindre de nouveau les C programmes. Si la température ambience relevée par la sonde d'ambiance de la télécommande reste au-dessus de la valeur programmée sur le thermostat (par ex. 20 - 21° C) le poêle reste éteint et l'afficheur visualise le message Eco Stop.
Avec cette modalité, l'allumage peut être effectué par l'utilisateur en reprogrammant la température du thermostat à une valeur supérieure à celle de la pièce ou en éteignant le poêle, en maintenant la touche 3 enfoncée pendant quelques secondes après quoi, toujours en pressant cette touche, le poêle se rallumera.
Il n'est pas nécessaire de reprogrammer le mode "ECO STOP" car il reste en mémoire après la dernière utilisation.

4.8.4.1. Activation, désactivation modalité eco-stop
Cette modalité permet d'optimiser la consommation du poêle lorsqu'il fonctionne dans des pièces bien isolées :
Cette option peut être sélectionnée aussi bien en modalité manuelle qu'en modalité automatique, en pressant et en maintenant la touche 4 enfoncée pendant 5 secondes.
Le sigle AUTO apparait sur l'afficheur de la télécommande et simultanément l'indication ECO STOP.
Pour désactiver la fonction ECO-STOP, suivre la même méthode.
4.9. La ventilation d'air CHAUD
Dans cette version, le monobloc est équipé de deux ventilateurs qui acheminent l'air chaud vers l'avant. Par convention, nous appellerons "ventilateur 1" celui qui fait sortir l'air vers l'avant à droite et "ventilateur 2" celui avec sortie vers l'avant à gauche.
Le réglage des deux ventilateurs reporté dans le tableau ci-dessous est indépendant et est configuré moyennant la télécommande.
| Type | Vitesse ventilateur | |||||
| Ventilateur 1 | 0 | 1 | 2 | 3 | 4 | 5 |
| Ventilateur 2 | 0 | 1 | 2 | 3 | 4 | 5 |
35 Combinaisons possibles la combinaison 0-0 n'est PAS ADMISE
Activer moyennant la touche (6) de la télécommande l'icône de la ventilation.
Sur le symbole des tirets (17) indiquant la vitesse de ventilation apparaîtra le numéro 1 pour indiquer que le "ventilateur 1" est en phase de programmation. Régler l'intensité souhaitée moyennant le bouton (5). Appuyer sur la touche (6). Sur les tirets apparaîtra le numéro 2 pour indiquer que le "ventilateur 2" est en phase de programmation. Régler l'intensité souhaitée moyennant le bouton (5).
Exemple avec ventilation programme en AUTO :
Si la flamme est régée sur la puissance 3, le ventilateur se programmera automatiquement sur la puissance 3 ou bien si la flamme est sur la puissance 1 le ventilateur se programmera automatiquement sur la puissance 1 et ainsi de suite.

Si le clavier reste inactif pendant 7 secondes, la télécommande quitte automatiquement la modalité de réglage de la ventilation et confirme la dernière donnée saisie.




4.10. Fonction SLEEP
Cette fonction sert à accélérer la sélection d'une extinction programmée, sans devoir programmer le CHRONO interne du poèle.
Pour expliquer simplement la fonction SLEEP, disons qu'elle permet à l'utilisateur de programmer un compte à rebours d'un minimum de 15 minutes à un maximum de 8 heures, à la fin duquel le poêle s'éteindra.
Pour programmer la fonction, presser la touche 6 MENU deux fois de suite de façon à ce que l'icône correspondante s'allume complètement.
Là où est indiquée habituellement l'heure courante, apparaît 00:00 et il est possible de désirer la durée du compte à rebours avec le bouton 5.
Presser la flèche haut pour augmenter le temps par tranche de 15 minutes ou bien la flèche bas pour diminuer le temps par tranche de 15 minutes. Pour confirmer, presser de nouveau la touche 6 ou attendre 7 secondes.
Une fois revenu en fonctionnement normal, l'afficheur montre le compte à rebours avant l'extinction, au lieu de l'heure courante.

Si le clavier reste inactif pendant 7 secondes, la télécommande quitte automatiquement la modalité de réglage de la fonction SLEEP et confirme la dernière donnée saisie.
4.11. Le CHRONO
Cette modalité de fonctionnement signalée par l'indicateur ④ sur l'afficheur de la télécommande, permet de programmer l'allumage et l'extinction du poêle en mode automatique.
Normalement, sur les poêles le mode PROGRAMMÉ est désactivé.
Les caractéristiques fondamentales du mode PROGRAMMÉ sont :
L'horloge Le jour en cours Le choix du programme hebdomadaire / journalier
4.11.1. Jour courant et horloge
Voir le paragraphe 4.6.1. et 4.6.2. pour apprendre à configurer le jour et l'heure.
N'oubliez pas que les jours de la semaine sont indiqués sur la télécommande par des sigles anglais, à savoir :
MO = Monday → Lundi
La configuration du jour et de l'heure courants est fondamentale pour que le chrono puisse fonctionner correctement.
Configuration d'un programme hebdomadaire
Nous expliquons ci-après comment activer la fonction CHRONO en choisissant un programme hebdomadaire ou journalier :
Presser la touche 6 plusieurs fois jusqu'à ce que l'icône de l'horloge s'allume sur l'afficheur :
PROGRAM
ensuite, avec la touche 5 besoin parmi les10 programmes hebdomadaires pré-configures sur la télécommande.
Choisir en fonction des tableaux figurant au paragraphe 4.12., le programme qui convient le plus aux exigences de chauffage de votre intérieur puis mémoriser le numéro du programme sur la télécommande. Si les 10 programmes pré-configurés ne répondent pas aux exigences personnelles de chauffage, il est possible de construire un programme hebdomadaire personnalisé (P99) de votre choix (voir paragraphe suivant).

Si le clavier reste inactif pendant 7 secondes, la télécommande quitte automatiquement la modalité de réglage du CHRONO et confirme la dernière donnée saisie.
Tout de suite après avoir choisi le programme CHRONO et l'avoir confirmé avec la touche 6, quitter le menu de configuration et l'icône du CHRONO restera affichée sur le display de la télécommande sous ce format :

Donc si cette icône reste affichée sur le display, cela signifie qu'un programme chrono prévoyant des allumages ou des arrêts distribués sur l'espace d'une journée et de la semaine est activé.

Attention!
Si la fonction CHRONO est active, l'icône est allumée sur toutes les pages-écran relatives au fonctionnement
La fonction CHRONO peut être activée/désactivée quand le poêle est allumée ou éteinte.
Configuration d'un programme personnalise
Si aucun des programmes pré-configurés ne répond aux exigences de chauffage de votre intérieur, il est possible de désirer et de combiner différents programmes journaliers préexistants dans la mémoire de la télécommande et de construire ainsi un programme hebdomadaire personnalisé (appelé P99).




Les programmes journaliers pouvant être sélectionnés sont 60 et vous pouvez désirer un programme différent pour chaque jour de la semaine.
Pour activer cette option, procéder comme décrit ci-dessus pour la configuration d'un programme hebdomadaire, sauf qu'au lieu de sélectionner l'un des programmes figurant dans le tableau des programmes hebdomadaires (de P01 à P10), vous devez sélectionner le programme P99.
Une fois que le programme P99 a été sélectionné, presser la touche 4 pour accéder à la modalité de programmation journalière et le premier jour de la semaine (MO = Monday = Lundi) commencera à clignoter.
Avec la touche 5 faire défiler les programmes de 01 à 60 en choisissant celui qui vous intéresse, après avoir préalablement consulté le tableau figurant au paragraphe 4.12. Lorsqu'on effectue ce type de programmation, on remarque que même l'icône des 24 h s'allume pour signaler qu'on est en train d'effectuer une programmation journalière et non pas hebdomadaire.
Après avoir choisi le programme souhaité pour le jour activé (par ex. n° 32 pour le jour MO = Monday = Lundi), presser de nouveau la touche 4 pour continuer avec la programmation du jour TU = Tuesday = Mardi). Notons que dès que le programme pour le jour MO = Monday = Lundi est confirmé, un tiret apparait sous le sigle MO pour signaler qu'un programme journalier est activé pour ce jour-là.
Dès que le programme journalier est confirmé avec la touche 4, la télécommande passe au jour suivant. Répéter les opérations de configuration décrites ci-dessus pour tous les jours de la semaine.
Si pour un jour de la semaine, vous ne souhaitez configurer chaque programme, sélectionner le programme 00 et continuer la programmation. Noter que sous le jour en question, aucune tre t ne s'allumera.
À la fin de la programmation, presser la touche 6 ou attendre 30 secondes et la télécommande quitte automatiquement le menu en confirmant les choix effectués.

Si un programme Chrono est actif mais que l'utilisateur décide d'allumer/éteindre le poêle avant, la commande donnée par l'utilisateur est considérée plus importante que celle du Chrono et par conséquent, est effectuée. Naturellement, la commande du Chrono est ignorée.
Exemple : si le Chrono prévoit un allumage du poêle à 10 h mais qu'à 9 h l'utilisateur a froid et veut l'allumer avant, s'il presse la touche 5 le poêle s'allumera. À 10 h, le chrono, qui prévoyait un allumage, sera ignoré parce que le poêle est déjà allumé.


Remarque importante :
L'allumage du poèle requiert 10/15 minutes de temps et 10/15 autres minutes avant que de l'air assez chaud n'en sorte.
Il faudra donc tenir compte de ces données pour programmer l'heure d'allumage du poêle. De la même façon, l'extinction du poêle requiert environ 30 minutes pendant lesquelles la chaleur accumulée continue à se libérer dans la pièce.
Tenir compte de cet intervalle de temps permet de réaliser une économie de combustible non négligeable.


4.11.3. Désactivation du CHRONO.
Pour désactiver le CHRONO, accéder de nouveau au menu de programmation avec la touche 6 jusqu'à ce que l'icône apparaisse et à l'aide de la touche 5 sélectionner
Attendre ensuite 7 secondes pour la confirmation ou bien presser de nouveau la touche 6 pour confirmer.
Cette opération désactive le CHRONO.

4.12.1. Programmes hebdomadaires
Les programmes hebdomadaires choisis par MCZ et mémorisés sur la télécommande du poèle ont été conçus pour satisfaire la plupart des utilisateurs qui ne se trouvent pas chez eux pendant les heures de travail (ouvriers, commerçants, employés, tours d'équipe, etc...) ainsi que des personnes qui restent chez elles pendant une grande partie de la journée (femmes au foyer, personnes âgées, etc...).
De plus, nous avons pensé à certains qui utilisent le poèle dans leur résidence secondaire, habitée seulement pendant les fins de semaine (par ex. maison à la montagne) et qui souhaitent trouver leur intérieur déjà chauffé à leur arrivée.
En revanche, pour ceux qui ont des exigences encore plus particulières et pour lesquels aucun des dix programmes hebdomadaires n'est satisfaisant, il est possible de personnaliser le programme hebdomadaire P99 en utilisant l'un des 60 programmes journaliers différents pour chacun des jours de la semaine (voir chapitre 4.12.2).
| PROGRAMME | HORAIRES | ||
| N° | JOURS | 0.001.002.003.004.005.006.007.008.009.0010.0011.0012.0013.0014.0015.0016.0017.0018.0019.0020.0021.0022.0023.000.00 | |
| P01 | Lun-Ven | ||
| Sam-Dim | |||
| P02 | Lun-Ven | ||
| Sam-Dim | |||
| P03 | Lun-Ven | ||
| Sam-Dim | |||
| P04 | Lun-Ven | ||
| Sam-Dim | |||
| P05 | Lun-Ven | ||
| Sam-Dim | |||
| P06 | Lun-Ven | ||
| Sam-Dim | |||
| P07 | Lun-Sam | ||
| Dim | |||
| P08 | Lun-Sam | ||
| Dim | |||
| P09 | Lun-Sam | ||
| Dim | |||
| P10 | Ven | ||
| Sam-Dim | |||

Allumé
Éteint
4.12.2. Programmes journaliers
| PROGR. | HORAIRES | ||||||||||||||||||||||||
| No | 0.00 | 1.00 | 2.00 | 3.00 | 4.00 | 5.00 | 6.00 | 7.00 | 8.00 | 9.00 | 10.00 | 11.00 | 12.00 | 13.00 | 14.00 | 15.00 | 16.00 | 17.00 | 18.00 | 19.00 | 20.00 | 21.00 | 22.00 | 23.00 | 0.00 |
| 00 | |||||||||||||||||||||||||
| 01 | |||||||||||||||||||||||||
| 02 | |||||||||||||||||||||||||
| 03 | |||||||||||||||||||||||||
| 04 | |||||||||||||||||||||||||
| 05 | |||||||||||||||||||||||||
| 06 | |||||||||||||||||||||||||
| 07 | |||||||||||||||||||||||||
| 08 | |||||||||||||||||||||||||
| 09 | |||||||||||||||||||||||||
| 10 | |||||||||||||||||||||||||
| 11 | |||||||||||||||||||||||||
| 12 | |||||||||||||||||||||||||
| 13 | |||||||||||||||||||||||||
| 14 | |||||||||||||||||||||||||
| 15 | |||||||||||||||||||||||||
| 16 | |||||||||||||||||||||||||
| 17 | |||||||||||||||||||||||||
| 18 | |||||||||||||||||||||||||
| 19 | |||||||||||||||||||||||||
| 20 | |||||||||||||||||||||||||
| 21 | |||||||||||||||||||||||||
| 22 | |||||||||||||||||||||||||
| 23 | |||||||||||||||||||||||||
| 24 | |||||||||||||||||||||||||
| 25 | |||||||||||||||||||||||||
| 26 | |||||||||||||||||||||||||
| 27 | |||||||||||||||||||||||||
| 28 | |||||||||||||||||||||||||
| 29 | |||||||||||||||||||||||||
| 30 | |||||||||||||||||||||||||
| 31 | |||||||||||||||||||||||||
| 32 | |||||||||||||||||||||||||
| 33 | |||||||||||||||||||||||||
| 34 | |||||||||||||||||||||||||
| 35 | |||||||||||||||||||||||||
| 36 | |||||||||||||||||||||||||
| 37 | |||||||||||||||||||||||||
| 38 | |||||||||||||||||||||||||
| 39 | |||||||||||||||||||||||||
| 40 | |||||||||||||||||||||||||
| 41 | |||||||||||||||||||||||||
| 42 | |||||||||||||||||||||||||
| 43 | |||||||||||||||||||||||||
| 44 | |||||||||||||||||||||||||
| 45 | |||||||||||||||||||||||||
| 46 | |||||||||||||||||||||||||
| 47 | |||||||||||||||||||||||||
| 48 | |||||||||||||||||||||||||
| 49 | |||||||||||||||||||||||||
| 50 | |||||||||||||||||||||||||
| 51 | |||||||||||||||||||||||||
| 52 | |||||||||||||||||||||||||
| 53 | |||||||||||||||||||||||||
| 54 | |||||||||||||||||||||||||
| 55 | |||||||||||||||||||||||||
| 56 | |||||||||||||||||||||||||
| 57 | |||||||||||||||||||||||||
| 58 | |||||||||||||||||||||||||
| 59 | |||||||||||||||||||||||||
| 60 | |||||||||||||||||||||||||
4.13.1. Configuration d'un programme hebdomadaire
Prenons pour exemple un travailleur normal (ouvrier ou employé) qui commence à travailler à 8 h du matin et rentre chez lui à l'heure du déjeuner à 12h30, puis reprend le travail de 14 h jusqu'à 18 h.
Parmi les programmes en mémoire sur notre télécommande, celui qui convient le mieux aux heures où l'utilisateur est chez lui est le P07 (voir tableau au paragraphe 4.12.1) ; voyons maintenant comment le configurer :
PHASE 1

PHASE 2

Presser la touche 6 plusieurs fois jusqu'à ce que l'icône de l'horloge s'allume complètement :
Presser la touche 5 vers le haut pour sélectionner le programme P07 que nous avons choisi.
PHASE 3
Récapitulation
- Presser la touche 6 jusqu'à ce que l'icône de l'horloge apparaisse.
- Sélectionner le programme avec la touche 5
- Confirmer le programme avec la touche 6 ou bien attendre 30 secondes après lesquelles la télécommande confirme automatiquement la sélection effectuée et quitte le menu de programmation.
- L'icône vide du Chrono reste affichée, ce qui signifie que le programme est configuré et qu'à partir de ce moment le poêle s'allumera et s'éteindra de façon autonome.
Confirmer la sélection faite en pressant la touche 6 ou attendre 30 secondes. Le programme est confirmé, l'icône de l'horloge s'éteint et seuls ses contours restent affichés tandis que les voyants relatifs au programme choisi s'éteignent.
4.13.2. Configuration d'un programme journalier
Prenons pour exemple un utilisateur qui n'a pas d'horaires journaliers définis (profession libérale, etc...) mais qui sait plus ou moins qu'il sera chez lui pendant les jours et aux horaires suivants :
LUNDI → chez lui jusqu'à 10 h et à partir de 17 h - MARDI → chez lui jusqu'à 9 h et à partir de 12 h - MERCREDI → reste chez lui toute la journée et ne souhaite configurer aucun programme - JEUDI → reste chez lui toute la journée - VENDREDI → chez lui jusqu'à 9 h, de 12 h à 15 h et à partir de 18 h - SAMEDI → chez lui seulement à partir de 18 h - DIMANCHE → chez lui seulement à partir de 14 h
Sur la base de ces heures, nous choisirons dans le tableau illustré au paragraphe 4.12.2 les programmes journaliers qui conviennent le plus à cet emploi du temps.
LUNDI
→ Programme 20
MARDI
→ Programme 42
- MERCREDI
→ Programme 00
JEUDI
→ Programme 13
VENDREDI
→ Programme 33
- SAMEDI
→ Programme 10
DIMANCHE
→ Programme 08
Début de la programmation : LUNDI
PHASE 1

PHASE 2

Presser la touche 6 plusieurs fois jusqu'à ce que l'icône de l'horloge s'allume complètement :
Presser la touche 5 vers le haut pour sélectionner le programme P99.
PHASE 3

PHASE 4

Presser la touche 4 pour confirmer l'entrée de la modalité de programmation journalière. L'icône relative aux 24 h s'allume et le sigle MO = Lundi commence à clignoter.
Presser la touche 5 vers le haut pour sélectionner le programme 20 (choisi pour le lundi).
PHASE 5

PHASE 6

Presser la touche 4 pour confirmer le programme configuré pour la journée de MO = Lundi et commencer la programmation de la journée de TH = Mardi. Quand on presse la touche, un tiret s'allume sous le symbole MO = Lundi et le sigle TU = Mardi commence à clignoter. Le tiret signale que pour ce jour-là un programme chrono a été configuré.
Après avoir choisi le programme 42 pour le jour TU = Mardi, confirmer la sélection faite avec la touche 4 pour passer à la programmation de WE = Mercredi. Comme précédemment, un tiret s'allumera sous le sigle TU = Mardi et le symbole WE = Mercredi commencera à clignoter.
PHASE 7

PHASE 8

Pour le jour WE = Mercredi, nous ne voulons configurer aucun programme et il suffit donc, comme pour les autres cas, de sélectionner avec la touche 5 le programme 00, puis de confirmer la sélection avec la touche 4.
Commeeldomprogramme n'arete configuré pour le jour de WE = Mercredi (en effet, nous avions sélectionné 00) nous voyons que la programmation s'est déplacée au TH = Jeudi tandis que sous le sigle WE = Mercredi aucune tirette n'est allumée. Cela signifie que pour le jour en question seldomeprogramme Chronojournalier n'arete prévu.
PHASE 9 FINALE
Pour terminer notre programmation pour les jours restants, jeudi, vendredi, samedi et dimanche, il suffit d'opérer comme indiqué pour la programmation des jours précédents, lundi, mardi et mercredi. La seule différence réside dans le numéro de programme choisi, toujours au moyen de la touche 5.
Quand la programmation de chacun des jours est terminée, c'est-à-dire arrivé au sigle SU = Dimanche, une ultérieure pression sur la touche 6 permettra de quitter la programmation. Ou bien il suffit d'attendre 30 secondes et la télécommande quitte automatiquement la programmation en confirmant toutes les configurations effectuées. Pour avoir un aperçu rapide de la programmation, contrôle si des tirets se trouvent sous les sigles de la semaine ou bien il est always possible de returner à la programmation avec la touche 6, de sélectionner à nouveau le programme P99 avec la touche 5 puis, toujours avec la touche 4, faire défiler tous les jours de la semaine pour vérifier si le programme a été configuré.
4.14. Verrouilage du clavier
La télécommande est dotée d'une fonction qui permet de verrouiller le clavier par sécurité, pour éviter que les touches ne soient pressées accidentellement ou pour le cas où la télécommande tomberait dans les mains d'un enfant.
Ce verrouillage s'active simplement en pressant pendant 3 secondes la touche 6.
Après ce laps de temps, le symbole du "cadenas" qui confirme le verrouillage du clavier apparaîtra en haut à gauche de l'afficheur.
Pour désactiver le verrouillage du clavier, répéter l'opération précrite ci-dessus.

4.15. Synchronisation de la télécommande
Lors de la première mise en marche du produit, il pourrait s'avérer nécessaire de faire reconnaître la nouvelle télécommande au poêle. Pour effectuer cette opération, suivre ces simples instructions :
- Raccorder la prise au poèle et allumer l'interrupteur d'alimentation
- vérifier que le sélecteur D du panneau de secours soit sur la position REMOTE
- Lorsqu'apparaît le premier message sur l'afficheur du panneau de secours, appuyer sur le bouton sous-trace G à l'aide d'un objet pointu (cure-dents..)
- Sur l'afficheur du panneau apparaissent 3 lignes clignotantes "--". Appuyer sur le bouton on/off de la télécommande pour effectuer l'apprentissage.
Les trois lignes clignotantes disparaissent de l'afficheur et le poêle apprendra la nouvelle adresse de communication de la télécommande. L'exécution de l'apprentissage est également confirmée par 4 signaux sonores.

4.16. Dispositifs de sécurité
Le poêle est équipé des dispositifs de sécurité suivants :
SONDE Temperature fumées
Elle relève la température des fumées et fait partir ou arrêter le poèle lorsque la température des fumées descend au-dessous de la valeur programmée.
SONDE temperature du réservoir du combustible
Si la température dépasse la valeur de sécurité programmée, cette sonde interrompt immédiatement le fonctionnement du poège et pour le faire redémarrer il sera nécessaire de réarmer manuellement la sonde mais seulement lorsque le poège aura refroidi.
Sécurité électrique
Le poêle est protégé contre les brusques coupures d'électricité par un disjoncteur général placé sur le tableau de contrôle situé à l'arrière du poêle. Les fusibles de protection des cartes électroniques sont situés également au dos du poêle.
Rupture ventilateur fumées
Si le ventilateur s'arrête, la carte électronique bloque immédiatement l'approvisionnement en pellets et un message d'alarme s'affiche.
Si le motoréducteur s'arrête, le poèle continue à fonctionner jusqu'à ce qu'il atteigne le niveau minimum de refroidissement.
Absence momentanée de courant électrique
Si pendant le fonctionnement du poêle, une coupure de courant électrique se vérifie, au rétablissement du courant le poêle se met en refroidissement puis se rallume automatiquement.
Allumage MANQUE
Si pendant la phase d'allumage aucune flamme n'apparaît, le poêle se met en position d'alarme.


Il est interdit de manipuler les dispositifs de sécurité.
Il ne sera possible d’allumer le poêle qu’après avoir éliminé la cause qui a déclenché le système de sécurité et après avoir rétabli le fonctionnement automatique de la sonde. Pour comprendre la nature de l’anomalie survenue, consulter le présent manuel (paragraphe 4.17) qui explique comment intervenir en fonction du message d’alarme affiché.

Attention!
Si le poêle N'EST PAS UTILISÉ de la façon prescrite dans le présent livre d'instructions, le fabricant décline toute responsabilité en cas de dommages matériels et corporels. En outre, le constructeur décline toute responsabilité en cas de dommages causés aux personnes ou aux choses suite au non-respect de toutes les règles figurant dans ce manuel, et notamment :
- Adopter toutes les mesures et/ou les précautions nécessaires lors des travaux d'entretien, de maintenance, de nettoyage et de réparation.
- Ne pas manipuler les dispositifs de sécurité.
- Ne pas enlever les dispositifs de sécurité. Raccorder le poèle à un système de sortie de fumées efficace.
- Contrôler au préalable si la pièce où le poêle sera installé est aérée de façon adéquate.
4.17. SignaLisation Des AlarMes
En cas d'anomalie de fonctionnement, le poèle entre dans la phase d'extinction moyennant alarme et informe l'utilisateur du type de panne pertinente au moyen d'un code à 3 chiffres qui reste affiché sur le tableau de secours situé au dos du poèle.
L'alarme est signalée de façon permanente par le code à trois chiffres y afférant, par un voyant lumineux rouge qui clignote et apparaît sur le tableau de secours pendant les 10 premières minutes d'alarme, et par un signal sonore intermittent. Pour que le poèle sorte de la condition d'alarme et pour rétablir l'état normal de fonctionnement, suivre les indications figurant dans les deux paragraphes suivants.
Le tableau qui suit énumère les alarmes éventuellement signalées par le poèle, avec le code y afférant qui apparaît sur le tableau de secours, et les suggestions utiles pour résoudre le problème.
| MESSAGE SUR L'AFFICHEUR | TYPE DE PROBLÈME | SOLUTION |
| A01 | Allumage du feu non réussi | Contrôler le niveau de granulés dans le réservoir Vérifier si le pot de combustion est bien posé dans son logement et s'il ne présente pas d'incrustations de fumées. Vérifier si la bougie d'allumage chauffe. |
| A02 | Extinction anormale du feu | Dérive d'une extinction causée par une absence de combustible (réservoir vide). |
| A03 | La température du réservoir des granulés de bois (pellets) dépasse le seuil de sécurité prévu.Surchauffe de la structure | La structure est trop chaude soit parce que le produit a fonctionné trop longtemps à la puissance maximale, soit parce qu'elle n'est pas suffisamment ventilée, soit parce que les ventilateurs d'air sont en panne. Quand le poèle est suffisamment froid, agir sur la touche B du tableau de commandes ou sur OFF sur la télécommande pour annuler l'alarme A03. Une fois que l'on a annulé l'alarme, on peut rallumer régulièrement le poèle. |
| A04 | La température des fumées en sortie à dépassé certaines des limites de sécurité programmes. | Le poèle s'éteint en mode automatique. Laisser refroidir le poèle pendant quelques minutes puis le rallumer. Contröler l'évacuation des fumées et vérifier le type de granulé de bois utilisé. |
| A06 | L'extracteur de fumées ne parvient pas à garantir l'air primaire nécessaire pour une bonne combustion. | Problèmes de tirage ou obstruction du pot de combustion. Vérifier si le pot de combustion est bouché par des incrustations et le nettoyer le cas échéant. Contrôler et s'il y a lieu nettoyer le conduit de fumée et l'entree d'air. |
| A07 | Pendant le fonctionnement du poèle, il s'est produit une entrée d'air non prévue dans la chambre de combustion ou une obstruction dans le conduit de fumées. | Causée par l'ouverture prolongée de la porte du foyer ou par une infiltration d'air non indifférente (ex. absence du clapet d'inspection du ventilateur de fumées) Si cela n'est pas d'à ces facteurs, contrôler et évienttement nettoyer le conduit de fumées et le conduit de cheminé. |
| A08 | Ventilateur de fumées en panne | Contrôler la propreté du logement ventilateur fumées au cas où de la saleté le bloquerait.Si cela n'est pas suffisant, le ventilateur de fumées est en panne. Appeler un centre d'assistance/agréé pour effectuer le remplacement. |
| A09 | Panne du capteur de fumées qui ne relève pas correctement la température des fumées en sortie | Contacter un centre d'assistance/agréé pour faire replacer le composant. |
| A10 | La bougie ne fonctionne pas | Contacter un centre d'assistance/agréé pour faire replacer le composant. |
| A11 | Panne de l'alimentation des granulés de bois | Contacter un centre d'assistance/agréé pour faire replacer le composant. |
| A12 | La télécommande se trouve hors du champ de réception du poèle depuis plus de 3 heures (ou bien ses piles sont usées).REMARQUE: seulement dans ce cas le poèle n'entre pas en extinction d'alarme mais continue à fonctionner selon la modalité que la télécommande lui avait transmise lors de la的最后一 commande. | Rapprocher la télécommande du champ de réception du poèle (ou changer les piles au cas où elles seraient usées).Dés que le poèle receivea un nouveau signal de la télécommande, les signaux d'alarme disparaîtront. Une façon simple pourforcer une transmission au poèle est de presser la touche 4 (qui change le mode de fonctionnement de manuel à automatique et vice versa) |
| A13 | Panne générique à la centrale électronique | Contacter un centre d'assistance/agréé pour faire replacer le composant. |
| A14 | Panne ou capteur air combustion | Cette alarme ne bloque pas, apparaït seulement une page-écran d'advertissement. Contacter un centre d'assistance/agréé pour faire replacer le composant. |
| SER | Avis d'entretien périodique | Si lors de l'allumage apparaït ce message clignotant, cela signifie que les heures de fonctionnement prédéfinitiones avant l'entretien sont finies et qu'il faut pouvoir à un nouvel entretien en contactant un technicien spécialisé MCZ. |
4.18. Sortie de la condition d'alarme
Au cas où une alarme se déclencherait, pour rétablir le fonctionnement normal du poèle, suivre la procédure décrite ci-après :
- Placer le sélecteur D du tableau de secours situé au dos du poèle sur OFF pendant quelques secondes, jusqu'à ce que le code à 3 chiffres qui identifie le type d'alarme disparaisse. Avec l'opération suivante, le clignotement du voyant rouge et le signal sonore de l'alarme disparaissent également.
- Reporter le sélecteur D sur la position REMOTE, pour pouvoir commander de nouveau le fonctionnement du poèle avec la télécommande.
- Éteindre la télécommande et éventuellement la rallumer si vous pouvez faire repartir le poèle.

Seulement en cas de panne A12 (absence de transmission entre la télécommande et le poêle), le poêle reste normalement allumé selon la dernière modalité utilisée et quitte automatiquement la modalité d'alarme à la première réception d'un signal de la télécommande.
4.18.1. Blocage mécanique du poêle
Les causes pouvant être à l'origine du blocage du poêle sont les suivantes :
- Surchauffe de la structure ("A03")
- Surchauffe des fumées ("A04")
- Pendant le fonctionnement du poèle, il s'est produite une entrée d'air non prévue dans la chambre de combustion ou une obstruction dans le conduit de fumées ("A07").
Le blocage est signalé sur l'afficheur et est accompagné d'un bip sonore. Dans ce cas, la phase d'extinction du poèle s'active automatiquement. Lorsque cette procédure est en cours, toute opération visant à rétablir le système sera inutile. L'affiche_ _eur indique l'origine du blocage.
Comment intervenir :
Si apparait le message "A03", la structure est trop chaude soit parce que le produit a fonctionné trop longtemps à la puissance maximale, soit parce qu'elle n'est pas suffisamment ventilée, soit parce que les ventilateurs de l'air sont en panne. Lorsque le poèle est suffisamment froid, agir sur la touche B du tableau de commandes ou sur OFF sur la télécommande pour annuler l'alarme A03. Une fois que l'on a annulé l'alarme, on peut rallumer régulièrement le poèle.
Si apparait le message "A04", le poèle s'eteint automatiquement. Laisser refroidir le poèle pendant quelques minutes puis le rallumer.
Contrôler l'évacuation des fumées et
vérifier le type de granulé de bois utilisé.
Si apparait l'alarme "A07", celle-ci est causée par l'ouverture prolongée de la porte du foyer ou par une infiltration d'air non indifférente (ex. absence du clapet d'inspection du ventilateur de fumées). Si cela n'est pas dû à ces facteurs, contrôle et évènementellement nettoyer le conduit de fumées et le conduit de cheminée. (il est conseillé de faire effectuer cette opération à un technicien/agréé MCZ)
Seulement après avoir définitivement éliminé la cause du blocage que le poèle pourra être rallumé.

Attention!
Toutes les opérations de nettoyage des différentes pièces doivent être effectuées quand l'appareil est refroidi et après avoir débranché la fiche électrique.
L'appareil ne requiert que peu d'entretien lorsqu'il est utilisé avec des granulés de bois homologues et de qualité. La nécessité d'entretien augmente en fonction du temps de fonctionnement et des modifications de prestations requises.
5.1.1. Avant chaque allumage
Nettoyer le pot de combustion avec l'outil prévu à cet effet pour éliminer la cendre et les éventuelles incrustations qui pourraient obstruer les orifices prévus pour le passage de l'air.

LES ORIFICES DU POT DE COMBUSTION DOIVENT ETRE TOUS PRIVÉS D'OBSTRUCTIONS ET D'INCRUSTATIONS. SE RAPPELER QUE SEUL UN POT DE COMBUSTION BIEN PROPRE PEUT GARANTIR L'EXCELLENT FONCTIONNEMENT DU PRODUIT.
Un simple contrôle visuel, effectué tous les jours, suffit à vous renseigner sur l'état du pot de combustion.
Pour nettoyer le pot de combustion de façon efficace, l'extraire complètement de son logement et nettoyer à fond tous les orifices et la grille placée sur le fond. Si vous utilisez du pellet de bonne qualité, un pinceau suffira pour replacer le pot de combustion dans les importantes conditions de fonctionnement ; pour des incrustations tenaces, servez-vous de l'outil en acier en dotation avec l'appareil.
5.1.2. Nettoyage tous les 2/3 jours
Nettoyer et vider le tiroir à cendres en faisant attention à la cendre chaude.
Utiliser un aspirateur pour retirer la cendre lorsque celle-ci a complètement refroidi. Dans ce cas, utiliser un aspirateur pouvant éliminer les particules d'une certaine dimension du type "aspirateur bidon". Ne pas oublier de nettoyer aussi le logement du pot de combustion en utilisant l'embout approprié. Notre expérience et la qualité du pellet détermineront la fréquence des nettoyages nécessaires à l'appareil. Nous conseillons de nettoyer l'appareil au moins tous les 2 ou 3 jours. Une fois l'opération terminée, replacer le tiroir à cendres et le pot de combustion, en ayant soin de bien les positionner.
5.1.3. Nettoyage de la valve
Lorsque la vitre a refroidi, ouvrir la porte du foyer, vaporiser une petite quantité de produit détergent (voir accessoires MCZ) sur un chiffon doux, de préférence en coton, puis nettoyer la vitre. Ne pas vaporiser le produit directement sur la vitre car en coulant il pourrait s'infiltrer entre la vitre et les profils en acier et endommager la sérigraphie.

ATTENTION! Ne pas utiliser d'alcool! Ne pas vaporiser le détergent directement sur la vitre. MCZ ne répond pas des dommages à la sérigraphie de la vitre dérivant du non-respect des prescriptions indiquées. Ne pas nettoyer les parties laquées.
Pot de combustion propre
Pot de combustion sale

Extraction du pot de combustion pour le nettoyage Extraction du tiroir à cendres
Nettoyage du logement du pot de combustion

Attention!
Ces opérations de maintenance ne doivent être effectuées que par du personnel spécialisé ou agréé. MCZ décline toute responsabilité en cas de dommages aux biens ou aux personnes dérivant du non-respect de cette prescription et se réserve le droit d'évaluer la validité de la garantie sur la base des dommages subis par le produit.
5.2.1. Extraction du monobloc
Pour effectuer la maintenance sur certains dispositifs et l'entretien de certaines pièces, il est nécessaire d'extraire une partie du monobloc de son logement. La partie mobile est montée sur des glissières coulissantes qui en facilitent l'extraction. Avant d'y procéder, il faut d'abord ôter l'encadrement de compensation en suivant les instructions du chapitre 3.15 pour éviter de l'abîmer pendant les opérations de maintenance. Pour effectuer l'extraction, ouvrir la porte du foyer et retirer les deux vis frontales indiquées sur la figure.
Après avoir enlevé les vis, il suffit d'exercer une légère traction vers soi pour extraire la partie mobile comme un tiroir. Les glissières sont munies d'une butée qui bloque la partie mobile au point de maximum extraction.

L'EXTRACTION DU MONOBLOC NE DOIT ETRE EFFECTUEE QUE LORSQUE LA STRUCTURE A REFROIDI ET APRES AVOIR PREALABEMENT COUPÉ LE COURANT ÉLECTRIQUE À L'APPAREIL.
Lors de la réinstallation de la partie mobile, veiller à bien visser à fond les deux vis précédemment retirées. Tout oubli pourrait causer le non fonctionnement du produit pour absence de tension ou entraîner des pertes de suie.
5.2.2. Nettoyage du filtre à air
Le filtre à air en grille métallique est situé au dos du monobloc, au niveau du tuyau d'entrée de l'air comburant 05 cm, et sert à éviter l'entrée d'impuretés à l'intérieur du corps moteur et du capteur interne.
Nous vous conseillons de nettoyer ce filtre lors de chaque extraction du monobloc de son logement lors des opérations de maintenance périodiques de mi-saison et de fin de saison.
Pour le nettoyer, il suffit de dégager le filtre en suivant le sens indiqué par la flèche et retirer la poussière avec un pinceau, un chiffon humide ou de l'air comprimé.

Attention!
Le montage du filtre à air est OBLIGATOIRE. Ne jamais faire fonctionner le produit sans le filtre à air.
MCZ ne répond pas des éventuels dommages aux composants dérivant du non-respect de cette prescription.
Extraction de la partie mobile du monobloc
Démontage du filtre à air pour le nettoyage

Le filtre est fabriqué en grillage métalliqueouple et déformable au toucher, c'est pourquoi lors des opérations de nettoyage, il faut veiller à ne pas l'écraser ou le détériorer. En cas de rupture, il faudra le remplacer.
5.2.3. Nettoyage de l'échangeur de chaleur
Au milieu mais surtout à la fin de l'hiver, il est nécessaire de nettoyer le compartiment où passent les fumées évacuées.
Ce nettoyage doit obligatoirement être fait de façon à faciliter l'élimination générale de tous les résidus de la combustion, avant que le temps et l'humidité ne les compactent et qu'ils ne deviennent difficiles à enlever.
Lorsque l'appareil a refroidi, ouvrir la porte du foyer et retirer le tiroir à cendres et le pot de combustion. Puis dévisser les trois vis situées immédiatement au-dessus de la bouche du foyer pour retirer l'étrier qui bloque les réfractaires internes en Alutec. Retirer délicatement les côtés latéraux, puis le fond arrêté.

Pendant le retrait des réfractaires, veiller à ne pas les heurter car ils pourraient s'ébrécher ou se briser. Les placer en lieu sûr jusqu'au moment du remontage.
Après avoir retiré le fond en réfractaire, on remarque des ouvertures sur le fond en acier où passe normalement la fumée. Insérer une brosse à bouteille (de préférence en fer) dans chaque ouverture et gratter les parois du foyer de manière à faire tomber la cendre dans la partie sous-jacente où sont placées les trappes de visite.
Dévisser les boulons et ouvrir les trappes de visite situées sous le tiroir à cendres. Puis à l'aide d'un embout d'aspirateur approprié, retirer les dépôts de cendre et de suie sur l'échangeur de chaleur, toujours en utilisant la brosse et l'embout d'aspirateur.
Puis remonter le tout en effectuant à l'inverse les opérations décrites.
5.2.4. Nettoyage du conduit de fumée et du raccord
Lorsque le monobloc est retiré, il est possible d'intervenir sur la volute d'aspiration des fumées (1) située à gauche et effectuer le nettoyage et la maintenance. Afin d'effectuer cette opération de maintenance, il faut naturellement démonter le ventilateur d'aspiration des fumées.
En outre, un joint (3) est appliqué sur la sortie de la volute et garantit l'étanchéité avec le raccord des fumées (2). Contrôler toujours le bon état du joint et s'il y a lieu, le replacer. Le joint peut aussi être réglé à l'aide d'une vis. En desserrant la vis, on peut augmenter ou diminuer la pression sur le raccord.
Le raccord des fumées est logé au dos du monobloc, au niveau de la sortie de la volute, ensemble au compartiment de récupération des cendres (4). Passer également l'aspirateur dans ce compartiment après avoir inséré l'embout approprié sur l'orifice d'insertion de la volute.
Puis nettoyer le système de sortie des fumées, en insistants près des raccords, des coudes et des tronçons horizontaux. Pour toute information sur le nettoyage du conduit de cheminée, s'adresser à une entreprise de ramonage.

Attention :
La fréquence de nettoyage du système d'évacuation des fumées devra être déterminée en fonction de l'utilisation et du type d'installation.
Vis de fixation de l'étrier supportant les réfractaires en Alutec

Trappes de visite et d'entretien
3 1 2. Sortie de fumées et raccord des fumées 3. Joint d'étanchéité entre la volute et le raccord des fumées 4. Compartment récapuration des cendres
5.2.5. Autres contrôles
Tous les joints d'étanchéité montés sur les composants sujets à maintenance (ventilateur aspiration fumées, trappes de visite, etc..) doivent être replacés s'ils sont démontés au cours des opérations de maintenance. Vérifier l'étanchéité des joints placés sur la porte du foyer et au besoin, contacter un centre d'assistance agrée pour effectuer le remplacement.

MCZ conseille de s'adresser à un centre d'assistance agréé pour l'entretien et le nettoyage de fin de saison car ces centres effectuent non seulement les opérations décrites ci-dessus mais aussi le contrôle général des composants.
5.2.6. Mise hors service (fin de saison)
En fin de saison, il est conseillé de vider complètement le réservoir des granulés en utilisant un aspirateur avec un long tuyau.
Débrancher l'appareil du secteur pendant la période hors saison. Si au moment du rallumage, en appuyant sur l'interrupteur général, l'afficheur du tableau de commande ne s'allume pas, il faudra probablement remplacer le fusible de service.
Sur la prise filtrée, il y a un boîtier porte-fusibles.
Si nécessaire, ouvrir le couvercle du boîtier porte-fusibles à l'aide d'un tournevis et remplacer le fusible (3,15 AT retardé).

Attention!
Le contrôle des composants électriques et mécaniques internes devra être effectué exclusivement par du personnel qualifié et spécialisé dans ce domaine.
Il est recommandé d'effectuer cet entretien périodique annuel (en stipulant par exemple un contrat d'assistance technique programme par exemple) portant sur le contrôle visuel et le contrôle du fonctionnement des composants internes :
Les interventions de contrôle et/ou d'entretien indispensables pour le fonctionnement correct de votre poêle sont résumées ci-dessous :

| PARTIES / PÉRIODE | 1 JOUR | 2-3 JOURS | 30 JOURS | 60-90 JOURS | 1 AN |
| Pot de combustion | ● | ||||
| Compartment | ● | ||||
| Tiroir à cendres | ● | ||||
| Vitre | ● | ||||
| Échangeur inférieur | ● | ||||
| Échangeur complet | ● | ||||
| Conduit de fumées | ● | ||||
| joint porte | ● | ||||
| Filtre à air | ● | ● | |||
| Conduit de cheminée | ● | ||||
| Pile télécommande | ● |

Attention :
Toutes les réparations doivent être effectuées exclusivement par un technicien spécialisé, lorsque le poèle est éteint et que la prise électrique est débranchée.
| PROBLÉMES | CAUSES POSSIBLES | SOLUTIONS |
| Les pellets ne sont pas introduits dans la chimbre de combustion. | Le réservoir des granulés de bois est vide.La vis sans fin est bloquée par de la scirure.Panne du motoréducteurCarte électronique défectueuse. | Remplir le réservoir à pelletsVider le réservoir et débarrasser manuellement la vis sans de la scirure.Remplacer le motoréducteurRemplacer la carte électronique. |
| Le feu s'éteint ou le poèle s'arrête automatiquement. | Le réservoir à pellets est vide.Les pellets e sont pas introduits.La sonde de sécurité de température des pellets s'est déclenchée.La port n'est pas parfaitement fermée ou les joints sont usés.Les pellets ne sont pas appropriés.Faible arrivée de pellets.Chambre de combustion sale.Sortie de fumées obstruée.Le moteur extraction fumées est endommagé. | Remplir le réservoir de pellets.Voir solution précédente.Laisser le poèle refroidir complètement, rétablier le thermostat jusqu'à ce que le bloc s'éteigne et rallumer le poèle; si le problème persististe, s'adresser au service d'assistance technique.Fermer la porte ou faire remplaquer les joints par des joints d'origine.Changer de type de pellets enCHOISIGANT une catégorie préconisée par le fabricant.Faire contrôle l'arrivée du combustible par le service d'assistance technique.Nettoyer la chamble de combustion en suivant les instructions du livre.Faire ramoner le conduit de fumée.Controlle le moteur et le remplaçercil y a lieu. |
| Le poèle fonctionné quelques minutes puis s'éteint. | La phase d'allumage n'est pas terminée.Absence momentanée de courant électrique.Conduit de fumée obstruée.Sonde de température défectueuse ou en panne.Bougie endommagée. | Répéter la phase d'allumage.Voir instruction précédente.Ramoner le conduit de cheminée.Vérifier et remplacer la sonde.Controlle la bougie et la remplaçercil y a lieu. |
| Les pellets s'accumulent dans le pot de combustion, la vitre de la porte se salit et la flamme est faible. | Manque d'air de combustion.Pellets humides ou inadaptés.Moteur d'aspiration fumées en panne. | Vérifier si la prise d'air ambiant existe et est dégagée.Controler si le filtré de l'air comburantitué sur le tuyau de Ø 5 cm de l'aménée d'air est bouché.Nettoyer le pot de combustion et contrôle si tous les orifices sont libres.Effectuer un nettoyage général de la chamble de combustion et ramoner le conduit de cheminée.Vérifier l'état des joints de la portec.Hanger le type de granulés de bois.Controler le moteur et le remplaçercil y a lieu. |
| PROBLÈMES | CAUSES POSSIBLES | SOLUTIONS |
| Le moteur d'aspiration des fumées ne fonctionne pas. | • Le poèle ne recoit pas de courant électric. • Le moteur est en panne • La carte électronique est défectueuse. • Le tableau de commande ne fonctionne pas. | • Vérifier la tension du secteur d'alimentation et le fusible de protection. • Vérifier le moteur et le condensateur et les replacer s'il y a lieu. • Remplacer la carte électronique. • Remplacer le tableau de commande. |
| Le ventilateur de l'air de convection ne s'accrite jamais. | • La sonde thermique du contrôle de la tempête est défectueuse ou endommagée. • Ventilateur endommagé | • Vérifier le fonctionnement de la sonde et, évientuelles, la replacer. • Vérifier le fonctionnement du moteur et le replacer s'il y a lieu. |
| La télécommande ne fonctionne pas. | • Pile de la télécommande usée. • Télécommande endommagée. | • Remplacer la pile • Remplacer la télécommande. |
| En mode automatique, le poèle fonctionné toujours à la puissance maximale. | • Thermostat d'ambiance sur la position maximale • La sonde de détention température est endommagée. • Tableau de commande défectueux ou ne fonctionnant pas. | • Régler de nouveau la tempête du thermostat. • Vérifier la sonde et évientuelles, la replacer. • Vérifier le tableau de commande et, évientuelles, le replacer. |
| Le poèle ne démarre pas. | • Absence de courant électric. • Sonde à pellets bloquée. • Fusible endommagé. • Évacuation ou conduit de fumée obstrué. | • Contrôler si la prise électric est branchée et si l'interrupteur général est sur la position "I". • Débloquer la sonde en agissant sur le thermostat postérieur. Si cela se produit de nouveau, replacer le thermostat. • Remplacer le fusible. • Nettoyer la sortie des fumées et/ou ramoner le conduit de fumée. |

Attention!
Les opérations rédigées en caractère gras doivent être effectuées exclusivement par des techniciens agrées MCZ.
Le fabricant décline toute responsabilité et annule la garantie en cas de non-respect de cette condition.

Legendes cablages CARTE MERE
- Tableau de secours
- Sonde fumées
- Connexion modem
- Interrupteur
- Bougie
- Ventilateur d'expulsion de fumées
- Motoreducteur
- Thermostat à contact
- Ventilateur air
- Contrôle de tours du ventilateur d'expulsion des fumées
- Capteur débit d'air
N. B. Les câblages électriques de chaque composant sont munis de connecteurs pré-câblés dont la mesure varie pour chacun.
Notice Facile